Advertisement

Symbols on the machine:
| Chain saws can be dangerous! Careless or improper use can result in serious or fatal injury to the operator or others. | ||
| Please read the operator's manual carefully and make sure you understand the instructions before using the machine. | ![]() | |
Always wear:
| ![]() | |
| Both of the operator ' s hands must be used to operate the chain saw. | ![]() | |
| Never operate a chain saw holding it with one hand only. | ![]() | |
| Contact of the guide bar tip with any object must be avoided. | ![]() | |
| Tip contact may cause the guide bar to move suddenly upward and backward (so-called kickback), which may cause serious injury. | ![]() | |
| Decompression valve: The valve is to reduce the pressure in the cylinder and make starting easier. You should always use the decompression valve when starting the machine. | ![]() | |
| Ignition; choke: Set the choke control in the choke position. This should automatically set the stop switch to the start position. | ![]() | |
| Adjustment of the oil pump | ![]() | |
| Chain brake, activated (right) Chain brake, not activated (left) | ![]() | |
Other symbols/decals on the machine refer to special certification requirements for certain markets.
Symbols in the operator's manual:
| Switch off the engine b y moving the stop switch to the STOP position before carrying out any checks or maintenance. | ![]() | |
| Always wear approved protective gloves. | ![]() | |
| Regular cleaning is required. | ![]() | |
| Visual check. | ![]() | |
| Protective goggles or a visor must be worn. | ![]() | |
| Filling with oil and adjusting oil flow. | ![]() | |
| The chain brake must be engaged when the chain saw is started. | ![]() | |
Kickback may occur when the nose or tip of the guide bar touches an object, and cause a lightning fast reverse reaction, kicking the guide bar up and towards the operator. May cause serious personal injury. | ![]() | |
You will find the following labels on your chain saw:

The Emissions Compliance Period referred to on the Emission Compliance label indicates the number of operating hours for which the engine has been shown to meet Federal emissions requirements. Category C = 50 hours, B = 125 hours, and A = 300 hours.
Maintenance, replacement, or repair of the emission control devices and system may be performed by any nonroad engine repair establishment or individual.

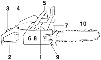
What is what on the chain saw?
Under no circumstances may the design of the machine be modified without the permission of the manufacturer. Always use genuine accessories. Non-authorized modifications and/or accessories can result in serious personal injury or the death of the operator or others. Your warranty may not cover damage or liability caused by the use of nonauthorized accessories or replacement parts.
A chain saw is a dangerous tool if used carelessly or incorrectly and can cause serious, even fatal injuries. It is very important that you read and understand the contents of this operator's manual.
The inside of the muffler contain chemicals that may be carcinogenic. Avoid contact with these elements in the event of a damaged muffler.
Long term inhalation of the engine's exhaust fumes, chain oil mist and dust from sawdust can represent a health risk.
This machine produces an electromagnetic field during operation. This field may under some circumstances interfere with active or passive medical implants. To reduce the risk of serious or fatal injury, we recommend persons with medical implants to consult their physician and the medical implant manufacturer before operating this machine.
Never allow children to use or be in the vicinity of the machine. As the machine is equipped with a springloaded stop switch and can be started by low speed and force on the starter handle, even small children under some circumstances can produce the force necessary to start the machine. This can mean a risk of serious personal injury. Therefore remove the spark plug cap when the machine is not under close supervision.
This chain saw for forest service is designed for forest work such as felling, delimbing and cutting.
You should only use the saw with the bar and chain combinations we recommend in the chapter Technical data.
Never use the machine if you are fatigued, while under the influence of alcohol or drugs, medication or anything that could affect your vision, alertness, coordination or judgement.
Wear personal protective equipment. See instructions under the heading "Personal protective equipment".
Do not modify this product or use it if it appears to have been modified by others.
Never use a machine that is faulty. Carry out the checks, maintenance and service instructions described in this manual. Some maintenance and service measures must be carried out by trained and qualified specialists. See instructions under the heading Maintenance.
Never use any accessories other than those recommended in this manual. See instructions under the headings Cutting equipment and Technical data.
Always wear protective glasses or a face visor to reduce the risk of injury from thrown objects. A chain saw is capable of throwing objects, such as wood chips, small pieces of wood, etc, at great force. This can result in serious injury, especially to the eyes.
Running an engine in a confined or badly ventilated area can result in death due to asphyxiation or carbon monoxide poisoning.
Faulty cutting equipment or the wrong combination of bar and saw chain increases the risk of kickback! Only use the bar/saw chain combinations we recommend, and follow the filing instructions. See instructions under the heading Technical data.
It is not possible to cover every conceivable situation you can face when using a chain saw. Always exercise care and use your common sense. Avoid all situations which you consider to be beyond your capability. If you still feel uncertain about operating procedures after reading these instructions, you should consult an expert before continuing. Do not hesitate to contact your dealer or us if you have any questions about the use of the chain saw. We will willingly be of service and provide you with advice as well as help you to use your chain saw both efficiently and safely. Attend a training course in chain saw usage if possible. Your dealer, forestry school or your library can provide information about which training materials and courses are available.

Work is constantly in progress to improve the design and technology - improvements that increase your safety and efficiency. Visit your dealer regularly to see whether you can benefit from new features that have been introduced.
Most chain saw accidents happen when the chain touches the operator. You must use approved personal protective equipment whenever you use the machine. Personal protective equipment cannot eliminate the risk of injury but it will reduce the degree of injury if an accident does happen. Ask your dealer for help in choosing the right equipment.

Generally clothes should be close-fitting without restricting your freedom of movement.
Sparks can come from the muffler, the bar and chain or other sources. Always have fire extinguishing tools available if you should need them. Help prevent forest fires.
In this section the machine's safety features and their function are explained. For inspection and maintenance see instructions under the heading Checking, maintaining and servicing chain saw safety equipment. See instructions under the heading, What is what?, to find where these parts are located on your machine.
The life span of the machine can be reduced and the risk of accidents can increase if machine maintenance is not carried out correctly and if service and/or repairs are not carried out professionally. If you need further information please contact your nearest servicing dealer.
Never use a machine with defective safety components. Safety equipment must be inspected and maintained. See instructions under the heading Checking, maintaining and servicing chain saw safety equipment. If your machine does not pass all the checks, take the saw to a servicing dealer for repair.
Chain brake and front hand guard
Your chain saw is equipped with a chain brake that is designed to stop the chain if you get a kickback. The chain brake reduces the risk of accidents, but only you can prevent them.

Take care when using your saw and make sure the kickback zone of the bar never touches any object.

Will my hand always activate the chain brake during a kickback?
No. It takes a certain force to move the hand guard forward. If your hand only lightly touches the front guard or slips over it, the force may not be enough to trigger the chain brake. You should also maintain a firm grip of the chain saw handles while working. If you do and experience a kickback, your hand may never leave the front handle and will not activate the chain brake, or the chain brake will only activate after the saw has swung around a considerable distance. In such instances, the chain brake might not have enough time to stop the saw chain before it touches you.
There are also certain positions in which your hand cannot reach the front hand guard to activate the chain brake; for example, when the saw chain is held in felling position.
Will my inertia activated chain brake always activate during kickback in the event of a kickback?
No. First your brake must be in working order. Testing the brake is simple, see instructions under the heading Checking, maintaining and servicing chain saw safety equipment. We recommend you do before you begin each work session. Second the kickback must be strong enough to activate the chain brake. If the chain brake is too sensitive it would activate all the time which would be a nuisance.
Will my chain brake always protect me from injury in the event of a kickback?
No. First, the chain brake must be in working order to provide the intended protection. Second, it must be activated during the kickback as described above to stop the saw chain. Third, the chain brake may be activated but if the bar is too close to you the brake might not have enough time to slow down and stop the chain before the chain saw hits you.
Only you and proper working technique can eliminate kickback and its danger.
Throttle lockout
The throttle lockout is designed to prevent accidental operation of the throttle control. When you press the lock (A) (i.e. when you grasp the handle) it releases the throttle control (B). When you release the handle the throttle control and the throttle lockout both move back to their original positions. This arrangement means that the throttle control is automatically locked at the idle setting.

Chain catcher
The chain catcher is designed to catch the chain if it snaps or jumps off. This should not happen if the chain is properly tensioned (see instructions under the heading Assembly) and if the bar and chain are properly serviced and maintained (see instructions under the heading General working instructions).

Right hand guard
Apart from protecting your hand if the chain jumps or snaps, the right hand guard stops branches and twigs from interfering with your grip on the rear handle.

Vibration damping system
Your machine is equipped with a vibration damping system that is designed to reduce vibration and make operation easier.

The machine's vibration damping system reduces the transfer of vibration between the engine unit/cutting equipment and the machine's handle unit. The body of the chain saw, including the cutting equipment, is insulated from the handles by vibration damping units.

Cutting hardwoods (most broadleaf trees) creates more vibration than cutting softwoods (most conifers). Cutting with cutting equipment that is blunt or faulty (wrong type or badly sharpened) will increase the vibration level.

Overexposure to vibration can lead to circulatory damage or nerve damage in people who have impaired circulation. Contact your doctor if you experience symptoms of overexposure to vibration. Such symptoms include numbness, loss of feeling, tingling, pricking, pain, loss of strength, changes in skin colour or condition. These symptoms normally appear in the fingers, hands or wrists. These symptoms may be increased in cold temperatures.
Stop switch
Use the stop switch to switch off the engine.

Muffler
The muffler is designed to keep noise levels to a minimum and to direct exhaust fumes away from the user.
The exhaust fumes from the engine are hot and may contain sparks which can start a fire. Never start the machine indoors or near combustible material!
In areas with a hot, dry climate there is a high risk of fires. These areas are sometimes subject to government rules requiring among other things the muffler must be equipped with an approved type of spark arrestor screen.

The muffler gets very hot during and after use. This also applies during idling. Be aware of the fire hazard, especially when working near flammable substances and/or vapours.
Never use a saw without a muffler, or with a damaged muffler. A damaged muffler may substantially increase the noise level and the fire hazard. Keep fire fighting equipment handy. If a spark arrestor screen is required in your area, never use the saw without or with a broken spark arrestor screen.
This section describes how to choose and maintain your cutting equipment in order to:
General rules
Cutting equipment designed to reduce kickback
Faulty cutting equipment or the wrong combination of bar and saw chain increases the risk of kickback! Only use the bar/saw chain combinations we recommend, and follow the filing instructions. See instructions under the heading Technical data.
The only way to avoid kickback is to make sure that the kickback zone of the bar never touches anything.
By using cutting equipment with "built-in" kickback reduction and keeping the chain sharp and well maintained you can reduce the effects of kickback.
Bar
The smaller the tip radius the lower the chance of kickback.
Chain
A chain is made up of a number of links, which are available in standard and low-kickback versions.
No saw chain design eliminates the danger of kickback.
Any contact with a rotating saw chain can cause extremely serious injuries.
Some terms that describe the bar and chain
To maintain the safety features of the cutting equipment, you should replace a worn or damaged bar or chain with a bar and chain combinations recommended by Husqvarna. See instructions under the heading Technical Data for a list of replacement bar and chain combinations we recommend.
Bar
Chain
Sharpening your chain and adjusting depth gauge setting
General information on sharpening cutting teeth
When you sharpen a cutting tooth there are four important factors to remember.
It is very difficult to sharpen a chain correctly without the right equipment. We recommend that you use our file gauge. This will help you obtain the maximum kickback reduction and cutting performance from your chain.

See instructions under the heading Technical data for information about sharpening your chain.
Departure from the sharpening instructions considerably increases the risk of kickback.
Sharpening cutting teeth

To sharpen cutting teeth you will need a round file and a file gauge. See instructions under the heading Technical data for information on the size of file and gauge that are recommended for the chain fitted to your chain saw.

General advice on adjusting depth gauge setting
The risk of kickback is increased if the depth gauge setting is too large!
Adjustment of depth gauge setting

Tensioning the chain

A slack chain may jump off the bar and cause serious or even fatal injury.
The more you use a chain the longer it becomes. It is therefore important to adjust the chain regularly to take up the slack.
Check the chain tension every time you refuel. NOTE! A new chain has a running-in period during which you should check the tension more frequently.
Tension the chain as tightly as possible, but not so tight that you cannot pull it round freely by hand.

The position of the chain tensioning screw on our chain saws varies from model to model. See instructions under the heading What is what? to find out where it is on your model.
Lubricating cutting equipment
Poor lubrication of cutting equipment may cause the chain to snap, which could lead to serious, even fatal injuries.
Chain oil
Chain oil must demonstrate good adhesion to the chain and also maintain its flow characteristics regardless of whether it is warm summer or cold winter weather.
As a chain saw manufacturer we have developed an optimal chain oil which has a vegetable oil base. We recommend the use of our own oil for both maximum chain life and to minimise environmental damage. If our own chain oil is not available, standard chain oil is recommended.
Never use waste oil! Using waste oil can be dangerous to you and damage the machine and environment.
When using vegetable based saw chain oil, dismantle and clean the groove in the bar and saw chain before long-term storage. Otherwise there is a risk of the saw chain oil oxidizing, which will result in the saw chain becoming stiff and the bar tip sprocket jamming.
Filling with chain oil
Checking chain lubrication
If the chain lubrication is not working:
If the chain lubrication system is still not working after carrying out the above checks and associated measures you should contact your servicing dealer.
Chain drive sprocket

The clutch drum is fitted with one of the following drive sprockets:

Regularly check the degree of wear on the drive sprocket. Replace if wear is excessive. Replace the drive sprocket whenever you replace the chain.
Needle bearing lubrication

Both versions of sprockets have a needle bearing on the drive shaft, which has to be greased regularly (once a week).
Use only high quality bearing grease or engine oil.

Checking wear on cutting equipment

Check the chain daily for:

Replace the saw chain if it exhibits any of the points above.
We recommend you compare the existing chain with a new chain to decide how badly the existing chain is worn.
When the length of the cutting teeth has worn down to only 5/32 inch (4 mm) the chain must be replaced.
Bar

Check regularly:
Most chain saw accidents happen when the chain touches the operator.
Wear personal protective equipment. See instructions under the heading "Personal protective equipment".
Do not tackle any job that you feel you are not adequately trained for. See instructions under the headings Personal protective equipment, How to avoid kickback, Cutting equipment and General working instructions.
Avoid situations where there is a risk of kickback. See instructions under the heading Machine's safety equipment.
Use the recommended protective equipment and check its condition. See instructions under the heading General working instructions.
Check that all the chain saw safety features are working. See instructions under the headings General working instructions and General safety precautions.
Fitting the bar and chain

Always wear gloves, when working with the chain.
Check that the chain brake is in disengaged position by moving the front hand guard towards the front handle.

Remove the bar nuts and remove the clutch cover (chain brake). Take off the transportation ring (A).

Fit the bar over the bar bolts. Place the bar in its rearmost position. Place the chain over the drive sprocket locate it in the groove on the bar. Begin on the top edge of the bar.

Make sure that the edges of the cutting links are facing forward on the top edge of the bar.
Fit the clutch cover and locate the chain adjuster pin in the hole in the bar. Check that the drive links of the chain fit correctly over the drive sprocket and that the chain is correctly located in the groove in the bar. Tighten the bar nuts finger tight.

Tension the chain by turning the chain tensioning screw clockwise using the combination spanner. See instructions under the heading Tensioning the chain.

The chain is correctly tensioned when it does not sag from the underside of the bar, but can still be turned easily by hand. Hold up the bar tip and tighten the bar nuts with the combination spanner.

When fitting a new chain, the chain tension has to be checked frequently until the chain is run-in. Check the chain tension regularly. A correctly tensioned chain ensures good cutting performance and long life.

Note: If clutch cover is difficult to remove, replace bar nuts, engage brake and rerelease (an audible click will be heard if released properly).
Note! The machine is equipped with a two-stroke engine and must always be run using a mixture of gasoline and two-stroke oil. It is important to accurately measure the amount of oil to be mixed to ensure that the correct mixture is obtained. When mixing small amounts of fuel, even small inaccuracies can drastically affect the ratio of the mixture.
Always ensure there is adequate ventilation when handling fuel.

Environment fuel
HUSQVARNA recommends the use of alkylate fuel or environmental fuel for four-stroke engines blended with two-stroke oil as set out below. Note that carburetor adjustment may be necessary when changing the type of fuel (see instructions under the heading Carburetor).
Running-in
Avoid running at a too high speed for extended periods during the first 10 hours.
Mixing ratio
1:50 (2%) for all engines.
| Gasoline, litre | Two-stroke oil, litre |
| 2% (1:50) | |
| 5 | 0,10 |
| 10 | 0,20 |
| 15 | 0,30 |
| 20 | 0,40 |
| US gallon | US fl. oz. |
| 1 | 2 1/2 |
| 2 1/2 | 6 1/2 |
| 5 | 12 7/8 |


Taking the following precautions, will lessen the risk of fire:
Do not smoke and do not place any hot objects in the vicinity of fuel.
Always stop the engine and let it cool for a few minutes before refuelling.
When refuelling, open the fuel cap slowly so that any excess pressure is released gently.
Tighten the fuel cap carefully after refuelling.
Always move the machine away from the refuelling area before starting.
Clean the area around the fuel cap. Clean the fuel and chain oil tanks regularly. The fuel filter must be replaced at least once a year. Contamination in the tanks causes malfunction. Make sure the fuel is well mixed by shaking the container before refuelling. The capacities of the chain oil tank and fuel tank are carefully matched. You should therefore always fill the chain oil tank and fuel tank at the same time.

Fuel and fuel vapor are highly flammable. Take care when handling fuel and chain oil. Be aware of the risks of fire, explosion and those associated with inhalation.
Never use a machine with visible damage to the spark plug guard and ignition cable. A risk of sparking arises, which can cause a fire.
Empty the fuel/oil tanks in a well ventilated area. Store the fuel in approved cans in a safe place. Fit the bar guard. Clean the machine. See instructions under the heading Maintenance schedule.
Ensure the machine is cleaned and that a complete service is carried out before long-term storage.
Note the following before starting:
Never start a chain saw unless the bar, chain and all covers are fitted correctly. Otherwise the clutch can come loose and cause personal injuries.
Place the machine on firm ground. Make sure you have a secure footing and that the chain cannot touch anything.
Keep people and animals well away from the working area.
Starting: The chain brake should be activated when starting the chain saw. Activate the chain brake by pushing the front hand guard forwards.

Ignition: Slide the ignition switch to the left.
Choke: Set the choke control in the choke position.
Start throttle: The correct choke/start throttle setting is obtained by moving the control to the choke position.

If the machine is fitted with a decompression valve (A):
Press the valve to reduce the pressure in the cylinder and make starting easier. You should always use the decompression valve when starting the machine. Once the machine has started the valve will automatically return to its original setting.

Use the same procedure as for starting a cold engine but without setting the choke control in the choke position. The correct choke/start throttle setting is obtained by moving the choke control to the choke position and then pushing it in again.


Grip the front handle with your left hand. Hold the chain saw on the ground by placing your right foot through the rear handle. Pull the starter handle with your right hand and pull out the starter cord slowly until you feel a resistance (as the starter pawls engage) then pull firmly and rapidly. Never wrap the starter cord around your hand
Do not pull the starter cord all the way out and do not let go of the starter handle when the cord is fully extended. This can damage the machine.

Push in the choke control as soon as the engine fires and make repeated starting attempts. Immediately press and release the throttle when the engine starts. That will disengage the throttle latch.
As the chain brake is still activated the engine must return to idling speed as soon as possible by disengaging the throttle latch in order to avoid unnecessery wear on the clutch assembly.

Long term inhalation of the engine's exhaust fumes, chain oil mist and dust from sawdust can represent a health risk.
The engine is stopped by pushing the stop switch to the stop position.


This section describes basic safety rules for using a chain saw. This information is never a substitute for professional skills and experience. If you get into a situation where you feel unsafe, stop and seek expert advice. Contact your chain saw dealer, service agent or an experienced chain saw user. Do not attempt any task that you are not sure you can handle!
Before using a chain saw you must understand the effects of kickback and how to avoid them. See instructions under the heading How to avoid kickback.
Before using a chain saw you must understand the difference between cutting with the top and bottom edges of the bar. See instructions under the headings How to avoid kickback and Machine's safety equipment.
Wear personal protective equipment. See instructions under the heading "Personal protective equipment".
Sometimes chips get stuck in the clutch cover causing the chain to jam. Always stop the engine before cleaning.
Never use a chain saw by holding it with one hand. A chain saw is not safely controlled with one hand. Always have a secure, firm grip around the handles with both hands.
General
Cutting with a pushing chain increases the risk of kickback. See instructions under the heading How to avoid kickback.
Terms
Cutting = General term for cutting through wood.
Limbing = Cutting branches off a felled tree.
Splitting = When the object you are cutting breaks off before the cut is complete.
There are five important factors you should consider before making a cut:
Two factors decide whether the chain will jam or the object that you are cutting will split: the first is how the object is supported before and after cutting, and the second is whether it is in tension.
In most cases you can avoid these problems by cutting in two stages; from the top and from the bottom. You need to support the object so that it will not trap the chain or split during cutting.
If the chain jams in the cut: stop the engine! Don't try to pull the chain saw free. If you do you may be injured by the chain when the chain saw suddenly breaks free. Use a lever to open up the cut and free the chain saw.
The following instructions describe how to handle the common situations you are likely to encounter when using a chain saw.
Limbing
When limbing thick branches you should use the same approach as for cutting.
Cut difficult branches piece by piece.

Cutting
Never attempt to cut logs while they are in a pile or when a couple of logs are lying together. Such procedures drastically increase the risk of kickback which can result in a serious or fatal injury.
If you have a pile of logs, each log you attempt to cut should be removed from the pile, placed on a saw horse or runners and cut individually.
Remove the cut pieces from the cutting area. By leaving them in the cutting area, you increase the risk for inadvertently getting a kickback, as well as increasing the risk of losing your balance while working.

The log is lying on the ground. There is little risk of the chain jamming or the object splitting. However there is a risk that the chain will touch the ground when you finish the cut.

Cut all the way through the log from above. Avoid letting the chain touch the ground as you finish the cut. Maintain full throttle but be prepared for what might happen.

If it is possible (can you turn the log?) stop cutting about 2/3 of the way through the log.
Turn the log and finish the cut from the opposite side.

The log is supported at one end. There is a high risk that it will split.

Start by cutting from below (about 1/3 of the way through). Finish by cutting from above so that the two cuts meet.

The log is supported at both ends. There is a high risk that the chain will jam.

Start by cutting from above (about 1/3 of the way through).
Finish by cutting from below so that the two cuts meet.

It takes a lot of experience to fell a tree. Inexperienced users of chain saws should not fell trees. Do not attempt any task beyond your experience level!
Safe distance
The safe distance between a tree that is to be felled and anyone else working nearby is at least 2 1/2 tree lengths. Make sure that no-one else is in this "risk zone" before or during felling.

Felling direction
The aim is to fell the tree in a position where you can limb and cross-cut the log as easily as possible. You want it to fall in a location where you can stand and move about safely.
Once you have decided which way you want the tree to fall you must judge which way the tree would fall naturally.
Several factors affect this:
You may find you are forced to let the tree fall in its natural direction because it is impossible or dangerous to try to make it fall in the direction you first intended.
Another very important factor, which does not affect the felling direction but does affect your safety, is to make sure the tree has no damaged or dead branches that might break off and hit you during felling.
The main point to avoid is letting the tree fall onto another tree. It is very dangerous to remove a trapped tree and there is high accident risk. See instructions under the heading Freeing a tree that has fallen badly.

During critical felling operations, hearing protectors should be lifted immediately when sawing is completed so that sounds and warning signals can be heard.
Clearing the trunk and preparing your retreat
Delimb the stem up to shoulder height. It is safer to work from the top down and to have the tree between you and the saw.

Remove any undergrowth from the base of the tree and check the area for obstacles (stones, branches, holes, etc.) so that you have a clear path of retreat when the tree starts to fall. Your path of retreat should be roughly 135 degrees away from the intended felling direction.

Felling
Unless you have special training we advise you not to fell trees with a diameter larger than the bar length of your saw!
Felling is done using three cuts. First you make the directional cuts, which consist of the top cut and the bottom cut, then you finish with the felling cut. By placing these cuts correctly you can control the felling direction very accurately.
Directional cuts
To make the directional cut you begin with the top cut. Aim using to the saw's felling direction mark (1) toward a goal further forward in the terrain, where you would like the tree to fall (2). Stand on the right-hand side of the tree, behind the saw, and cut with a pull stroke.
Next make the bottom cut so that it finishes exactly at the end of the top cut.

The directional cuts should run 1/4 of the diameter through the trunk and the angle between the top cut and bottom cut should be 45°.
The line where the two cuts meet is called the directional cut line. This line should be perfectly horizontal and at right angles (90°) to the chosen felling direction.

Felling cut
The felling cut is made from the opposite side of the tree and it must be perfectly horizontal. Stand on the left side of the tree and cut on the pull stroke.
Make the felling cut about 1.5-2 inches (3-5 cm) above the bottom directional cut.

Finish the felling cut parallel with the directional cut line so that the distance between them is at least 1/10 of the trunk diameter. The uncut section of the trunk is called the felling hinge.
The felling hinge controls the direction that the tree falls in.

All control over the felling direction is lost if the felling hinge is too narrow or non-existent, or if the directional cuts and felling cut are badly placed.

When the felling cut and directional cut are complete the tree should start to fall by itself or with the aid of a felling wedge or breaking bar.

We recommend that you use a bar that is longer than the diameter of the tree, so that you can make the felling cut and directional cuts with single cutting strokes. See instructions under the heading Technical data section to find out which lengths of bar are recommended for your saw.

There are methods for felling trees with a diameter larger than the bar length. However these methods involve a much greater risk that the kickback zone of the bar will come into contact with the tree.

Freeing a "trapped tree"
It is very dangerous to remove a trapped tree and there is high accident risk.
Never try to fell the tree that is trapped.
Never work in the risk zone of the hanging trapped tree.

The safest method is to use a winch.
Cutting trees and branches that are in tension
Preparations: Work out which side is in tension and where the point of maximum tension is (i.e. where it would break if it was bent even more).

Decide which is the safest way to release the tension and whether you are able to do it safely. In complicated situations the only safe method is to put aside your chain saw and use a winch.
General advice:
Position yourself so that you will be clear of the tree or branch when the tension is released.

Make one or more cuts at or near the point of maximum tension. Make as many cuts of sufficient depth as necessary to reduce the tension and make the tree or branch break at the point of maximum tension.

Never cut straight through a tree or branch that is in tension!
If you must cut across tree/limb, make two to three cuts, one inch apart, one to two inches deep.

Continue to cut deeper until tree/limb bends and tension is released.

Cut tree/limb from outside the bend, after tension has been released.
Kickback can happen very suddenly and violently; kicking the chain saw, bar and chain back at the user. If this happens when the chain is moving it can cause very serious, even fatal injuries. It is vital you understand what causes kickback and that you can avoid it by taking care and using the right working technique.
What is kickback?
The word kickback is used to describe the sudden reaction that causes the chain saw and bar to jump off an object when the upper quadrant of the tip of the bar, known as the kickback zone, touches an object.

Kickback always occurs in the cutting plane of the bar. Normally the chain saw and bar are thrown backwards and upwards towards the user. However, the chain saw may move in a different direction depending on the way it was being used when the kickback zone of the bar touched the object.

Kickback only occurs if the kickback zone of the bar touches an object.

Limbing
A majority of kickback accidents occur during limbing. Do not use the kickback zone of the guide bar. Be extremely cautious and avoid contacting the log, other limbs or objects with the nose of the guide bar. Be extremely cautious of limbs under tension. They can spring back toward you and cause loss of control resulting in injury.
Make sure that you can stand and move about safely. Work on the left side of the trunk. Work as close as possible to the chain saw for maximum control. If possible, let the weight of the chain saw rest on the trunk.
Keep the trunk between you and the chain saw as you move along the trunk.
Cutting the trunk into logs
See instructions under the heading Basic cutting technique.
The user must only carry out the maintenance and service work described in this manual.
Any maintenance other than that described in this manual must be carried out by your servicing dealer (retailer).
Due to existing environmental and emissions legislation your chain saw is equipped with movement limiters on the carburetor adjuster screws. These limit the adjustment possibilities to a maximum of a 1/2 turn.

Your Husqvarna product has been designed and manufactured to specifications that reduce harmful emissions.
Function
Basic settings and running in
The basic carburetor settings are adjusted during testing at the factory. Avoid running at a too high speed for extended periods during the first 10 hours.
If the chain rotates while idling the T-screw must be turned anti-clockwise until the chain stops.
Rec. idle speed: 2700 rpm
Fine adjustment
When the machine has been "run-in" the carburetor should be finely adjusted. The fine adjustment should be carried out by a qualified person. First adjust the Ljet, then the idling screw T and then the H-jet.
Conditions
Low speed jet L
Turn the low speed jet L clockwise until it stops. If the engine accelerates poorly or idles unevenly, turn the low speed jet L anticlockwise until good acceleration and idling are achieved.
Fine adjustment of the idling speed T
Adjust the idle speed with the T-screw. If it is necessary to re-adjust, turn the T-screw clockwise while the engine is running, until the chain starts to rotate. Then turn counterclockwise until the chain stops. A correctly adjusted idle speed setting occurs when the engine runs smoothly in every position. It should also be good margin to the rpm when the chain starts to rotate.
Contact your servicing dealer, if the idle speed setting cannot be adjusted so that the chain stops at idle. Do not use the chain saw until it has been properly adjusted or repaired.
High speed jet H
At the factory the engine is adjusted at sea level. When working at a high altitude or in different weather conditions, temperatures and atmospheric humidity, it may be necessary to make minor adjustments to the high speed jet.
If the high speed jet is screwed in too far, it may damage the piston/cylinder.
When test run at the factory, the high speed jet is set so that the engine satisfies the applicable legal requirements at the same time as achieving maximum performance. The carburetor's high speed jet is then locked using a limiter cap in the fully screwed out position. The limiter cap limits the potential to adjust the high speed jet to at most half a turn.
There is an integrated speed governor in the ignition system that limits the maximum speed to 13600 rpm. The maximum speed will not exceed 13600 rpm when the high speed jet is adjusted (screwed in). When the speed governor is activated, you will get the same sound experience as when the chain saw 4-cycles.
To adjust the carburetor correctly you should contact a mechanic with access to a rev counter.
As the spark is cut off, the rev counter does not show speeds higher than 13600 rpm.
Correctly adjusted carburetor
When the carburetor is correctly adjusted the machine accelerates without hesitation and the machine 4-cycles a little at max. speed. It is also important that the chain does not rotate at idle. If the L-jet is set too lean it may cause starting difficulties and poor acceleration. If the Hjet is set too lean the machine will have less power, poor acceleration and could suffer damage to the engine.
Note! All servicing and repair work on the machine requires special training. This is especially true of the machine's safety equipment. If your machine fails any of the checks described below we recommend you to contact our servicing dealer.
Checking brake band wear

Brush off any wood dust, resin and dirt from the chain brake and clutch drum. Dirt and wear can impair operation of the brake.

Regularly check that the brake band is at least 0.024 inch (0.6 mm) thick at its thinnest point.
Checking the front hand guard

Make sure the front hand guard is not damaged and that there are no visible defects such as cracks.

Move the front hand guard forwards and back to make sure it moves freely and that it is securely anchored to the clutch cover.

Checking the inertia brake release

With the engine turned off, hold the chain saw over a stump or other firm object. Let go of the front handle so that the bar drops towards the stump as the chain saw rotates around the rear handle.

When the bar hits the stump the brake should be applied.

Checking the brake trigger
Place the chain saw on firm ground and start it. Make sure the chain does not touch the ground or any other object. See the instructions under the heading Start and stop.

Grasp the chain saw firmly, wrapping your fingers and thumbs around the handles.

Apply full throttle and activate the chain brake by tilting your left wrist forward onto the front hand guard. Do not let go of the front handle. The chain should stop immediately.



Check that the chain catcher is not damaged and is firmly attached to the body of the chain saw.


Check that the right hand guard is not damaged and that there are no visible defects, such as cracks.


Regularly check the vibration damping units for cracks or deformation.

Make sure the vibration damping units are securely attached to the engine unit and handle unit.


Start the engine and make sure the engine stops when you move the stop switch to the stop setting.


Never use a machine that has a faulty muffler.

Regularly check that the muffler is securely attached to the machine.

Some mufflers are equipped with a special spark arrestor screen. If your machine has this type of muffler, you should clean the screen at least once a week. This is best done with a wire brush. A blocked screen will cause the engine to overheat and may lead to serious damage.
Note! The screen must be replaced if it is damaged. If the screen is blocked the machine will overheat and this will cause damage to the cylinder and piston. Never use a machine with a muffler that is in poor condition. Never use a muffler if the spark arrestor screen is missing or defective.

The muffler is designed to reduce the noise level and to direct the exhaust gases away from the operator. The exhaust gases are hot and can contain sparks, which may cause fire if directed against dry and combustible material.
A muffler equipped with a catalytic converter significantly reduces the amount of hydrocarbons (HC), nitrogen oxides (NO) and aldehydes in the exhaust fumes. Carbon monoxide (CO), which is poisonous and odorless, is not however reduced! Consequently, never work in an enclosed or badly ventilated area. Good air circulation should always prevail when working in snowy hollows, ravines or in confined conditions.
When the recoil spring is wound up in the starter housing it is under tension and can, if handled carelessly, pop out and cause personal injury.
Care must be exercised when replacing the return spring or the starter cord. Wear protective glasses and protective gloves.



The air filter must be regularly cleaned to remove dust and dirt in order to avoid:
The filter can be cleaned more thoroughly by washing it in water and detergent.
An air filter that has been in use for a long time cannot be cleaned completely. The filter must therefore be replaced with a new one at regular intervals. A damaged air filter must always be replaced.
A HUSQVARNA chain saw can be equipped with different types of air filters according to working conditions, weather, season, etc. Contact your dealer for advice.

The spark plug condition is influenced by:
These factors cause deposits on the spark plug electrodes, which may result in operating problems and starting difficulties.
If the machine is low on power, difficult to start or runs poorly at idle speed: always check the spark plug first before taking any further action. If the spark plug is dirty, clean it and check that the electrode gap is 0.020 inch (0.5 mm). The spark plug should be replaced after about a month in operation or earlier if necessary.

Note! Always use the recommended spark plug type! Use of the wrong spark plug can damage the piston/cylinder. Check that the spark plug is fitted with a suppressor.

Lubricate the bar tip sprocket each time you refuel. Use the special grease gun and a good quality bearing grease.


The clutch drum has a needle bearing on the output shaft. This needle bearing must be lubricated regularly (once a week).
Use only high quality bearing grease or engine oil. See instructions under the heading Cutting equipment.

The oil pump is adjustable. Adjustments are made by turning the screw using a screwdriver or combination spanner. The machine is supplied from the factory set to 1 turn open. Turning the screw clockwise will reduce the oil flow and turning the screw anti-clockwise will increase the oil flow.

Recommended settings:
Bar -15": 1 turn from the closed position.
Bar 15" -18": 2 turns from the closed position.
Bar 18" -24": 3 turns from the closed position.
Bar 24" -: 4 turns from the closed position.
These recommendations apply to Husqvarna's chain oil, for other chain oils increase the oil flow by one step.
The engine must be stopped when making adjustments.

To keep the working temperature as low as possible the machine is equipped with a cooling system.
The cooling system consists of:

Clean the cooling system with a brush once a week, more often in demanding conditions. A dirty or blocked cooling system results in the machine overheating which causes damage to the piston and cylinder.
Centrifugal cleaning means the following: All air to the carburetor passes through the starter. Dirt and dust is pushed out by the cooling fan.

In order to maintain operation of the centrifugal cleaning system it must be regularly maintained. Clean the air intake to the starter, the fins on the flywheel, the space around the flywheel, inlet pipe and carburetor compartment.
Running problems can occur when using the machine in the cold and snowy conditions caused by:
Special measures are therefore often required:
Temperature -5°C (23°F) or colder:

For running the machine in cold weather or powder snow, a special cover is available, which is mounted on the starter housing. This reduces the intake of cold air and prevents large amounts of snow from being sucked in.

If the special winterising kit has been fitted or any measures have been taken to increase the temperature these changes must be reversed before the machine is used in normal temperature conditions. Otherwise there is a risk of overheating, resulting in severe damage to the engine.
(372XPG)
On models with the designation XPG/G, the front as well as the rear handle are equipped with electric heating coils. These are fed with electrical current from an integrated generator in the chain saw.
When the red mark on the switch is visible, the heating is on.

(372XPG)
On models with the designation CARBURETOR HEATING there is an electrically heated carburetor. Electrically powered heating prevents ice formation in the carburetor. A thermostat regulates the heating so that the carburetor always has the right working temperature.
Canada
If this chain saw has the model code XPG/G then it is equipped with an electrically heated carburettor. The electrical heating prevents icing in the carburettor. A thermostat regulates heating so that the carburettor always has the correct working temperature.
Other countries
The carburettor heater is used in the following temperature range: ±0ºC or colder. During high humidity, icing of the carburettor can occur earlier than specified.
The carburettor heater only heats the carburettor when the 3-way switch is set to position "II".

The switch is off in position "0", supplies current to the handle heater in position "I", supplies current to the carburettor in position "II".
The carburettor heater reaches maximum temperature after about 3 minutes. It is therefore important that the machine is not run for longer with the heater switched on. If the switch is left on for too long the carburettor will overheat and lead to running problems or starting problems.
The following is a list of the maintenance that must be performed on the machine. Most of the items are described in the Maintenance section.
| Daily maintenance | Weekly maintenance | Monthly maintenance |
| Clean the outside of the machine. | On chain saws without a catalytic converter, check the cooling system weekly. | Check the brake band on the chain brake for wear. Replace when less than 0.024 inch (0.6 mm) remains at the most worn point. |
| Check that the components of the throttle control work safely. (Throttle lockout and throttle control.) | Check the starter, starter cord and return spring. | Check the clutch centre, clutch drum and clutch spring for wear. |
| Clean the chain brake and check that it operates safely. Make sure that the chain catcher is undamaged, and replace it if necessary. | Check that the vibration damping elements are not damaged. | Clean the spark plug. Check that the electrode gap is 0.020 inch (0.5 mm). |
| The bar should be turned daily for more even wear. Check the lubrication hole in the bar, to be sure it is not clogged. Clean the bar groove. If the bar has a sprocket tip, this should be lubricated. | Lubricate the clutch drum bearing. | Clean the outside of the carburetor. |
| Check that the bar and chain are getting sufficient oil. | File off any burrs from the edges of the bar. | Check fuel hose for cracks or other damage. Change if necessary. |
| Check the saw chain with regard to visible cracks in the rivets and links, whether the saw chain is stiff or whether the rivets and links are abnormally worn. Replace if necessary. | Clean or replace the spark arrestor screen on the muffler. | Empty the fuel tank and clean the inside. |
| Sharpen the chain and check its tension and condition. Check the drive sprocket for excessive wear and replace if necessary. | Clean the carburetor compartment. | Empty the oil tank and clean the inside. |
| Clean the starter units air intake. | Clean the air filter. Replace if necessary. | Check all cables and connections. |
| Check that nuts and screws are tight. | ||
| Check that the stop switch works correctly. | ||
| Check that there are no fuel leaks from the engine, tank or fuel lines. | ||
| On chain saws with a catalytic converter, check the cooling system daily. |
| Motor | 365 SPECIAL | 372 XP | 372 XPG |
| Cylinder displacement, cu.in/cm3 | 3,97/65,1 | 4,31/70,7 | 4,31/70,7 |
| Cylinder bore, inch/mm | 1,89/48 | 1,97/50 | 1,97/50 |
| Stroke, inch/mm | 1,42/36 | 1,42/36 | 1,42/36 |
| Idle speed, rpm | 2700 | 2700 | 2700 |
| Power, kW/hp@ rpm | 3,4/4,6 @ 9300 | 3,9/5,3 @ 9600 | 3,9/5,3 @ 9600 |
| Ignition system | |||
| Spark plug | NGK BPMR 7A/Champion RCJ 7Y | NGK BPMR 7A/Champion RCJ 7Y | NGK BPMR 7A/Champion RCJ 7Y |
| Electrode gap, inch/mm | 0,02/0,5 | 0,02/0,5 | 0,02/0,5 |
| Fuel and lubrication system | |||
| Fuel tank capacity, US pint/litre | 1,63/0,77 | 1,63/0,77 | 1,63/0,77 |
| Oil pump capacity at 9,000 rpm, ml/min | 4-21 | 4-21 | 4-21 |
| Oil tank capacity, US pint/litre | 0,89/0,42 | 0,89/0,42 | 0,89/0,42 |
| Type of oil pump | Automatic | Automatic | Automatic |
| Weight | |||
| Chain saw without bar or chain, empty tanks, lb/kg | 13,2/6,0 | 13,4/6,1 | 13,8/6,3 |
| Chain/bar | |||
| Standard bar length, inch/cm | 15"/38 | 15"/38 | 15"/38 |
| Recommended bar lengths, inch/cm | 15-28"/38-71 | 15-28"/38-71 | 15-28"/38-71 |
| Usable cutting length, inches/cm | 14-27"/35-69 | 14-27"/35-69 | 14-27"/35-69 |
| Pitch, inch/mm | 3/8"/9,52 | 3/8"/9,52 | 3/8"/9,52 |
| Thickness of drive links, inch/mm | 0,058/1,5 | 0,058/1,5 | 0,058/1,5 |
| Drive sprocket type/teeth | Rim/7 | Rim/7 | Rim/7 |
| Chain speed at max. power, m/sec | 20,7 | 21,4 | 21,4 |
Recommended original and replacement bar and chain combinations
These Husqvarna chain saw models are in the ANSI category of saws above 3,8 cu. in. and are not required to comply with low kickback performance requirements. However, for these models we recommend the following cutting equipment.
| Bar | Chain | ||||
| Length, inch | Pitch, inch | Gauge, inch | Max. nose radius | Type | Drive link count |
| 15 | 3/8 | 0,058 | 11T | Husqvarna H42, Husqvarna H48 | 56 |
| 16 | 3/8 | 0,058 | 11T | Husqvarna H42, Husqvarna H48 | 60 |
| 18 | 3/8 | 0,058 | 11T | Husqvarna H42, Husqvarna H48 | 68 |
| 20 | 3/8 | 0,058 | 11T | Husqvarna H42, Husqvarna H48 | 72 |
| 24 | 3/8 | 0,058 | 11T | Husqvarna H42, Husqvarna H48 | 84 |
| 28 | 3/8 | 0,058 | 11T | Husqvarna H42, Husqvarna H48 | 93 |
Note: For the chains above you are free to choose between 0,050" and 0,058" gauge drive link for the corresponding bar, see the table below.
| 0,050"/1,3 mm | H46 | H47 |
| 0,058"/1,5 mm | H42 | H48 |
This chain saw model is capable of severe kickback that could result in serious injuries to the user. Do not operate this saw unless you have extraordinary cutting needs and experience and specialized training for dealing with kickback. Saws with significantly reduced kickback potential are available. Always use the safest saw and cutting equipment applicable to your cutting need.

Safety precautions for chain saw users
(ANSI B175.1-2000 Annex C)
Kickback safety precautions
Kickback may occur when the nose or tip of the guide bar touches an object, or when the wood closes in and pinches the saw chain in the cut.
Tip contact in some cases may cause a lightning fast reverse reaction, kicking the guide bar up and back towards the operator.
Pinching the saw chain along the top of the guide bar may push the guide bar rapidly back towards the operator.
Either of these reactions may cause you to lose control of the saw which could result in serious personal injury.
Do not rely exclusively upon the safety devices built into your saw. As a chain saw user, you should take several steps to keep your cutting jobs free from accident or injury.
With a basic understanding of kickback, you can reduce or eliminate the element of surprise. Sudden surprise contributes to accidents.
Keep a good firm grip on the saw with both hands, the right hand on the rear handle, and the left hand on the front handle, when the engine is running. Use a firm grip with thumbs and fingers encircling the chain saw handles. A firm grip will help you reduce kickback and maintain control of the saw. Don't let go.
Make sure that the area in which you are cutting is free from obstacles. Do not let the nose of the guide bar contact a log, branch, or any other obstacle which could be hit while you are operating the saw.
Cut at high engine speeds.
Do not overreach or cut above shoulder height.
Follow manufacturer's sharpening and maintenance instructions for the saw chain.
Only use replacement bars and chains specified by the manufacturer or the equivalent.
Other safety precautions
Do not operate a chain saw with one hand! Serious injury to the operator, helpers, bystanders or any combination of these persons may result from one-handed operation. A chain saw is intended for two-handed use.
Do not operate a chain saw when you are fatigued.
Use safety footwear; snug-fitting clothing, protective gloves, and eye, hearing and head protection devices.
Use caution when handling fuel. Move the chain saw at least 10 feet (3 m) from the fueling point before starting the engine.
Do not allow other persons to be near the chain saw when starting or cutting with the chain saw. Keep bystanders and animals out of the work area.
Do not start cutting until you have a clear work area, secure footing and a planned retreat path from the falling tree.
Keep all parts of your body away from the saw chain when the engine is running.
Before you start the engine, make sure that the saw chain is not contacting anything.
Carry the chain saw with the engine stopped, the guide bar and saw chain to the rear, and the muffler away from your body.
Do not operate a chain saw that is damaged, improperly adjusted, or not completely and securely assembled. Be sure that the saw chain stops moving when the throttle control trigger is released.
Shut off the engine before setting the chain saw down.
Use extreme caution when cutting small size brush and saplings because slender material may catch the saw chain and be whipped toward you or pull you off balance.
When cutting a limb that is under tension be alert for springback so that you will not be struck when the tension in the wood fibers is released.
Keep handles dry, clean and free of oil or fuel mixture.
Operate the chain saw only in well-ventilated areas.
Do not operate a chain saw in a tree unless you have been specifically trained to do so.
Do not operate a chain saw above shoulder height.
All chain saw service, other than the items listed in the operator's/owner's safety and maintenance instructions, should be performed by competent chain saw service personnel. (For example, if improper tools are used to remove the flywheel or if an improper tool is used to hold the flywheel in order to remove the clutch, structural damage to the flywheel could occur and subsequently cause the flywheel to burst.)
When transporting your chain saw, use the appropriate guide bar guard.
Note: This Annex is intended primarily for the consumer or occasional user.
The engine exhaust from this product contains chemical known to the State of California to cause cancer, birth defects or other reproductive harm.
For customer assistance, contact us at our website: www.usa.husqvarna.com
Here you can download full pdf version of manual, it may contain additional safety instructions, warranty information, FCC rules, etc.
Advertisement





















































































Need help?
Do you have a question about the 365 SPECIAL and is the answer not in the manual?
Questions and answers