Advertisement


ALBUM
Skip an album for audio device. Press and hold to skip albums continuously. (Not available when a USB device in
Android mode or iPod is connected.)
(repeat)
(Not available when a USB device in Android mode is connected.)
(shuffle)
(Not available when a USB device in Android mode is connected.)
MIC
(play/pause)
You can detach the front panel of this unit to prevent theft.
Caution alarm
If you turn the ignition switch to the OFF position without detaching the front panel, the caution alarm will sound for a few seconds. The alarm will only sound if the built-in amplifier is used.
Serial numbers (MEX-N5300BT only)
Make sure the serial numbers on the bottom of the unit and the back of the front panel are matched correctly. Otherwise you cannot make BLUETOOTH pairing, connection and disconnection by NFC.

Attaching the front panel
Before operating the unit for the first time, after replacing the car battery, or changing the connections, you must reset the unit.
Note
Resetting the unit will erase the clock setting and some stored contents.
Setting the area/region
After resetting the unit, the area/region setting display appears.
This setting can be configured in the general setup menu (see "General Setup").
To display the clock
Press DSPL.
To set the clock automatically
Select [AUTO <RDS>] in step 3.
You can check the current battery voltage. (Not available while the source is off and the clock is displayed.)
You can enjoy music, or perform handsfree calling depending on the BLUETOOTH compatible device such as a smartphone, cellular phone and audio device (hereafter "BLUETOOTH device" if not otherwise specified). For details on connecting, refer to the operating instructions supplied with the device.
Before connecting the device, turn down the volume of this unit; otherwise, loud sound may result.
(MEX-N5300BT only)
By touching the control dial on the unit with an NFC* compatible smartphone, the unit is paired and connected with the smartphone automatically.
* NFC (Near Field Communication) is a technology enabling short-range wireless communication between various devices, such as mobile phones and IC tags. Thanks to the NFC function, data communication can be achieved easily just by touching the relevant symbol or designated location on NFC compatible devices.
For a smartphone with Android OS 4.0 or lower installed, downloading the app "NFC Easy Connect" available on Google Play is required. The app may not be downloadable in some countries/regions.
Make sure that
lights up on the display of the unit.
To disconnect using NFC
Touch the N-Mark part of the unit with the N-Mark part of the smartphone again.
Notes
When connecting a BLUETOOTH device for the first time, mutual registration (called "pairing") is required. Pairing enables this unit and other devices to recognize each other. This unit can connect two BLUETOOTH devices (two cellular phones, or a cellular phone and an audio device).

Note
While connecting to a BLUETOOTH device, this unit cannot be detected from another device. To enable detection, enter the pairing mode and search for this unit from another device.
To start playback
For details, see "Playing a BLUETOOTH Device".
To disconnect the paired device
Perform steps 2 to 4 to disconnect after this unit and the BLUETOOTH device are paired.
To use a paired device, connection with this unit is required. Some paired devices will connect automatically.

Icons in the display:
| Lights up when handsfree calling is available by enabling the HFP (Handsfree Profile). |
| Lights up when the audio device is playable by enabling the A2DP (Advanced Audio Distribution Profile). |
To connect the last-connected device from this unit
Activate the BLUETOOTH function on the BLUETOOTH device.
To connect with the audio device, press SRC to select [BT AUDIO] and press
(play/ pause).
To connect with the cellular phone, press CALL.
Note
While streaming BLUETOOTH audio, you cannot connect from this unit to the cellular phone.
Connect from the cellular phone to this unit instead.
Tip
With BLUETOOTH signal on: when the ignition is turned to on, this unit reconnects automatically to the last-connected cellular phone.
To install the microphone
For details, see "Installing the microphone".
When an iPhone/iPod with iOS5 or later installed is connected to the USB port, the unit is paired and connected with the iPhone/iPod automatically.
To enable BLUETOOTH Auto Pairing, make sure [SET AUTOPAIR] in [BLUETOOTH] is set to [ON] (See "Settings").
Notes
To match the volume level of the connected device to other sources
Start playback of the portable audio device at a moderate volume, and set your usual listening volume on the unit. Press MENU, then select [SOUND] → [SET AUX VOL] (See "Settings").
To listen to the radio, press SRC to select [TUNER].
AF continuously retunes the station to the strongest signal in a network, and TA provides current traffic information or traffic programs (TP) if received.
To store RDS stations with the AF and TA setting
You can preset RDS stations along with an AF/TA setting. Set AF/TA, then store the station with BTM or manually. If you preset manually, you can also preset non-RDS stations.
To receive emergency announcements
With AF or TA on, emergency announcements will automatically interrupt the currently selected source.
To adjust the volume level during a traffic announcement
Level will be stored into memory for subsequent traffic announcements, independently from the regular volume level.
To stay with one regional program (REGIONAL)
When the AF and REGIONAL functions are on, you will not be switched to another regional station with a stronger frequency. If you leave this regional program's reception area, set [SET REGIONAL] in [GENERAL] to [SET REG-OFF] during FM reception (see "General Setup").
This function does not work in the UK and some other areas.
Local Link function (UK only)
This function enables you to select other local stations in the area, even if they are not stored on your number buttons. During FM reception, press a number button (1 to 6) on which a local station is stored. Within 5 seconds, press again a number button of the local station. Repeat this procedure until the local station is received.
Type of programs
NEWS (News), AFFAIRS (Current Affairs), INFO (Information), SPORT (Sports), EDUCATE (Education), DRAMA (Drama), CULTURE (Culture), SCIENCE (Science), VARIED (Varied), POP M (Pop Music), ROCK M (Rock Music), EASY M (Easy Listening), LIGHT M (Light classical), CLASSICS (Serious classical), OTHER M (Other Music), WEATHER (Weather), FINANCE (Finance), CHILDREN (Children's program), SOCIAL (Social Affairs), RELIGION (Religion), PHONE IN (Phone In), TRAVEL (Travel), LEISURE (Leisure), JAZZ (Jazz Music), COUNTRY (Country Music), NATION M (National Music), OLDIES (Oldies Music), FOLK M (Folk Music), DOCUMENT (Documentary)
In these Operating Instructions, "iPod" is used as a general reference for the iPod functions on an iPod and iPhone, unless otherwise specified by the text or illustrations.
For details on the compatibility of your iPod, see "About iPod" or visit the support site on the back cover.
AOA (Android Open Accessory) 2.0, MSC (Mass Storage Class) and MTP (Media Transfer Protocol) type USB devices* compliant with the USB standard can be used. Depending on the USB device, the Android mode or MSC/MTP mode can be selected on the unit. Some digital media players or Android smartphones may require setting to MTP mode.
* e.g., a USB flash drive, digital media player, Android smartphone
Notes
MP3/WMA/AAC:
Before making a connection, select the USB mode (Android mode or MSC/MTP mode) depending on the USB device (see "General Setup").
To stop playback
Press and hold OFF for 1 second.
To remove the device
Stop playback, then remove the device.
Caution for iPhone
When you connect an iPhone via USB, phone call volume is controlled by the iPhone, not the unit. Do not inadvertently increase the volume on the unit during a call, as a sudden loud sound may result when the call ends.
You can play contents on a connected device that supports BLUETOOTH A2DP (Advanced Audio Distribution Profile).

Notes
To match the volume level of the BLUETOOTH device to other sources
Start playback of the BLUETOOTH audio device at a moderate volume, and set your usual listening volume on the unit. Press MENU, then select [SOUND] → [SET BTA VOL] (See "Settings").
Not available when a USB device in Android mode is connected.
Available play modes differ depending on the selected sound source.
"Quick-BrowZer"
Not available when a USB device in Android mode or iPod is connected.
To exit the "Quick-BrowZer" mode
Press
(browse).
Jump mode
Not available when a USB device in Android mode or iPod is connected.
(via BLUETOOTH only)
To use a cellular phone, connect it with this unit. You can connect two cellular phones to the unit. For details, see "Preparing a BLUETOOTH Device".

Note
The ringtone and talker's voice are output from the front speakers. To select the speakers for handsfree calling, press MENU, then select [BLUETOOTH] → [SET VOICE-OUT] (See "Settings").
To reject the call
Press and hold OFF for 1 second.
To end the call
Press CALL again.
You can make a call from the phonebook or call history when a cellular phone supporting PBAP (Phone Book Access Profile) is connected.
When two cellular phones are connected to the unit, select either phone.
Note
[_] appears instead of [#] on the display.
You can make a call by saying the voice tag stored in a connected cellular phone that has a voice dialing function.
To cancel voice dialing
Press VOICE.
To adjust the ringtone volume
Rotate the control dial while receiving a call.
To adjust the talker's voice volume
Rotate the control dial during a call.
To adjust the volume for the other party (Mic gain adjustment)
Press MIC.
Adjustable volume levels: [MIC-LOW], [MICMID], [MIC-HI].
To reduce echo and noise (Echo Canceler/Noise Canceler Mode)
Press and hold MIC.
Settable mode: [EC/NC-1], [EC/NC-2].
To switch between handsfree mode and handheld mode
During a call, press MODE to switch the phone call audio between the unit and cellular phone.
Note
Depending on the cellular phone, this operation may not be available.
Downloading the latest version of "Sony | Music Center" application is required from the App Store for iPhone or from available on Google Play for Android smartphone.
Notes
Establishing the Sony Music Center connection
If the device number appears
Make sure that the number is displayed (e.g., 123456), then select [Yes] on the iPhone/Android smartphone.
To terminate connection
Press MENU, rotate the control dial to select [SONY APP], then press it.
Selecting the source or application
You can operate to select the desired source or application on iPhone/Android smartphone.
To select the source
Press SRC repeatedly. Alternatively, press SRC, rotate the control dial to select the desired source, then press ENTER.
To display the source list
Press SRC.
Announcement of SMS by voice guide (Android smartphone only)
Messages of SMS are automatically read out through the car speakers when they are received.
For details on settings, refer to the help of the application.
Replying a message of SMS (Android smartphone only)
You can reply a message by touching the reply icon.
Making sound and display settings
You can adjust the settings relating to sound and display via iPhone/Android smartphone.
For details on settings, refer to the help of the application.
(Android Smartphone only)
To deactivate voice recognition
Press VOICE.
Notes
"Siri Eyes Free" allows you to use an iPhone handsfree by simply speaking into the microphone. This function requires you to connect an iPhone to the unit via BLUETOOTH. Availability is limited to iPhone 4s or later. Make sure that your iPhone is running the latest iOS version.
You must complete BLUETOOTH registration and connection configurations for the iPhone with the unit in advance. For details, see "Preparing a BLUETOOTH Device". To select the iPhone, press MENU, then select [BLUETOOTH] → [SET AUDIODEV] (See "Settings").
To deactivate "Siri Eyes Free"
Press VOICE.
Notes
You can cancel the demonstration display which appears when the source is off and the clock is displayed.
You can set items in the following setup categories:
General setup (GENERAL), Sound setup (SOUND), Display setup (DISPLAY), BLUETOOTH setup (BLUETOOTH), "Sony | Music Center" setup (SONY APP)
To return to the previous display
Press
(back).
AREA (area)
Specifies the area/region to use this unit:
[EUROPE], [RUSSIA].
If the area/region currently set is changed, this unit is reset, then the clock is displayed.
(Available only while the source is off and the clock is displayed.)
DEMO (demonstration)
Activates the demonstration: [ON], [OFF].
CLOCK (clock) (See "Setting the Clock")
Sets the clock: [AUTO <RDS>], [MANUAL].
CAUT ALM (caution alarm)
Activates the caution alarm: [ON], [OFF] (See "Detaching the Front Panel").
(Available only while the source is off and the clock is displayed.)
BEEP (beep)
Activates the beep sound: [ON], [OFF].
AUTO OFF (auto off)
Shuts off automatically after a certain time when the unit is turned off and the clock is displayed (i.e. press and hold OFF for 1 second): [ON] (30 minutes), [OFF].
STEERING (steering)
Registers/resets the setting of the steering wheel remote control.
(Available only while the source is off and the clock is displayed.)
STR CONTROL (steering control) Selects the input mode of the connected remote control. To prevent a malfunction, be sure to match the input mode with the connected remote control before use.
CUSTOM (custom)
Input mode for the steering wheel remote control
PRESET (preset) Input mode for the wired remote control excluding the steering wheel remote control
(Automatically selected when [RESET CUSTOM] is performed.)
EDIT CUSTOM (edit custom)
Registers the functions (SOURCE, ATT, VOL +/–, SEEK +/–, VOICE, ON HOOK, OFF HOOK) to the steering wheel remote control:
(Available only when [STR CONTROL] is set to [CUSTOM].)
RESET CUSTOM (reset custom)
Resets the registered functions of the steering wheel remote control: [YES], [NO].
(Available only when [STR CONTROL] is set to [CUSTOM].)
Notes
USB MODE (USB mode)
Changes the USB mode: [ANDROID], [MSC/MTP].
(Available only when the USB source is selected.)
AF/TA (alternative frequencies/traffic announcement)
Selects the alternative frequencies (AF) and traffic announcement (TA) setting: [AF-ON], [TA-ON], [AF/TA-ON], [AF/TAOFF].
(Available when any source is selected.)
REGIONAL (regional)
Restricts reception to a specific region: [ON], [OFF].
(Available only when FM is received.)
BTM (best tuning memory)
(Available only when the tuner is selected.)
FIRMWARE (firmware)
(Available only while the source is off and the clock is displayed.)
Checks/updates the firmware version. For details, visit the support site on the back cover.
FW VERSION (firmware version)
Displays current firmware version.
FW UPDATE (firmware update)
Enters firmware update process: [YES], [NO].
Updating the firmware takes a few minutes to complete. During the update, do not turn the ignition to the OFF position, nor remove the USB device.
This setup menu is not available when the source is off and the clock is displayed.
EQ10 PRESET (EQ10 preset)
Selects an equalizer curve from 10 equalizer curves or off:
[OFF], [R&B], [ROCK], [POP], [HIP-HOP], [EDM], [JAZZ], [SOUL], [COUNTRY], [KARAOKE]*, [CUSTOM].
The equalizer curve setting can be memorized for each source.
* [KARAOKE] reduces the vocal sound but cannot fully remove it during playback. Also, using a microphone is not supported.
EQ10 CUSTOM (EQ10 custom)
Sets [CUSTOM] of EQ10.
Setting the equalizer curve: [BAND1] – [BAND10] (32 Hz, 63 Hz, 125 Hz, 250 Hz, 500 Hz, 1 kHz, 2 kHz, 4 kHz, 8 kHz, 16 kHz).
The volume level is adjustable in 1 dB steps, from -6 dB to +6 dB.
BALANCE (balance)
Adjusts the sound balance: [RIGHT-15] – [CENTER] – [LEFT-15].
FADER (fader)
Adjusts the relative level: [FRONT-15] – [CENTER] – [REAR-15].
S.WOOFER (subwoofer)
SW LEVEL (subwoofer level)
Adjusts the subwoofer volume level:
[+6 dB] – [0 dB] – [-6 dB].
([ATT] is displayed at the lowest setting.)
SW PHASE (subwoofer phase)
Selects the subwoofer phase: [SUB NORM], [SUB REV].
LPF FREQ (low pass filter frequency)
Selects the subwoofer cut-off frequency: [80Hz], [100Hz], [120Hz].
HPF FREQ (high pass filter frequency)
Selects the front/rear speaker cut-off frequency: [OFF], [80Hz], [100Hz], [120Hz].
AUX VOL (AUX volume)
Adjusts the volume level for each connected auxiliary device:
[+18 dB] – [0 dB] – [-8 dB].
This setting negates the need to adjust the volume level between sources.
(Available only when the AUX is selected.)
BTA VOL (BLUETOOTH audio volume)
Adjusts the volume level for each connected BLUETOOTH device: [+6 dB] – [0 dB] – [-6 dB].
This setting negates the need to adjust the volume level between sources.
(Available only when the BT audio or application is selected.)
DIMMER (dimmer)
Change the display brightness:
For MEX-N5300BT:
[OFF], [ON], [AT] (auto), [CLK] (clock). ([AT] is available only when the illumination control lead is connected, and the head light is turned on.)
For MEX-N4300BT:
[OFF], [ON], [CLK] (clock).
To set this function to be active only during a fixed period, select [CLK], then set the start and end times.
The brightness setting is stored and applied when the dimmer function is activated or deactivated.
BRIGHTNESS (brightness)
Adjusts the display brightness. The brightness level is adjustable: [1] – [10].
BUTTON-C (button color) (MEX-N5300BT only)
Sets a preset color or customized color for the buttons.
COLOR (color)
Selects from 15 presets colors, 1 customized color.
CUSTOM-C (custom color)
Registers a customized color for the buttons.
RGB RED, RGB GRN, RGB BLUE
Adjustable color range: [0] – [32] ([0] cannot be set for all color ranges).
DSPL-C (display color) (MEX-N5300BT only)
Sets a preset color or customized color for the display.
COLOR (color)
Selects from 15 presets colors, 1 customized color.
CUSTOM-C (custom color)
Registers a customized color for the display.
RGB RED, RGB GRN, RGB BLUE
Adjustable color range: [0] – [32] ([0] cannot be set for all color ranges).
SND SYNC (sound synchronization)
Activates the synchronization of the illumination with the sound: [ON], [OFF]. (Not available when no source is selected and the clock is displayed.)
AUTO SCR (auto scroll)
Scrolls long items automatically: [ON], [OFF].
(Not available when the AUX or tuner is selected.)
PAIRING (pairing) (See "Pairing and connecting with a Bluetooth device")
Connects up to two BLUETOOTH devices:
[DEVICE 1], [DEVICE 2].
[DEVICE 1] or [DEVICE 2] will be changed to the paired device name after pairing is complete.
AUDIODEV (audio device) Selects the audio device.
[*] appears on the device paired with [DEVICE 1] or the current A2DP compatible audio device.
RINGTONE (ringtone)
Selects whether this unit or the connected cellular phone outputs the ringtone: [1] (this unit), [2] (cellular phone).
AUTO ANS (auto answer)
Sets this unit to answer an incoming call automatically: [OFF], [1] (about 3 seconds), [2] (about 10 seconds).
AUTOPAIR (auto pairing)
Starts BLUETOOTH pairing automatically when iOS device version 5.0 or later is connected via USB: [ON], [OFF].
BT SIGNL (BLUETOOTH signal)
Activates/deactivates the BLUETOOTH function.
BT INIT (BLUETOOTH initialize)
Initializes all the BLUETOOTH related settings (pairing information, device information, etc.): [YES], [NO].
When disposing the unit, initialize all the settings.
(Available only while the source is off and the clock is displayed.)
VOICE-OUT (voice output)
Selects the speakers for handsfree calling:
[VOICE FRONT] (front speakers), [VOICE REAR] (rear speakers), [VOICE ALL] (all speakers).
(Available only while the source is off and the clock is displayed.)
(SONY APP)
Establish and terminate "Sony | Music Center" function (connection).
To update the firmware, visit the support site on the back cover, then follow the online instructions.
Note
During the update, do not remove the USB device.
Moisture condensation
Do not splash liquid onto the discs. When moisture condensation occur inside the unit, remove the disc and wait for about an hour for it to dry out; otherwise the unit will not operate properly.
Notes on CD-R/CD-RW discs

If you have any questions or problems concerning your unit that are not covered in this manual, consult your nearest Sony dealer.

Cleaning the connectors
Avoid touching the connectors directly. The unit may not function properly if the connectors between the unit and the front panel are not clean. In order to prevent this, detach the front panel (See "Detaching the Front Panel") and clean the connectors with a cotton swab. Do not apply too much force. Otherwise, the connectors may be damaged.
Note
For safety, do not remove the front panel while driving.
Tuner section
FM
Tuning range:
When [AREA] is set to [EUROPE]: 87.5 MHz – 108.0 MHz
When [AREA] is set to [RUSSIA]:
FM1/FM2: 87.5 MHz – 108.0 MHz (at 50 kHz step)
FM3: 65 MHz – 74 MHz (at 30 kHz step)
Usable sensitivity: 7 dBf
Signal-to-noise ratio: 73 dB
Separation: 50 dB at 1 kHz
MW/LW
Tuning range:
531 kHz – 1,602 kHz (MW),
153 kHz – 279 kHz (LW)
Sensitivity: MW: 26 μV, LW: 50 μV
CD Player section
Signal-to-noise ratio: 95 dB
Frequency response: 20 Hz – 20,000 Hz
Maximum number*1 of:
Folders (albums)*2: 150
Files (tracks) and folders*3: 300
Displayable characters for a folder/file name: 32 (Joliet)/64 (Romeo)
Corresponding codec: MP3 (.mp3), WMA (.wma), AAC (.m4a)
*1 CD-R/CD-RW only
*2 including the root folder
*3 may be less than the measured value if folder/ file names contain many characters
USB Player section
Interface: USB (Full speed)
Maximum current: 1 A
Maximum number of recognizable folders and files:
Folders (albums): 256
Files (tracks) per folder: 256
Compatible Android Open Accessory protocol (AOA): 2.0
Corresponding codec:
MP3 (.mp3)
Bit rate: 8 kbps – 320 kbps (Supports VBR (Variable Bit Rate))
Sampling rate: 16 kHz – 48 kHz
WMA (.wma)
Bit rate: 32 kbps – 192 kbps (Supports VBR (Variable Bit Rate))
Sampling rate: 32 kHz, 44.1 kHz, 48 kHz
AAC (.m4a, .mp4)
Bit rate: 16 kbps – 320 kbps (stereo)
Sampling rate: 8 kHz – 48 kHz
FLAC (.flac)
Bit depth: 16 bit, 24 bit
Sampling rate: 44.1 kHz, 48 kHz
Supported file system: FAT16, FAT32
Wireless Communication
Communication System: BLUETOOTH Standard version 3.0
Output: BLUETOOTH Standard Power Class 2 (Max. Conducted +1 dBm)
Maximum communication range*1: Line of sight approx. 10 m (33 ft)
Frequency band: 2.4 GHz band (2.4000 GHz – 2.4835 GHz)
Modulation method: FHSS
Compatible BLUETOOTH Profiles*2:
A2DP (Advanced Audio Distribution Profile) 1.3
AVRCP (Audio Video Remote Control Profile) 1.3
HFP (Handsfree Profile) 1.6
PBAP (Phone Book Access Profile)
SPP (Serial Port Profile)
Corresponding codec: SBC (.sbc), AAC (.m4a)
*1 The actual range will vary depending on factors such as obstacles between devices, magnetic fields around a microwave oven, static electricity, reception sensitivity, antenna (aerial)'s performance, operating system, software application, etc.
*2 BLUETOOTH standard profiles indicate the purpose of BLUETOOTH communication between devices.
NFC Communication
Frequency band: 13.56 MHz
Power amplifier section
Output: Speaker outputs
Speaker impedance: 4 Ω – 8 Ω
Maximum power output: 55 W × 4 (at 4 Ω)
General
Power requirements: 12 V DC car battery (negative ground (earth))
Rated current consumption: 10 A
Dimensions:
Approx. 178 mm × 50 mm × 176 mm (7 1/8 in × 2 in × 7 in) (w/h/d)
Mounting dimensions: Approx. 182 mm × 53 mm × 159 mm (7 1/4 in × 2 1/8 in × 6 3/8 in) (w/h/d)
Mass: Approx. 1.2 kg (2 lb 11 oz)
Package contents:
Main unit (1)
Microphone (1) (MEX-N5300BT only)
Parts for installation and connections (1 set)
Optional accessories/equipment:
Microphone: XA-MC10 (MEX-N4300BT only)
Ask the dealer for detailed information.
Design and specifications are subject to change without notice.
The following messages may appear or flash during operation.
INVALID: The selected operation could be invalid.
READ
(underscore): The character cannot be displayed.
For CD playback:
CD ERROR
CD NO DISC
CD NO MUSIC
CD PUSH EJT: The disc could not be ejected properly.
or
: The beginning or the end of the disc has been reached.
For USB device playback:
HUB NO SUPRT: USB hubs are not supported.
IPD STOP: iPod playback has finished.
NOT SUPPORT - ANDROID MODE
USB ERROR
USB NO DEV
USB NO MUSIC
USB NO SUPRT
USB OVERLOAD: The USB device is overloaded.
For RDS operation:
NO AF: No alternative frequencies.
NO PI: No program identification. The selected station has no PI (program identification) data.
NO TP: No traffic programs.
For BLUETOOTH function:
BTA NO DEV: The BLUETOOTH device is not connected or recognized.
ERROR: The selected operation could not be performed.
UNKNOWN: A name or phone number cannot be displayed.
WITHHELD: The phone number is hidden by the caller.
For "Sony | Music Center" operation:
APP
: A connection with the application is not established.
APP DISCNCT: The application is disconnected.
APP DISPLAY: A screen setting display of the application is open.
APP LIST: The contents list of the USB is open.
APP MENU: A setting display of the application is open.
APP NO DEV: The device with the application installed is not connected or recognized.
APP SOUND: A sound setting display of the application is open.
OPEN APP: The "Sony | Music Center" application is not running.
For steering wheel remote control operation:
ERROR
TIMEOUT
For firmware update operation:
FILE ERROR: The updater is not stored in the USB device.
UPDATE ERROR - PRESS ENTER: Firmware update is not completed properly.
If these solutions do not help improve the situation, consult your nearest Sony dealer. If you take the unit to be repaired because of device playback trouble, bring the device that was used at the time the problem began.
The following checklist will help you remedy problems you may encounter with your unit. Before going through the checklist below, check the connection and operating procedures.
For details on using the fuse and removing the unit from the dashboard, see "Connection/Installation".
If the problem is not solved, visit the support site on the back cover.
General
No sound or the sound is very low.
No beep sound.
Stored stations and correct time are erased.
The fuse has blown.
Makes a noise when the position of the ignition is switched.
During playback or reception, the demonstration mode starts.
The display disappears from/does not appear in the display window.
The display/illumination flashes.
The operation buttons do not function.
The disc will not eject.
The clock set automatically is not accurate.
Radio reception
The radio reception is poor.
Static noise occurs.
65 MHz to 74 MHz in FM3 cannot be tuned in.
RDS
RDS services cannot be received (when [AREA] is set to [RUSSIA]).
The SEEK starts after a few seconds of listening.
No traffic announcements.
PTY displays [
].
Program service name flashes.
CD playback
The disc does not play.
MP3/WMA/AAC files cannot be played.
MP3/WMA/AAC files take longer to play than others.
USB device playback
A USB device takes longer to play.
The audio file cannot be played.
Operations for skipping an album, skipping items (Jump mode), and searching a track by name ("QuickBrowZer") cannot be performed.
The sound cannot be output during playback in Android mode.
NFC function (MEX-N5300BT only)
One-touch connection (NFC) is not possible.
BLUETOOTH function
The connecting device cannot detect this unit.
Connection is not possible.
The name of the detected device does not appear.
No ringtone.
The talker's voice cannot be heard.
A call partner says that the volume is too low or high.
Echo or noise occurs in phone call conversations.
The phone is not connected.
The phone sound quality is poor.
The volume of the connected audio device is low (high).
The sound skips during playback of a BLUETOOTH audio device.
The connected BLUETOOTH audio device cannot be controlled.
Some functions do not work.
A call is answered unintentionally.
Pairing failed due to a timeout.
Cannot pair.
BLUETOOTH function cannot operate.
No sound is output from the car speakers during handsfree call.
"Siri Eyes Free" is not activated.
"Sony | Music Center" operation
Application name is mismatched with the actual application in "Sony | Music Center".
While running the "Sony | Music Center" application via BLUETOOTH, the display automatically switches to [BT AUDIO].
The "Sony | Music Center" application is automatically disconnected when the display switches to [IPD].
The "Sony | Music Center" connection is automatically disconnected when the USB mode of the unit is changed to [ANDROID].
Precautions
Note on the power supply lead (yellow)
When connecting this unit in combination with other stereo components, the amperage rating of the car circuit to which the unit is connected must be higher than the sum of each component's fuse amperage rating.
Mounting angle adjustment
Adjust the mounting angle to less than 30°.


Connection For MEX-N5300BT

Connection For MEX-N4300BT
*1 Not supplied
*2 Speaker impedance: 4 Ω – 8 Ω × 4
*3 RCA pin cord (not supplied)
*4 Depending on the type of car, use an adaptor for a wired remote control (not supplied). For details on using the wired remote control, see "Using the wired remote control".
*5 Whether in use or not, route the microphone input cord such that it does not interfere with driving operations. Secure the cord with a clamp, etc., if it is installed around your feet.
*6 For details on installing the microphone, see "Installing the microphone".
*7 Depending on the type of car, use an adaptor (not supplied) if the antenna connector does not fit.
If you have a power antenna (aerial) without a relay box, connecting this unit with the supplied power supply lead
may damage the antenna (aerial).
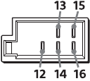
| 1 | Rear speaker (right) | | Purple |
| 2 | | Purple/black striped | |
| 3 | Front speaker (right) | | Gray |
| 4 | | Gray/black striped | |
| 5 | Front speaker (left) | | White |
| 6 | | White/black striped | |
| 7 | Rear speaker (left) | | Green |
| 8 | | Green/black striped |
| 12 | continuous power supply | Yellow |
| 13 | power antenna (aerial) /power amplifier control (REM OUT) | Blue/white striped |
| 14* | switched illumination power supply | Orange/ white striped |
| 15 | switched power supply | Red |
| 16 | ground (earth) | Black |
* MEX-N5300BT only
Subwoofer Easy Connection
You can use a subwoofer without a power amplifier when it is connected to a rear speaker lead.

Notes
Memory hold connection
When the yellow power supply lead is connected, power will always be supplied to the memory circuit even when the ignition switch is turned off.
Speaker connection

Check your car's auxiliary power connector, and match the connections of leads correctly depending on the car.

Common connection
| 12 | continuous power supply | Yellow |
| 15 | switched power supply | Red |

When the positions of the red and yellow leads are inverted
| 12 | switched power supply | Yellow |
| 15 | continuous power supply | Red |

When the car without ACC position
After matching the connections and switching power supply leads correctly, connect the unit to the car's power supply. If you have any questions and problems connecting your unit that are not covered in this manual, consult the car dealer.

(MEX-N5300BT only)
To capture your voice during handsfree calling, you need to install the microphone 
Note
Before attaching the double-sided tape
, clean the surface of the dashboard with a dry cloth.
Before installing the unit, remove the protection collar
and the bracket
from the unit.
Before installing, make sure the catches on both sides of the bracket
are bent inwards 2 mm (3/32 in).
Notes
For details, see "Detaching the Front Panel".
For details, see "Resetting the Unit".

When replacing the fuse, be sure to use one matching the amperage rating stated on the original fuse. If the fuse blows, check the power connection and replace the fuse. If the fuse blows again after replacement, there may be an internal malfunction. In such a case, consult your nearest Sony dealer.
Warning if your car's ignition has no ACC position
Be sure to set the AUTO OFF function (see "General Setup"). The unit will shut off completely and automatically in the set time after the unit is turned off and the clock is displayed (i.e. press and hold OFF for 1 second), which prevents battery drain. If you do not set the AUTO OFF function, press and hold OFF until the display disappears each time you turn the ignition off.
About the NFC function
The model supporting the NFC function described in this manual is as follows:
IN NO EVENT SHALL SONY BE LIABLE FOR ANY INCIDENTAL, INDIRECT ORCONSEQUENTIAL DAMAGES OR OTHER DAMAGES INCLUDING, WITHOUT LIMITATION, LOSS OF PROFITS, LOSS OF REVENUE, LOSS OF DATA, LOSS OF USE OF THE PRODUCT OR ANY ASSOCIATED EQUIPMENT, DOWNTIME, AND PURCHASER'S TIME RELATED TO OR ARISING OUT OF THE USE OF THIS PRODUCT, ITS HARDWARE AND/OR ITS SOFTWARE.
Dear customer, this product includes a radio transmitter.
According to UNECE Regulation no. 10, a vehicle manufacturers may impose specific conditions for installation of radio transmitters into vehicles. Please check your vehicle operation manual or contact the manufacturer of your vehicle or your vehicle dealer, before you install this product into your vehicle.
Emergency calls
This BLUETOOTH car handsfree and the electronic device connected to the handsfree operate using radio signals, cellular, and landline networks as well as user-programmed function, which cannot guarantee connection under all conditions. Therefore do not rely solely upon any electronic device for essential communications (such as medical emergencies).
On BLUETOOTH communication
If you have any questions or problems concerning your unit that are not covered in this manual, consult your nearest Sony dealer.
Here you can download full pdf version of manual, it may contain additional safety instructions, warranty information, FCC rules, etc.
Advertisement
(disc eject)
(SEEK –/+)
(prev/next)
(fast-reverse/fast-forward)
until the unit turns off, press the front panel release button
, then pull the panel towards you to remove.
(SEEK –/+).

or
lights up when the connection is made.

(SEEK –/+) to locate the approximate frequency, then press
(SEEK +).
(SEEK –/+).
(back) twice.
and
.
(eject).
(SEEK –/+) while the program service name is flashing. The unit starts searching for another frequency with the same PI (program identification) data ([PI SEEK] appears).
(SEEK –/+) while the program service name is flashing. [PI SEEK] appears and the unit starts searching for another frequency with the same PI (program identification) data.
to the unit and speakers before connecting it to the auxiliary power connector.
and the protection collar
are attached to the unit before shipping. Before mounting the unit, use the release keys
to remove the bracket 
until they click, and pull down the bracket

Need help?
Do you have a question about the MEX-N5300BT and is the answer not in the manual?
Questions and answers