Advertisement

In warnings, signal words at the beginning of a warning are used to indicate the type and seriousness of the ensuing risk if measures for minimizing danger are not taken.
The following signal words are defined and can be used in this document:
Indicates that severe to life-threatening personal injury will occur.
Indicates a hazardous situation which, if not avoided, could result in serious personal injury or danger to life.
Indicates a hazardous situation which, if not avoided, could result in minor to moderate personal injury.
NOTICE
ATTENTION indicates that material damage may occur.
The info symbol indicates important information where there is no risk to people or property.
Table 31
| Symbol | Meaning |
| Warning regarding flammable substances: the refrigerant R32 used in this product is a gas with low combustibility and low toxicity (A2L or A2). |
| Wear protective gloves during installation and maintenance work. |
| Maintenance by a qualified person should be done while following the instructions of the service manual. |
| For operation follow the instructions of the user manual. |

| A [mm] | B [mm] | C [mm] | |
| CL7100i W 35 HE CL7100i W 50 HE | 909 | 308 | 255 |

122
| A [mm] | B [mm] | C [mm] | D [mm] | E [mm] | F [mm] | |
| CL7100i 35 HE | 874 | 805 | 511 | 330 | 554 | 317 |
| CL7100i 50 HE | 955 | 890 | 663 | 342 | 673 | 348 |
If the outdoor unit is installed higher than the indoor unit, a siphonshaped elbow must be installed on the gas side. The installation must be done at intervals of no more than 6 meters, and every 6 metres thereafter (Figure 21, [1]).

Table 32 Pipe length and difference in height
| Outdoor Unit | Maximum pipe length1) [m] | Maximum difference in height2) [m] |
| CL7100i 35 HE | ≤ 25 | ≤ 10 |
| CL7100i 50 HE | ≤ 30 | ≤ 20 |
Table 33 Pipe diameter depending on unit type
| Pipe diameter | ||
| Outdoor Unit | Liquid side [mm] | Gas side [mm] |
| CL7100i 35 HE | 6.35 (1/4") | 9.53 (3/8") |
| CL7100i 50 HE | 6.35 (1/4") | 12.7 (1/2") |
This device contains fluorinated greenhouse gases as refrigerant. The unit is hermetically sealed. The following information on the refrigerant complies with the requirements of EU Regulation No. 517/2014 on fluorinated greenhouse gases.
Table 34 Alternative pipe diameter
| Pipe diameter [mm] | Alternative pipe diameter [mm] |
| 6.35 (1/4") | 6 |
| 9.53 (3/8") | 10 |
| 12.7 (1/2") | 12 |
Specification of the pipes
Table 35
| Min. piping length | 3 m |
| Additional refrigerant to be added if the pipe length exceeds 5 m (liquid side) | With Ø 6.35 mm (1/4"): 12 g/m |
| Piping Thickness | ≥ 0.8 mm |
| Thickness of insulation against heat | ≥ 6 mm |
| Material of insulation against heat | Polyethylene foam |
Information for the installer: If you refill refrigerant, enter the additional charge size and the total charge size of the refrigerant in the table "information on refrigerant" below.
Table 36 F-Gas
| Outdoor Unit | Rated cooling output [kW] | Rated heating output [kW] | Refrigerant Type | Global Warming Potential (GWP) [kgCo2 eq.] | CO2 equivalent of initial charge [metric tons] | Initial charge volume [kg] | Additional fill volume [kg] | Total charge volume during commissioning [kg] |
| CL7100i 35 HE | 3.4 | 4.1 | R32 | 675 | 0.743 | 1.10 | (Pipe length-5) *0.012 | |
| CL7100i 50 HE | 5.0 | 5.5 | R32 | 675 | 0.797 | 1.18 | (Pipe length-5) *0.012 |
If the distance between the indoor and outdoor units exceeds 5 meters, additional refrigerant charge must be added. For every meter of additional distance, it is necessary to include an extra 12 grams of refrigerant charge.
Please refer to chapter "Electrical connection including radio equipment components".
In order to select the correct fuse for this installation, it is important that the skilled person installing the air conditioner pays attention to chapter "Electrical connection".
Risk of injury from sharp edges!
Danger of burns!
During operation the pipes become hot.
Indoor Unit
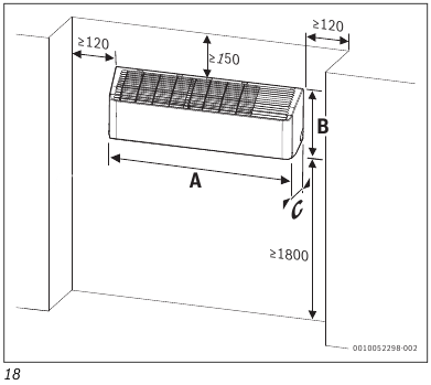
| Indoor Unit | Installation height [m] | Minimum room area [m2] |
| CL7100i W 35 HE CL7100i W 50 HE | ≥ 1.8 | ≥ 4 |
If the installation height is lower, the floor area must be accordingly larger.
Outdoor Unit
NOTICE
Incorrect assembly can cause material damage.
If the unit is assembled incorrectly, it may fall off the wall.
| CL7100i W 35 HE CL7100i W 50 HE | |
| A [mm] | 232.5 |
| B [mm] | 45 |
| C [mm] | 45 |
| D [mm] | 65 |
| E [mm] | 217 |
| F [mm] | 435 |
| G [mm] | 909 |
| H [mm] | 435.5 |
| I [mm] | 460 |
| J [mm] | 242.5 |
| K [mm] | 308 |
| L [mm] | 45 |
| M [mm] | 150 |
| N [mm] | 258 |
If it is necessary to take the indoor unit off the mounting plate:
To avoid condensation and water leakage, the connecting pipe must be wrapped with tape to ensure isolation from the air.

Risk of explosion and injury from presence of other gases or substances.
The presence of other gases or substances will lower the unit's capacity, and can cause abnormally high pressure in the refrigeration cycle.
Discharge of refrigerant due to leaky connections
Refrigerant may be discharged if pipe connections are incorrectly installed. Reusable mechanical connectors and flared joints are not allowed indoors.
Copper pipes are available in metric and imperial sizes, the flare nut thread is however the same. The flared fittings on the indoor and outdoor unit are intended for imperial sizes.
Table 38 Key data of pipe connections
| External diameter of pipe Ø [mm] | Tightening torque [Nm] | Flared opening diameter (A) [mm] | Flared pipe end | Pre-assembled flare nut thread |
| 6.35 (1/4") | 18-20 | 8.4-8.7 | ![]() | 3/8" |
| 9.53 (3/8") | 32-39 | 13.2-13.5 | 3/8" | |
| 12.7 (1/2") | 49-59 | 16.2-16.5 | 5/8" | |
| 15.9 (5/8") | 57-71 | 19.2-19.7 | 3/4" | |
| 19 (3.4") | 67-101 | 23.2-23.7 | 3/4" |
NOTICE
Reduced efficiency due to heat transfer between refrigerant pipes
The condensate drain of the indoor unit has two connections. A condensate hose and bung are mounted on these connections at the factory and can be replaced (Fig. 28).
Observe the national and local regulations when carrying out the tightness test.
Air and foreign matter in the refrigerant circuit can cause abnormal rises in pressure, which can damage the air conditioner, reduce its efficiency, and cause injury.
Evacuation should be performed upon initial installation and when unit is relocated. Only proceed with this step after checking the tightness of the system.
Before performing the evacuation:
When opening valve stems, turn the hexagonal wrench until it hits against the stopper. Do not try to force the valve to open further.
Some systems require additional charging depending on pipe lengths. The standard pipe length varies according to local regulations.
NOTICE
Malfunction due to incorrect refrigerant
The outdoor unit is filled with R32 refrigerant at the factory.
| Connective pipe length (m) | Air purging method | Additional refrigerant |
| ≤ Standard pipe length | Vacuum pump | N/A |
| > Standard pipe length | Vacuum pump | Liquid Side: Ø 6.35 (ø 0.25") R32: (Pipe length – standard length) x 12g/m (Pipe length – standard length) x 0.13oZ/ft |
If refrigerant needs to be topped up, only use the same refrigerant. Do not mix refrigerant types.
Risk to life from electric shock!
Touching live electrical parts can cause an electric shock.
The indoor unit is connected to the outdoor unit using a 5-core communication cable of the type H07RN-F or H05RN-F. The conductor cross-section of the communication cable should be at least 1.5 mm2.
NOTICE
Material damage due to incorrectly connected indoor unit
Voltage is supplied to the indoor unit via the outdoor unit.
To connect the communication cable:
NOTICE
Unit malfunction.
A power cable (3-core) is connected to the outdoor unit and the communication cable is connected to the indoor unit (5-core). Use cables of the type H07RN-F with sufficient conductor cross-section and protect the mains power supply with a fuse (Table 40).
Table 40
| Outdoor unit | Mains fuse protection | Conductor cross-section | |
| Power cable | Communication cable | ||
| CL7100i 35 HE | 13 A | ≥ 1.5 mm2 | ≥ 1.5 mm2 |
| CL7100i 50 HE | 16 A | ≥ 1.5 mm2 | ≥ 1.5 mm2 |
Table 41
| CL7100i W 35 HE | CL7100i W 50 HE | CL7100i 35 HE | CL7100i 50 HE | |
| f(RF) | 5725 to 5850 MHz (P=max. -11.74 dBm) |
| While the unit is on, press the Intelligent eye button on the remote control to activate the Radar detection operation. | |
| Wi-Fi | 2412 MHz to 2472MHz (P=max. 14 dBm) |
| Wireless control allows you to control your air conditioner using your mobile phone and a wireless connection. | |
Discharge of refrigerant due to leaky connections
Refrigerant may be discharged if pipe connections are incorrectly installed. Reusable mechanical connectors and flared joints are not allowed indoors.
Before the test run is performed:
There are two different methods to check for gas leaks.
Soap and water method
Leak detector method
The system can be tested once the installation including tightness test has been carried out and the electrical connection has been established:
You cannot use the remote controller to turn on the COOL function when the ambient temperature is below 16°C. For that, use the MANUAL CONTROL button to test the COOL function:
To switch on the cooling mode manually:
Table 42 Checklist
| 1 | Outdoor unit and indoor unit are correctly installed. |
| 2 | Pipes are correctly
|
| 3 | Condensate pipes are functioning correctly and have been tested. |
| 4 | Electrical connection has been correctly established.
|
| 5 | All covers are fitted and secured. |
| 6 | The horizontal louvre of the indoor unit is fitted correctly and the actuator is engaged. |
Risk to life from electric shock!
Touching live electrical parts can cause an electric shock.
If a fault occurs during operation, a fault code appears in the display (e.g. EH 03).
If a fault is present for more than 10 minutes:
If a fault persists:
Table 43
| Fault code | Possible Cause |
| EC 07 | Fan speed of outdoor unit outside the normal range |
| EC 51 | Faulty parameter in the EEPROM of the outdoor unit |
| EC 52 | Temperature sensor error at T3 (condenser coil) |
| EC 53 | Temperature sensor error at T4 (outside temperature) |
| EC 54 | Temperature sensor error at TP (compressor discharge pipe) |
| EC 56 | Temperature sensor error at T2B (outlet of evaporator coil; only multi-split air conditioner) |
| EH 0A EH 00 | Faulty parameter in the EEPROM of the indoor unit |
| EH 0b | Communication error between main PCB of indoor unit and display |
| EH 03 | Fan speed of indoor unit outside the normal range |
| EH 60 | Temperature sensor error at T1 (room temperature) |
| EH 61 | Temperature sensor error at T2 (centre of evaporator coil) |
| EL 0C1) | Insufficient or escaping refrigerant or temperature sensor error at T2 |
| EL 01 | Communication error between IDU and ODU |
| PC 00 | Fault at IPM module or IGBT overcurrent protection |
| PC 01 | Over- or undervoltage protection |
| PC 02 | Temperature protection at compressor or overheating protection at IPM module or pressure relief device |
| PC 03 | Low pressure protection |
| PC 04 | Inverter compressor module error |
| PC 08 | Protection against current overload |
| PC 40 | Communication fault between main PCB of outdoor unit and main PCB of compressor drive |
| −− | Conflicting operating mode of indoor units; operating mode of indoor units and outdoor unit must correspond. |
| Special condition | Possible cause |
| -- | Conflicting operating mode of indoor units; operating mode of indoor units and outdoor unit must correspond.1) |
Note: units set to cooling/dry/fan mode will be affected with a mode conflict as soon as one other unit in the system is set to heating (heating is the priority system mode).
If faults occur during operation that cannot be eliminated:
Table 44
| Fault | Possible cause |
| The output of the indoor unit is too low. | Temperature is set too high or too low. |
| Air filter is soiled and must be cleaned. | |
| Unfavourable ambient conditions for the indoor unit, e.g. the ventilation openings of the devices are obstructed, doors/windows in the room are open or the room contains powerful heat sources. | |
| Low-noise operation is activated and prevents the full output from being used. | |
| Indoor unit does not switch on. | The indoor unit has a safety mechanism to prevent overloading. It may take 3 minutes, until the indoor unit can be restarted. |
| The batteries of the remote control are empty. | |
| The timer is switched on. | |
| Operating mode changes from Cooling or Heating to Fan Mode. | The indoor unit changes operating mode to prevent the formation of frost. Once the temperature increases, the unit will start operating in the previously selected mode again. |
| The set temperature is reached provisionally, at which point the unit turns off the compressor. The unit will continue operating when the temperature fluctuates again. | |
| A white mist is coming from the indoor unit. | In humid regions, white mist may appear if there is a significant temperature difference between the indoor air and air-conditioned air. |
| White mist is emerging from the indoor unit and outdoor unit. | If heating mode is activated directly after automatic defrosting, this can generate white mist due to the higher level of humidity. |
| There is noise coming from the indoor unit and outdoor unit. | A swooshing noise may be heard inside the indoor unit if the position of the airflow grille is set back. |
| A quiet hissing noise is normal during operation. This is caused by the flow of refrigerant. | |
| Creaks and squeaks may be heard, as the metal and plastic parts of the device expand or contract during heating/cooling. | |
| The outdoor unit also emits a range of other noises during operation which is normal. | |
| Dust is being discharged from the indoor unit or outdoor unit. | Dust may accumulate in the devices if they are shut down for an extended period and not covered. This can be mitigated by covering the unit during long periods of inactivity. |
| Unpleasant odour during operation. | Unpleasant odours in the air may enter the devices and spread. |
| There may be mould on the air filter and it must therefore be cleaned. | |
| The fan of the outdoor unit is not running continuously. | Variable fan control is used to ensure optimum operation. |
| Operation is irregular or unpredictable or the indoor unit is not responding. | The indoor unit may be affected by interference from mobile radio masts or external signal amplifiers.
|
| Air baffle or louvres do not run correctly. | Air baffle or louvres have been adjusted manually or have not been correctly installed.
|
| Poor cooling performance | Temperature setting may be higher than ambient room temperature.
|
Temperature setting may be higher than ambient room temperature.
| |
Heat exchanger of the outdoor or indoor unit contaminated or partially blocked.
| |
The air filter is dirty.
| |
The air inlet or outlet of either unit is blocked.
| |
Doors and windows are open.
| |
Excessive heat is generated by sunlight.
| |
Too many sources of heat in the room (people, computers, electronics, etc.).
| |
Low refrigerant due to leak or long-term use
| |
SILENCE function is activated (optional function).
| |
| Outdoor unit or indoor unit is not working. | Power failure.
|
The power is turned off.
| |
The fuse is burned out.
| |
Remote control batteries are dead.
| |
The unit's 3-minute protection has been activated.
| |
Timer is activated.
| |
| Outdoor unit or indoor unit starts and stops continuously. | Insufficient refrigerant in the system. Too much refrigerant in the system.
|
Moisture or impurities in the refrigerant circuit.
| |
Voltage fluctuations too high.
| |
The compressor is broken.
| |
| Poor heating performance. | Cold air entering through doors and windows.
|
Low refrigerant due to leak or long-term use.
|
Table 45
| Set | CL7100i-Set 35 HE | CL7100i-Set 50 HE | |
| Indoor unit | CL7100i W 35 HE | CL7100i W 50 HE | |
| Outdoor unit | CL7100i 35 HE | CL7100i 50 HE | |
| Rated cooling | |||
| Capacity (min. - max.) | kW | 3.4 (1.0 - 4.1) | 5.0 (1.9 - 5.5) |
| Power input (min. - max.) | W | 756 (102 - 1668) | 1277 (150 - 2000) |
| Current | A | 3.3 (0.4 - 7.3) | 5.5 (0.7 - 8.7) |
| EER | 4.5 | 3.9 | |
| Rated heating | |||
| Capacity (min. - max.) | kW | 4.0 (0.8 - 6.0) | 5.6 (1.3 - 7.2) |
| Power input (min. - max.) | W | 889 (104 - 2190) | 1365 (180 - 2650) |
| Current | A | 3.9 (0.4-9.5) | 5.7 (0.78-11.5) |
| COP | 4.5 | 4.1 | |
| Seasonal cooling | |||
| Cooling load (Pdesignc) | kW | 3.4 | 5.0 |
| Energy efficiency (SEER) | 9.1 | 8.5 | |
| Energy efficiency class | A+++ | A+++ | |
| Heating – with average climate | |||
| Heating load (Pdesignc) | kW | 3.0 | 4.2 |
| Energy efficiency (SCOP) | 5.1 | 4.6 | |
| Energy efficiency class | A+++ | A++ | |
| Tbiv | °C | -7 | -7 |
| Heating – with colder climate | |||
| Heating load (Pdesignc) | kW | 4.6 | 6.2 |
| Energy efficiency (SCOP) | 4.0 | 3.4 | |
| Energy efficiency class | A+ | A | |
| Tbiv | °C | -10 | -10 |
| General | |||
| Power supply | V/Hz | 220–240/50 | 220–240/50 |
| Max. power consumption | W | 2950 | 3000 |
| Max. current consumption | A | 13 | 13 |
| Refrigerant | – | R32 | R32 |
| Refrigerant charge | g | 1100 | 1180 |
| GWP | 675 | ||
| Design pressure (liquid side/gas side) | MPa | 4.3/1.7 | |
| Connection wiring | 1.5 x 5 | ||
| Plug type | no plug | ||
| Thermostat type | Remote control | ||
| Application area (cooling standard) | m2 | 16~23 | 24~35 |
| Indoor unit | |||
| Air flow rate (Turbo/high 100%/ medium 60%/low 40%) | m3/h | 750/700/480/380 | 800/740/510/400 |
| Sound pressure level (cooling mode) (high 100%/medium 60%/ low 40%/silent 1%) | dB (A) | 42/36/32/24 | 44/39/36/26 |
| Sound pressure level (fan mode) (silent) | dB (A) | 20 | 21 |
| Sound power level (cooling mode) | dB (A) | 60 | 60 |
| Sound power level (heating mode) | dB (A) | 60 | 68 |
| Permissible ambient temperature (cooling/heating) | °C | 16-32/0-30 | |
| Dimensions (W x D x H) | mm | 909 x 225 x 308 | |
| Packing (W x D x H) | mm | 985 x 370 x 350 | |
| Net weight | kg | 12.4/17.1 | 12.4/17.1 |
| Outdoor unit | |||
| Air flow rate | m3/h | 2350 | 3000 |
| Sound pressure level | dB (A) | 58.0 | 61.0 |
| Outdoor sound power level (Cooling mode) | dB (A) | 63 | 65 |
| Outdoor sound power level (Heating mode) | dB (A) | 65 | 68 |
| Permissible ambient temperature (cooling/heating) | °C | -15~50/-35~30 | |
| Dimensions (W x D x H) | mm | 805 x 330 x 554 | 890 x 342 x 673 |
| Packing (W x D x H) | mm | 915 x 370 x 615 | 995 x 398 x 740 |
| Net weight | kg | 35.2/37.7 | 43.5/46.7 |
| Refrigerant piping | |||
| Liquid side/gas side | mm (inch) | 6.35mm(1/4")/9.52mm(3/8") | 6.35mm(1/4")/12.7mm(1/2") |
| Max. refrigerant pipe length | m | 25 | 30 |
| Max. difference in level | m | 10 | 20 |
Notices for the target group
These installation instructions are intended for qualified persons who are skilled in dealing with refrigeration engineering and HVAC technology and also electrical systems. As a matter of course, the appliance shall be installed in accordance with national wiring regulations. All system-relevant instructions must be observed. Failure to comply with instructions may result in material damage and personal injury, including danger to life.
Intended use
The indoor unit is intended for installation inside the building with connection to an outdoor unit and further system components, e.g. controls.
The outdoor unit is intended for installation outside the building with connection to an indoor unit or units and further system components, e.g. controls.
The air conditioning system is intended for commercial/residential use only where temperature deviations from adjusted set points do not lead to damage of living beings or materials. The air conditioning system is not suitable to set and maintain desired absolute humidity levels precisely.
Any other use is considered inappropriate. Any damage that may result from misuse is excluded from liability.
In particular, the air conditioner shall not be operated in a wet room such as a bathroom or laundry room.
For installation at special locations (underground garage, mechanical rooms, balcony or at any semi-open areas):
General dangers posed by the refrigerant
Safety of electrical devices for domestic use and similar purposes
The following requirements apply in accordance with EN 60335-1 in order to prevent hazards from occurring when using electrical appliances:
"This appliance can be used by children of 8 years and older, as well as by people with reduced physical, sensory or mental capabilities or lacking in experience and knowledge, if they are supervised and have been given instruction in the safe use of the appliance and understand the resulting dangers. Children shall not play with the appliance. Cleaning and user maintenance must not be performed by children without supervision."
"If the power cable is damaged, it must be replaced by the manufacturer, its customer service department or a similarly qualified person, so that risks are avoided."
Handover to the user
When handing over the air conditioning system, explain the operation and operating conditions to the user.
Notices regarding these instructions
The figures are shown together at the end of these instructions. The text contains references to the figures.
Depending on the model, the products may be different to those shown in these instructions.
Advertisement















) until the lowest temperature is set.
).
) until the highest temperature is set.
Need help?
Do you have a question about the Climate 7100i and is the answer not in the manual?
Questions and answers