Yamaha disklavier DKC55 Maintenance Handbook page 39

Table of Contents

Advertisement

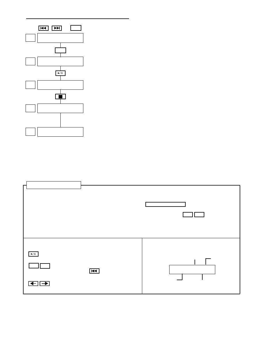
10. Keyboard-return damping adjustment
+
Power
00
* MAINTENANCE *
*** MODE GP **
11 times
R
11
*** KEYBOARD ***
*** Damp Adj ***
11
Damp
t100 v001
K=11
D=XX
11
END!
00
* MAINTENANCE *
*** MODE HI ***
Adjustment procedure
Teat operation
Keys 1 to 88, single-strike scale
Check item
1. Key return
Adjustment item
2. Damping value
Function of operating buttons
(Play/Pause)........ Pause/restart of the test
(Volume) ............ Adjust the damping value.
+ /YES
–/NO
................................. Change the tempo.
This adjustment sets the damping level used to restrain keys during their return, so as
to reduce impact noises produced by excessively rapid return action.
Specifically, the damping value sets the amount of counterforce applied to the keys
during their return. Higher values therefore produce slower return.
The damping value you set here is applied to all keys. Adjust the value so that all keys
are moving normally.
<Explanation of terms>
• Damping value... D= xx
This is the value that you set within this menu.
Setting the value too low will allow keys to return too quickly, creating unwanted
impact sounds and other such noises. Setting the value too high will cause keys to
jerk back downward during their return, resulting in discontinuous (jumpy) key
movement. This value should be set relatively high, but not so high as to cause jerky
action in any of the keys.
The value can be set in increments of 1.
(
restores initial set-
ting.)
37
Adjustment operation
<All keys correction>
→ If NG
1 Chesk the key movement
–/NO
+ /YES
Data display
Tempo
Damp
t100 v001
K=XX
Key No.
(Adjust the damping value.)
Velocity
D=XX
Damping value.

Hide quick links:

Advertisement

Table of Contents
loading
Need help?

Need help?

Do you have a question about the disklavier DKC55 and is the answer not in the manual?

Table of Contents