Suggested Arrangement Of Food In The Fridge/Freezer - Beko Cfg4501W User Manual

Table of Contents
Suggested Arrangement
Of Food In The Fridge/
Freezer
Arrangement
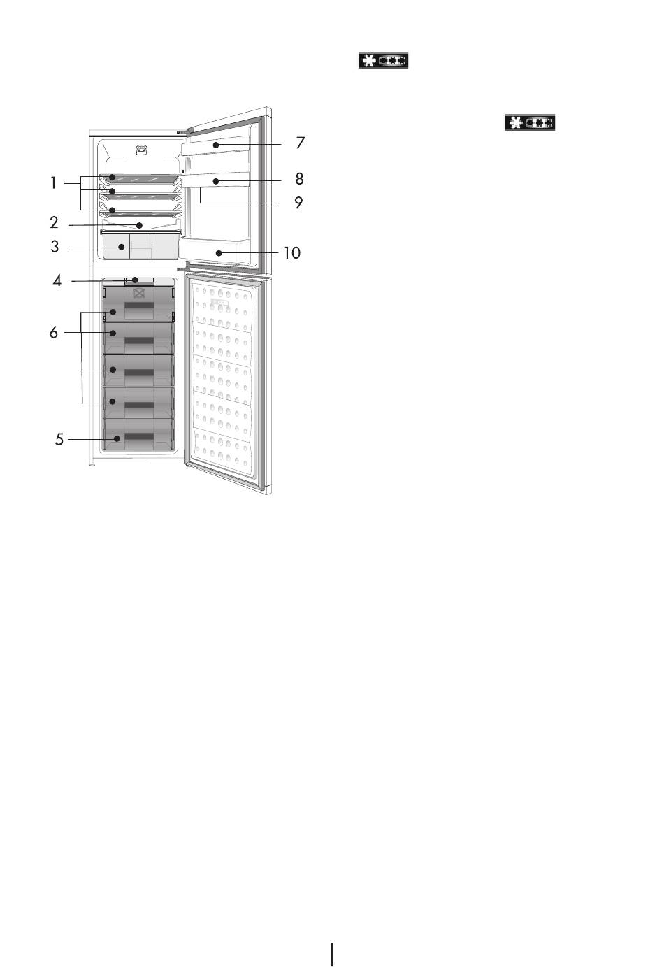
diagram)
1. Baked, chilled cooked food,
dairy products, cans.
2. Meat, sausages, cold cuts.
3. Fruit, vegetables, salads.
4. Making, storing ice cubes.
5. Frozen food.
6. Frozen food and freezing of
fresh food.
7. Butter, cheese.
8. Small bottles, cans, tubes.
9. Eggs.
10. Tall/Large bottles.
The
following
recommendations are suggested to
obtain the best results and storage
hygiene.
1. The fridge compartment is for
the short term storage of fresh food
and drinks.
Examples
(See
guidelines
and
2. The freezer compartment
is
rated and suitable for
the freezing of fresh food and
storage of pre-frozen food. The
recommendation for
as stated on the food packaging
should be observed at all times.
3. Cooked dishes must be stored
in airtight covered containers.
4. Fresh wrapped produce can be
placed on the shelf. Fresh fruit and
vegetables should be cleaned and
stored in the crisper bins.
5. Bottles can be placed in the
door section.
6. To store raw meat, wrap in
polythene bags and place on the
lowest shelf. Do not allow to come
into contact with cooked food to avoid
contamination. For safety, only store
raw meat for two to three days.
7. Keep the food packed wrapped
or covered. Allow hot food and
beverages to cool before placing them
in the fridge. Do not store explosive
substances. High proof alcohol
must be stored upright in sealed
containers. Left over canned food
should not be stored in the can.
8. Fizzy drinks should not be
frozen and products such as flavoured
water ices should not be consumed
too cold.
9. Some fruit and vegetables
suffer damage if kept at
temperatures near 0°C. Therefore
wrap pineapples, melons, cucumbers,
tomatoes and similar produce in
polythene bags.
10. Place chilled cooked food and
similar food near the rear of the
fridge inner liner where the cold wall
is located.
17
EN
storage
Table of Contents
loading
Need help?

Need help?

Do you have a question about the CFG4501W and is the answer not in the manual?

This manual is also suitable for:

Cda 564fwCf 5015apwCf5015apsCfg1501wCfg1501sCda 565fs ... Show all

Table of Contents