Connecting To Optional Equipment; Connecting To An Amplifier Equipped With A Dolby Digital Decoder; Connecting To An Amplifier Equipped With; Dolby Pro Logic Surround - Toshiba Sd-210Ee Service Manual

Table of Contents
Connections

Connecting to Optional Equipment

You can enjoy high quality dynamic sounds by connecting the DVD video player
to optional audio equipment.
For connection to your TV, see "Connecting to a TV"
For details of output sound, see

Connecting to an amplifier equipped with a Dolby Digital decoder

Dolby Digital
Dolby Digital is the surround sound technology used in theaters showing the latest movies,
and is now available to reproduce this realistic effect in the home. You can enjoy motion
picture and live concert DVD video discs with this dynamic realistic sound by connecting the
DVD video player to a 6 channel amplifier equipped with a Dolby Digital decoder or Dolby
Digital processor. If you have a Dolby Pro Logic Surround decoder, you will obtain the full
benefit of Pro Logic from the same DVD movies that provide full 5.1-channel Dolby Digital
soundtracks, as well as from titles with the Dolby Surround mark.
Amplifier equipped with a
Dolby Digital decoder
To OPTICAL
type digital
audio input
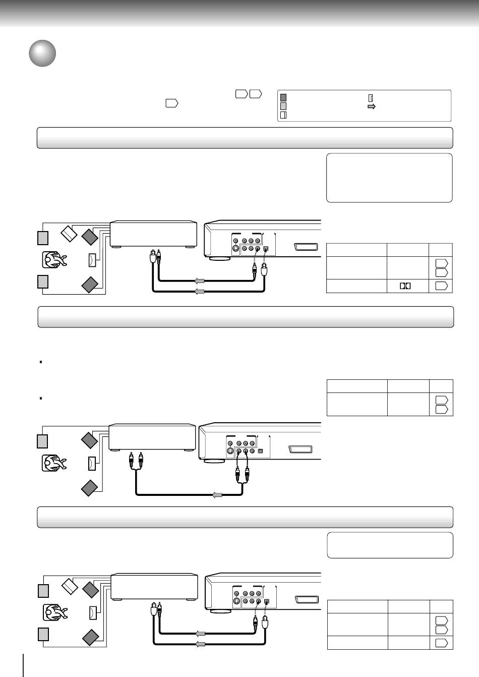
Connecting to an amplifier equipped with Dolby Pro Logic Surround

Dolby Pro Logic Surround

You can enjoy the dynamic realistic sound of Dolby Pro Logic Surround by connecting an amplifier and speaker system (right and left
front speakers, a center speaker, and one or two rear speakers).
With an amplifier equipped with Dolby Digital
Connect the equipment the same way as described in "Connecting to an amplifier
equipped with a Dolby Digital decoder." Refer to that amplifier's owner's manual and set
the amplifier so you can enjoy Dolby Pro Logic Surround sound.
With an amplifier not equipped with Dolby Digital
Connect the equipment as follows.
Amplifier equipped with
*
Dolby Pro Logic Surround

Connecting to an amplifier equipped with a DTS decoder

Digital Theater Systems (DTS)
DTS is a high quality surround technology used in theaters and now available for home use,
on DVD video discs or audio CDs.
If you have a DTS decoder or processor, you can obtain the full benefit of 5.1 channel DTS
encoded sound tracks on DVD video discs or audio CDs.
To OPTICAL
type digital
audio input
18
.
35
To COAXIAL
type digital
audio input
75 Ω coaxial cable
Optical digital cable
To audio input
To ANALOG AUDIO OUT
Audio cable
Amplifier equipped with
a DTS decoder
To COAXIAL
type digital
audio input
75 Ω coaxial cable
Optical digital cable
.
16 17
: Front speaker
: Rear speaker
: Sub woofer
VIDEO OUT
AUDIO OUT
VIDEO
Y
P
P
B
R
AV
R
L
COAXIAL OPTICAL
S
ANALOG
BITSTREAM/PCM
Connect either.
VIDEO OUT
AUDIO OUT
VIDEO
Y
P
B
P
R
AV
R
L
COAXIAL OPTICAL
S
ANALOG
BITSTREAM/PCM
* Connect one or two rear speakers.
The output sound from the rear speakers will be
monaural even if you connect two rear speakers.
VIDEO OUT
AUDIO OUT
VIDEO
Y
P
P
B
R
AV
R
L
COAXIAL OPTICAL
S
ANALOG
BITSTREAM/PCM
Connect either.
: Center speaker
: Signal flow
Manufactured under license from Dolby
Laboratories. "Dolby", "Pro Logic", and
the double-D symbol are trademarks of
Dolby Laboratories. Confidential
unpublished works. ©1992-1997 Dolby
Laboratories. All rights reserved.
• Use DVD video discs encoded via
the Dolby Digital recording
system.
• Make the following setting.
On-screen display
Select:
"Audio Out Select"
"Bitstream"
Recording system
D
• Make the following setting.
On-screen display
Select:
"Analog 2ch"
"Audio Out Select"
Be sure to set "Audio Out Select"
to "Analog 2ch" when you enjoy
sounds of Dolby Pro Logic
Surround using this connection.
"DTS" and "DTS Digital Surround" are
trademarks of Digital Theater Systems,
Inc.
• Use DVD video discs or audio
CDs encoded via the DTS
recording system.
• Make the following setting.
On-screen display
Select:
"Audio Out Select"
"Bitstream"
Recording system
DTS
Page
38
41
35
Page
38
41
Page
38
41
35
Table of Contents
loading
Need help?

Need help?

Do you have a question about the SD-210EE and is the answer not in the manual?

This manual is also suitable for:

Sd-210ebSd-210el

Table of Contents