Overview Of The Remote Control - Philips 3000 Series User Manual

Micro music system
Hide thumbs Also See for 3000 Series:
Table of Contents
Skip to previous/next track.
Search within a track/disc.
Tune to a radio station.
Adjust time.
SOURCE/BT PAIR
Press to select a source: DISC, BT,
AURACAST, FM, USB, AUDIO IN.
In Bluetooth mode, press and
hold for more than 2 seconds
to disconnect the currently
connected device and enter
pairing mode.
AUDIO IN
Connect external audio devices.
Connect USB storage devices.
Volume knob
Adjust volume.
SPEAKER OUT socket
Connect with the speakers.
FM antenna
Improve FM radio reception.
AC MAINS ~
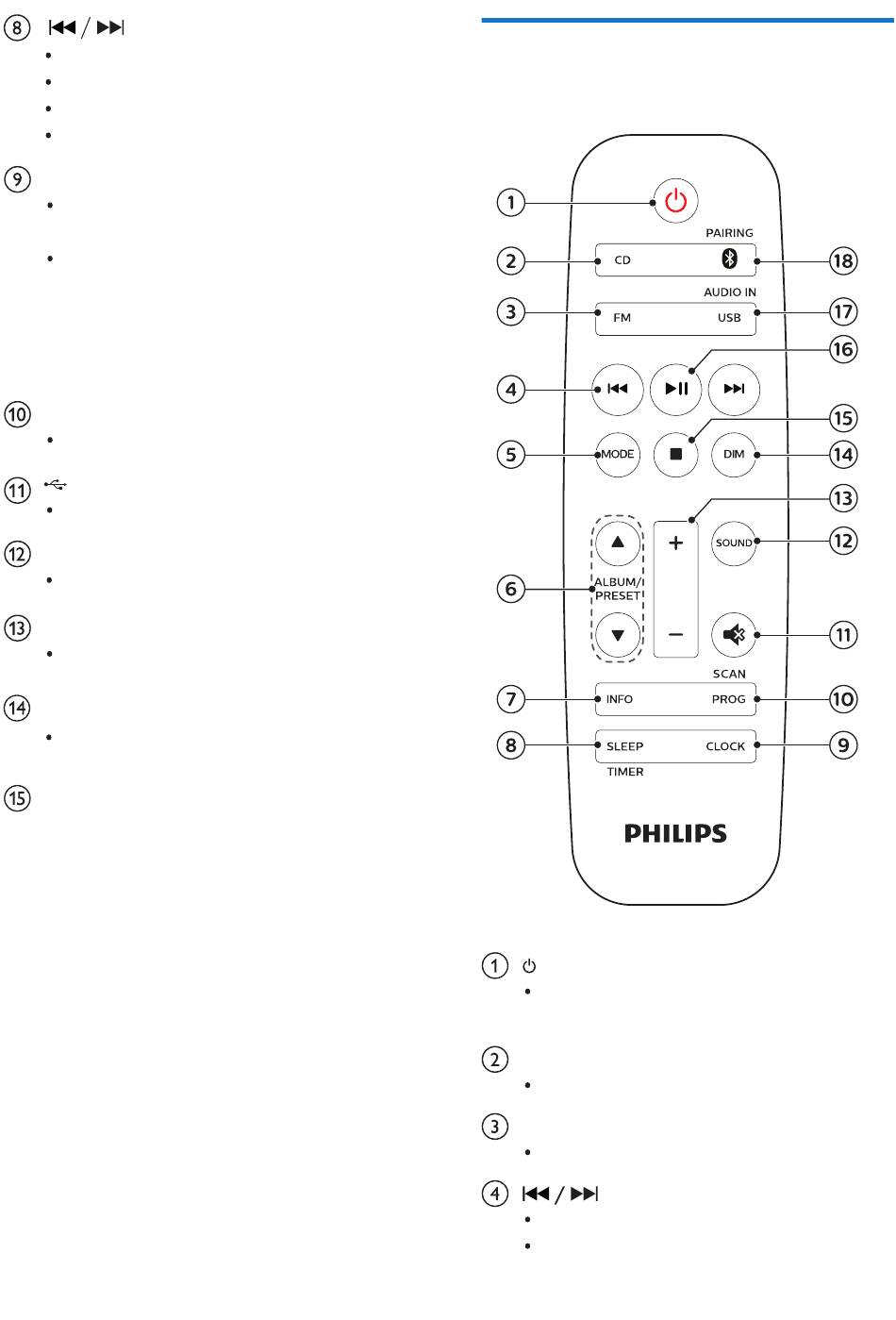
Overview of the remote
control
Switch this product on or to
standby.
CD
Select CD source.
FM
Select FM source.
Skip to the previous/next track.
Search within a track/disc/USB.
EN 7
Table of Contents
loading
Need help?

Need help?

Do you have a question about the 3000 Series and is the answer not in the manual?

This manual is also suitable for:

Tam3205m2Tam3205m2/12

Table of Contents