AEG FSB42607Z Manual
Also See for FSB42607Z:

Advertisement

Table of Contents
Contents
AEG FSB42607Z Manual

INSTALLATION


Refer to Safety chapters.

Building in

INSTALLATION - Building in


www.youtube.com/electrolux
www.youtube.com/aeg


How to install your AEG/Electrolux 60 cm Sliding Door Dishwasher

Safety caps

If the furniture panel is not installed, open the appliance door carefully to avoid the risk of injury.

After installation, make sure the plastic covers are locked in position. Damage or removal of the plastic covers on the sides of the door may impact the functionality of the appliance and may cause an injury. If the plastic cover is damaged, contact the Authorized Service Centre to replace it with the new one.
INSTALLATION - Safety caps

PRODUCT DESCRIPTION

PRODUCT DESCRIPTION

  1. Upper spray arm
  2. Lower spray arm
  3. Filters
  4. Rating plate
  5. Salt container
  6. Air vent
  7. Rinse aid dispenser
  8. Detergent dispenser
  9. Cutlery basket
  10. Lower basket
  11. Upper basket

information The graphic is a general overview. For more details, refer to other chapters or documents provided with the appliance.

CONTROL PANEL

CONTROL PANEL

  1. On/Off button / Reset button
  2. Delay start button
  3. Indicators
  4. MY TIME program selection bar
  5. ExtraPower option button
  6. AUTO Sense program button

Indicators

Indicator Description
ECO programme indicator. It indicates the most environmentally friendly programme selection for a normally soiled load. Refer to "Programme selection".
Rinse aid indicator. It is on when the rinse aid dispenser needs refilling. Refer to "Before first use".
Salt indicator. It is on when the salt container needs refilling. Refer to "Before first use".
Machine Care indicator. It is on when the appliance needs internal cleaning with the Machine Care programme. Refer to "Care and cleaning".
Drying phase indicator. It is on when you select a programme with the drying phase. It flashes when the drying phase operates. Refer to "Programme selection".

PROGRAMME SELECTION

MY TIME

MY TIME selection bar allows to select a suitable dishwashing cycle based on programme duration.
PROGRAMME SELECTION - MY TIME

  1. 30min is the shortest programme suitable for dishwashing a load with fresh and light soil.
  2. 90min is a programme suitable for dishwashing and drying normally soiled items.
  3. ECO is the longest programme offering the most efficient use of energy and water consumption for crockery and cutlery with normal soil.
    This is the standard programme for test institutes. [1])

[1] This programme is used to assess compliance with the Ecodesign Comission Regulation (EU) 2019/2022.

AUTO Sense

The AUTO Sense programme automatically adjusts the dishwashing cycle to the type of load.
The appliance senses the degree of soil and the amount of dishes in the baskets. It adjusts the temperature and quantity of water as well as the wash duration.

Options

You can adjust the programme selection to your needs by activating options.

ExtraPower

ExtraPower improves the dishwashing results of the selected programme. The option increases the wash temperature and duration.

Programmes overview

Programme Dishwasher load Degree of soil Programme phases Options
30min Crockery, cutlery Fresh
  • Dishwashing 50°C
  • Intermediate rinse
  • Final rinse 45°C
  • AirDry 1)
  • ExtraPower
90min Crockery, cutlery, pots, pans Normal, lightly dried-on
  • Dishwashing 60°C
  • Intermediate rinse
  • Final rinse 55°C
  • Drying
  • AirDry 1)
  • ExtraPower
ECO Crockery, cutlery, pots, pans Normal, lightly dried-on
  • Prewash
  • Dishwashing 50°C
  • Intermediate rinse
  • Final rinse 55°C
  • Drying
  • AirDry 1)
  • ExtraPower
AUTO Sense Crockery, cutlery, pots, pans All
  • Prewash
  • Dishwashing 50 - 60°C
  • Intermediate rinse
  • Final rinse 60°C
  • Drying
  • AirDry 1)
Not applicable
Machine Care For cleaning the appliance interior. Refer to "Care and Cleaning".
  • Cleaning 70°C
  • Intermediate rinse
  • Final rinse
  • AirDry 1)
Not applicable

1) Automatic door opening during the drying phase. Refer to "Basic settings".

Consumption values

Programme 1)2) Water (l) Energy (kWh) Duration (min)
30min 10.2 0.618 30
90min 10.6 0.985 90
ECO 9.9 0.936 227
AUTO Sense 11.6 1.112 170
Machine Care 9.7 0.511 60

1) The pressure and the temperature of the water, the variations of the mains supply, the options, the quantity of dishes and the degree of soil can change the values.
2) The values for programmes other than ECO are indicative only.

Information for test institutes

To receive the necessary information for conducting performance tests (e.g. according to: EN60436 ), send an email to: info.test@dishwasher-production.com

In your request, include the product number code (PNC) from the rating plate.
For any other questions regarding your dishwasher, refer to the service book provided with your appliance.

BASIC SETTINGS

You can configure the appliance by changing basic settings according to your needs.

Number Settings Values Description 1)
1 Water hardness From level 1 to level 10
(default: 5)
Adjust the level of the water softener according to the water hardness in your area.
2 Rinse aid empty notification On (default)
Off
Activate or deactivate the rinse aid indicator.
3 End sound On
Off (default)
Activate or deactivate the acoustic signal for the end of a programme.
4 Auto door open On (default)
Off
Activate or deactivate the AirDry.
5 Key tones On (default)
Off
Activate or deactivate the sound of the buttons when pressed.

1) For more details, refer to the information provided in this chapter.

You can change the basic settings in setting mode.

When the appliance is in setting mode, the indicators on the control panel represent available settings. For each setting, a dedicated indicator flashes:
BASIC SETTINGS

Setting mode

How to enter setting mode

You can enter setting mode before starting a programme. You cannot enter setting mode while the programme is running.

To enter setting mode, press and hold simultaneously and for about 3 seconds.

  • The light related to and the indicator flash.
  • The indicators , , and are on.
  • The lights related to MY TIME selection bar are on.

How to navigate in setting mode

You can navigate in setting mode using MY TIME selection bar.
How to navigate in setting mode

  1. Previous button
  2. OK button
  3. Next button

Use Previous and Next to switch between the basic settings and to change their value.

Use OK to enter the selected setting and to confirm changing its value.

How to change a setting

Make sure the appliance is in setting mode.

  1. Press Previous or Next until the indicator dedicated to the desired setting flashes.

The light related to indicates the current setting value:

  • For the settings with two values (on and off), the light is either on (= the setting is on) or off (= the setting is off).
  • For the settings with multiple values (levels), the light flashes.
    The number of flashes indicates the current setting value (e.g. 5 flashes + pause + 5 flashes... = level 5).
  1. Press OK to enter the setting.
    • The indicator related to the setting is on.
    • The other indicators are off.
    • The light related to indicates the current setting value.
  2. Press Previous or Next to change the value.
  3. Press OK to confirm the setting.
    • The new setting is saved.
    • The appliance returns to the setting selection.
  4. Press and hold simultaneously and for about 3 seconds to exit setting mode.
    The appliance returns to the programme selection.
    The saved settings remain valid until you change them again.

The water softener

The water softener removes minerals from the water supply, which would have a negative effect on the washing results and on the appliance.

The higher the content of these minerals, the harder your water is. Water hardness is measured in equivalent scales.

The water softener should be adjusted according to the hardness of the water in your area. Your local water authority can advise you on the hardness of the water in your area. Set the right level of the water softener to assure good washing results.

Water hardness

German degrees (°dH) French degrees (°fH) mmol/l mg/l (ppm) Clarke degrees Water softener level
47 - 50 84 - 90 8.4 - 9.0 835 - 904 58 - 63 10
43 - 46 76 - 83 7.6 - 8.3 755 - 834 53 - 57 9
37 - 42 65 - 75 6.5 - 7.5 645 - 754 46 - 52 8
29 - 36 51 - 64 5.1 - 6.4 505 - 644 36 - 45 7
23 - 28 40 - 50 4.0 - 5.0 395 - 504 28 - 35 6
19 - 22 33 - 39 3.3 - 3.9 325 - 394 23 - 27 5 1)
15 - 18 26 - 32 2.6 - 3.2 255 - 324 18 - 22 4
11 - 14 19 - 25 1.9 - 2.5 185 - 254 13 - 17 3
4 - 10 7 - 18 0.7 - 1.8 70 - 184 5 - 12 2
<4 <7 <0.7 <70 < 5 1 2)

1) Factory setting.
2) Do not use salt at this level.

Regardless of the type of detergent used, set the proper water hardness level to keep the salt refill indicator active.

information Multi-tabs containing salt are not effective enough to soften hard water.

Regeneration process
For the correct water softener operation, the resin of the softener device needs to be regenerated regularly. This process is automatic and is the part of the normal dishwasher operation.

When the prescribed quantity of water (see values in the table) has been used since the previous regeneration process, a new regeneration process will be initiated between the final rinse and the programme end.

Water softener level Amount of water (l)
1 250
2 100
3 62
4 47
5 25
6 17
7 10
8 5
9 3
10 3

In case of the high water softener setting, it may occur also in the middle of the programme, before the rinse (twice during a programme). Regeneration initiation has no impact on the cycle duration, unless it occurs in the middle of a programme or at the end of a programme with a short drying phase. In such cases, the regeneration prolongs the total duration of a programme by additional 5 minutes.

Subsequently, the rinsing of the water softener that lasts 5 minutes may begin in the same cycle or at the beginning of the next programme. This activity increases the total water consumption of a programme by additional 4 litres and the total energy consumption of a programme by additional 2 Wh. The rinsing of the softener ends with a complete drain.

Each performed softener rinse (possible more than one in the same cycle) may prolong the programme duration by another 5 minutes when it occurs at any point at the beginning or in the middle of a programme.

information All the consumption values mentioned in this section are determined in line with the currently applicable standard in laboratory conditions with water hardness 2.5mmol/L (water softener: level 3) according to the regulation: 2019/2022.
The pressure and the temperature of water as well as the variations of the mains supply can change the values.

The rinse aid empty notification

The rinse aid helps to dry the dishes without streaks and stains. It is automatically released during the final rinse.

When the rinse aid chamber is empty, the rinse aid indicator turns on. If the drying results are satisfactory while using multi-tablets only, you can deactivate the notification for refilling the rinse aid. However, for best drying performance, always use rinse aid.

If standard detergent or multi-tablets without rinse aid are used, activate the notification to keep the rinse aid refill indicator active.

End sound

You can activate an acoustic signal that sounds when the programme is completed.

information Acoustic signals sound also when a malfunction of the appliance occurs. It is not possible to deactivate these signals.

AirDry

AirDry improves the drying results. The appliance door opens automatically during the drying phase and remains ajar.
BASIC SETTINGS - AirDry

AirDry is automatically activated with all programmes.
The duration of the drying phase and the door opening time vary depending on the selected programme and options.


Do not try to close the appliance door within 2 minutes after automatic opening. This can cause damage to the appliance.


If children have access to the appliance, we advise to deactivate AirDry. The automatic opening of the door may pose a danger.

Key tones

The buttons on the control panel make a click sound when you press them. You can deactivate this sound.

BEFORE FIRST USE

  1. Make sure that the current level of the water softener agrees with the hardness of the water supply. If not, adjust the level of the water softener.
  2. Fill the salt container.
  3. Fill the rinse aid dispenser.
  4. Open the water tap.
  5. Start the programme 30min to remove any residuals from the manufacturing process. Do not use detergent and do not put dishes in the baskets.
    After starting the programme, the appliance recharges the resin in the water softener for up to 5 minutes. The washing phase starts only after this procedure is complete. The procedure is repeated periodically.

The salt container


Use rough salt designed for dishwashers only. Fine salt increases the risk of corrosion.

The salt is used to recharge the resin in the water softener and to assure good washing results in daily use.

How to fill the salt container

  1. Turn the cap of the salt container counterclockwise and remove it.
  2. Put 1 litre of water in the salt container (only for the first time).
  3. Fill the salt container with 1 kg of salt (until it is full).
    How to fill the salt container - Step 1
  4. Carefully shake the funnel by its handle to get the last granules inside.
  5. Remove the salt around the opening of the salt container.
    How to fill the salt container - Step 2
  6. Turn the cap of the salt container clockwise to close the salt container.


Water and salt can come out of the salt container when you fill it. After you fill the salt container, immediately start a programme to prevent corrosion.

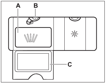
How to fill the rinse aid dispenser

How to fill the rinse aid dispenser


The compartment (A) is for rinse aid only. Do not fill it with detergent.


Only use rinse aid designed specifically for dishwashers.

  1. Press the release button (D) to open the lid (C).
  2. Pour the rinse aid in the dispenser (A) until the liquid reaches the fill level 'max'.
  3. Remove the spilled rinse aid with an absorbent cloth to prevent excessive foam formation.
  4. Close the lid. Make sure that the release button locks into position.

information You can turn the selector of the released quantity (B) between position 1 (lowest quantity) and position 4 or 6 (highest quantity).

DAILY USE

  1. Open the water tap.
  2. Press and hold until the appliance is activated.
  3. Fill the salt container if it is empty.
  4. Fill the rinse aid dispenser if it is empty.
  5. Load the baskets.
  6. Add the detergent.
  7. Select and start a programme.
  8. Close the water tap when the programme is complete.

Using the detergent

Using the detergent

  1. Press the release button (B) to open the lid (C).
  2. Put the detergent, in powder or tablets, in the compartment (A).
  3. If the programme has a prewash phase, put a small quantity of detergent on the inner part of the appliance door.
  4. Close the lid. Make sure that the release button locks into position.

information For information about the detergent dosage, refer to the manufacturer's instructions on the packaging of the product. Usually, 20 - 25 ml of gel detergent is adequate for washing a load with normal soil.

information Do not fill the compartment (A) with more than 30 ml of gel detergent.

How to select and start a programme using MY TIME selection bar

  1. Press the button dedicated to the programme you want to select.
    The light related to the button is on.
  2. Activate ExtraPower if desired.
  3. Close the appliance door to start the programme.

How to activate ExtraPower

  1. Select a programme using MY TIME selection bar.
  2. Press .
    The light related to the button is on.

information ExtraPower is not a permanent option and must be activated every time before you start a programme.

information It is not possible to activate or deactivate ExtraPower while a programme is running.

information Activating ExtraPower increases the water and energy consumption as well as the programme duration.

How to start the AUTO Sense program

  1. Press .
    The light related to the button is on.
  2. Close the appliance door to start the program.
    The appliance senses the type of load and adjusts a suitable wash cycle and its duration.

How to delay the start of a programme

You can delay the start of the selected programme by 3 hours.

  1. Select a programme.
  2. Press .
    The light related to the button is on.
  3. Close the appliance door to start the countdown.

During the countdown, it is not possible to change the programme selection.

When the countdown is complete, the programme starts.

How to cancel the delay start while the countdown operates

Press and hold for about 3 seconds. The appliance returns to the programme selection.

information If you cancel the delay start, you have to select the programme again.

How to cancel a running programme

Press and hold for about 3 seconds. The appliance returns to the programme selection.

information Make sure that there is detergent in the detergent dispenser before you start a new programme.

Opening the door while the appliance operates

Opening the door while a programme is running stops the appliance. It may affect the energy consumption and the programme duration. After closing the door, the appliance continues from the point of interruption.

information If the door is opened for more than 30 seconds during the drying phase, the running programme ends. It does not happen if the door is opened by AirDry function.

The Auto Off function

This function saves energy by switching the appliance off when it is not operating.

The function comes into operation automatically:

  • When the programme is completed.
  • After 5 minutes if a programme was not started.

End of the programme

When the programme is complete, the Auto Off function switches the appliance off automatically.
All buttons are inactive except for the on/off button.

HINTS AND TIPS

General

Follow the hints below to ensure optimal cleaning and drying results in daily use and to protect the environment.

  • Washing dishes in the dishwasher as instructed in the user manual usually consumes less water and energy than washing dishes by hand.
  • Load the dishwasher to its full capacity to save water and energy. For best cleaning results, arrange items in the baskets as instructed in the user manual and do not overload the baskets.
  • Do not pre-rinse dishes by hand. It increases the water and energy consumption. When needed, select a programme with a prewash phase.
  • Remove larger residues of food from the dishes and empty cups and glasses before putting them inside the appliance.
  • Soak or slightly scour cookware with firmly cooked-on or baked-on food before washing it in the appliance.
  • Make sure that items in the baskets do not touch or cover each other. Only then can the water completely reach and wash the dishes.
  • You can use dishwasher detergent, rinse aid and salt separately or you can use the multi-tablets (e.g. ''All in 1''). Follow the instructions on the packaging.
  • Select a programme according to the type of load and the degree of soil. ECO offers the most efficient use of water and energy consumption.
  • To prevent limescale buildup inside the appliance:
    • Refill the salt container whenever necessary.
    • Use the recommended dosage of the detergent and rinse aid.
    • Make sure that the current level of the water softener agrees with the hardness of the water supply.
    • Follow the instructions in the chapter "Care and cleaning".

Using salt, rinse aid and detergent

  • Only use salt, rinse aid and detergent designed for dishwasher. Other products can cause damage to the appliance.
  • In areas with hard and very hard water, we recommend to use basic dishwasher detergent (powder, gel, tablets containing no additional agents), rinse aid and salt separately for optimal cleaning and drying results.
  • Detergent tablets do not fully dissolve with short programmes. To prevent detergent residues on the tableware, we recommend that you use tablets with long programmes.
  • Always use the correct quantity of detergent. Insufficient dosage of detergent can result in poor cleaning results and hard-water filming or spotting on the items. Using too much detergent with soft or softened water results in detergent residues on the dishes. Adjust the amount of detergent based on the water hardness. Refer to the instructions on the detergent packaging.
  • Always use the correct quantity of rinse aid. Insufficient dosage of rinse aid decreases the drying results. Using too much rinse aid results in bluish layers on the items.
  • Make sure that the water softener level is correct. If the level is too high, the increased quantity of salt in the water might result in rust on cutlery.

What to do if you want to stop using multi-tablets

Before you start using separately detergent, salt and rinse aid, complete the following steps:

  1. Set the highest level of the water softener.
  2. Make sure that the salt and rinse aid containers are full.
  3. Start the 30min programme. Do not add detergent and do not put dishes in the baskets.
  4. When the programme is completed, adjust the water softener according to the water hardness in your area.
  5. Adjust the released quantity of rinse aid.

Before starting a programme

Before you start the selected programme, make sure that:

  • The filters are clean and correctly installed.
  • The cap of the salt container is tight.
  • The spray arms are not clogged.
  • There is enough salt and rinse aid (unless you use multi-tablets).
  • The arrangement of the items in the baskets is correct.
  • The programme is suitable to the type of load and the degree of soil.
  • The correct quantity of detergent is used.

Loading the baskets

  • Always use the whole space of the baskets.
  • Use the appliance to wash dishwasher-safe items only.
  • Do not wash the following materials in the dishwasher: wood, horn, pewter, copper, aluminium, delicate ornamented porcelain and unprotected carbon steel. This can cause them to crack, warp, discolour, pit or rust.
  • Do not wash in the appliance items that can absorb water (sponges, household cloths).
  • Put hollow items (cups, glasses and pans) with the opening facing downwards.
  • Make sure that glasses do not touch each other.
  • Put light or plastic items in the upper basket. Make sure that the items do not move freely.
  • Put cutlery and small items in the cutlery basket.
  • Make sure that the spray arms can move freely before you start a programme.

Unloading the baskets

  1. Let the tableware cool down before you remove it from the appliance. Hot items can be easily damaged.
  2. First remove items from the lower basket, then from the upper basket.

information After the programme is completed, water can still remain on the inside surfaces of the appliance.

CARE AND CLEANING


Before any maintenance other than running the programme Machine Care, deactivate the appliance and disconnect the mains plug from the main socket.

information Dirty filters and clogged spray arms negatively affect the washing results. Check these elements regularly and, if necessary, clean them.

Machine Care

Machine Care is a programme designed to clean the appliance interior with optimal results. It removes limescale and grease buildup.
When the appliance senses the need for cleaning, the indicator is on. Start the Machine Care programme to clean the appliance interior.

How to start the Machine Care programme

information Before starting the Machine Care programme, clean the filters and spray arms.

  1. Use a descaler or a cleaning product designed specifically for dishwashers. Follow the instructions on the packaging. Do not put dishes in the baskets.
  2. Press and hold simultaneously and for about 3 seconds.
    The indicators and flash.
  3. Close the appliance door to start the programme.
    When the programme is complete, the indicator is off.

Internal cleaning

  • Clean the appliance interior with a soft damp cloth.
  • Do not use abrasive products, abrasive cleaning pads, sharp tools, strong chemicals, scourer or solvents.
  • Wipe clean the door, including the rubber gasket, once a week.
  • To maintain the performance of your appliance, use a cleaning product designed specifically for dishwashers at least once every two months. Carefully follow the instructions on the packaging of the product.
  • For optimal cleaning results, start the programme Machine Care.

Removal of foreign objects

Check the filters and the sump after each use of the dishwasher. Foreign objects (e.g. pieces of glass, plastic, bones or toothpicks, etc) decrease the cleaning performance and can cause damage to the drain pump.


If unable to remove the foreign objects, contact an Authorised Service Centre.

  1. Disassemble the filters system as instructed in this chapter.
  2. Remove any foreign objects manually.
  3. Reassemble the filters as instructed in this chapter.

External cleaning

  • Clean the appliance with a moist soft cloth.
  • Only use neutral detergents.
  • Do not use abrasive products, abrasive cleaning pads or solvents.

Cleaning the filters

The filter system is made of 3 parts.
Cleaning the filters - Step 1

  1. Turn the filter (B) counterclockwise and remove it.
    Cleaning the filters - Step 2
  2. Remove the filter (C) out of filter (B).
  3. Remove the flat filter (A).
    Cleaning the filters - Step 3
  1. Wash the filters.
    Cleaning the filters - Step 4
  1. Make sure that there are no residues of food or soil in or around the edge of the sump.
  2. Put back in place the flat filter (A). Make sure that it is correctly positioned under the 2 guides.
    Cleaning the filters - Step 5
  3. Reassemble the filters (B) and (C).
  4. Put back the filter (B) in the flat filter (A). Turn it clockwise until it locks.
    Cleaning the filters - Step 6


An incorrect position of the filters can cause bad washing results and damage to the appliance.

Cleaning the lower spray arm

We recommend to clean the lower spray arm regularly to prevent soil from clogging the holes.

Clogged holes can cause unsatisfactory washing results.

  1. To remove the lower spray arm, pull it upwards.
    Cleaning the lower spray arm - Step 1
  2. Wash the spray arm under running water. Use a thin pointed tool, e.g. a toothpick, to remove particles of soil from the holes.
    Cleaning the lower spray arm - Step 2
  3. To install the spray arm back, press it downwards.
    Cleaning the lower spray arm - Step 3

Cleaning the upper spray arm

Do not remove the upper spray arm. If the openings in the spray arm are clogged, remove the remaining particles of soil with a thin pointed object, e.g. a toothpick.

TROUBLESHOOTING


Improper repair of the appliance may pose a danger to the safety of the user. Any repairs must be performed by qualified personnel.

The majority of problems that may occur can be solved without the need to contact an Authorised Service Centre.
Refer to the below table for information on possible problems.
With some problems, the lights related to MY TIME selection bar flash intermittently to indicate a malfunction and the alarm code.

Problem and alarm code Possible cause and solution
You cannot activate the appliance.
  • Make sure that the mains plug is connected to the mains socket.
  • Make sure that there is no damaged fuse in the fuse box.
The programme does not start.
  • Make sure that the appliance door is closed.
  • If the delay start is set, cancel the setting or wait for the end of the countdown.
  • The appliance recharges the resin inside the water softener. The duration of the procedure is approximately 5 minutes.
The appliance does not fill with water.
  • The lights related to MY TIME selection bar flash 1 time intermittently.
  • An acoustic signal sounds intermittently.
  • Make sure that the water tap is open.
  • Make sure that the pressure of the water supply is not too low. For this information, contact your local water authority.
  • Make sure that the water tap is not clogged.
  • Make sure that the filter in the inlet hose is not clogged.
  • Make sure that the inlet hose has no kinks or bends.
The appliance does not drain the water.
  • The lights related to MY TIME selection bar flash 2 times intermittently.
  • An acoustic signal sounds intermittently.
  • Make sure that the sink spigot is not clogged.
  • Make sure that the interior filter system is not clogged.
  • Make sure that the drain hose has no kinks or bends.
The anti-flood device is on.
  • The lights related to MY TIME selection bar flash 3 times intermittently.
  • An acoustic signal sounds intermittently.
  • Close the water tap.
  • Make sure that the appliance is correctly installed.
  • Make sure the baskets are loaded as instructed in the user manual.
Malfunction of the water level detection sensor.
  • The lights related to MY TIME selection bar flash 4 times intermittently.
  • An acoustic signal sounds intermittently.
  • Make sure that the filters are clean.
  • Switch the appliance off and on.
Malfunction of the wash pump or the drain pump.
  • The lights related to MY TIME selection bar flash 5 times intermittently.
  • An acoustic signal sounds intermittently.
  • Switch the appliance off and on.
The temperature of the water inside the appliance is too high or malfunction of the temperature sensor occurred.
  • The lights related to MY TIME selection bar flash 6 times intermittently.
  • An acoustic signal sounds intermittently.
  • Make sure that the temperature of the inlet water does not exceed 60°C.
  • Switch the appliance off and on.
Technical malfunction of the appliance.
  • The lights related to MY TIME selection bar flash 12 times intermittently.
  • An acoustic signal sounds intermittently.
  • Switch the appliance off and on.
The level of water inside the appliance is too high.
  • The lights related to MY TIME selection bar flash 15 times intermittently.
  • An acoustic signal sounds intermittently.
  • Switch the appliance off and on.
  • Make sure that the filters are clean.
  • Make sure that the outlet hose is installed at the right height above the floor. Refer to the installation instructions.
The appliance stops and starts more times during operation.
  • It is normal. It provides optimal cleaning results and energy savings.
The programme lasts too long.
  • If the delay start option is set, cancel the delay setting or wait for the end of the countdown.
  • Activating ExtraPower increases the programme duration.
Small leak from the appliance door.
  • The appliance is not levelled. Loosen or tighten the adjustable feet (if applicable).
  • The appliance door is not centred on the tub. Adjust the rear foot (if applicable).
The appliance door is difficult to close.
  • The appliance is not levelled. Loosen or tighten the adjustable feet (if applicable).
  • Parts of the tableware are protruding from the baskets.
The appliance door opens during the wash cycle.
  • The AirDry function is activated. You can deactivate the function. Refer to "Basic settings".
Rattling or knocking sounds from the inside of the appliance.
  • The tableware is not properly arranged in the baskets. Refer to basket loading leaflet.
  • Make sure that the spray arms can rotate freely.
The appliance trips the circuit-beaker.
  • The amperage is insufficient to supply simultaneously all the appliances in use. Check the socket amperage and the capacity of the meter or turn off one of the appliances in use.
  • Internal electrical fault of the appliance. Contact an Authorised Service Centre.

Once you have checked the appliance, deactivate and activate the appliance. If the problem occurs again, contact an Authorised Service Centre.
For alarm codes not described in the table, contact an Authorised Service Centre.


We do not recommend using the appliance until the problem has been completely fixed. Unplug the appliance and do not plug it in again until you are certain that it operates correctly.

The dishwashing and drying results are not satisfactory

Problem Possible cause and solution
Poor washing results.
  • Refer to "Daily use", "Hints and tips" and the basket loading leaflet.
  • Use more intensive washing programme.
  • Activate the ExtraPower option to improve the washing results of a selected programme.
  • Clean spray arm jets and filter. Refer to "Care and Cleaning".
Poor drying results.
  • Tableware was left for too long inside the closed appliance. Activate the function AirDry to set the automatic opening of the door and to improve the drying performance.
  • There is no rinse aid or the dosage of rinse aid is not sufficient. Fill the rinse aid dispenser or set the dosage of rinse aid to a higher level.
  • The quality of the rinse aid can be the cause.
  • Always use rinse aid, even with multi-tablets.
  • Plastic items may need to be towel dried.
  • The programme does not have the drying phase. Refer to "Programmes overview".
There are whitish streaks or bluish layers on glasses and dishes.
  • The released quantity of rinse aid is too high. Adjust the rinse aid dosage to a lower level.
  • The quantity of detergent is too high.
There are stains and dry water drops on glasses and dishes.
  • The released quantity of rinse aid is not sufficient. Adjust the rinse aid dosage to a higher level.
  • The quality of the rinse aid can be the cause.
The interior of the appliance is wet.
  • This is not a defect of the appliance. Humidity condensates on the appliance walls.
Unusual foam during washing.
  • Use the detergent designed specifically for dishwashers.
  • Use a detergent from a different manufacturer.
  • Do not pre-rinse dishes under running water.
Traces of rust on cutlery.
  • There is too much salt in the water used for washing. Refer to "The water softener".
  • Silver and stainless steel cutlery were placed together. Do not place silver and stainless steel items close together.
There are residues of detergent in the dispenser at the end of the programme.
  • The detergent tablet was stuck in the dispenser and was not washed away by water.
  • Water cannot wash away the detergent from the dispenser. Make sure that the spray arms are not blocked or clogged.
  • Make sure that items in the baskets do not impede the lid of the detergent dispenser from opening.
Odours inside the appliance.
  • Refer to "Internal cleaning".
  • Start the Machine Care programme with a descaler or a cleaning product designed for dishwashers.
Limescale deposits on the tableware, on the tub and on the inside of the door.
  • The level of salt is low, check the refill indicator.
  • The cap of the salt container is loose.
  • Your tap water is hard. Refer to "The water softener".
  • Use salt and set regeneration of the water softener even when multi-functional tablets are used. Refer to "The water softener".
  • Start the Machine Care programme with a descaler designed for dishwashers.
  • If limescale deposits persist, clean the appliance with the suitable detergents.
  • Try a different detergent.
  • Contact the detergent manufacturer.
Dull, discoloured or chipped tableware.
  • Make sure that only dishwasher-safe items are washed in the appliance.
  • Load and unload the basket carefully. Refer to the basket loading leaflet.
  • Place delicate items in the upper basket.

information Refer to "Before first use", "Daily use", or "Hints and tips" for other possible causes.

TECHNICAL INFORMATION

Dimensions Width / height / depth (mm) 596 / 818 - 898 / 550
Electrical connection 1) Voltage (V) 220 - 240
Frequency (Hz) 50
Water supply pressure Min. / max. bar (MPa) 0.5 (0.05) / 10 (1.0)
Water supply Cold water or hot water 2) min. 5 - max. 60°C
Capacity Place settings 13

1) Refer to the rating plate for other values.
2) If the hot water comes from alternative source of energy (e.g. solar panels), use the hot water supply to decrease energy consumption.

The QR code on the energy label supplied with the appliance provides a web link to the registration of this appliance in the EU EPREL database. Keep the energy label for reference together with the user manual and all other documents provided with this appliance.

It is possible to find information related to the performance of the product in the EU EPREL database using the link https://eprel.ec.europa.eu and the model name and product number that you can find on the rating plate of the appliance. Refer to the chapter "Product description".

For more detailed information about the energy label, visit www.theenergylabel.eu.

FOR PERFECT RESULTS

Visit our website to:

CUSTOMER CARE AND SERVICE

Always use original spare parts.
When contacting our Authorised Service Centre, ensure that you have the following data available: Model, PNC, Serial Number. The information can be found on the rating plate.

warning Warning / Caution-Safety information

information General information and tips

SAFETY INFORMATION

warning Before the installation and use of the appliance, carefully read the supplied instructions. The manufacturer is not responsible for any injuries or damage that are the result of incorrect installation or usage. Always keep the instructions in a safe and accessible location for future reference.

Children and vulnerable people safety

  • This appliance can be used by children aged from 8 years and above and persons with reduced physical, sensory or mental capabilities or lack of experience and knowledge if they have been given supervision or instruction concerning the use of the appliance in a safe way and understand the hazards involved.
  • Children between 3 and 8 years of age and persons with very extensive and complex disabilities shall be kept away from the appliance unless continuously supervised.
  • Children of less than 3 years of age should be kept away from the appliance unless continuously supervised.
  • Children should be supervised to ensure that they do not play with the appliance.
  • Keep detergents away from children.
  • Keep children and pets away from the appliance when the door is open.
  • Children shall not carry out cleaning and user maintenance of the appliance without supervision.

General Safety

  • This appliance is for cleaning household-type dishes and tableware only.
  • This appliance is designed for single household domestic use in an indoor environment.
  • This appliance may be used in, offices, hotel guest rooms, bed & breakfast guest rooms, farm guest houses and other similar accommodation where such use does not exceed (average) domestic usage levels.
  • Do not change the specification of this appliance.
  • The operating water pressure (minimum and maximum) must be between 0.5 (0.05) / 10 (1.0) bar (MPa)
  • Follow the maximum number of 13 place settings.
  • If the supply cord is damaged, it must be replaced by the manufacturer, its Authorised Service Centre or similarly qualified persons in order to avoid a hazard.

  • Knives and other utensils with sharp points must be loaded in the basket with their points down or placed in a horizontal position.
  • Do not leave the appliance with the open door unattended to avoid stepping accidentally onto it.
  • Before any maintenance operation, deactivate the appliance and disconnect the mains plug from the socket.
  • Do not use high pressure water sprays and/or steam to clean the appliance.
  • If the appliance has ventilation openings in the base, they must not be covered e.g. by a carpet.
  • The appliance is to be connected to the water mains using the new supplied hose-sets. Old hose sets must not be reused.

SAFETY INSTRUCTIONS

Installation


Only a qualified person must install this appliance.

  • Remove all the packaging.
  • Do not install or use a damaged appliance.
  • Follow the installation instructions supplied with the appliance.
  • Always take care when moving the appliance as it is heavy. Always use safety gloves and enclosed footwear.
  • Do not install or use the appliance where the temperature is less than 0°C.
  • Install the appliance in a safe and suitable place that meets installation requirements.
  • Do not use the appliance before installing it in the built-in structure due to safety manner.

Electrical connection


Risk of fire and electric shock.


  • this appliance is designed to be installed / connected to a grounding connection in the building.
  • Make sure that the parameters on the rating plate are compatible with the electrical ratings of the mains power supply.
  • Always use a correctly installed shockproof socket.
  • Do not use multi-plug adapters and extension cables.
  • Make sure not to cause damage to the mains plug and to the mains cable. Should the mains cable need to be replaced, this must be carried out by our Authorised Service Centre.
  • Connect the mains plug to the mains socket only at the end of the installation. Make sure that there is access to the mains plug after the installation.
  • Do not pull the mains cable to disconnect the appliance. Always pull the mains plug.
  • This appliance is fitted with a 13 A mains plug. If it is necessary to change the mains plug fuse, use only a 13 A ASTA (BS 1362) fuse (UK and Ireland only).

Water connection

  • Do not cause damage to the water hoses.
  • Before connection to new pipes, pipes not used for a long time, where repair work has been carried out or new devices fitted (water meters, etc.), let the water flow until it is clean and clear.
  • Ensure that there are no visible water leaks during and after the first use of the appliance.
  • To protect drinking water, the enclosed non-return valve must be installed between the water tap and the water supply hose.
  • If the water inlet hose is damaged, immediately close the water tap and disconnect the mains plug from the mains socket. Contact the Authorised Service Centre to replace the water inlet hose.
  • Without electrical power, the water protection system is not active. In this case there is a risk of flooding.
  • The water inlet hose has a safety valve and a sheath with an inner mains cable.

    Dangerous voltage.

Use

  • Do not put flammable products or items that are wet with flammable products in, near or on the appliance.
  • Dishwasher detergents are dangerous. Follow the safety instructions on the detergent packaging.
  • Do not drink and play with the water in the appliance.
  • Do not remove the dishes from the appliance until the programme is complete. Some detergent may remain on the dishes.
  • Do not store items or apply pressure on the open door of the appliance.
  • The appliance can release hot steam if you open the door while a programme operates.

Service

  • To repair the appliance contact the Authorised Service Centre. Use original spare parts only.
  • Please note that self-repair or nonprofessional repair can have safety consequences and might void the guarantee.
  • The following spare parts will be available for 7 years after the model has been discontinued: motor, circulation and drain pump, heaters and heating elements, including heat pumps, piping and related equipment including hoses, valves, filters and aquastops, structural and interior parts related to door assemblies, printed circuit boards, electronic displays, pressure switches, thermostats and sensors, software and firmware including reset software. Please note that some of these spare parts are only available to professional repairers, and that not all spare parts are relevant for all models.
  • The following spare parts will be available for 10 years after the model has been discontinued: door hinge and seals, other seals, spray arms, drain filters, interior racks and plastic peripherals such as baskets and lids.
  • Concerning the lamp(s) inside this product and spare part lamps sold separately: These lamps are intended to withstand extreme physical conditions in household appliances, such as temperature, vibration, humidity, or are intended to signal information about the operational status of the appliance. They are not intended to be used in other applications and are not suitable for household room illumination.

Documents / Resources

References

Download manual

Here you can download full pdf version of manual, it may contain additional safety instructions, warranty information, FCC rules, etc.

Download AEG FSB42607Z Manual

Advertisement

Need help?

Need help?

Do you have a question about the FSB42607Z and is the answer not in the manual?

Questions and answers

Table of Contents