Advertisement

Panasonic EW-DJ86, 800 Series Manual

Parts identification

Parts identification

  1. Main unit
    1. Power Switch
    2. Level switch
    3. Water pressure level indicator (blue)
    4. Charge status indicator (red)
    5. Nozzle release button
    6. Socket
    7. Socket cover
    8. Air vent
    9. Water tank (inside)
    10. Water tank cap
    11. Bottom cover
    12. Bottom cover release button
    13. Filter
  2. USB power adaptor (ES-RU1-02)
    1. Power plug
    2. USB port (Type-A)
  3. USB cable
    1. USB plug (Type-A)
    2. Cord
    3. USB plug (Type-C)
  4. Ultrasonic nozzle (×1)
  5. Orthodontic nozzle (×1)
    1. Nozzle insertion port
    2. Identification ring
    3. Nozzle Handle
    • The nozzle is a consumable. (See "Changing the nozzle".)

Note
There may be moisture inside the main unit (water tank) left from the distilled water used for product testing.

Charging

  • Please wipe off any water droplets from the socket or socket cover.
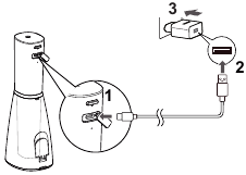
  1. Open the socket cover, and insert the USB plug (Type-C) of the USB cable into the socket on the main unit.

If the socket cover comes off
Reattaching the socket cover if it comes off

  1. While holding the main unit with your hand, press and hold the socket cover with your thumb so that the soft rubber joint (mushroom-shaped) of the socket cover is aligned with the fixing hole.
  2. As shown in the figure, push the soft rubber joint (mushroom-shaped) into the fixing hole with a SIM ejector pin. (Do not use a sharp-pointed tool as this may cause damage to the soft rubber joint or a hand injury.)
  3. Make sure that the soft rubber joint (mushroom-shaped) is fully pushed into the fixing hole.

  1. Insert the USB plug (Type-A) of the USB cable into the USB port (Type-A) of the USB power adaptor.
    • Check the direction of the USB plug (Type-A) terminals, hold the USB plug (Type-A), and insert or pull it out straight. (Deflection or insertion in a wrong direction may cause deformation or malfunction.)
  2. Insert the USB power adaptor into the household outlet.
  3. Charging is completed after approx. 1 hour. For safety, disconnect the USB power adaptor from the household outlet after charging is completed. (The charging time may vary with the remaining battery capacity.)
    • Remove the USB plug (Type-C) from the socket, and close the socket cover.
    • Charging the battery for more than 1 hour will not affect battery performance.
    • This appliance uses a Lithium-ion battery. Therefore, the service life of the battery will not be affected even if it is charged after each use.

Operating time after a full charge
Approx. 10 minutes*
(When the water pressure level is set to 5)
* It varies with the ambient temperature and usage conditions.

About the charging reminder function

  • If the battery is running low, the charge status indicator will start flashing (once a second) during use and light off in 5 seconds after turning off the power switch.
Display condition of the charge status indicator
Charging in progress Lights on
Charging complete Lights off
Charging abnormal Flashing
(Flashing in red twice a second)

How to check if charging is completed

  • After charging is completed, if you disconnect and then connect the power supply, the charge status indicator will light on and then light off in about 5 seconds.

Notes

  • The charging time may differ when the appliance is used for the first time, or if it has not been used for more than 6 months. In addition, the charge status indicator may not light on in the first several minutes of charging, but it will light on as the charging proceeds.
  • The recommended ambient temperature for charging is 10°C - 35°C. It may take longer to charge, or the charge status indicator will flash rapidly and the battery may fail to charge properly in extremely high or low temperatures.
  • The battery will deteriorate if not used for over 6 months, so make sure to perform a full charge at least once every 6 months.

How to use

  1. Fill the water tank with water.
    1. Open the water tank cap.
    2. Add water while keeping the main unit level.
      • Do not fill beyond the full-water position.
    3. Close the water tank cap securely. (When the full-water position is reached, or when the water tank cap is closed after the full-water position is reached, a small amount of water may flow out of the air vent.)

If the water tank cap comes off
You can attach the water tank cap by following the procedure below when it comes off.

  1. Install the nozzle.
    • Choose a nozzle for your purpose. (See "Points of care")
    • Press in firmly until a "click" is heard.
  2. Press the level switch, and select the water pressure level.
    • Each time you press the level switch, the water pressure level is switched as follows: 1 (weak) → 2 → 3 → 4 → 5 (strong) → 1...

About the water pressure level memory function
The last selected water pressure level will be remembered, from which the appliance will start next time.

  • When the appliance has not been used for a long time or when the battery is used up, the water pressure level will return to 1
  1. Place the nozzle in your mouth, close your mouth gently, and then turn on the power switch to rinse your teeth.
    • You can switch the water pressure level by pressing the level switch, even while using the appliance.
    • If the main unit is tilted too much, the water does not come out from the nozzle.
    • During use, be careful not to cover the air vent with your hand. Otherwise, the water does not come out from the nozzle.

Operation time with full water
approx. 60 seconds.

(When the water pressure level is set to 5)

  1. To prevent the water from splashing about, turn off the power switch while keeping the nozzle in your mouth.
    • Please clean the appliance after each use. (See "Cleaning")

Notes

  • The appliance does not work during charging.
  • Always use new tap water or lukewarm water. (Do not put salt, mouthwash or other chemicals into the water tank.)
  • If you feel the water is cold, use lukewarm water with a temperature of 40°C or less.
  • For the first use, turn on the power switch to jet water so that you can check the water pressure level. (Please start using the appliance from water pressure level 1.)
  • The appliance may not operate in an ambient temperature approximately 5°C or lower.
  • Do not push the tip of the nozzle too hard against the teeth or gums. (Except the orthodontic nozzle)
  • When you feel that the irritation is strong, turn off the power switch and use the appliance from water pressure level 1.
  • Do not turn on the power switch when the water tank is empty unless you are drying the moisture inside the main unit. (Doing so may cause malfunction.)

Points of care

  • Adjust the angle and movement of the nozzle according to the purpose and the area you want to clean.
  • For areas where the gums are sensitive, please set the water pressure level to 1.


Ultrasonic nozzle
To clean with powerful water jet.

How to use
Interdental cleaning

  • Direct the water jet onto the space between the teeth.
  • Direct from the front and rear sides of the teeth.

Periodontal pocket cleaning

  • Aim the water jet at the space between teeth and gums.
  • Slowly shift the water jet along the gums.
  • Clean the front and back of the teeth and behind the molars as well.

Gums care

  • Stimulate the gums.


Orthodontic nozzle
To clean with 2-in-1 water jet and brush nozzle.

How to use
Lightly place the brush tip on the crooked teeth.

  • Place the brush tip on the area that is difficult for a toothbrush to reach and tends to remain unpolished.
  • Wiggle the brush mainly in interdental spaces.

To adjust the orientation of the nozzle
You can adjust the direction of water jet by rotating the nozzle handle.

If the identification ring comes off
Align the nozzle with the identification ring (in any direction) to install it.

  • Even if the identification ring is not attached, the performance of the nozzle is not affected.

For orthodontic bracket area


Ultrasonic nozzle

  • Direct the water jet around orthodontic brackets and bridges.


Orthodontic nozzle

  • Insert the brush to the gap between the teeth and the orthodontic bracket.
  • Wiggle the brush tip.

Cleaning

  • Please clean the appliance after each use.
  1. Pour out the remaining water.
    1. Open the water tank cap, and pour out the remaining water.
      • Be sure to pour out the remaining water after each use.
    2. Turn on the power switch to drain the remaining water in the main unit.
    3. Turn off the power switch when no more water comes out.
  2. Remove the nozzle and bottom cover. Wash the nozzle, main unit and inside of the tank with water.


How to remove the nozzle
Pull out the nozzle while pressing the nozzle release button.


How to remove the bottom cover

Preparations

  • Make sure the socket cover is closed before washing with water.

Washing

  • Do not hit the product on the washstand when draining.
  1. Store the appliance after drying.
    • Wipe away the water with a towel and dry them in a well-ventilated shade.
    • Attach the bottom cover after it is air-dried.


How to attach the bottom cover

  1. Insert the bayonet on the front end of the bottom cover into the main unit.
  2. Close the bottom cover while pressing the bottom cover release button.

If the rubber ring of the bottom cover comes off
Install the rubber ring into the groove of the bottom cover.

Notes

  • Do not wash with lukewarm water exceeding 50°C.
  • Use neutral kitchen detergent and rinse well with water to ensure no detergent remains after cleaning.
  • Never use thinners, benzine, or alcohol.
    (Doing so may cause malfunction, or cracking or discolouration of the parts.)

When the water jet is poor
Remove the dirt from the filter.
Cleaning - Removing the dirt from the filter

When dirt is a concern
USB power adaptor and USB cable
Wipe it off with a dry cloth. (Do not wash with water)
Cleaning - Cleaning USB power adaptor & USB cable

Changing the nozzle

(Sold separately)

  • The nozzle is a consumable.
Part number Replacement Nozzle (×2)
WEW0986 Ultrasonic nozzle
WEW0984 Orthodontic nozzle
  • Ultrasonic nozzle
    • Guidelines for replacement: approximately 6 months. (For hygiene reasons)
    • Once the tip of the nozzle gets deformed, replace the nozzle with a new one even within 6 months.
  • Orthodontic nozzle
    • Guidelines for replacement: approximately 3 months.
    • Once the brush bristles are bent out, replace the nozzle with a new one even within 3 months.
    • The replacement nozzle comes with an identification ring so that a same product can be shared among several people.
New nozzle (tip) Deformed (worn) nozzle (tip)
Ultrasonic nozzle
Orthodontic nozzle

Troubleshooting

Problem Possible cause Action
While charging

The charge status indicator does not light on

The appliance was just purchased or it has not been used for a while. Keep charging, and the indicator will light on after a while. If it does not light on after a while, please request a repair at your dealer or Service Centre. (See "Charging")
When the socket is wet or foreign objects adhered to the socket, the USB cable will activate the self-protection function. Disconnect the power supply, check the socket, and remove any water or foreign objects from the socket.
The USB cable is not firmly connected to the USB power adaptor. Check to see that the USB cable is in full contact with the USB power adaptor, and that the charge status indicator is on. (See "Charging")

The charge status indicator flashes twice a second

The USB cable is not firmly connected to the USB power adaptor. Check to see that the USB cable is in full contact with the USB power adaptor, and that the charge status indicator is on. (See "Charging")
The ambient temperature is too low or too high during charging. Please charge within the recommended temperature range of 10°C to 35°C.
If the indicator flashes even when you charge it within the recommended temperature range, contact your dealer or Service Centre for repair.
The appliance can be used for just several minutes even after a full charge. The USB cable is not firmly connected to the USB power adaptor. Make sure that the USB plug (Type-C) of the USB cable is fully inserted into the socket of the main unit or the USB plug (Type-A) of the USB cable is fully inserted into the power supply and the charging status indicator is on. (See "Charging")
The battery has reached the end of its life (approx. 3 years). Replace it with a new one.
Please contact your dealer or Service Centre.
The appliance cannot be charged normally, but the charging status indicator does not flash. The battery has reached the end of its life (approx. 3 years). Replace it with a new one.
Please contact your dealer or Service Centre.
While using

The water jet is poor

The nozzle is clogged. The outlet of the nozzle is squashed. (See "Cleaning".) Replace the nozzle with a new one.
The filter is clogged. Remove the dirt from the filter. (See "Cleaning".)

No water comes out

The main unit is tilted too much. Please use the appliance with the main unit upright. (See "How to use")
It may take some time to suck up water. Put water into the nozzle port , install the nozzle, and turn on the power switch.

The nozzle is hard to install

Apply water to the nozzle insertion port .

Water leaks from the bottom cover

The rubber ring of the bottom cover is cocked or misaligned. Please install it properly. (See "Cleaning".)

The appliance does not operate

The battery has reached the end of its life (approx. 3 years). Replace it with a new one.
Please contact your dealer or Service Centre.
The appliance is used at approximately 5°C or lower. Do not use the appliance at approximately 5°C or lower.

If the problems still cannot be solved, contact the store where you purchased the unit or a service centre authorized by Panasonic for repair.

Battery life

Approximately 3 years. The battery may have reached its operating life if the usage frequency decreases drastically, even after a full charge. (The operating life of the battery may differ depending on usage or storage conditions.)

Removing the built-in rechargeable battery

Remove the built-in rechargeable battery before disposing of the appliance.
The battery is to be disposed of safely.
Please make sure that the battery is disposed of at an officially designated location if there is one.
This figure must only be used when disposing of the appliance, and must not be used to repair it. If you dismantle the appliance yourself, it will no longer be waterproof, which may cause it to malfunction.
Removing the built-in rechargeable battery

  • Remove the appliance from the USB cable and USB power adaptor, press the power switch to turn on the power and then keep the power on until the battery is completely discharged.
  • Remove the bottom cover.
  • Perform steps to to disassemble the main unit and remove the battery with a screwdriver.
  • Insulate the and terminals by applying tape to them. (To prevent short circuit of terminals).

Specifications

Power source See the name plate on the product
(Automatic voltage conversion)
Charging time Approx. 1 hour
Operating time LEVEL 5: Approx. 10 minutes*
(*at 20°C when fully charged)
Tank volume Approx. 200 mL
(For approx. 60 seconds of operation when the water pressure level is set to 5)
Dimensions Main unit: 212 (H) x 68 (W) x 81 (D) mm
(Not including nozzle)
Mass Main unit: Approx. 275 g (Including nozzle)
Airborne Acoustical Noise 71 (dB (A) re 1 pW)

This product is intended for household use only.

For more information about the energy efficiency of the product, please visit our website, www.panasonic.com, and enter the model number in the search box.

WARNING

  • burn hazardshock hazard
    Do not immerse the USB power adaptor and USB cable in water or clean them with water.
    Doing so may cause electric shock or fire due to a short circuit.
  • shock hazard Always unplug the adaptor from a household outlet when cleaning the USB power adaptor and USB cable.
    Failure to do so may cause electric shock or injury.
  • Oral irrigators can be used by children aged from 8 years and above and persons with reduced physical, sensory or mental capabilities or lack of experience and knowledge under supervision.
  • Oral irrigators shall be used only with cold or warm water, or specific solutions as defined in the manufacturer's instructions.
  • Children shall not play with the appliance.

  • Do not use anything other than the supplied USB power adaptor or USB cable for any purpose. Also, do not use any other product with the USB power adaptor or USB cable. (See "Parts Identification")
    Doing so may cause burns or fire due to a short circuit.
  • The following symbol indicates that a specific detachable power supply unit is required for connecting the electrical appliance to the supply mains. The type reference of power supply unit is marked near the symbol.

Safety precautions

burn hazardshock hazard
To reduce the risk of injury, loss of life, electric shock, fire, and damage to property, always observe the following safety precautions.

Explanation of symbols
The following symbols are used to classify and describe the level of hazard, injury, and property damage caused when the denotation is disregarded and improper use is performed.

Denotes a potential hazard that will result in serious injury or death.
Denotes a potential hazard that could result in serious injury or death.
Denotes a hazard that could result in minor injury or property damage.

Preventing accidents

  • Do not store within the reach of children or infants. Do not let them use it.
    • Doing so may cause an accident or injury due to accidental ingestion of removable parts.

About the USB power adaptor and USB cable

  • Do not place the USB power adaptor or USB cable over or near water filled sink or bathtub.
  • Do not use the appliance when the USB power adaptor or USB cable is damaged, or when the fitting into the household outlet is loose.
  • Do not damage, modify, forcefully bend, pull, or twist the cord. Also, do not place anything heavy on or pinch the cord.
    • burn hazardshock hazard
      Doing so may cause electric shock or fire due to a short circuit.
  • Do not connect or disconnect the USB power adaptor or USB cable to a household outlet with a wet hand.
    • shock hazard Doing so may cause electric shock or injury
  • Do not use in a way exceeding the rating of the household outlet or the wiring.
    • Exceeding the rating by connecting too many power plugs to one household outlet may cause fire due to overheating.
  • Use the specified USB power adaptor (See "Parts Identification") and USB cable.

    • Failure to do so may cause burns or fire due to a short circuit.
  • Fully insert the power plug of the USB power adaptor.
    • burn hazardshock hazard
      Failure to do so may cause fire or electric shock.
  • Be sure to wipe off any water droplets from the socket before charging.
    • burn hazardshock hazard
      Failure to do so may cause electric shock, injury or fire.

In case of an abnormality or malfunction

  • Immediately stop using if there is an abnormality or malfunction.
    Unplug the USB power adaptor from the household outlet when using.
    • burn hazardshock hazard
      Failure to do so may cause fire, electric shock or injury.

<Abnormality or malfunction cases>

  • The main unit, USB power adaptor or USB cable is deformed or abnormally hot.
  • The main unit, USB power adaptor or USB cable smells of burning.
  • There is abnormal sound during use or charging of the main unit.
    • Immediately request inspection or repair to an authorized service centre.

This product

  • This product has a built-in rechargeable battery. Do not throw into fire, apply heat, or charge, use, or leave in a high temperature environment.
    • Doing so may cause overheating, ignition, or explosion of the built-in rechargeable battery.
  • Do not modify or repair.
    • burn hazardshock hazard
      Doing so may cause fire, electric shock, or injury.
      →Contact an authorized service centre for repair (battery change, etc.).
  • Never disassemble except when disposing of the product.
    • burn hazardshock hazard
      Doing so may cause fire, electric shock, or injury.


Cleaning

  • Always disconnect the USB plug from the main unit when cleaning the appliance with water.
    • Failure to do so may cause electric shock or injury.
  • Regularly clean the power plug and the USB plugs to prevent dust from accumulating.
    • burn hazard Failure to do so may cause fire due to insulation failure caused by humidity.
      →Unplug the USB power adaptor from the household outlet and wipe with a dry cloth.


Preventing damage to teeth and gums

  • People who are unable to operate should not use this appliance.
  • People with weak oral senses should not use this appliance.
    • Doing so may cause injury or damage to teeth and gums.
  • People who may have periodontal disease, have teeth being treated, or are concerned about symptoms within their mouth should consult a dentist before use.
    • Failure to do so may cause injury or damage to teeth and gums.

This product

  • Never use for a purpose other than oral cleaning.
    • Doing so may cause an accident or injury when the stream of water is pointed toward the eyes, nose, ears, tongue, or throat.
  • Do not fill the tank with water warmer than 40°C.

    • Doing so may cause burns.
  • Do not share the nozzle with your family or other people.
    • Doing so may cause infection or inflammation.

Note the following precautions

  • Do not drop or subject to shock.
    • Doing so may cause injury.
  • Do not allow needles or any other foreign objects to adhere to the power plug of the USB power adaptor or the USB plug.
    • burn hazardshock hazard
      Doing so may cause electric shock or fire due to a short circuit.
  • Do not charge the appliance when the socket is wet.

    • Doing so may cause burns or a fire.
  • Do not wrap the cord around the USB power adaptor when storing.
    • burn hazard Doing so may cause the wire in the cord to break with the load, and may cause fire due to a short circuit.
  • Disconnect the USB power adaptor or the USB plug (Type-C) by holding onto it instead of the cord.
    • burn hazardshock hazard
      Failure to do so may cause burns or electric shock due to breakage to the wire of the USB cable, or result in fire due to a short circuit.
  • Disconnect the adaptor from the household outlet when not charging.
    • burn hazardshock hazard
      Failure to do so may cause electric shock or fire due to electrical leakage resulting from insulation deterioration.
  • After use, clean the appliance and the nozzle and dry them.
    • Failure to do so may cause damage to your health due to propagation of mould and bacteria.

Important information

  • Please use the appliance together with toothbrush. It is hard to remove tartar or dental calculus attached to the tooth surface just by a water jet, so a toothbrush is required to brush the teeth. We recommend rinsing the inside of your mouth with the water jet after brushing your teeth.
  • When you first begin using the oral irrigator, you may experience slight bleeding of the gums even though your gums may be healthy. This is because your gums are receiving stimulation by the oral irrigator for the first time. The bleeding should stop after one or two weeks of use. Bleeding that persists for more than two weeks may be indication of an abnormal condition of your gums, such as periodontal disease. In this case, stop using the oral irrigator and consult your dentist.
  • The USB cable provides the overheat protection function. If charging is abnormal or the USB plug (Type-C) heats up, disconnect the power supply, check the socket, and remove any water or foreign objects from the socket.
  • Do not put salt, mouthwash or other chemicals into the water tank. Doing so may cause malfunction.
  • Do not dry the main unit with a dryer or a fan heater.
    Doing so may cause malfunction or deformation of the parts.
  • Store the appliance in a place with low humidity after use. Leaving the appliance in a bathroom may cause malfunction.
  • Charge the appliance correctly according to these Operating Instructions. (See "Charging".)
  • This appliance contains a battery that is only replaceable by skilled persons. Please contact an authorized service centre for the details of repair.

Authorized Representative in EU:
Panasonic Marketing Europe GmbH
Panasonic Testing Centre
Winsbergring 15, 22525 Hamburg, Germany

Importer:
Panasonic Marketing Europe GmbH
Hagenauer Strasse 43, 65203 Wiesbaden, Germany

Manufactured by:
Panasonic Corporation
1006, Oaza Kadoma, Kadoma City, Osaka, Japan

Documents / Resources

References

Download manual

Here you can download full pdf version of manual, it may contain additional safety instructions, warranty information, FCC rules, etc.

Download Panasonic EW-DJ86, 800 Series Manual

Advertisement

Need help?

Need help?

Do you have a question about the 800 Series and is the answer not in the manual?

Questions and answers

Table of Contents