Sign In
Upload
Download
Table of Contents
Contents
Add to my manuals
Delete from my manuals
Share
URL of this page:
HTML Link:
Bookmark this page
Add
Manual will be automatically added to "My Manuals"
Print this page
×
Bookmark added
×
Added to my manuals
Manuals
Brands
Sharp Manuals
Calculator
EL-2656G II
Service manual
Parts List & Guide - Sharp El-2656G Ii Service Manual
Hide thumbs
1
2
3
4
5
6
7
8
9
10
11
page
of
11
Go
/
11
Contents
Table of Contents
Bookmarks
Table of Contents
EL-2630L
EL-2656GI
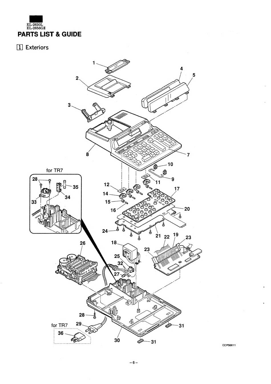
PARTS LIST & GUIDE
Exteriors
x, 32\
So
Vas}
27-3)
ais
IP
=
SH
Ae
peer reer
errr
cane
wen y
i
|
CCPS0011
Table of
Contents
Previous
Page
Next
Page
1
...
3
4
5
6
7
8
9
10
Show Quick Links
Quick Links:
Paper Roll Replacement
Hide quick links:
Permanently
Temporary
Cancel
Table of Contents
Need help?
Do you have a question about the EL-2656G II and is the answer not in the manual?
Ask a question
Go to Questions and Answers
Related Manuals for Sharp EL-2656G II
Calculator Sharp EL-2630L Operation Manual
Electronic printing calculator (37 pages)
Calculator Sharp EL-2630L Operation Manual
Electronic printing calculator (37 pages)
Calculator Sharp electronic calculator Brochure & Specs
Electronic dictionaries; electronic organizers; calculators (44 pages)
Calculator Sharp EL-2607PGY Operation Manual
Electronic printing calculator (160 pages)
Calculator Sharp el-2630piii Operation Manual
Electronic printing calculator (46 pages)
Calculator Sharp EL-2607P Operation Manual
(160 pages)
Calculator Sharp EL-2631L Operation Manual
Electronic printing calculator (32 pages)
Calculator Sharp EL-2631L Service Manual
(10 pages)
Calculator Sharp EL-2607R Operation Manual
Electronic printing calculator (28 pages)
Calculator Sharp EL-2607R Operation Manual
Electronic printing calculator (27 pages)
Calculator Sharp EL-2607PC Operation Manual
Electronic printing calculator (120 pages)
Calculator Sharp EL-2615P Service Manual
(10 pages)
Calculator Sharp EL-2607L Operation Manual
Electronic printing calculator (39 pages)
Calculator Sharp EL-1607L Operation Manual
Electronic printing calculator (39 pages)
Calculator Sharp WriteView EL-W531 Operation Manual
Scientific calculator (9 pages)
Calculator Sharp EL-531WB Operation Manual
Scientific calculator (8 pages)
Related Content for Sharp EL-2656G II
EL-5808 Parts Guide
EL-8130 Parts Guide
Sharp EL-8130
EL-2631L Parts Guide
Sharp EL-2631L
PC-1211 Ce-121 Parts List & Guide
Sharp PC-1211
ELSI-814 Name Of Various Parts
Sharp ELSI-814
EL-5100S Parts List
Sharp EL-5100S
EL-9450 Troubleshooting Guide
Sharp EL-9450
el-9950 Troubleshooting Guide
Sharp el-9950
PC-1261 Parts List
Sharp PC-1261
EL-9400 Names Of Parts
Sharp EL-9400
EL-9650 Names Of Parts
Sharp EL-9650
EL-9650 Names Of Parts
Sharp EL-9650
EL9600C - Graphing Calculator Names Of Parts
Sharp EL9600C - Graphing Calculator
PC-E220 Parts List & Guide
Sharp PC-E220
Compet Elsi-Mate EL-120 Names Of Various Parts
Sharp Compet Elsi-Mate EL-120
EL-9950 Troubleshooting Guide
Sharp EL-9950
This manual is also suitable for:
El-2630l
Table of Contents
Print
Rename the bookmark
Delete bookmark?
Delete from my manuals?
Login
Sign In
OR
Sign in with Facebook
Sign in with Google
Upload manual
Upload from disk
Upload from URL
Need help?
Do you have a question about the EL-2656G II and is the answer not in the manual?