Sign In
Upload
Download
Table of Contents
Contents
Add to my manuals
Delete from my manuals
Share
URL of this page:
HTML Link:
Bookmark this page
Add
Manual will be automatically added to "My Manuals"
Print this page
×
Bookmark added
×
Added to my manuals
Manuals
Brands
Panasonic Manuals
Camera Lens
LUMIX H-FS14140-S
Service training manual
Exploded View; Lens Unit - Panasonic Lumix H-Fs14140-S Service Training Manual
Hide thumbs
1
Table Of Contents
2
3
4
5
6
7
8
9
10
11
12
13
14
15
16
17
18
19
20
21
22
23
24
25
26
27
28
29
30
31
32
33
34
35
36
page
of
36
Go
/
36
Contents
Table of Contents
Bookmarks
Table of Contents
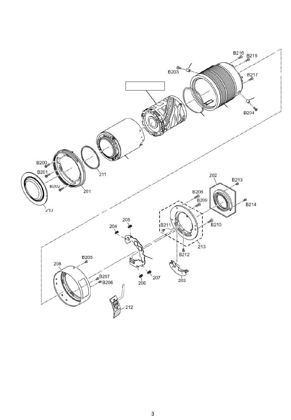
2 Exploded View
2.1.
LENS UNIT
227
CAM BARREL
228
229
226
220
230
Table of
Contents
Previous
Page
Next
Page
1
2
3
4
5
6
7
8
9
Table of Contents
Need help?
Do you have a question about the LUMIX H-FS14140-S and is the answer not in the manual?
Ask a question
Go to Questions and Answers
Related Manuals for Panasonic LUMIX H-FS14140-S
Camera Lens Panasonic H-FS100300 Operating Instructions Manual
Interchangeable lens for digital camera (26 pages)
Camera Lens Panasonic H-FS1442A Owner's Manual
Interchangeable lens for digital camera (26 pages)
Camera Lens Panasonic Lumix G Vario H-FS1442AKA Owner's Manual
Interchangeable lens for digital camera (26 pages)
Camera Lens Panasonic Lumix H-FS14140 Service Training Manual
(28 pages)
Camera Lens Panasonic H-FS12032K Owner's Manual
(2 pages)
Camera Lens Panasonic H-FS12060 Operating Instructions
Interchangeable lens for digital camera (2 pages)
Panasonic 12-60mm f/3.5-5.6 (H-FS12060) - Lens Manual
(article)
Camera Lens Panasonic H-FS12060 Owner's Manual
(8 pages)
Camera Lens Panasonic H-FS12032 Operating Instructions
Interchangeable lens for digital camera (2 pages)
Camera Lens Panasonic H-FS1442APP Service Manual
Interchangeable lens for digital camera, silver/black type (24 pages)
Camera Lens Panasonic H-FS045200 - Lumix Telephoto Zoom Lens Operating Instructions Manual
Interchangeable lens for digital camera (26 pages)
Camera Lens Panasonic Lumix H-FS014042 Operating Instructions Manual
Interchangeable lens for digital camera (16 pages)
Camera Lens Panasonic Lumix G Vario H-FS45150E Operating Instructions Manual
Interchangeable lens for digital camera (72 pages)
Camera Lens Panasonic Lumix H-FSA14140 Operating Instructions Manual
Interchangeable lens for digital camera (72 pages)
Camera Lens Panasonic Lumix H-FSA14140 Owner's Manual
Interchangeable lens for digital camera (26 pages)
Camera Lens Panasonic LUMIX H-FSA14140 Operating Instructions Manual
Interchangeable lens for digital camera (72 pages)
Related Content for Panasonic LUMIX H-FS14140-S
S-R24105 Exploded View And Replacement Parts List
Panasonic S-R24105
Lumix S-R1428 Exploded View
Panasonic Lumix S-R1428
Lumix S-R24105 Exploded View
Panasonic Lumix S-R24105
LUMIX H-X015 Exploded View
Panasonic LUMIX H-X015
Lumix S-S85 Exploded View
Panasonic Lumix S-S85
Lumix H-ES12035 Exploded View
Panasonic Lumix H-ES12035
Lumix S-R24105 Exploded View
Panasonic Lumix S-R24105
LUMIX S-E2470 Exploded View
Panasonic LUMIX S-E2470
Lumix S-R70300 Exploded View
Panasonic Lumix S-R70300
Lumix S-S50 Exploded View
Panasonic Lumix S-S50
Lumix H-FS14140 Exploded View
Panasonic Lumix H-FS14140
H-PS45175PP Exploded View
Panasonic H-PS45175PP
Lumix DMC-G1KPP S7. Exploded View
Panasonic Lumix DMC-G1KPP
H-ES12060PP Exploded View And Replacement Parts List
Panasonic H-ES12060PP
This manual is also suitable for:
Lumix h-fs14140-k
Lumix h-fs14140-ka
Table of Contents
Print
Rename the bookmark
Delete bookmark?
Delete from my manuals?
Login
Sign In
OR
Sign in with Facebook
Sign in with Google
Upload manual
Upload from disk
Upload from URL
Need help?
Do you have a question about the LUMIX H-FS14140-S and is the answer not in the manual?