The Control Panel - Sharp Qw-Hy15F49Ei-Eu User Manual

Table of Contents

Advertisement

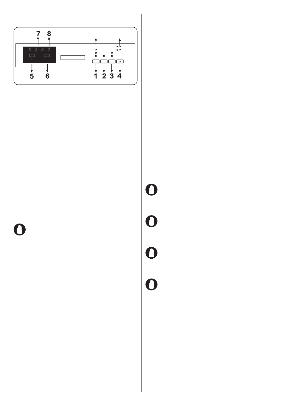
7. THE CONTROL PANEL

You can press the On/Off button (4)
to switch on the product. On/off lights will be
lit as long as the machine is on. Press the
program button (5) to set the required pro-
gram.
Press the Start/Pause button (6) to start the
program. Once the selected program has
started, the washing light will be on and the
program duration will be displayed. If you
open the door of the machine whilst the pro-
gram is continuing, program number and
program duration will be displayed alternate-
ly (7).
You can follow the program flow with the
washing, rinsing, drying and end lights (8) on
the control panel. Once the drying light has
switched on, the machine will remain silent
for 40 to 50 minutes.
NOTE: If you press the option button (3)
once, half load option will be activated. This
option will shorten the durations of the se-
lected programs to reduce power and water
consumption. If you are using combined de-
tergents that contain salt, rinse aid and ex-
tra features, press the option button for the
second time and activate the tablet function.
You can use the extra button (1) to add the
following functions to the compatible wash-
ing program.
If you want to change the delay time, press
the Start/Pause button first, and then press
the Delay (2) button to select the new delay
time. Press Start/Pause button to activate
the new delay time. To cancel the delay,
press the Delay button until the delay time
is 0h.
When the hygiene function is active, you can
make the washing process more hygienic by
changing the washing temperature and du-
rations of the current program.
If you select the extra rinsing function, the
extra rinsing light will switch on and addi-
tional rinses will be added to the selected
9
10
program, making your dishes cleaner and
shinier.
If you select the extra drying function, the ex-
tra drying light will switch on and the drying
duration of the selected program will extend,
making your dishes drier.
IMPORTANT: Hygiene and Drying
functions cannot be selected at the same
time since they are incompatible with each
other.
If you have used any extra function in the
washing program, the function will still be
active in the next washing program. If you
want to cancel that function for the newly se-
lected program, press and hold the button of
the relevant function until the corresponding
lights go off, or press the On/Off button (4)
to switch off the machine. If you want to use
an extra function for the newly selected pro-
gram, select the desired functions.
ter selecting the delay time and starting the
program, the delay time will be cancelled.
(2) before the program starts to delay the
program start time for 1 to 19 hours.
if salt is missing/insufficient. In this case,
please fill the salt compartment.
light if rinse aid is missing/insufficient. In this
case, please fill the rinse aid compartment.
Using the Child Lock
Press "Extra" and "Option" keys simultane-
ously for 3 seconds to activate Child Lock.
At that time, on the remaining time indicator,
"CL" is displayed for 2 seconds. To deacti-
vate this function, again, press "Extra" and
"Option" keys at the same time for 3 sec-
onds. "CL" will flash twice.
EN - 18
NOTE: If you switch off the machine af-
NOTE: You can press the delay button
NOTE: Salt refill indicator (10) will light
NOTE: Rinse aid refill indicator (10) will

Advertisement

Table of Contents
loading
Need help?

Need help?

Do you have a question about the QW-HY15F49EI-EU and is the answer not in the manual?

This manual is also suitable for:

Qw-hy15f49ew-eu

Table of Contents