Exploded View And Parts List - Sanyo Em-D953 Service Manual

Microwave oven with convection and grill
Hide thumbs Also See for EM-D953:
Table of Contents

Advertisement

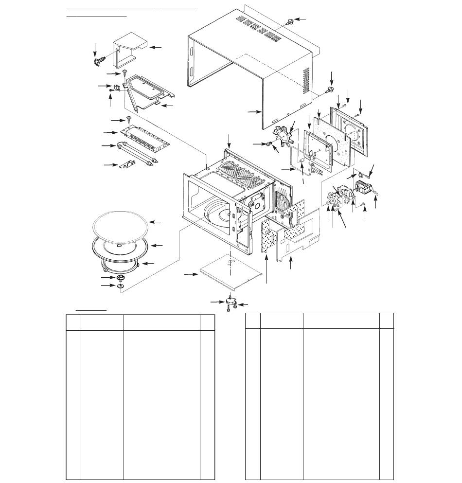
9. EXPLODED VIEW AND PARTS LIST

CAVITY PARTS-A
30
30
4
36
31
6
7
8
12
13
EM-D953
Key
Part No.
Description
No.
1
617 200 9315 Cavity Assemly
2
617 187 1258 Cabinet (
White
2
617 192 0017 Cabinet (
Green)
2
617 199 0287 Cabinet (Brown)
3
617 177 3330 Duct
4
617 153 3088 Thermostat, V150˚C
5
617 167 0349 Heat Ins. Plate
6
617 167 0356 Reflective Plate
7
617 169 8923 Heater Ass'y
8
617 167 0325 Heater Bct
9
617 186 0283 Shelf
10 617 189 5803 Shelf
11 617 182 6517 Roller Base Ass'y
12 617 184 7659 Turntable Shaft
13 617 080 5315 Special Washer
14 617 123 9928 Gear Motor
15 617 177 3347 Duct
16 617 177 3279 Heat Ins
17 617 177 3262 Heat Ins. Plate
18 617 179 0733 Collar
3
5
2
1
38
9
10
11
15
14
Q'ty
1
)
1
1
1
1
1
1
1
1
1
1
1
1
1
1
1
1
1
1
-18-
1
31
31
27
26
29
37
24
20
25
18
19
17
16
35
Key
Part No.
Description
No.
19 617 075 1162 Fan
20 617 186 0054 Special Washer
21 617 075 1476 Fan Base
22 617 177 3231 Motor Complete
23 617 153 4917 Thermostat, v122˚C
24 617 177 3200 Heater Ass'y
25 617 117 6698 Collar
26 617 177 3217 Heater Case Ass'y
27 617 177 3255 Heat Ins.
28 617 177 3248 Heat Ins Plate
29 617 075 1186 Fan
30 411 156 5502 SCR S-TPG PAN+F+S
31 411 156 5601 SCR TPG PAN+F+S 4x10
32 411 065 2500 SCR TPG BIN 4x6
33 617 192 9348 SCR S-TPG PAN 4x25
34 411 001 5800 SCR S-TPG PAN 4x6
35 411 001 6005 SCR S-TPG PAN 4x8
36 411 010 5600 SCR EVR PAN 3x6
37 411 016 3105 E Washer
38 411 054 8902 NUT HEX 4
31
28
33
36
23
22
21
32
34
Q'ty
1
1
1
1
1
1
1
1
1
1
1
2
10
3
4
2
2
2
1
1

Hide quick links:

Advertisement

Table of Contents
loading
Need help?

Need help?

Do you have a question about the EM-D953 and is the answer not in the manual?

This manual is also suitable for:

437368134373681543736814

Table of Contents