Ss-Ts8 (Stand Section) - Sony Sa-Sc8 Service Manual

Subwoofer/speaker sysytem
Hide thumbs Also See for SA-SC8:
Table of Contents

Advertisement

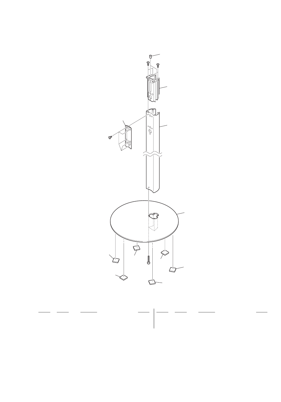
2-3. SS-TS8 (STAND SECTION)

Ref. No.
Part No.
Description
101
4-246-659-01 FOOT (STAND)
102
4-249-764-01 POLE
103
4-249-769-01 CATCHER
All manuals and user guides at all-guides.com
#3
not supplied
#3
101
101
#2
101
Remark
SA-SC8/WS8/SS-CT8/TS8
103
#3
not supplied
102
not supplied
101
101
101
Ref. No.
Part No.
Description
#2
7-682-553-09 SCREW +B 3X20
#3
7-682-247-04 SCREW +K 3X6
Remark
9

Advertisement

Table of Contents
loading
Need help?

Need help?

Do you have a question about the SA-SC8 and is the answer not in the manual?

This manual is also suitable for:

Sa-ws8Ss-ct8Ss-ts8

Table of Contents