Sign In
Upload
Download
Table of Contents
Contents
Add to my manuals
Delete from my manuals
Share
URL of this page:
HTML Link:
Bookmark this page
Add
Manual will be automatically added to "My Manuals"
Print this page
×
Bookmark added
×
Added to my manuals
Manuals
Brands
Philips Manuals
Amplifier
PM 3342
Manual
Amplifier, Channel A - Philips Pm 3342 Manual
Dual trace unit
Hide thumbs
1
2
Table Of Contents
3
4
5
6
7
8
9
10
11
12
13
14
15
16
17
18
19
20
21
22
23
24
25
26
27
28
29
30
31
32
33
34
35
36
37
38
39
40
41
42
43
44
45
46
47
48
49
50
page
of
50
Go
/
50
Contents
Table of Contents
Bookmarks
Table of Contents
Advertisement
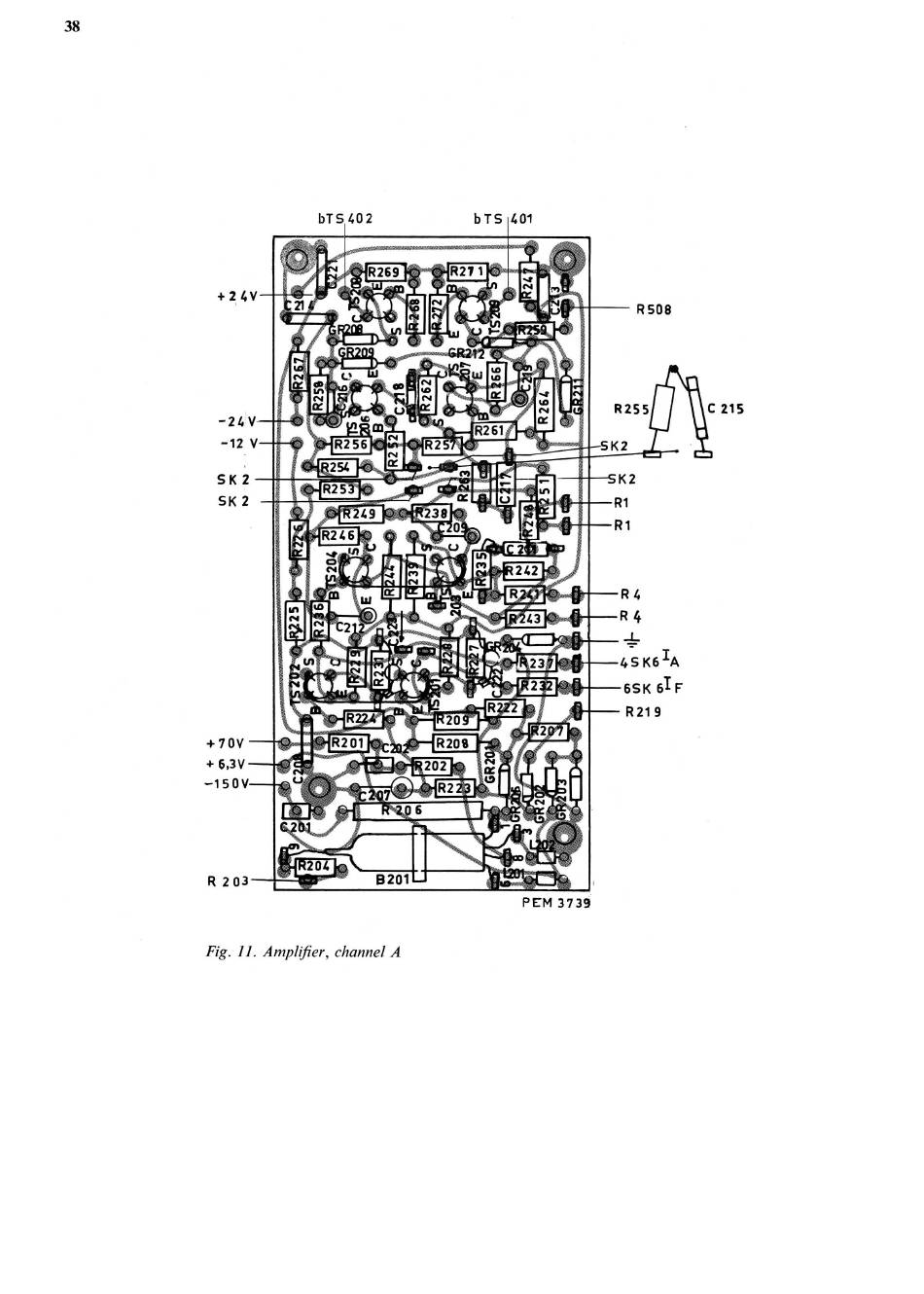
38
R4
~--
R
4
;~
~_
45 K6 I A
65K 6I F
R219
PEM 3739
Fig. Il. Amplifier, channel A
Table of
Contents
Previous
Page
Next
Page
1
...
29
30
31
32
33
34
35
36
Advertisement
Table of Contents
Need help?
Do you have a question about the PM 3342 and is the answer not in the manual?
Ask a question
Go to Questions and Answers
Related Manuals for Philips PM 3342
Amplifier Philips PM 3419A Service Manual
(27 pages)
Amplifier Philips PM 3344 Manual
Four trace y-amplifier (55 pages)
Amplifier Philips PM 3332 Manual
(48 pages)
Amplifier Philips Plena Installation And User Instructions Manual
Universal pre-amplifier (31 pages)
Amplifier Philips CMP100/93 User Manual
Philips car entertainment system cmp100 (15 pages)
Amplifier Philips TDA8566TH Datasheet
2 × 40 w/2 omega stereo btl car radio power amplifier with differential inputs and diagnostic outputs (16 pages)
Amplifier Philips 22 AH 384 Manual
(33 pages)
Amplifier Philips TDA1597 Datasheet
If amplifier/demodulator for fm radio receivers (24 pages)
Amplifier Philips PM8940 Instruction Manual
Isolation amplifier (36 pages)
Amplifier Philips SA5205A Datasheet
Wide-band high-frequency amplifier (14 pages)
Amplifier Philips TDA8928J Datasheet
Power stage 2 x 10 or 1 x 20 w class-d audio amplifier (23 pages)
Amplifier Philips 22RH743 Service Manual
Hi-fi tuner pre-amplifier (19 pages)
Amplifier Philips CMP400/93 User Manual
Philips car entertainment system cmp400 (15 pages)
Amplifier Philips TDA1517 Datasheet
2 × 6 w stereo power amplifier (17 pages)
Amplifier Philips BGD904L Datasheet
860 mhz, 20 db gain power doubler amplifier (12 pages)
Amplifier Philips TDA8943SF Datasheet
6 w mono bridge tied load (btl) audio amplifier (20 pages)
Related Content for Philips PM 3342
SQ45 Amplifier-Modules
Philips SQ45
PM 3344 Y-Amplifier Unit
Philips PM 3344
TDA1562Q Amplifier Description
Philips TDA1562Q
Diamond Line 2 Figure 8. Diamond Line 2 Amplifier, Front View
Philips Diamond Line 2
car power amplifier Your Car Power Amplifier
Philips car power amplifier
CMP100/93 Your Car Power Amplifier
Philips CMP100/93
CMP200/93 Your Car Power Amplifier
Philips CMP200/93
CMP400/93 Your Car Power Amplifier
Philips CMP400/93
CMP400/55 Your Car Power Amplifier
Philips CMP400/55
CMQ405/00 Your Car Power Amplifier
Philips CMQ405/00
TDA8946J Power Amplifier
Philips TDA8946J
TDA8943SF Power Amplifier
Philips TDA8943SF
Plena Connect A Booster Amplifier Or System Pre-Amplifier
Philips Plena
PM 3419A Ac Amplifier
Philips PM 3419A
PM8940 Printed Wiring Board Of Amplifier
Philips PM8940
22 AH 793 Tuner/Amplifier
Table of Contents
Print
Rename the bookmark
Delete bookmark?
Delete from my manuals?
Login
Sign In
OR
Sign in with Facebook
Sign in with Google
Upload manual
Upload from disk
Upload from URL
Need help?
Do you have a question about the PM 3342 and is the answer not in the manual?