Operation Procedure; Part Description; Teaching Mode - Panasonic Fx-305 Instruction Manual

Digital fiber sensor amplifier
Table of Contents
6

PART DESCRIPTION

Output 1 operation indicator
Output 2 operation
(Orange)
indicator (Orange)
MODE indicator / RUN (Green)
MODE indicator / TEACH (Yellow)
MODE indicator / ADJ (Yellow)
7

OPERATION PROCEDURE

When the power supply is switched on, communication self-check is car-
ried out and normal condition is displayed [MODE indicator / RUN
(green)] lights up and the digital display shows the incident light intensity.
MODE key
Press
Press
*1:
When Jog switch is pressed, the setting is confirmed.
*2:
When MODE key is pressed for 2 sec., or more, the sensor returns to the 'RUN' mode.
*3:
Cancellation is possible by pressing MODE key during setting.
*4:
When Jog switch is turned in the 'RUN' mode, the current threshold value is displayed.
And then, the current incident light intensity display appears again automatically.
*5:
If the jog switch and MODE key are pressed for more than 2 sec. at the same time in 'RUN'
mode condition, the key operations are locked, and only the threshold value confirmation
function or the adjust function (valid only when the adjust lock function is canceled) is valid.
To cancel the lock function, press both the keys for more than 2 sec. once again.
The items that can be set in output 1 and output 2 respectively are only the following.
The items other than those are common.
Threshold value
Output operation
NAVI mode
RUN
Run
This indicates normal sensing operation.
Press
TEACH
Teaching
Sets the threshold value by, '2-level teaching' or
'limit teaching', 'full-auto teaching', 'Max. sensitivity
teaching', 'Window comparator 1-level / 2-level /
3-level teaching'.
Press
ADJ
Adjust
Allows fine adjustment of the threshold value.
Press
L/D ON
L-ON/D-ON
Sets output operation either Light-ON, or Dark-ON.
Press
TIMER
Timer
Configures operation of the timer.
Press
PRO
Pro
Allows various detailed settings to be configured, such
as optical communications, save/load and other settings.
Press
PRO mode
PRO1
Response time change function '
'
Timer setting function '
'
Hysteresis function '
'
Turn
PRO2
Digital display setting function '
'
Digital display inversion function '
'
PRO3
Data bank load setting function '
Data bank save setting function '
PRO4
Setting
condition
copy
function '
'
Remote
data
bank
load
setting function '
'
PRO5
Code setting function '
'
Adjust lock setting function '
'
PRO6
Output setting function '
', '
The 0-ADJ setting function in this product was removed from production starting May, 2005.
Phone: 800.894.0412 - Fax: 888.723.4773 - Web: www.clrwtr.com - Email: info@clrwtr.com
MODE indicator / L/D ON (Yellow)
MODE indicator / TIMER (Yellow)
MODE indicator /
PRO (Yellow)
Digital display (Red)
Jog switch
Jog switch
Turn
'+' side
'-' side
Timer operation and Timer priod
Detection mode
Refer to '

TEACHING MODE'.

8
Refer to '
9
THRESHOLD VALUE FINE
ADJUSTMENT MODE'.
Refer to '
11
OUTPUT OPERATION
SETTING MODE'.
Refer to '
12
TIMER OPERATION
SETTING MODE'.
Refer to '
PRO MODE'.
13
To PRO mode
Press
Refer to '
MODE
Shift function '
'
mode setting'.
Emitting power selection function '
'
Turn
Refer to '
MODE
ECO mode setting function '
'
mode setting'.
Turn
Refer to '
MODE
'
mode setting'.
'
Turn
Refer to '
MODE
Remote
data
bank
save
mode setting'.
setting function '
'
Communication lock function '
'
Back-up function '
'
Turn
Refer to '
MODE
Setting reset function '
'
mode setting'.
Interference prevention function
'
'
Turn
Refer to '
MODE
'
mode setting'.
8
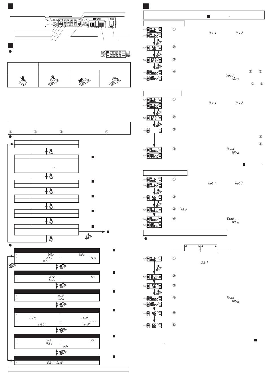
TEACHING MODE
In case of teaching in the window comparator mode, set the detailed settings in
PRO6 beforehand. For the settings, refer to '
In case of 2-level teaching
MODE key
Press
Press
Press
Note: In case of using the fibers, if Jog switch is pressed in the object absent condition at
the sensitivity is set to the maximum.
In case of limit teaching
Press
Press
Note:
The approx. 15% amount of shift is the initial value. The amount of shift can be changed in the
PRO mode from approx. 0 to 80% (5% step). For the setting method refer to '
PRO1 mode setting'.
In case of full-auto teaching
Press
Press
In case of window comparator mode / 1-level teaching
This is the method of setting the threshold range by 1-level teaching. The shift
value can be set as desired.
13
PRO
PRO1
Press
PRO
13
PRO2
PRO
13
Press
PRO3
13
PRO
PRO4
PRO
13
Notes: 1)
The shift value 100 digits is the initial value. The shift value can be changed in PRO mode.
PRO5
Furthermore, 'digit' or 'percent' can be selected. For the setting method refer to '
MODE PRO6 mode setting'.
2)
In case the set value exceeds the max. (min.) sensitivity, the set value is fixed at max.
(min.) sensitivity.
13
PRO
PRO6
13
PRO MODE PRO6 mode setting'.
Press MODE key to light up MODE indicator / TEACH (yellow).
Set to either Output 1 '
' or Output 2 '
Turn Jog switch: Select
Press Jog switch: Confirmed
Press Jog switch in the object present condition. If the
teaching is accepted, the read incident light intensity blinks in
the digital display. (Note 1)
Press Jog switch in the object absent condition. (Note 1)
The threshold value is set at the mid-value between
In case stable sensing is possible: '
In case stable sensing is not possible: '
Press MODE key to light up MODE indicator / TEACH (yellow).
Set to either Output 1 '
' or Output 2 '
Turn Jog switch: Select
Press Jog switch: Confirmed
Press Jog switch in the object absent condition. If the
teaching is accepted, the read incident light intensity blinks in
the digital display.
Turn Jog switch to the '+' side or the '-' side.
If Jog switch is turned to '+' side, the threshold value level is shifted
to a value approx. 15% higher (lower sensitivity) than that set at
If Jog switch is turned to '-' side, the threshold value level is shifted
to a value approx. 15% lower (higher sensitivity) than that set at
In case stable sensing is possible: '
In case stable sensing is not possible: '
Press MODE key to light up MODE indicator / TEACH (yellow).
Set to either Output 1 '
' or Output 2 '
Turn Jog switch: Select
Press Jog switch: Confirmed
Press Jog switch continuously for 0.5 sec. or more with the
object moving on the assembly line.
'
' is displayed on the digital display. Release the jog
switch when the object has passed.
In case stable sensing is possible: '
In case stable sensing is not possible: '
Set as
Set as
desired
desired
1_SL
P-1
2_SL
Press MODE key to light up MODE indicator / TEACH (yellow).
Set to Output 1 '
'.
Turn Jog switch: Select
Press Jog switch: Confirmed
The current teaching method is displayed for 0.5 sec.
Press Jog switch in the object present condition. If the
teaching is accepted, the read incident light intensity blinks in
the digital display.
In case stable sensing is possible: '
In case stable sensing is not possible: '
A value deducted the shift value (100) from the incident light
intensity becomes the threshold value (1_SL), which is
displayed. (Note 1) (Note 2)
A value added the shift value (100) to the incident light
intensity becomes the threshold value (2_SL), which is
displayed. (Note 1) (Note 2)
'.
and
.
' is displayed.
' is displayed.
and
,
'.
.
' is displayed.
' is displayed.
13
PRO MODE
'.
' is displayed.
' is displayed.
' is displayed.
' is displayed.
PRO
13
Table of Contents
loading
Need help?

Need help?

Do you have a question about the FX-305 and is the answer not in the manual?

This manual is also suitable for:

Fx-305p

Table of Contents