Application Information - Philips Tda7050T Datasheet

Low voltage mono/stereo power amplifier
Table of Contents

Advertisement

Philips Semiconductors
Product specification
Low voltage mono/stereo power amplifier
TDA7050T

APPLICATION INFORMATION

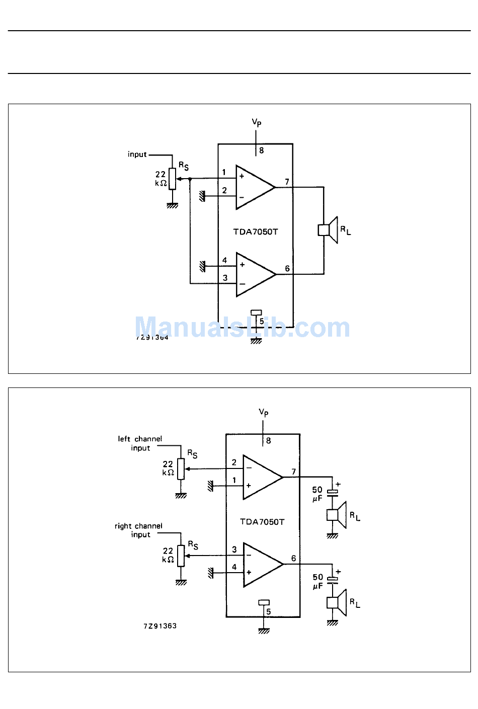
Fig.4 Application diagram (BTL); also used as test circuit.
Fig.5 Application diagram (stereo); also used as test circuit.
July 1994
6

Advertisement

Table of Contents
loading
Need help?

Need help?

Do you have a question about the TDA7050T and is the answer not in the manual?

Table of Contents