Sign In
Upload
Download
Table of Contents
Contents
Add to my manuals
Delete from my manuals
Share
URL of this page:
HTML Link:
Bookmark this page
Add
Manual will be automatically added to "My Manuals"
Print this page
×
Bookmark added
×
Added to my manuals
Manuals
Brands
Philips Manuals
Amplifier
TDA7050
Datasheet
Application Information - Philips Tda7050 Datasheet
Low voltage mono/stereo power amplifier
Hide thumbs
1
2
3
4
5
6
7
8
Table Of Contents
9
page
of
9
Go
/
9
Contents
Table of Contents
Bookmarks
Table of Contents
Advertisement
Philips Semiconductors
Product specification
Low voltage mono/stereo power amplifier
TDA7050
APPLICATION INFORMATION
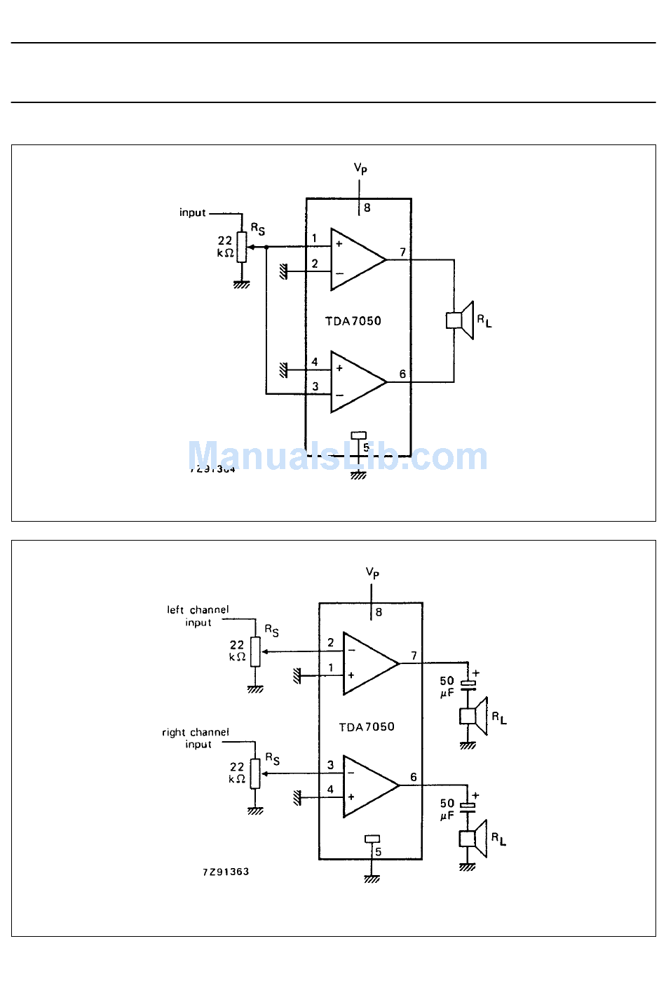
Fig.4 Application diagram (BTL); also used as test circuit.
Fig.5 Application diagram (stereo); also used as test circuit.
June 1989
6
Table of
Contents
Previous
Page
Next
Page
1
...
3
4
5
6
7
8
9
Advertisement
Table of Contents
Need help?
Do you have a question about the TDA7050 and is the answer not in the manual?
Ask a question
Go to Questions and Answers
Related Manuals for Philips TDA7050
Amplifier Philips TDA7050T Datasheet
Low voltage mono/stereo power amplifier (9 pages)
Amplifier Philips TDA7052A Datasheet
1 w btl mono audio amplifier with dc volume control (13 pages)
Amplifier Philips TDA7053A Datasheet
Stereo btl audio output amplifier with dc volume control (16 pages)
Amplifier Philips TDA7056A Datasheet
3 w btl mono audio output amplifier with dc volume control (9 pages)
Amplifier Philips TDA7057AQ Datasheet
2 x 8 w stereo btl audio output amplifier with dc volume control (17 pages)
Amplifier Philips TDA8560Q Datasheet
Integrated circuits 2 × 40 w/2 ω stereo btl car radio power amplifier with diagnostic facility (16 pages)
Amplifier Philips TDA1521A Datasheet
2 x 6 w hi-fi audio power amplifier (15 pages)
Amplifier Philips TDA2613 Datasheet
6 w hi-fi audio power amplifier (11 pages)
Amplifier Philips TDA2615 Datasheet
2 x 6 w hi-fi audio power amplifier (12 pages)
Amplifier Philips TDA2616 Datasheet
2 x 12 w hi-fi audio power amplifiers with mute (12 pages)
Amplifier Philips TDA5360 Datasheet
Pre–amplifier for hard disk drive with mr-read / inductive write heads (34 pages)
Amplifier Philips TDA8943SF Datasheet
6 w mono bridge tied load (btl) audio amplifier (20 pages)
Amplifier Philips TDA8586 Datasheet
Power amplifier with load detection and auto btl/se selection (24 pages)
Amplifier Philips TDA8946J Specification Sheet
2 x 15 w stereo bridge tied load (btl) audio amplifier (23 pages)
Amplifier Philips TDA8920B Product Data Sheet
2 × 100 w class-d power amplifier (34 pages)
Amplifier Philips TDA8925 Datasheet
Power stage 2x15 to 25 w class-d audio amplifier (23 pages)
Related Content for Philips TDA7050
TDA8920B Application Information
Philips TDA8920B
TDA8591J Application Information
Philips TDA8591J
TDA8920B Application Information
Philips TDA8920B
TDA8566TH Test And Application Information
Philips TDA8566TH
TDA8561Q Test And Application Information
Philips TDA8561Q
TDA8950 Application Information
Philips TDA8950
TZA3046 Application Information
Philips TZA3046
TFA9843AJ Application Information
Philips TFA9843AJ
TDA8559T Application Information
Philips TDA8559T
TDA8946J Application Information
Philips TDA8946J
TDA8586 Application Information
Philips TDA8586
TDA8943SF Application Information
Philips TDA8943SF
TDA8542 Test And Application Information
Philips TDA8542
TDA7056A Application Information
Philips TDA7056A
TDA7053A Application Information
Philips TDA7053A
TDA7052A Application Information
Philips TDA7052A
Table of Contents
Print
Rename the bookmark
Delete bookmark?
Delete from my manuals?
Login
Sign In
OR
Sign in with Facebook
Sign in with Google
Upload manual
Upload from disk
Upload from URL
Need help?
Do you have a question about the TDA7050 and is the answer not in the manual?