Hitachi NR 90AE Manual
- 1 PRODUCT NAME
- 2 MARKETING OBJECTIVE
- 3 APPLICATIONS
- 4 SELLING POINTS
- 5 SPECIFICATIONS
- 6 COMPARISONS WITH SIMILAR PRODUCTS
- 7 PRECAUTIONS IN SALES PROMOTION
- 8 MECHANISM AND OPERATION PRINCIPLE
- 9 TROUBLESHOOTING GUIDE
- 10 DISASSEMBLY AND REASSEMBLY
- 11 INSPECTION AND CONFIRMATION AFTER REASSEMBLY
- 12 STANDARD REPAIR TIME (UNIT) SCHEDULES
- 13 PARTS LIST
- 14 Download manual
- 15 In Other Languages

PRODUCT NAME
Hitachi 90 mm (3-1/2") Strip Nailer, Model NR 90AE
MARKETING OBJECTIVE
The Model NR 90AE is a framing nailer for round head nails. This is developed as a next-generation nailer with an all-new design in order to expand our market share. The main features of the Model NR 90AE are as follows:
- Lightweight (3.4 kg) and good balance
- Low height
- Rapid driving and quick response mechanism
- New aggressive appearance
- Selective actuation (single actuation/contact actuation)
- Tool-less depth adjustment
- Comfortable grip
APPLICATIONS
- Floor and framing
- Truss build-up, window build-up
- Subflooring and roof decking
- Wall sheathing
- Mobile home and modular housing construction
SELLING POINTS

SPECIFICATIONS
Specifications
| Model | NR 90AE |
| Driving system | Reciprocating piston type |
| Operating pressure | 5 --- 8.5 kgf/cm 2 (70 --- 120 psi, 4.9 --- 8.3 bar) (Gauge pressure) |
| Driving speed | 3 pcs./sec. |
| Weight | 3.4 kg (7.5 lbs.) |
| Dimensions (Length x Height x Width) | 527 mm x 322 mm x 125 mm (20-3/4" x 12-11/16" x 4-15/16") |
| Nail feed system | Spiral spring |
| Nail capacity | 64 nails (2 strips) |
| Air consumption | 2.5 ltr/cycle at 7 kgf/cm 2 (0.088 ft 3 /cycle at 100 psi) (2.5 ltr/cycle at 6.9 bar) |
| Air inlet | 3/8 NPT thread |
| Packaging | Corrugated cardboard box |
| Package dimensions (Length x Height x Width) | 542 mm x 402 mm x 139 mm (21-11/32" x 15-53/64" x 5-15/32") |
| Standard accessories | Safety glasses (Code No. 875769): 1 |
| Optional accessories | Pneumatic tool lubricant (1 oz oil feeder) (Code No. 877153) Pneumatic tool lubricant (4 oz oil feeder) (Code No. 874042) Pneumatic tool lubricant (1 quart can) (Code No. 876212) Grease (ATTOLUB No. 2) (500 g (1.1 lbs.)) (Code No. 317918) |
Explanation of the Nailing Action
To meet the requirements of "ANSI SNT-101-2002", the Model NR 90AE is equipped with a nailing operation switching device at the valve portion as shown in the figures below. Use SINGLE ACTUATION MECHANISM (SINGLE SEQUENTIAL ACTUATION MECHANISM) or CONTACT ACTUATION MECHANISM in accordance with the work to be performed. Each nailing operation is as follows.

- SINGLE ACTUATION MECHANISM (SINGLE SEQUENTIAL ACTUATION MECHANISM): First, press the pushing lever against the wood; next, pull the trigger to drive the nail. First, pull the trigger; next, press the pushing lever against the wood to drive the nail. After nailing once, nailing will not be possible again until the trigger is released and pressed again.
- CONTACT ACTUATION MECHANISM: First, press the pushing lever against the wood; next, pull the trigger to drive the nail. First, pull the trigger; next, press the pushing lever against the wood to drive the nail. If the trigger is held back, a nail will be driven each time the pushing lever is pressed against the wood.
Nail Selection
The Model NR 90AE utilizes round head nails collated with plastic.
Applicable nail dimensions are shown below. Please note that screw-type nails cannot be used with the Model NR 90AD.
Ensure that nails are as specified in Fig. 1. The Model NR 90AE utilizes full-round head nails collated at an angle of 21 degrees which are the same as the nails utilized by the Model NR 83A2. However, some round head nails made by other makers are collated at a different angle. Use of such nails will cause clogging of nails and subsequent damage to the nailer. Also avoid use of misaligned nails or nails collated with a weak plastic. It is recommended to use genuine HITACHI nails to ensure satisfactory driving quality.
Fig. 1 Dimensions of nail

Nail Driving Force
Figure 2 shows by type of wood and nail, the nailer output energy provided by the supply pressure and the nailing energy required for driving the nail flush. Air pressure which exceeds the intersecting point between the nailer output energy and the nailing energy required for driving the nail allows the nail to be fully driven.
For example, when driving a nail of 3.3 mm dia. by 90 mm length (0.131" x 3-1/2") into nine sheets of 12 mm plywood (108 mm thick ) with the Model NR 90AE, a pressure of about 7.5 bar (7.6 kgf/cm2, 108 psi) allows the nailer to drive the nail flush with the wood surface. A pressure beyond this value causes the nail head to be driven below the wood surface. Figure 2 should be used as reference data because those values vary depending on the type, moisture content, and grain of wood.
Fig. 2 Required nailing energy and nailer output energy

COMPARISONS WITH SIMILAR PRODUCTS

PRECAUTIONS IN SALES PROMOTION
In the interest of promoting the safest and most efficient use of the Model NR 90AE Nailer by all of our customers, it is very important that at the time of sale the salesperson carefully ensures that the buyer seriously recognizes the importance of the contents of the Handling Instructions, and fully understands the meaning of the precautions listed on the Warning Label attached to each tool.
Handling Instructions
Although every effort is made in each step of design, manufacture, and inspection to provide protection against safety hazards, the dangers inherent in the use of any pneumatic tool cannot be completely eliminated. Accordingly, general precautions and suggestions for use of pneumatic tools, and specific precautions and suggestions for the use of the pneumatic nailer are listed in the Handling Instructions to enhance the safe, efficient use of the tool by the customer.
Salespersons must be thoroughly familiar with the contents of the Handling Instructions to be able to offer appropriate guidance to the customers during sales promotion.
Warning Label
Each Model NR 90AE unit is provided with a Warning Label (illustrated below) which lists basic safety precautions in its use. Carefully ensure that customers fully understand and follow these precautions before using the tool.

Related Laws and Regulations
As nailers and staplers are designed to instantaneously drive nails and staples, there is an ever-present danger of misfiring and subsequent possible serious injury. Accordingly, close attention in handling is absolutely necessary at all times. Carefully ensure that the customer is fully aware of the precautions listed in the Handling Instructions provided with each unit. While there are no specific safety regulations, there are related items in various general safety regulations with which the salespersons should be familiar in order to properly advise the customer. Please check your national and/or local regulations for applicable items. Some applicable items are outlined below.
The U.S.A:
OSHA
1926.102 Eye and face protection
1926.302 Power-operated hand tools
ANSI SNT-101-2002 Portable, Compressed-Air-Actuated,
Fastener Driving Tools-Safety Requirements for
MECHANISM AND OPERATION PRINCIPLE
Mechanism
As illustrated in Fig. 3, the Model NR 90AE can be generally divided into four sections:
Output section, control valve section, driving section and magazine section.
Although the basic construction of the Model NR 90AE is the same as that of the Model NR 90AD chiefly, the driving section and the magazine section are newly designed.
- Output section: The basic structure is the same as that of the Model NR 90AD.
- Control valve section.... The basic structure is the same as that of the Model NR 90AD.
- Driving section: Most of the parts have been newly designed.
- The basic structure of the depth adjustment mechanism is the same as that of the Model NR 90AD.
- Magazine section: Most of the parts have been newly designed.
- The magazine is the same rear loading type as the Model NR 90AD. It is uniquely shaped and made of aluminum to achieve the light weight.
- The magazine cover is integral with the anti-backing ratchet to achieve the light weight.
Fig. 3 Construction

Operation Principle

- Before nailing (See Fig. 4 and Fig. 5.)
- When compressed air is fed to the main body, it fills the accumulator (
portion). - At the same time, the compressed air flows into the valve piston lower chamber of the control valve section and forces the Valve Piston [65] upward. Compressed air is then fed through the air supply vent and air passage to the head valve chamber. As a result, the Head Valve Spring [7] is pushed down to seal the Head Valve [9] and the Cylinder [15].
- When compressed air is fed to the main body, it fills the accumulator (
- When nailing (See Fig. 4 and Fig. 5.)
- When Pushing Lever (A) [34] and Trigger (C) [49] are operated together and the Plunger [69] is pushed upward, the compressed air in the valve piston lower chamber is discharged from the bottom of the Plunger [69]. As a result, the compressed air in the accumulator (
portion) pushes down Valve Piston [65], blocking the air supply vent and opening the exhaust valve. - When the exhaust valve opens, the compressed air in the head valve chamber is discharged into the atmosphere through the air passage.
- When the air pressure on the bottom surface of the Head Valve [9] overcomes the strength of the Head Valve Spring [7], the Head Valve [9] is pushed upward. At this time, the Head Valve [9] seals with the Exhaust Valve Rubber [11], blocking the passage to the exhaust vent.
- When the Head Valve [9] goes up, the compressed air in the accumulator flows rapidly into the Cylinder [15], forcing the Piston [13] downward to strike the nail. When the Piston [13] passes the cylinder hole, the compressed air flows into the return air chamber and is accumulated there.
- When Pushing Lever (A) [34] and Trigger (C) [49] are operated together and the Plunger [69] is pushed upward, the compressed air in the valve piston lower chamber is discharged from the bottom of the Plunger [69]. As a result, the compressed air in the accumulator (
- During return (See Fig. 6 and Fig. 7.)
![Hitachi - NR 90AE - Operation Principle - Step 2 Operation Principle - Step 2]()
- When either Pushing Lever (A) [34] or Trigger (C) [49] is released, the Plunger [69] goes down and the compressed air in the accumulator flows into the valve piston lower chamber.
- As the air pressure in the valve piston lower chamber increases to overcome the air pressure applied on the upper portion of the Valve Piston [65], the Valve Piston [65] is forced upward. When this occurs, the exhaust valve is closed and the air supply vent is opened.
- When the air supply vent opens, the compressed air in the accumulator ( portion) passes through the air passage and flows into the head valve chamber to push down the Head Valve [9]. As a result, the Head Valve [9] and the Cylinder [15] are sealed and, at the same time, the Head Valve [9] and the Exhaust Valve Rubber [11] separate to open the exhaust vent.
- The compressed air above the Piston [13] is discharged into the atmosphere through the exhaust vent. In this way, the air pressure above the Piston [13] is reduced, and the greater pressure of the air accumulated in the return air chamber pushes the Piston [13] upward.
- If the air pressure below the Piston [13] is higher than that of the atmosphere after the Piston [13] has fully returned, the excess air pressure is discharged into the atmosphere through the clearance between Piston Bumper [30] and the driver blade.
- Single actuation mechanism/contact actuation mechanism: (Fig. 8 and Fig. 9) Single/contact actuation mechanism changeover is accomplished by turning the switching device (Change Knob (C) [45]).
- Single actuation mechanism (Switching device: upward position):
- Immediately after driving the first nail, the control valve should be as shown in Fig. 7.
- When only Pushing Lever (C) [52] is released and Trigger (C) [49] is held as shown in Fig. 8, the plate of Trigger (C) [49] contacts Change Knob (C) [45] and the Plunger [69] returns (lowers) only halfway. Because of this, compressed air does not flow into the valve piston lower chamber, and Valve Piston [65] remains in the lowered position. Accordingly, the Piston [13] remains in the lowered position as shown in Fig. 6.
- When Trigger (C) [49] is released, the Plunger [69] returns (lowers) completely as shown in Fig. 5. Compressed air then flows into the valve piston lower chamber, and the Valve Piston [65] is forced upward. The Piston [13] then returns fully upward. Therefore, unless Trigger (C) [49] is released after each nailing operation, the structural mechanism prevents the next nailing operation.
- Contact actuation mechanism (Switching device: downward position):
- Immediately after the first nail is driven, the control valve should be as shown in Fig. 7.
- Even when only Pushing Lever (C) [52] is released and Trigger (C) [49] is held, the Plunger [69] returns (lowers) completely as shown in Fig. 9. Thus the Piston [13] returns (raises) fully. Accordingly, continuous nailing can be accomplished by pushing only Pushing Lever (C) [52] up and down while holding Trigger (C) [49] depressed.
TROUBLESHOOTING GUIDE
Troubleshooting and Correction
| Problem | Possible cause | Inspection method | Remedy |
Nails cannot be driven | <Nails>
|
|
|
< Magazine >
|
|
| |
<Nose>
|
|
| |
< Output section >
|
|
| |
< Control valve section >
|
|
| |
Nails are bent when being driven |
|
|
|
| Head of a nail driven into a workpiece protrudes from the wood surface. |
|
|
|
Nails clog the mechanism |
< Improper nail feed >
< The driver blade has not returned completely. >
|
|
|
Single actuation mechanism is not possible |
|
|
|
Possible Causes and Correction of Air Leakage
Air leakage repair location

- Repair procedure
- Check the points of the following parts marked by an asterisk * for abnormal condition.
- Next, check the seal parts marked with a double circle
for wear, flaw and damage. - And then, check other places.
| Air leakage point | Possible cause | |
| With control valve OFF | With control valve ON | |
| A) Exhaust port | The O-ring (I.D 49.4) [8] of the Head Valve [9] is abnormal or its sliding surface is worn, deformed or flawed. The Valve Rubber [14] is abnormal or the sealing surface of the Head Valve [9] is worn or flawed. | The Exhaust Valve Rubber [11] is abnormal or the sliding surface of the Head Valve [9] is worn or flawed. |
| B) Exhaust cover | The Hex. Socket Hd. Bolt (W/Flange) M6 x 30 [4] is loose. Gasket (A) [6] is damaged. Seal surface of the Body Ass'y [24] or the Exhaust Cover [5] is abnormal. | |
| C) Nose 1 | The O-ring (I.D 60) [31] of the Nose [28] or the groove is abnormal (broken or flawed). The Nylock Hex. Socket Hd. Bolt M8 x 30 [29] is loose. | |
| D) Nose 2 | The O-ring (I.D 94.6) [18] of the Cylinder Plate [17] or the O-ring (I.D. 59.6) [16] of the Cylinder [15] is abnormal (broken or flawed). | The Piston Bumper [30] is abnormal (portion is damaged, deformed or cracked). The Piston [13] is abnormal (driver blade is deformed or seal surface is deformed). |
| E) Control Valve 1 | The O-ring (1AP-10) [66] of the Valve Piston [65] is abnormal (worn, broken or flawed). The lower O-ring (P-7) [64] of the Valve Piston [65] is abnormal (worn, broken or flawed). The O-ring (P-18) [63] of Valve Bushing (B) [62] is abnormal (broken or flawed). The internal surface of the valve cavity of the Body Ass'y [24] is abnormal. | The upper O-ring (P-7) [64] of the Valve Piston [65] is abnormal (worn, broken or flawed). The Feed Piston O-ring (I.D. 14) [61] of Valve Bushing (B) [62] is abnormal (broken or flawed). The internal surface of the valve cavity of the Body Ass'y [24] is abnormal. |
| F) Control Valve 2 | The lower O-ring (I.D. 1.8) [68] of the Plunger [69] is abnormal (worn, broken or flawed). Valve Bushing (A) [70] is abnormal (sliding surface of the Plunger [69] is deformed or flawed). | The upper O-ring (I.D 1.8) [68] of the Plunger [69] is abnormal (worn, broken or flowed). The Valve Piston [65] is abnormal (sliding surface of the Plunger [69] is deformed or flawed). |
| G) Cap | Gasket (B) [39] is damaged. The Hex. Socket Hd. Bolt M5 x 16 [41] is loose. Seal surface of the Body Ass'y [24] or the Cap [40] is abnormal (damaged, deformed or flawed). | |
DISASSEMBLY AND REASSEMBLY
The items particularly necessary for disassembly and reassembly are described below. The [Bold] numbers in the descriptions below correspond to the item numbers in the Parts List and exploded assembly diagram.
- Before disassembly or reassembly, be sure to remove all nails and disconnect the air hose from the nailer (with your finger released from the trigger) to exhaust all the compressed air.
General Precautions in Disassembly and Reassembly

- Apply grease (ATTOLUB No. 2) (Code No. 317918) to the O-rings and the sliding portions.
When installing the O-rings, be careful not to damage the O-rings and prevent dirt entry. - Oil required: Hitachi pneumatic tool lubricant
1 oz (30 cc) oil feeder (Code No. 877153)
4 oz (120 cc) oil feeder (Code No. 874042)
1 quart (1 ltr) can (Code No. 876212) - If Gasket (A) [6] is damaged, replace it and check that no air is leaking.
- Be especially careful to prevent the entry of foreign particles into the control valve section.
- Use the conventional grip tape for repair of Grip Rubber (A) [37] because Grip Rubber (A) [37] cannot be mounted without the specifically designed jig.
- Tightening torque for each part
Disassembly and Reassembly of the Output Section
- Disassembly and reassembly of the Exhaust Cover [5], Head Valve [9], Exhaust Valve Rubber [11], etc. (See Fig. 11A and Fig. 11B.)
- Reassembly
Disassembly procedures should be followed in the reverse order. Note the following points.- Charge the sliding portion of the Head Valve [9] of the Exhaust Cover [5] with about 3 grams of grease and apply grease to each surface of the O-rings.
- As shown in Fig. 12, firmly push the Exhaust Valve Rubber [11] until it is fully seated over the projection of the Exhaust Cover [5].
![Hitachi - NR 90AE - Disassembly and Reassembly of the Output - Step 2 Disassembly and Reassembly of the Output - Step 2]()
- Mount the Sheet [3] in the direction as shown in Fig. 13 aligning the center of the hole of the Sheet [3] with the center of the bolt hole of the Exhaust Cover [5]. If not aligned, abnormal exhaust noise may be heard. Exhaust Cover [5]
![Hitachi - NR 90AE - Disassembly and Reassembly of the Output - Step 3 Disassembly and Reassembly of the Output - Step 3]()
- Reassembly
- Disassembly and reassembly of the Cylinder [15], Piston [13], Piston Bumper [30], etc.
(See Fig. 14.)
- Disassembly
Remove the Exhaust Cover [5] as described in item (1). Now, the Cylinder [15], Cylinder Plate [17], Piston [13], Piston Bumper [30], etc. can be taken out. - Reassembly
Disassembly procedures should be followed in the reverse order. Note the following points.- Apply designated grease to the Piston O-ring [12] and the internal side of the Cylinder [15].
- Apply designated grease to the O-ring (I.D 94.6) [18] and the O-ring (I.D 59.6) [16], and then install them.
- Disassembly
Disassembly and Reassembly of the Control Valve Section
(See Fig. 15.)

[Tools required]
- Flat-blade screwdriver
- Roll pin puller (3 mm (0.118") dia.)
- Disassembly
- Remove the Retaining Ring (E-type) for D6 Shaft [22] with blade of a screwdriver and pull out Change Knob (C) [45] being careful not to lose the Steel Ball D3.97 [43] and Spring (C) [44]. Then, pull out the Roll Pin D3 x 32 [21] with the roll pin puller (3 mm dia.), remove the Pushing Lever Guide [47], and Trigger (C) [49] can be removed.
- Pull out the Roll Pins D3 x 25 [20] and D3 x 32 [21] with the roll pin puller (3 mm dia.), and take out the control valve in the following manner.
- Remove the Exhaust Cover [5] by following the procedure in (1), item 10-2.
- As shown in Fig. 16, put in the 4 to 5 mm (0.157" to 0.197") dia. bar from the upper side of the Body Ass'y [24] and push the top of the Valve Piston [65]. Now, the parts forming the control valve can be taken out except Valve Bushing (B) [62].
Be careful not to damage the Valve Piston [65], Valve Bushings (A) [70] and (B) [62], etc. Do not pull out the end of the Plunger [69] with the pliers.
![Hitachi - NR 90AE - Disassembly and Reassembly of the Control Valve Section - Step 2 Disassembly and Reassembly of the Control Valve Section - Step 2]()
- To take out Valve Bushing (B) [62], put a 1.5 to 3 mm (0.059" to 0.118") dia. wire with its end hooked into the hole in the bushing and pull it out while being careful not to damage the internal surface of Valve Bushing (B) [62], as shown in Fig. 17.
![Hitachi - NR 90AE - Disassembly and Reassembly of the Control Valve Section - Step 3 Disassembly and Reassembly of the Control Valve Section - Step 3]()
- Reassembly
Disassembly procedures should be followed in the reverse order. Note the following points.- Be extremely careful to prevent the entry of foreign particles into the control valve section.
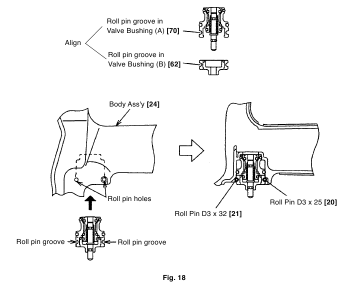
Thoroughly apply grease to the O-Rings (I.D 1.8) [68] of the Plunger [69], the O-Rings (P-7) [64] and (1AP-10) [66] of the Valve Piston [65]. - First, align the roll pin groove of Valve Bushing (A) [70] with that of Valve Bushing (B) [62] and reassemble the entire control valve unit as shown in Fig. 18. Then install the control valve unit so that the roll pin grooves in the control valve unit will be aligned with the roll pin holes in the Body Ass'y [24]. First, insert the roll pin puller (3 mm dia.) into the roll pin holes. Then, upon confirming that the puller passes through the hole, drive in the Roll Pins D3 x 25 [20] and D3 x 32 [21].
![Hitachi - NR 90AE - Disassembly and Reassembly of the Control Valve Section - Step 4 Disassembly and Reassembly of the Control Valve Section - Step 4]()
- Be extremely careful to prevent the entry of foreign particles into the control valve section.
If an attempt is made to drive the roll pin with force when the roll pin grooves in Valve Bushings (A) [70] and (B) [62] are not aligned with the roll pin holes in the Body Ass'y [24], it will damage the periphery of Valve Bushing (A) [70] and (B) [62], and prevent disassembly or reassembly.
After assembly, make sure that the Plunger [69] moves smoothly.
Disassembly and Reassembly of the Driving Section
(See Fig. 19.)
[Tools required]
- Hex. bar wrench (5 mm and 6 mm)
- Roll pin puller (2.5 mm (0.098") dia.)
- Wrench M6
- Disassembly and resassembly of Nose [28], Pushing Lever (A) [34] and other parts
- Disassembly
- Holding the Handle Arm [71], remove the Hex. Socket Hd. Bolt M6 x 22 [35] and pull out the entire magazine section backward.
- Remove the Hex. Socket Hd. Bolt M5 x 14 [1] and take out Pushing Lever Cover (A) [27].
- Remove the Nylock Hex. Socket Hd. Bolt M8 x 30 [29], then the Nose [28], Pushing Lever (A) [34] and others can be removed.
![Hitachi - NR 90AE - Disassembly and Reassembly of the Driving Section - Step 1 Disassembly and Reassembly of the Driving Section - Step 1]()
- Reassembly (See Fig. 20.)
Disassembly procedures should be followed in the reverse order. Note the following points.- Apply grease to the O-ring (I.D 60) [31] and mount it in the groove of the Nose [28].
- Insert Pushing Lever Springs (A) [51] and (B) [50] between the protrusion of Pushing Lever (C) [52] and the protrusion of the Pushing Lever Guide [47].
- Align the bent portion of Adjuster Plate (A) [57] with the concave portion of the Pushing Lever Guide [47]. After reassembly, check the components of the pushing lever and the Adjuster [53] move smoothly.
![Hitachi - NR 90AE - Disassembly and Reassembly of the Driving Section - Step 2 Disassembly and Reassembly of the Driving Section - Step 2]()
- Be careful of the mounting direction of the Nose Rubber [33]. As shown in Fig. 21, mount the two Nose Rubbers [33] so that their convex portions face downward.
![Hitachi - NR 90AE - Disassembly and Reassembly of the Driving Section - Step 3 Disassembly and Reassembly of the Driving Section - Step 3]()
- Disassembly
- Disassembly and reassembly of the adjuster unit
- Disassembly (See Fig. 22.)
- Remove the Retaining Ring (E-type) for D3 Shaft [60]. Then Pushing Lever (A) [34] and the adjuster unit can be separated.
- Pull out the Roll Pin D2 x 16 [54]. Then the adjuster unit can be disassembled.
- Reassembly
Disassembly procedures should be followed in the reverse order. Note the following points.- Mount Adjuster Plate (A) [57] facing its bent portion toward the Adjuster [53].
- Mount Adjuster Plate (C) [56] facing its convex portion toward Adjuster Plate (A) [57].
- Disassembly (See Fig. 22.)
Disassembly and Reassembly of the Cap and the Magazine Section

- Magazine [76], Nail Feeder Ass'y [87] and the related parts (See Fig. 23.)
[Tools required]- Hex. bar wrench (5 mm)
- Wrench M6
- Roll pin puller (3 mm (0.118") dia.)
- Wooden hammer
- A cross-head screwdriver
- Disassembly
- Holding the Nylon Nut M4 [88] with a wrench M6, remove the Hex. Socket Hd. Bolt M6 x 22 [35] and pull out the entire magazine section backward.
- Pull out the Roll Pin D3 x 8 [84] with a roll pin puller (3 mm dia.) and remove the Nail Feeder Ass'y [87], Ribbon Spring [82] and Needle Roller D4 x 20 [81] from the front of the Magazine [76].
- Remove the three Hex. Socket Hd. Bolts (W/Flange) M6 x 12 [77]. Then the Handle Arm [71] and the Magazine Cover [74] can be removed together with the other parts.
- The Nail Rail [75] that is press-fitted into the Magazine [76] has a protrusion at the rear end to prevent coming off. Tap at the front of the Magazine [76] using a hammer and a bar being careful not to scratch the parts.
- The screw is opened by the cross-head screwdriver and the Magazine Plate [89] is taken.
- Reassembly
Disassembly procedures should be followed in the reverse order. Note the following points.- Insert the Nail Rail [75] from the rear of the Magazine [76] and press-fit the Nail Rail [75] into the Magazine [76] by tapping with a wooden hammer so that the rear end of the Nail Rail [75] becomes flush with the Magazine [76].
- Hook the hook of the Ribbon Spring [82] on the Magazine [76] then mount the Nail Feeder Ass'y [87] to the Magazine [76]. Then insert the Roll Pin D3 x 8 [84].
- Holding the Nylon Nut M6 [72] with a wrench M6, mount the magazine section to the Body Ass'y [24] with the Hex. Socket Hd. Bolt M6 x 22 [35].
- The Magazine Plate [89] is installed in the Magazine [76] and the screw is tightened by the cross-head screwdriver.
- Contour mismatch/clearance between the Nose [28] and the magazine section shall be 0.05" (1.3 mm) max. (See Fig. 23.)
- Nail Feeders (A) [78], (B) [80] and the related parts (See Fig. 24.)
[Tool required]- Roll pin puller (4 mm (0.157") dia.)
![Hitachi - NR 90AE - Disassembly and Reassembly of the Cap - Step 2 Disassembly and Reassembly of the Cap - Step 2]()
- Roll pin puller (4 mm (0.157") dia.)
- Disassembly
- Fix the Nail Feeder Ass'y [87] using a V-block and pull out the Roll Pin D4 x 36 [79] from the top using a roll pin puller (4 mm (0.157") dia.). Then Nail Feeder (A) [78], Nail Feeder (B) [80] and Feeder Spring [83] can be removed.
- Remove Nail Feeder (A) [78] from Nail Feeder (B) [80] by twisting Nail Feeder (A) [78].
- Reassembly
Disassembly procedures should be followed in the reverse order. Note the following points.- When inserting the Roll Pin D4 x 36 [79] into Nail Feeder (B) [80], be careful that the end of the Roll Pin D4 x 36 [79] is not stick out from Nail Feeder (B) [80]. Insert the Feeder Spring [83] between the protrusion of Nail Feeder (A) [78] and the protrusion of Nail Feeder (B) [80].
- Disassembly and reassembly of the cap (See Fig. 25.)
[Tool required]
- Hex. bar wrench (4 mm)
- Disassembly
Remove the three Hex. Socket Hd. Bolts M5 x 16 [41], then the Cap [40] and Gasket (B) [39] can be removed. - Reassembly
Reassembly can be accomplished by following the disassembly procedures in reverse.
![Hitachi - NR 90AE - Disassembly and Reassembly of the Cap - Step 4 Disassembly and Reassembly of the Cap - Step 4]()
INSPECTION AND CONFIRMATION AFTER REASSEMBLY
- Check that Nail Feeder (B) [80] slides in the Magazine [76] smoothly.
- Check that the Plunger [69] moves smoothly.
- Check that Adjuster [53] turns smoothly by hand.
- Check that there is no air leakage from each part.
- Set Change Knob (C) [45] to "contact actuation" (see 5-2). While driving nails with an air pressure of
- 5 kgf/cm 2 (71 psi), check that there is no misfiring and bending of nails.
Note: Before conducting the driving test, turn the Adjuster [53] to the deepest position. - Set Change Knob (C) [45] to "single actuation (single sequential actuation)" (see 5-2). Check that the Model NR 90AE operates by pressing Pushing Lever (A) [34] against a test piece first then pulling Trigger (C) [49]. Check that the Piston [13] is still showing from the Nose [28] tip (outlet of nails) after Pushing Lever (A) [34] is released from the test piece with Trigger (C) [49] pulled.
- Recheck the tightening torque of each screw.
- Check that Pushing Lever (A) [34] slides smoothly.
- Check that the machine will not operate only by pulling Trigger (C) [49]. Also check that the machine will not operate only by depressing Pushing Lever (A) [34].
STANDARD REPAIR TIME (UNIT) SCHEDULES

PARTS LIST



Download manual
Here you can download full pdf version of manual, it may contain additional safety instructions, warranty information, FCC rules, etc.
Download Hitachi NR 90AE Manual
portion).
for wear, flaw and damage.
The O-ring (I.D 49.4) [8] of the Head Valve [9] is abnormal or its sliding surface
is worn, deformed or flawed.
of the Head Valve [9] is worn or flawed.
of the Head Valve [9] is worn or flawed.
The Hex. Socket Hd. Bolt (W/Flange) M6 x 30 [4] is loose.
Gasket (A) [6] is damaged.
is damaged, deformed or cracked).
The O-ring (1AP-10) [66] of the Valve Piston [65] is abnormal (worn, broken or flawed).
The internal surface
of the valve cavity of the Body Ass'y [24] is abnormal.
The internal surface
of the valve cavity of the Body Ass'y [24] is abnormal.










Need help?
Do you have a question about the NR 90AE and is the answer not in the manual?