Panasonic LUMIX DMC-FH20, LUMIX DMC-FH3, LUMIX DMC-FH1 Manual
- 1 Introduction
- 2 Standard Accessories
- 3 Names of the Components
- 4 Charging the Battery
- 5 About the Built-in Memory/the Card
- 6 Inserting and Removing the Card (optional)/the Battery
- 7 Setting Date/Time (Clock Set)
- 8 Setting the Menu
- 9 Selecting the [REC] Mode
- 10 Taking pictures using the automatic function (Intelligent Auto Mode)
- 11 Motion Picture Mode
- 12 Playing back Pictures ([NORMAL PLAY])
- 13 Deleting Pictures
- 14 Reading the Operating Instructions (PDF format)
- 15 Specifications
- 16 Digital Camera Accessory System
- 17 Digital Camera Accessory Order Form
- 18 Information for Your Safety
- 19 References
- 20 Download manual
- 21 In Other Languages

Introduction
You have purchased one of the most sophisticated and reliable products on the market today. Used properly, we're sure it will bring you and your family years of enjoyment. Please take time to fill in the information on the below. The serial number is on the tag located on the underside of your Camera. Be sure to retain this manual as your convenient Camera information source. Please note that the actual controls and components, menu items, etc. of your Digital Camera may look somewhat different from those shown in the illustrations in these Operating Instructions.
- Recording of pre-recorded tapes or discs or other published or broadcast material for purposes other than your own private use may infringe copyright laws. Even for the purpose of private use, recording of certain material may be restricted.
Model No.
Serial No.
Standard Accessories
Check that all the accessories are included before using the camera.
Product numbers correct as of January 2010. These may be subject to change.

- Battery Pack
(Indicated as battery pack or battery in the text)
Charge the battery before use. - Battery Charger
(Indicated as battery charger or charger in the text) - USB Connection Cable
- AV Cable
- CD-ROM
- Software:
Use it to install the software to your PC. - Operating Instructions
- Software:
- Hand Strap
- Battery Case
- SD Memory Card, SDHC Memory Card and SDXC Memory Card are indicated ascard in the text.
- The card is optional.
You can record or play back pictures on the built-in memory when you are not using a card. - For information about optional accessories, refer to the"Digital Camera Accessory System".
- If any accessories are lost, customers should contact Panasonic's parts department at 1 800 833-9626 for further information about obtaining replacement parts.
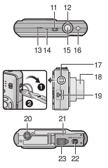
Names of the Components

- Flash
- Lens
- Self-timer indicator AF assist lamp
- LCD monitor
- [MENU/SET] button
- [DISPLAY] button
- [Q.MENU]/Delete button
- [MODE] button
- [REC]/[PLAYBACK] selector switch

- Cursor buttons
/Exposure compensation
/Macro Mode
/Self-timer button
/Flash setting button
In these operating instructions, the cursor buttons are described as shown in the figure below or described with
/
/
/
. e.g.: When you press the
(down) button

or Press 

- Camera ON/OFF switch
- Zoom lever
- Speaker
- Microphone
- Shutter button
- Intelligent auto button
- Hand strap eyelet
- Be sure to attach the hand strap when using the camera to ensure that you will not drop it.
- Lens barrel
- [AV OUT/DIGITAL] socket
- Tripod receptacle
- When you use a tripod, make sure the tripod is stable when the camera is attached to it.
- Card/Battery door
- Release lever
- DC coupler cover
- When using an AC adaptor, ensure that the Panasonic DC coupler (DMW-DCC4; optional) and AC adaptor (DMW-AC5PP; optional) are used.
- We recommend you use a battery with sufficient battery power or the AC adaptor when recording motion pictures.
- If while recording motion pictures using the AC adaptor and the power supply is cut off due to a power outage or if the AC adaptor is disconnected etc., the motion picture being recorded will not be recorded.
Charging the Battery
About batteries that you can use with this unit
Supplied battery or dedicated optional batteries (DMW-BCF10PP) can be used with this unit.
It has been found that counterfeit battery packs which look very similar to the genuine product are made available to purchase in some markets. Some of these battery packs are not adequately protected with internal protection to meet the requirements of appropriate safety standards. There is a possibility that these battery packs may lead to fire or explosion. Please be advised that we are not liable for any accident or failure occurring as a result of use of a counterfeit battery pack. To ensure that safe products are used we would recommend that a genuine Panasonic battery pack is used.
- Use the dedicated charger and battery.
- The camera has a function for distinguishing batteries which can be used safely. The dedicated battery [the supplied battery or DMW-BCF10PP (optional)] supports this function. The only batteries suitable for use with this unit are genuine Panasonic products and batteries manufactured by other companies and certified by Panasonic. (Batteries which do not support this function cannot be used). Panasonic cannot in any way guarantee the quality, performance or safety of batteries which have been manufactured by other companies and are not genuine Panasonic products.
Charging
- The battery is not charged when the camera is shipped. Charge the battery before use.
- Charge the battery with the charger indoors.
- Charge the battery in a temperature between 10 ºC to 35 ºC (50 ºF to 95 ºF).
(The battery temperature should also be the same.)
- Attach the battery paying attention to the direction of the battery.
![]()
- Connect the charger to the electrical outlet.
- Charging starts when the [CHARGE] indicator
lights green. - Charging is properly complete when the [CHARGE] indicator
turns off.
- Charging starts when the [CHARGE] indicator
- Detach the battery after charging is completed.
Charging time
| Supplied battery | Optional battery | |
| Charging time | Approx. 100 min | Approx. 130 min |
Approximate operating time and number of recordable pictures
| Supplied battery | Optional battery | |
| Capacity of the battery | 740 mAh | 940 mAh |
| Number of recordable pictures | Approx. 300 pictures (DMC-FH20) Approx. 310 pictures (DMC-FH3/DMC-FH1) | Approx. 380 pictures (DMC-FH20) Approx. 400 pictures (DMC-FH3/DMC-FH1) |
| Recording time | Approx. 150 min (DMC-FH20) Approx. 155 min (DMC-FH3/DMC-FH1) | Approx. 190 min (DMC-FH20) Approx. 200 min (DMC-FH3/DMC-FH1) |
| Playback time | Approx. 280 min | Approx. 360 min |
Recording conditions by CIPA standard
- CIPA is an abbreviation of [Camera & Imaging Products Association].
- Normal Picture Mode
- Temperature: 23 oC (73.4 oF)/Humidity: 50% when LCD monitor is on.
- Using a Panasonic SD Memory Card (32 MB).
- Starting recording 30 seconds after the camera is turned on. (When the Optical Image Stabilizer function is set to [AUTO].)
- Recording once every 30 seconds with full flash every second recording.
- Rotating the zoom lever from Tele to Wide or vice versa in every recording.
- Turning the camera off every 10 recordings and leaving it until the temperature of the battery decreases.
About the Built-in Memory/the Card
Built-in Memory
- Memory size: Approx. 40 MB
- The built-in memory can be used as a temporary storage device when the card being used becomes full.
- The access time for the built-in memory may be longer than the access time for a card.
Card
The following cards which conform to the SD video standard can be used with this unit.
(These cards are indicated as card in the text.)
| Type of card which can be used with this unit | Remarks |
| SD Memory Card (8 MB to 2 GB) |
|
| SDHC Memory Card (4 GB to 32 GB) | |
| SDXC Memory Card (48 GB to 64 GB) |
- Only cards bearing the SDHC logo (indicating that the card conforms to SD video standards) may be used as 4 GB to 32 GB cards.
- Only cards bearing the SDXC logo (indicating that the card conforms to SD video standards) may be used as 48 GB to 64 GB cards.
- Use a card with SD Speed Class* with "Class 6" or higher when recording motion pictures.
*SD speed class is the speed standard regarding continuous writing. - Please confirm the latest information on the following website.
http://panasonic.jp/support/global/cs/dsc/ (This Site is English only.)
Note
- Keep the Memory Card out of reach of children to prevent swallowing.
Inserting and Removing the Card (optional)/the Battery
- Check that this unit is turned off.
- We recommend using a Panasonic card.
- Slide the release lever in the direction of the arrow and open the card/battery door.
- Always use genuine Panasonic batteries (CGA-S/106B; supplied or DMW-BCF10PP; optional).
- If you use other batteries, we cannot guarantee the quality of this product.
- Battery: Insert until it is locked by the lever
being careful about the direction you insert it. Pull the lever
in the direction of the arrow to remove the battery.
Card: Push it fully until it clicks being careful about the direction you insert it. To remove the card, push the card until it clicks, then pull the card out upright.
: Do not touch the connection terminals of the card.
- The card may be damaged if it is not fully inserted.
- Close the card/battery door.
- Slide the release lever in the direction of the arrow.
Setting Date/Time (Clock Set)
- The clock is not set when the camera is shipped.
- Turn the camera on.
- [MENU/SET] button
- Cursor buttons
- Press [MENU/SET].
- Press
/
to select the items (year, month, day, hour, minute, display sequence or time display format), and press
/
to set.
: Cancel without setting the clock.
![]()
- Press [MENU/SET] to set.
- Press [MENU/SET].
- Press [
] to return to the settings screen.
Changing the clock setting
Select [CLOCK SET] in the [REC] or [SETUP] menu, and press
.
- It can be changed in steps 3, 4 and 5 to set the clock.
Setting the Menu
This section describes how to select the Normal Picture Mode settings, and the same setting can be used for the [PLAYBACK] menu and [SETUP] menu as well. Example: Setting [AF MODE] from [
] to [
] in the Normal Picture Mode
- Press [MENU/SET] to display the menu.
![]()
- Press
/
to select [AF MODE], and then press
.
- Depending on the item, its setting may not appear or it may be displayed in a different way.
- Press
/
to select [
] and then press [MENU/SET] to set.
![]()
- Press [MENU/SET] to close the menu.
Switching to other menus
e.g.: Switching to the [SETUP] menu
![]()
- Press [MENU/SET] to display the menu.
- Press
. - Press
to select the [SETUP] menu icon [
]. - Press
.
- Select a menu item next and set it.
Selecting the [REC] Mode
Intelligent Auto Mode
The subjects are recorded using settings automatically selected by the camera.
To select a [REC] modes from the [REC] modes list
- Turn the camera on.
![]()
- [MENU/SET] button
- [REC]/[PLAYBACK] selector switch
- [MODE] button
- Slide the [REC]/[PLAYBACK] selector switch to [
]. - Press [MODE].
- Press
/
to select the mode.
![]()
- Press [MENU/SET].
List of [REC] Modes
![]() | Normal Picture Mode The subjects are recorded using your own settings. |
![]() | My Scene Mode Pictures are taken using previously registered recording scenes. |
![]() | Scene Mode This allows you to take pictures that match the scene being recorded. |
![]() | Motion Picture Mode This mode allows you to record motion pictures with audio. |
Taking pictures using the automatic function (Intelligent Auto Mode)
[REC] Mode:
The camera will set the most appropriate settings to match the subject and the recording conditions so we recommend this mode for beginners or those who want to leave the settings to the camera and take pictures easily.
- Slide the [REC]/[PLAYBACK] selector switch to [
].
![]()
- Press [
]
. - Pressing [
] again takes you back to the previous mode.
- Pressing [
- Hold the camera gently with both hands, keep your arms still at your side and stand with your feet slightly apart.
- Press the shutter button
halfway to focus.
- The focus indication
(green) lights when the subject is focused. - The AF area
is displayed around the subject's face by the Face Detection function. In other cases, it is displayed at the point on the subject which is in focus. - The focus range is 5 cm (0.17 feet) (Wide)/ 1 m (3.28 feet) (Tele) to
.
- The focus indication
- Press the shutter button fully (push it in further), and take the picture.
Scene detection
When the camera identifies the optimum scene, the icon of the scene concerned is displayed in blue for 2 seconds, after which its color changes to the usual red.

- Only when [
] is selected
- [
] is set if none of the scenes are applicable, and the standard settings are set. - When [
] or [
] is selected, the camera automatically detects a person's face, and it will adjust the focus and exposure.(Face Detection)
Motion Picture Mode
[REC] Mode: 
- Slide the [REC]/[PLAYBACK] selector switch to [
], and then press [MODE]. - Press
/
to select [MOTION PICTURE], and then press [MENU/SET]. - Press the shutter button halfway to focus and then press it fully to start recording.
Audio recording
- The available recording time
is displayed on the top right and the elapsed recording time
is displayed on the bottom right of the screen. - After pressing the shutter button fully, release it straight away.
- When the subject is focused, the focus indication lights.
- The focus and zoom are fixed to the setting when recording starts (the first frame).
- The audio is also recorded simultaneously from the built-in microphone on this unit. (Motion pictures cannot be recorded without audio.)
- The available recording time
- Press the shutter button fully to stop recording.
- If the built-in memory or the card becomes full in the middle of recording, the camera stops recording automatically.
Note
- Motion pictures can be recorded continuously up to 2 GB.
The maximum available recording time for up to 2 GB only is displayed on the screen.
Playing back Pictures ([NORMAL PLAY])
[PLAYBACK] Mode:
- Slide the [REC]/[PLAYBACK] selector switch
to [
].
![]()
- Press
/
to select the picture.
![]()
- After selecting the motion picture, press
to start playback
Deleting Pictures
[PLAYBACK] Mode:
Once deleted, pictures cannot be recovered.
- Pictures on the built-in memory or the card, which is being played back will be deleted.
- Select the picture to be deleted, and then press [
].
[
] button
![]()
- Press
to select [YES] and then press [MENU/SET].
![]()
Reading the Operating Instructions (PDF format)
- You have practised the basic operations introduced in these operating instructions and want to progress to advanced operations.
- You want to check the Troubleshooting.
In these kinds of situations refer to Operating Instructions (PDF format) recorded on the CD-ROM containing the Operating Instructions (supplied).
For Windows

- Turn the PC on and insert the CD-ROM containing the Operating Instructions (supplied).
- Click the [Operating Instructions].
- Select the desired language and then click [Operating Instructions] to install.
To return to the install menu. - Double click the "Operating Instructions" shortcut icon on the desktop.
When the Operating Instructions (PDF format) will not open
You will need Adobe Acrobat Reader 5.0 or later or Adobe Reader 7.0 or later to browse or print the Operating Instructions (PDF format).
Insert the CD-ROM containing the Operating Instructions (supplied), click B and then follow the messages on the screen to install.
(Compatible OS: Windows 2000 SP4/Windows XP SP2 or SP3/Windows Vista SP1 or SP2/Windows 7)
- You can download and install a version of Adobe Reader that you can use with your OS from the following Web Site. http://get.adobe.com/reader/otherversions
To uninstall the Operating Instructions (PDF format)
Delete the PDF file from the "Program Files\Panasonic\Lumix\" folder.
- When the contents in the Program Files folder cannot be displayed, click the [Show the contents of this folder] to display them.
For Macintosh
- Turn the PC on and insert the CD-ROM containing the Operating Instructions (supplied).
- Open the "Manual" folder in the CD-ROM and then copy the PDF file with the desired language inside the folder.
- Double click the PDF file to open it.
Specifications



Digital Camera Accessory System
| Accessory# | Illustration | Description |
| DMW-BCF10PP | | Battery Pack |
| DMW-AC5PP | | AC Adaptor |
| DMW-DCC4 | | DC Coupler |
| RP-SDW64GU1K RP-SDW48GU1K RP-SDW32GU1K RP-SDW16GU1K RP-SDW08GU1K RP-SDW04GU1K | | Class 10 64 GB SDXC Memory Card Class 10 48 GB SDXC Memory Card Class 10 32 GB SDHC Memory Card Class 10 16 GB SDHC Memory Card Class 10 8 GB SDHC Memory Card Class 10 4 GB SDHC Memory Card |
| RP-SDP16GU1K RP-SDP08GU1K RP-SDP04GU1K RP-SDP02GU1K | Class 4 16 GB SDHC Memory Card Class 4 8 GB SDHC Memory Card Class 4 4 GB SDHC Memory Card Class 4 2 GB SD Memory Card | |
| RP-SDR08GU1A RP-SDR04GU1A RP-SDR02GU1A | Class 2 8 GB SDHC Memory Card Class 2 4 GB SDHC Memory Card Class 2 2 GB SD Memory Card |
Product numbers correct as of January 2010. These may be subject to change.
Ensure that the AC adaptor (DMW-AC5PP; optional) and DC coupler (DMW-DCC4; optional) are purchased as a set. Do not use if sold separately.
- NOTE: Accessories and/or model numbers may vary between countries.
Consult your local dealer.
Digital Camera Accessory Order Form
Please photocopy this form when placing an order.
- Digital Camera Model #
- Items Ordered
| Accessory # | Price EachDescription | Quantity | Total Price |
| Subtotal Your State & Local Sales Tax Shipping & Handling Total Enclosed | 6.95 | ||
- Method of payment (check one)
Check of Money Order enclosed (NO C.O.D.SHIPMENTS)
VISA Credit Card #
MasterCard Expiration Date
Discover Customer Signature
Make Check or Money Order to: PANASONIC ACCESSORIES
(Please do not send cash) - Shipping information (UPS delivery requires complete street address)
Ship To:
Mr.
Ms.
City State Zip
TO OBTAIN ANY OF OUR DIGITAL CAMERA ACCESSORIES YOU CAN DO ANY OF THE FOLLOWING:
VISIT YOUR LOCAL PANASONIC DEALER OR CALL PANASONIC'S ACCESSORY ORDER LINE AT 1-800-332-5368
[6 AM-6 PM M-F, PACIFIC TIME] OR MAIL THIS ORDER TO: PANASONIC SERVICE AND TECHNOLOGY COMPANY
ACCESSORY ORDER OFFICE
Information for Your Safety
TO REDUCE THE RISK OF FIRE, ELECTRIC SHOCK OR PRODUCT DAMAGE,
- DO NOT EXPOSE THIS APPARATUS TO RAIN, MOISTURE, DRIPPING OR SPLASHING AND THAT NO OBJECTS FILLED WITH LIQUIDS, SUCH AS VASES, SHALL BE PLACED ON THE APPARATUS.
- USE ONLY THE RECOMMENDED ACCESSORIES.
- DO NOT REMOVE THE COVER (OR BACK); THERE ARE NO USER SERVICEABLE PARTS INSIDE. REFER SERVICING TO QUALIFIED SERVICE PERSONNEL.
THE SOCKET OUTLET SHALL BE INSTALLED NEAR THE EQUIPMENT AND SHALL BE EASILY ACCESSIBLE.
About the battery pack
Battery pack (Lithium ion battery pack)
- Use the specified unit to recharge the battery pack.
- Do not use the battery pack with equipment other than the specified unit.
- Do not get dirt, sand, liquids, or other foreign matter on the terminals.
- Do not touch the plug terminals (+ and -) with metal objects.
- Do not disassemble, remodel, heat or throw into fire.
If any electrolyte should come into contact with your hands or clothes, wash it off thoroughly with water.
If any electrolyte should come into contact with your eyes, never rub the eyes. Rinse eyes thoroughly with water, and then consult a doctor.
Danger of explosion if battery is incorrectly replaced. Replace only with the same or equivalent type recommended by the manufacturer. Dispose of used batteries according to the manufacturer's instructions.
- Do not heat or expose to flame.
- Do not leave the battery(ies) in an automobile exposed to direct sunlight for a long period of time with doors and windows closed.
Risk of fire, explosion and burns. Do not disassemble, heat above 60C (140F) or incinerate.
About the battery charger
DO NOT INSTALL OR PLACE THIS UNIT IN A BOOKCASE, BUILT-IN CABINET OR IN ANOTHER CONFINED SPACE. ENSURE THE UNIT IS WELL VENTILATED. TO PREVENT RISK OF ELECTRIC SHOCK OR FIRE HAZARD DUE TO OVERHEATING, ENSURE THAT CURTAINS AND ANY OTHER MATERIALS DO NOT OBSTRUCT THE VENTILATION VENTS.
Battery charger
This battery charger operates on AC between 110 V and 240 V. But
- In the U.S.A. and Canada, the battery charger must be connected to a 120 V AC power supply only.
- When connecting to an AC supply outside of the U.S.A. or Canada, use a plug adaptor to suit the AC outlet configuration.
Cautions for Use
- Always use a genuine Panasonic AC adaptor (DMW-AC5PP; optional).
- Do not use any other AV cables except the supplied one.
- Do not use any other USB connection cables except the supplied one.
Keep the camera as far away as possible from electromagnetic equipment (such as microwave ovens, TVs, video games etc.). - If you use the camera on top of or near a TV, the pictures and sound on the camera may be disrupted by electromagnetic wave radiation.
- Do not use the camera near cell phones because doing so may result in noise adversely affecting the pictures and sound.
- Recorded data may be damaged, or pictures may be distorted, by strong magnetic fields created by speakers or large motors.
- Electromagnetic wave radiation generated by microprocessors may adversely affect the camera, disturbing the pictures and sound.
- If the camera is adversely affected by electromagnetic equipment and stops functioning properly, turn the camera off and remove the battery or disconnect AC adaptor (DMW-AC5PP; optional). Then reinsert the battery or reconnect AC adaptor and turn the camera on.
Do not use the camera near radio transmitters or high-voltage lines. - If you record near radio transmitters or high-voltage lines, the recorded pictures and sound may be adversely affected.
References
Download manual
Here you can download full pdf version of manual, it may contain additional safety instructions, warranty information, FCC rules, etc.
Download Panasonic LUMIX DMC-FH20, LUMIX DMC-FH3, LUMIX DMC-FH1 Manual

lights green.
: Do not touch the connection terminals of the card.
: Cancel without setting the clock.

] and then press [MENU/SET] to set.

]. 
].





]
(green) lights when the subject is focused.
is displayed around the subject's face by the Face Detection function. In other cases, it is displayed at the point on the subject which is in focus.
.
] is selected
] or [
] is selected, the camera automatically detects a person's face, and it will adjust the focus and exposure.(Face Detection)
], and then press [MODE].
is displayed on the bottom right of the screen.
].



Check of Money Order enclosed (NO C.O.D.SHIPMENTS)
Need help?
Do you have a question about the LUMIX DMC-FH20 and is the answer not in the manual?