Makita RT0702C, RT0702CX3J Manual

SPECIFICATIONS
| Model: | RT0702C |
| Collet chuck capacity | 6 mm, 8 mm, or 1/4' |
| No load speed | 10,000 - 34,000 min-1 |
| Overall height | 210 mm |
| Net weight | 1.8 - 2.8 kg |
| Safety class | /II |
- Due to our continuing program of research and development, the specifications herein are subject to change without notice.
- Specifications may differ from country to country.
- The weight may differ depending on the attachment(s). The lightest and heaviest combination, according to EPTA-Procedure 01/2014, are shown in the table.
Intended use
The tool is intended for flush trimming and profiling of wood, plastic and similar materials.
Power supply
The tool should be connected only to a power supply of the same voltage as indicated on the nameplate, and can only be operated on single-phase AC supply. They are double-insulated and can, therefore, also be used from sockets without earth wire.
Noise
The typical A-weighted noise level determined according to EN62841-2-17: Sound pressure level (LpA): 85 dB(A)
Sound power level (LWA): 93 dB (A)
Uncertainty (K): 3 dB(A)
|
|
|
|
Vibration
The vibration total value (tri-axial vector sum) determined according to EN62841-2-17: Work mode: rotation without load
Vibration emission (ah): 2.5 m/s2 or less
Uncertainty (K): 1.5 m/s2
NOTE: The declared vibration total value(s) has been measured in accordance with a standard test method and may be used for comparing one tool with another.
NOTE: The declared vibration total value(s) may also be used in a preliminary assessment of exposure.
|
|
SAFETY WARNINGS
General power tool safety warnings
| Read all safety warnings, instructions, illustrations and specifications provided with this power tool. Failure to follow all instructions listed below may result in electric shock, fire and/or serious injury. |
Save all warnings and instructions for future reference.
The term "power tool" in the warnings refers to your mains-operated (corded) power tool or battery-operated (cordless) power tool.
Trimmer safety warnings
- Hold the power tool by insulated gripping surfaces only, because the cutter may contact its own cord. Cutting a "live" wire may make exposed metal parts of the power tool "live" and could give the operator an electric shock.
- Use clamps or another practical way to secure and support the workpiece to a stable platform. Holding the work by your hand or against the body leaves it unstable and may lead to loss of control.
- The trimmer bit shank must match the designed collet chuck.
- Only use a trimmer bit that is rated at least equal to the maximum speed marked on the tool.
- Wear hearing protection during extended period of operation.
- Handle the trimmer bits very carefully.
- Check the trimmer bit carefully for cracks or damage before operation. Replace cracked or damaged bit immediately.
- Avoid cutting nails. Inspect for and remove all nails from the workpiece before operation.
- Hold the tool firmly.
- Keep hands away from rotating parts.
- Make sure the trimmer bit is not contacting the workpiece before the switch is turned on.
- Before using the tool on an actual workpiece, let it run for a while. Watch for vibration or wobbling that could indicate improperly installed bit.
- Be careful of the trimmer bit rotating direction and the feed direction.
- Do not leave the tool running. Operate the tool only when hand-held.
- Always switch off and wait for the trimmer bit to come to a complete stop before removing the tool from workpiece.
- Do not touch the trimmer bit immediately after operation; it may be extremely hot and could burn your skin.
- Do not smear the base carelessly with thinner, gasoline, oil or the like. They may cause cracks in the base.
- Some material contains chemicals which may be toxic. Take caution to prevent dust inhalation and skin contact. Follow material supplier safety data.
- Always use the correct dust mask/respirator for the material and application you are working with.
- Place the tool on stable area. Otherwise falling accident may occur and cause an injury.
SAVE THESE INSTRUCTIONS.
| DO NOT let comfort or familiarity with product (gained from repeated use) replace strict adherence to safety rules for the subject product. MISUSE or failure to follow the safety rules stated in this instruction manual may cause serious personal injury. |
FUNCTIONAL DESCRIPTION
| Always be sure that the tool is switched off and unplugged before adjusting or checking function on the tool. |
Adjusting trimmer bit protrusion
To adjust the bit protrusion, open the locking lever and move the base up or down as desired by turning the adjusting screw. After adjusting, close the locking lever firmly to secure the base.
► Fig.1:

- Base
- Scale
- Bit protrusion
- Locking lever
- Adjusting screw
- Hex nut
NOTE: When the tool is not secured even if the locking lever is closed, tighten the hex nut and then close the locking lever.
Switch action
| Before plugging in the tool, always be sure that the tool is switched off. |
To start the tool, press the I side of the switch. To stop the tool, press the O side of the switch.
► Fig.2:

- Switch
Electronic function
The tool is equipped with the electronic functions for easy operation.
Indication lamp
► Fig.3:

- Indication lamp
The indication lamp lights up green when the tool is plugged. If the indication lamp does not light up, the mains cord or the controller may be defective. The indication lamp is lit but the tool does not start even if the tool is switched on, the carbon brushes may be worn out, or the controller, the motor or the ON/OFF switch may be defective.
Unintentional restart proof
The tool does not start with the I side of the switch pressed even when the tool is plugged. At this time, the indication lamp blinks in red and shows the unintentional restart proof device is on function. To cancel the unintentional restart proof, press the O side of the switch.
Soft start feature
Soft-start feature minimizes start-up shock, and makes the tool start smoothly.
Constant speed control
Electronic speed control for obtaining constant speed. Possible to get fine finish, because the rotating speed is kept constant even under the loaded condition.
Speed adjusting dial
|
This may result in personal injury. |
|
|
The tool speed can be changed by turning the speed adjusting dial to a given number setting from 1 to 6.
► Fig.4:

- Speed adjusting dial
Higher speed is obtained when the speed adjusting dial is turned in the direction of number 6. And lower speed is obtained when it is turned in the direction of number 1.
This allows the ideal speed to be selected for optimum material processing, i.e. the speed can be correctly adjusted to suit the material and bit diameter. Refer to the table for the relationship between the number settings on the dial and the approximate tool speed.
| Number | min-1 |
| 1 | 10,000 |
| 2 | 12,000 |
| 3 | 17,000 |
| 4 | 22,000 |
| 5 | 27,000 |
| 6 | 34,000 |
ASSEMBLY
| Always be sure that the tool is switched off and unplugged before carrying out any work on the tool. |
Installing or removing trimmer bit
|
|
There are two ways to install the trimmer bit. Perform either way.
With two wrenches
Insert the trimmer bit all the way into the collet cone and tighten the collet nut securely with one wrench while holding the neck with the other wrench.
► Fig.5:

- Tighten
- Loosen
- Neck
- Collet nut
With one wrench
Insert the trimmer bit all the way into the collet cone and tighten the collet nut securely with the wrench while pressing the shaft lock.
► Fig.6:

- Tighten
- Loosen
- Shaft lock
- Collet nut
To remove the trimmer bit, follow the installation procedure in reverse.
Changing the collet cone
|
|
- Loosen the collet nut and remove.
- Replace the installed collet cone with desired collet cone.
- Reinstall collet nut.
► Fig.7:

- Collet cone
- Collet nut
OPERATION
| Always hold the tool firmly with one hand on housing. Do not touch the metal part. |
For the base
| Before using the tool with the base, always install the dust nozzle on the base. |
► Fig.8:

- Dust nozzle
- Thumb screw
- Base
- Set the base on the workpiece to be cut without the trimmer bit making any contact.
- Turn the tool on and wait until the trimmer bit attains full speed.
- Move the tool forward over the workpiece surface, keeping the base flush and advancing smoothly until the cutting is complete.
► Fig.9

When doing edge cutting, the workpiece surface should be on the left side of the trimmer bit in the feed direction.
► Fig.10:

- Workpiece
- Bit revolving direction
- View from the top of the tool
- Feed direction
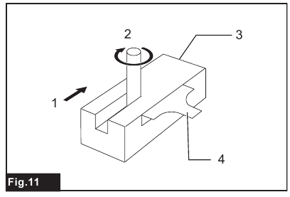
When using the straight guide or the trimmer guide, be sure to keep it on the right side in the feed direction. This will help to keep it flush with the side of the workpiece.
► Fig.11:

- Feed direction
- Bit revolving direction
- Workpiece
- Straight guide
NOTE: Moving the tool forward too fast may cause a poor quality of cut, or damage to the trimmer bit or motor. Moving the tool forward too slowly may burn and mar the cut. The proper feed rate will depend on the bit size, the kind of workpiece and depth of cut. Before beginning the cut on the actual workpiece, it is advisable to make a sample cut on a piece of scrap lumber. This will show exactly how the cut will look as well as enable you to check dimensions.
| Since excessive cutting may cause overload of the motor or difficulty in controlling the tool, the depth of cut should not be more than 3 mm at a pass when cutting grooves. When you wish to cut grooves more than 3 mm deep, make several passes with progressively deeper bit settings. |
Base (resin)
Optional accessory
You can use the base (resin) as an optional accessory as shown in the figure.
► Fig.12:

- Clamping screw
Place the tool onto the base (resin) and tighten the clamping screw at the desired protrusion of the trimmer bit.
For the operation procedures, refer to the operation for the base.
Templet guide
Optional accessory
The templet guide provides a sleeve through which the trimmer bit passes, allowing use of the trimmer with templet patterns.
► Fig.13

- Loosen the screws and remove the base protector.
► Fig.14:

- Base protector
- Screws
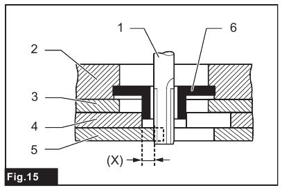
- Place the templet guide on the base, and place the base protector again. Then secure the base protector by tightening the screws.
- Secure the templet to the workpiece. Place the tool on the templet and move the tool with the templet guide sliding along the side of the templet.
► Fig.15:

- Trimmer bit
- Base
- Base protector
- Templet
- Workpiece
- Templet guide
NOTE: The workpiece will be cut a slightly different size from the templet. Allow for the distance (X) between the trimmer bit and the outside of the templet guide. The distance (X) can be calculated by using the following equation:
Distance (X) = (outside diameter of the templet guide - trimmer bit diameter) / 2
Straight guide
Optional accessory
The straight guide is effectively used for straight cuts when chamfering or grooving.
► Fig.16

- Attach the guide plate to the straight guide with the bolt and the wing nut.
► Fig.17:

- Bolt
- Guide plate
- Straight guide
- Wing nut
- Attach the straight guide assembly with the clamping screw.
► Fig.18:

- Clamping screw
- Straight guide
- Wing nut
- Base
- Loosen the wing nut on the straight guide assembly and adjust the distance between the trimmer bit and the straight guide. At the desired distance, tighten the wing nut securely.
- When cutting, move the tool with the straight guide flush with the side of the workpiece.
If the distance between the side of the workpiece and the cutting position is too wide for the straight guide, or if the side of the workpiece is not straight, the straight guide cannot be used. In this case, firmly clamp a straight board to the workpiece and use it as a guide against the trimmer base. Feed the tool in the direction of the arrow.
► Fig.19

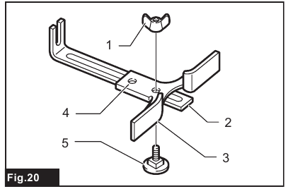
Circular work
Circular work may be accomplished if you assemble the straight guide and guide plate as shown in the figures. Min. and max. radius of circles to be cut (distance between the center of circle and the center of trimmer bit) are as follows:
Min.: 70 mm
Max.: 221 mm
For cutting circles between 70 mm and 121 mm in radius
► Fig.20:

- Wing nut
- Guide plate
- Straight guide
- Center hole
- Bolt
For cutting circles between 121 mm and 221 mm in radius
► Fig.21:

- Wing nut
- Guide plate
- Straight guide
- Center hole
- Bolt
NOTE: Circles between 172 mm and 186 mm in radius cannot be cut using this guide.
- Align the center hole in the straight guide with the center of the circle to be cut.
► Fig.22:

- Nail
- Center hole
- Straight guide
- Drive a nail less than 6 mm in diameter into the center hole to secure the straight guide.
- Pivot the tool around the nail in clockwise direction.
Trimmer guide
Optional accessory
Trimming, curved cuts in veneers for furniture and the like can be done easily with the trimmer guide. The guide roller rides the curve and assures a fine cut.
► Fig.23

- Install the trimmer guide and guide holder on the base with the clamping screw (A).
- Loosen the clamping screw (B) and adjust the distance between the trimmer bit and the trimmer guide by turning the adjusting screw (1 mm per turn). At the desired distance, tighten the clamping screw (B) to secure the trimmer guide in place.
► Fig.24:

- Adjusting screw
- Guide holder
- Trimmer guide
- When cutting, move the tool with the guide roller riding the side of the workpiece.
► Fig.25:

- Workpiece
- Trimmer bit
- Guide roller
Tilt base
Optional accessory
The tilt base is used for trimming the edge of laminate sheet or similar materials.
The tilt base is convenient for chamfering.
- Place the tool onto the tilt base, loosen the clamping screws, and tilt the tool at the desired angle.
- Close the locking lever at the desired protrusion of the trimmer bit, and tighten the clamping screws at the desired angle.
- Firmly clamp a straight board to the workpiece and use it as a guide against the tilt base. Feed the tool in the direction of the arrow.
► Fig.26:

- Clamping screws
- Locking lever
Using the tilt base protector with the base
The tilt base protector (square) removed from the tilt base can be mounted on the base. The shape of the base protector can be changed from round to square.
- Remove the tilt base protector from the tilt base by loosening and removing the four screws.
- Mount the tilt base protector on the base.
► Fig.27:

- Tilt base protector
- Screw
Offset base
Optional accessory
The offset base is used for trimming the edge of laminate sheet or similar materials.
The offset base is convenient for work in a tight area.
► Fig.28

Using the tool with the offset base
- Before installing the tool on the offset base, remove the collet nut and collet cone by loosening the collet nut.
► Fig.29:

- Pulley
- Collet nut
- Collet cone
- Install the pulley on the tool by pressing the shaft lock and firmly tightening the pulley with a wrench.
► Fig.30:

- Wrench
- Pulley
- Shaft lock
- Place the collet cone and screw the collet nut on the offset base as shown in the figure.
► Fig.31:

- Collet nut
- Collet cone
- Mount the offset base on the tool.
► Fig.32

- Hook the belt over the pulley using a screwdriver and make sure that its entire belt width fits over the pulley completely.
► Fig.33:

- Pulley
- Belt
- Close the locking lever.
► Fig.34:

- Locking lever
- Install the trimmer bit as follows.
Lay down the tool with the offset base. Insert the hex wrench into the hole in the offset base.
With the hex wrench held in the position as shown in the figure, insert the trimmer bit into the collet cone on the shaft of the offset base from the opposite side and tighten the collet nut firmly with a wrench.
► Fig.35:

- Wrench
- Hex wrench
- Trimmer bit
- To remove the trimmer bit, follow the installation procedure in reverse.
Using the base with the offset base plate and grip attachment
The offset base can also be used with a base and a grip attachment (optional accessory) for more stability.
► Fig.36

- Loosen the screws and remove the upper section from the offset base. Put aside the upper section of the offset base.
► Fig.37:

- Screws
- Offset base plate
- Upper section of the offset base
- Mount the offset base plate with four screws and the grip attachment with two screws on the offset base plate. Screw a bar type grip (optional accessory) onto the grip attachment. In another way of use, the knob type grip which is removed from a plunge base (optional accessory) can be installed on the grip attachment. To install the knob type grip, place it on the grip attachment and secure it with a screw.
With bar type grip
► Fig.38:

- Bar type grip
- Grip attachment
- Offset base plate
With knob type grip
► Fig.39:

- Screw
- Knob type grip
- Grip attachment
Using the tool with the plunge base
Optional accessory
| When using as a router, hold the tool firmly with both hands. |
- To use the tool as a router, install the tool on a plunge base (optional accessory) by pressing it down fully. Either knob type grip or bar type grip (optional accessory) can be used according to your work.
► Fig.40:

- Plunge base
- Bar type grip
- To use the bar type grip (optional accessory), loosen the screw and remove the knob type grip.
► Fig.41:

- Screw
- Knob type grip
- Screw the bar type grip on the base.
► Fig.42:

- Bar type grip
Adjusting the depth of cut when using the plunge base (optional accessory)
| Always hold the tool firmly by both grips during operation. |
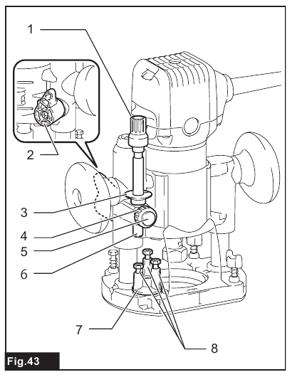
► Fig.43:

- Adjusting knob
- Lock lever
- Depth pointer
- Stopper pole setting nut
- Fastfeed button
- Stopper pole
- Stopper block
- Adjusting hex bolt
- Place the tool on a flat surface. Loosen the lock lever and lower the tool body until the trimmer bit just touches the flat surface. Tighten the lock lever to lock the tool body.
- Turn the stopper pole setting nut counterclockwise. Lower the stopper pole until it makes contact with the adjusting hex bolt. Align the depth pointer with the "0" graduation. The depth of cut is indicated on the scale by the depth pointer.
- While pressing the fast-feed button, raise the stopper pole until the desired depth of cut is obtained. Minute depth adjustments can be obtained by turning the adjusting knob (1 mm per turn).
- By turning the stopper pole setting nut clockwise, you can fasten the stopper pole firmly.
- Now, your predetermined depth of cut can be obtained by loosening the lock lever and then lowering the tool body until the stopper pole makes contact with the adjusting bolt of the stopper block.
- Set the base on the workpiece to be cut without the trimmer bit making any contact.
- Turn the tool on and wait until the trimmer bit attains full speed.
- Lower the tool body and move the tool forward over the workpiece surface, keeping the base flush and advancing smoothly until the cutting is complete.
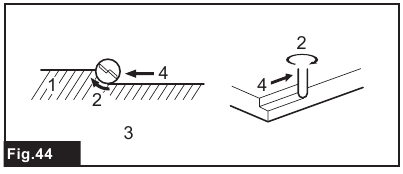
When doing edge cutting, the workpiece surface should be on the left side of the trimmer bit in the feed direction.
► Fig.44:

- Workpiece
- Bit revolving direction
- View from the top of the tool
- Feed direction
When using the straight guide or the trimmer guide, be sure to keep it on the right side in the feed direction. This will help to keep it flush with the side of the workpiece.
► Fig.45:

- Feed direction
- Bit revolving direction
- Workpiece
- Straight guide
NOTE: Moving the tool forward too fast may cause a poor quality of cut, or damage to the trimmer bit or motor. Moving the tool forward too slowly may burn and mar the cut. The proper feed rate will depend on the bit size, the kind of workpiece and depth of cut. Before beginning the cut on the actual workpiece, it is advisable to make a sample cut on a piece of scrap lumber. This will show exactly how the cut will look as well as enable you to check dimensions.
Straight guide for guide holder
Optional accessory
The straight guide is effectively used for straight cuts when chamfering or grooving.
► Fig.46:

- Bolt
- Guide holder
- Wing nut (A)
- Bolt
- Wing nut (B)
- Guide plate
- Straight guide
- Wing bolts
- Install the straight guide assembly on the guide holder (optional accessory) with the bolt and wing nut (A).
- Insert the guide holder into the holes in the plunge base and tighten the wing bolts.
- To adjust the distance between the trimmer bit and the straight guide, loosen the wing nut (B). At the desired distance, tighten the wing nut (B) to secure the straight guide in place.
Straight guide
Optional accessory
The straight guide is effectively used for straight cuts when chamfering or grooving.
► Fig.47

- Insert the guide bars into the holes in the plunge base.
► Fig.48:

- Guide bar
- Wing nut
- Straight guide
- Adjust the distance between the trimmer bit and the straight guide. At the desired distance, tighten the wing nuts to secure the straight guide in place.
- When cutting, move the tool with the straight guide flush with the side of the workpiece.
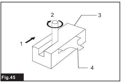
If the distance between the side of the workpiece and the cutting position is too wide for the straight guide, or if the side of the workpiece is not straight, the straight guide cannot be used. In this case, firmly clamp a straight board to the workpiece and use it as a guide against the router base. Feed the tool in the direction of the arrow.
► Fig.49

Templet guide
Optional accessory
The templet guide provides a sleeve through which the trimmer bit passes, allowing use of the trimmer with templet patterns.
► Fig.50

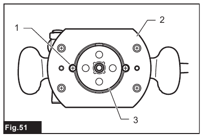
- Loosen the screws on the tool base, insert the templet guide and then tighten the screws.
► Fig.51:

- Screw
- Base
- Templet guide
- Secure the templet to the workpiece. Place the tool on the templet and move the tool with the templet guide sliding along the side of the templet.
► Fig.52:

- Trimmer bit
- Base
- Base protector
- Templet
- Workpiece
- Templet guide
NOTE: The workpiece will be cut a slightly different size from the templet. Allow for the distance (X) between the trimmer bit and the outside of the templet guide. The distance (X) can be calculated by using the following equation:
Distance (X) = (outside diameter of the templet guide - trimmer bit diameter) / 2
Dust nozzle sets
Use the dust nozzle for dust extraction.
For the base
Install the dust nozzle on the tool base using the thumb screw.
► Fig.53:

- Dust nozzle
- Thumb screw
- Base
For the plunge base
Optional accessory
- Install the dust nozzle on the plunge base using the thumb screw so that protrusion on the dust nozzle fit to the notch in the plunge base.
► Fig.54:

- Dust nozzle
- Thumb screw
- Plunge base
- Connect a vacuum cleaner to the dust nozzle.
► Fig.55

MAINTENANCE
| Always be sure that the tool is switched off and unplugged before attempting to perform inspection or maintenance. |
NOTICE: Never use gasoline, benzine, thinner, alcohol or the like. Discoloration, deformation or cracks may result.
To maintain product SAFETY and RELIABILITY, repairs, any other maintenance or adjustment should be performed by Makita Authorized or Factory Service Centers, always using Makita replacement parts.
Replacing carbon brushes
► Fig.56:

- Limit mark
Check the carbon brushes regularly.
Replace them when they wear down to the limit mark. Keep the carbon brushes clean and free to slip in the holders. Both carbon brushes should be replaced at the same time. Use only identical carbon brushes.
- Use a screwdriver to remove the brush holder caps.
- Take out the worn carbon brushes, insert the new ones and secure the brush holder caps.
► Fig.57:

- Brush holder cap
OPTIONAL ACCESSORIES
| These accessories or attachments are recommended for use with your Makita tool specified in this manual. The use of any other accessories or attachments might present a risk of injury to persons. Only use accessory or attachment for its stated purpose. |
If you need any assistance for more details regarding these accessories, ask your local Makita Service Center.
- Straight & groove forming bits
- Edge forming bits
- Laminate trimming bits
- Straight guide assembly
- Trimmer guide assembly
- Base assembly (resin)
- Tilt base assembly
- Plunge base assembly
- Offset base assembly
- Templet guide
- Collet cone
- Wrench
- Dust nozzle
- Guide rail
- Guide rail adapter set
- Straight guide with micro adjustment
- Side grip
- Grip attachment
NOTE: Some items in the list may be included in the tool package as standard accessories. They may differ from country to country.
Trimmer bits
Straight bit
► Fig.58

| D | A | L1 | L2 |
| 6 | 20 | 50 | 15 |
| 1/4' | |||
| 8 | 8 | 60 | 25 |
| 6 | 50 | 18 | |
| 1/4' | |||
| 6 | 6 | 50 | 18 |
| 1/4' |
Unit: mm
U-grooving bit
► Fig.59

| D | A | L1 | L2 | R |
| 6 | 6 | 60 | 28 | 3 |
| 1/4' |
Unit: mm
V-grooving bit
► Fig.60

| D | A | L1 | L2 | θ |
| 1/4' | 20 | 50 | 15 | 90° |
Unit: mm
Drill point flush trimming bit
► Fig.61

| D | A | L1 | L2 | L3 |
| 8 | 8 | 60 | 20 | 35 |
| 6 | 6 | 60 | 18 | 28 |
| 1/4' |
Unit: mm
Drill point double flush trimming bit
► Fig.62

| D | A | L1 | L2 | L3 | L4 |
| 8 | 8 | 80 | 95 | 20 | 25 |
| 6 | 6 | 70 | 40 | 12 | 14 |
| 1/4' |
Unit: mm
Corner rounding bit
► Fig.63

| D | A1 | A2 | L1 | L2 | L3 | R |
| 6 | 25 | 9 | 48 | 13 | 5 | 8 |
| 1/4' | ||||||
| 6 | 20 | 8 | 45 | 10 | 4 | 4 |
| 1/4' |
Unit: mm
Chamfering bit
► Fig.64

| D | A | L1 | L2 | L3 | θ |
| 6 | 23 | 46 | 11 | 6 | 30° |
| 6 | 20 | 50 | 13 | 5 | 45° |
| 6 | 20 | 49 | 14 | 2 | 60° |
Unit: mm
Cove beading bit
► Fig.65

| D | A | L1 | L2 | R |
| 6 | 20 | 43 | 8 | 4 |
| 6 | 25 | 48 | 13 | 8 |
Unit: mm
Ball bearing flush trimming bit
► Fig.66

| D | A | L1 | L2 |
| 6 | 10 | 50 | 20 |
| 1/4' |
Unit: mm
Ball bearing corner rounding bit
► Fig.67

| D | A1 | A2 | L1 | L2 | L3 | R |
| 6 | 15 | 8 | 37 | 7 | 3.5 | 3 |
| 6 | 21 | 8 | 40 | 10 | 3.5 | 6 |
| 1/4' | 21 | 8 | 40 | 10 | 3.5 | 6 |
Unit: mm
Ball bearing chamfering bit
► Fig.68

| D | A1 | A2 | L1 | L2 | θ |
| 6 | 26 | 8 | 42 | 12 | 45° |
| 1/4' | |||||
| 6 | 20 | 8 | 41 | 11 | 60° |
Unit: mm
Ball bearing beading bit
► Fig.69

| D | A1 | A2 | A3 | L1 | L2 | L3 | R |
| 6 | 20 | 12 | 8 | 40 | 10 | 5.5 | 4 |
| 6 | 26 | 12 | 8 | 42 | 12 | 4.5 | 7 |
Unit: mm
Ball bearing cove beading bit
► Fig.70

| D | A1 | A2 | A3 | A4 | L1 | L2 | L3 | R |
| 6 | 20 | 18 | 12 | 8 | 40 | 10 | 5.5 | 3 |
| 6 | 26 | 22 | 12 | 8 | 42 | 12 | 5 | 5 |
Unit: mm
Ball bearing roman ogee bit
► Fig.71

| D | A1 | A2 | L1 | L2 | L3 | R1 | R2 |
| 6 | 20 | 8 | 40 | 10 | 4.5 | 2.5 | 4.5 |
| 6 | 26 | 8 | 42 | 12 | 4.5 | 3 | 6 |
Unit: mm
Download manual
Here you can download full pdf version of manual, it may contain additional safety instructions, warranty information, FCC rules, etc.
Download Makita RT0702C, RT0702CX3J Manual
/II
Need help?
Do you have a question about the RT0702C and is the answer not in the manual?