Husqvarna Z242F Manual
Also See for Z242F:
Husqvarna Z242F Manual

Introduction

Product description
This product is a grass collection system. The collected grass can be used as compost for the lawn or plant beds, or disposed as yard waste.

Intended use
This product is made to collect grass clippings during mow operation to give your lawn a manicured look.

Do not use the product for other tasks.

Product overview
Product overview

  1. Operator's manual
  1. Side discharge chute
  2. Collector chute
  3. Full bag indicator
  4. Hood
  5. Bag
  6. Collector bracket
  1. Front weight
  1. Hardware bag
  2. Carriage bolt, 5/16-18x3/4
  3. Nut, 5/16
  4. Spacer
  5. Washer
  6. Hex bolt, 5/16-18x
  7. Carriage bolt, 5/16-18x1-1/4
  8. Hex bolt, 5/16-18x2-1/4
  9. Hex bolt, 3/8-16x3-1/2
  10. Hex bolt, 3/8-16x2-1/2 19. Nut, 3/8
  11. Hex bolt, 3/8-16x2-1/4
  12. Reinforcement plate

Product damage
We are not responsible for damages to our product if:

  • the product is incorrectly repaired.
  • the product is repaired with parts that are not from the manufacturer or not approved by the manufacturer.
  • the product has an accessory that is not from the manufacturer or not approved by the manufacturer.
  • the product is not repaired at an approved service center or by an approved authority.

Installation

Introduction

Read and understand the safety chapter before you install the product.

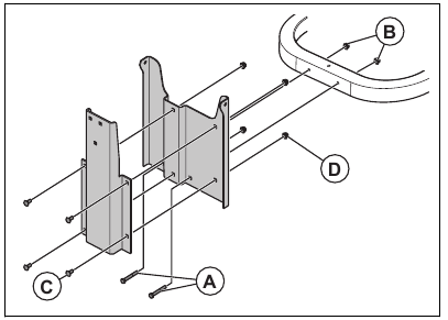
To install the collector bracket

  1. Install the support bracket on the frame with 2x 5/16-18x2-1/4 hex bolts (A) and 2x 5/16 nuts (B).
    To install the collector bracket - Step 1
  1. Install the hanger bracket to the support bracket with 4x 5/16-18x3/4 carriage bolts (C) and 4x 5/16 nuts (D).
  2. Install the support straps to the support bracket.
    To install the collector bracket - Step 2
  1. Install the straps (E) to the support bracket with 2x 5/16-18x1-1/4 carriage bolts (F) and 2x 5/16 nuts (G).
  2. Install the straps to the tank brackets with 4x 5/16-18x1 hex bolts (H), 2x spacer (I), 2x washer (J), 2x reinforcement plates (K), and 4x 5/16 nuts (L).

To install the collector hood

  1. Install the collector bracket.
  1. Put the collector hood on the collector bracket.
    To install the collector hood

To install the side discharge chute

  1. Lift the side discharge cover.
  2. Put the side discharge chute around the cover bracket.
  3. Attach the side discharge chute latches to the mower deck.
    To install the side discharge chute

To install the collector chute

  1. Put the collector chute onto the side discharge chute.
  2. Attach the strap.
    To install the collector chute
  1. Put the collector chute into the opening on the collector hood.

To install the bags

  1. Tilt the collector hood.
  2. Put the 2 bags on the support frame.
  3. Close the collector hood.
    To install the bags

To install the front weight


Do not use the collection system without front weights.

  1. Install the front weight plates to the brackets with 4x 3/8-16x2-1/4 hex bolts (A) and 4x 3/8 nuts (B). Do not fully tighten the nuts.
    To install the front weight - Step 1
  2. Align the holes in the brackets with the holes in the frame.
    To install the front weight - Step 2
  3. Install the 3/8-16x3-1/2 bolts (C) and the 3/8 nuts (D).
  4. Tighten all nuts.

Operation

Introduction

Before you operate the product, you must read and understand the safety chapter.

To operate the product

  • Obey the operation instructions in the Operator´s manual for the mower.
  • Operate the engine at full speed when you use the collection system.
  • Move the product forward at low speed to get a good cutting result and good collection result.
  • Cut the grass 2 times if grass is high and thick. The first cut must be at the highest cutting height and the second time at the correct height.
  • Use the left side of the mower to cut near objects.
  • Do not cut a wet lawn. Wet grass is more possible to become clogged in the collection system.
  • Empty the collection bags if the collection system does not collect the cut grass. Make sure that the collector chute is not clogged if the problem stays when the collection bags are empty.
  • Stop the mower and make sure that the collection system is not damaged if you hit a loose object.
  • Prevent the collector chute from being twisted.
  • Do not drag the collector chute along the sides of buildings or other hard surfaces.

Maintenance

Introduction

Before you do any maintenance work you must read and understand the safety chapter.

Maintenance schedule

* = The instructions are not given in this operator's manual.
X = The instructions are given in this operator's manual.
O = Refer to the engine manual for instructions.

Maintenance schedule for the operator

Maintenance Daily maintenance Maintenance interval in hours
Before use 5 25 50
Do a check of and clean the collection bags. X X
Make sure that the nuts and screws are tightened. X
Make sure that the collector chute is tightened. X
Clean the product. X

To clean the product

  • Use a brush to remove unwanted material and grass on the product.
  • If it is necessary, use a high-pressure washer and a weak cleaning agent. Do not exceed 1000 psi (68.9 Bar) water pressure.

Troubleshooting

Troubleshooting schedule
If you cannot find a solution to your problems in this operator's manual, speak to your Husqvarna service agent.

Problem Cause

Loss of air flow

The collector chute or the collector cover inlet are clogged.
The container is full.
The fabric in the collector is clogged.

Unusual vibrations or noise

A solid object is in the collector.
Loose or missing screws or nuts.

The collector cover is hard to close

Objects in the collector cause a blockage of the collector cover.
The collector cover hinge screws are too tight.

Transportation, storage and disposal

Transportation

  • Do not tow the product.
  • The product is heavy and can cause crush injuries. Be careful when you load it onto or off a vehicle or trailer.
  • Load the product in reverse on approved ramps of a maximum operation angle of 10°. Do not lift the product.
  • Use an approved trailer for transportation of the product.
  • Make sure that you have knowledge of local road traffic regulations before transportation of the product in a trailer or on roads.
  • Lock the product with approved devices, such as straps. Use tie-down points on the product or applicable areas of the frame. The parking brake is not sufficient to lock the product during transportation.

Storage
Prepare the product for storage at the end of the season, and before more than 30 days of storage. If you keep fuel in the fuel tank for 30 days or more, tacky particles can cause blockage in the carburetor. This has a negative effect on the engine function.

To prevent tacky particles during storage, add a stabilizer. If alkylate gasoline is used, stabilizer is not necessary. If you use standard gasoline, do not change to alkylate gasoline. This can cause sensitive rubber parts to become hard. Add stabilizer to the fuel in the tank or in the container used for storage. Always use the mixing ratios given by the manufacturer. Add the stabilizer and run the engine for a minimum of 10 minutes, until the fuel flows into the carburetor.


Do not keep the product with fuel in the tank in an indoor location or in locations with bad airflow. Risk of fire if fuel fumes come near open flames, sparks, or pilot lights in for example boilers, hot water tanks and clothes dryers.


Remove grass, leaves and other flammable materials from the product to decrease the risk of fire. Let the product become cool before you put it in storage.

  • Clean the product.
  • Remove unwanted materials from the cooling fan.
  • Repair paint damages to prevent corrosion.
  • Examine the product for worn or damaged parts and tighten loose screws and nuts.
  • Remove the battery. Clean it, charge it, and keep it cool during storage.
  • Replace the engine oil, and discard the waste oil.
  • Empty the fuel tank. Start the engine and run it until there is no remaining fuel in the carburetor.

information Note: Do not empty the fuel tank and carburetor if a stabilizer has been added.

  • Remove the plugs and put about a tablespoon of engine oil into each cylinder. Manually turn the engine shaft to apply the oil and put the plugs back on.
  • Lubricate all grease nipples, joints and axles.
  • Keep the product in a clean and dry area and put a cover on it for more protection.

Safety

Safety definitions

Warnings, cautions and notes are used to point out specially important parts of the manual.


Used if there is a risk of injury or death for the operator or bystanders if the instructions in the manual are not obeyed.


Used if there is a risk of damage to the product, other materials or the adjacent area if the instructions in the manual are not obeyed.

information Note: Used to give more information that is necessary in a given situation

General safety instructions


Read the warning instructions that follow before you use the product


This product is capable of amputating hands and feet and throwing objects. Failure to observe the following safety instructions could result in serious injury or death.


Failure to follow cautious operating practices can result in dangerous injury to the operator or other persons. The owner must understand these instructions, and must let only approved persons who understand these instructions to operate the mower. Each person operating the mower must be of sound mind and body and must not be under the influence of mind altering substances.

  • Read, understand, and follow instructions and warnings in this document, the operator's manual and on the product, engine and attachments.
  • Only allow operators, who are responsible, trained, familiar with the instructions, and physically capable to operate the product.
  • Make sure to inform a person that you are going to operate the product if an injury or accident occurs.
  • Do not carry passengers and keep bystanders away.
  • Do not operate the product while under the influence of alcohol or drugs.
  • Follow the manufacturer's recommendation for wheel weights or counterweights.
  • Learn how to use the product and its controls safely and learn how to stop the product quickly.
  • Learn to recognize the safety decals.
  • Keep the product clean to make sure that you can clearly read signs and stickers.
  • Keep in mind that the operator will be held responsible for accidents that involve other persons or their property.
  • Only use the product in daylight or in other well-lit conditions. Keep the product at a safe distance from holes or other irregularities in the ground. Look out for other possible risks.
  • Do not let children or other persons not approved for operation of the product to use or do servicing on it. Local laws may regulate the age of the user.
  • Make sure that nobody else is in the vicinity of the product when you start the engine, engage the drive or start to move the product.
  • Keep an eye on the traffic when you mow near a road or move across a road.
  • Do not use the product if you are fatigued, while under the influence of alcohol or drugs, medicine or anything that can have a negative effect on your vision, alertness, coordination or judgement.
  • Always park the product on a level surface with the engine stopped.
  • Do not modify or install non-standard equipment to the unit without consent from the manufacturer. Modifications to the unit may cause unsafe operations or damage the unit.

Safety instructions regarding children


Children can be seriously injured or killed by this product. Read the warning instructions that follow before you use the product. Keep children away.

  • Tragic accidents can occur if the operator is not alert to the presence of children. Children are often attracted to the product and the mowing activity. Never assume that children will remain where you last saw them.
  • Keep children out of the operating area and under the watchful care of a responsible adult other than the operator.
  • Keep an eye out and stop the product immediately, if children enter the work area. Be very careful near corners, bushes, trees or other objects that prevents a clear view.
  • Use extreme care when going near blind corners, shrubs, trees, or other objects that can block your view of a child.
  • Before and while you move the product in reverse, look behind you and look down for small children.
  • Do not let children operate the product.
  • The American Academy of Paediatrics recommends that children be a minimum of 16 years of age before operating a riding lawn mower.
  • Do not carry children, even with the blade(s) shut off. Children could fall off and be seriously injured or interfere with safe product operation. Children who have been given rides in the past could suddenly appear in the mowing area for another ride and be run over or backed over by the product.

Safety instructions for operation


Read the warning instructions that follow before you use the product.

  • Do not operate the mower if the collector is not fully installed.
  • Do not operate the mower with the collection system if the front weights are not installed.
  • Make sure that all moving parts stop before you open the collection system.
  • Make sure that all moving parts stop before you remove clogged grass from the collection system.
  • Clear the area of objects such as stones, toys, wires, etc. that may become caught in the blades and be thrown out.
  • Only let responsible adults operate the product.
  • Make sure that the area is clear of all people and pets before mowing. Stop the product if anyone enters the area.
  • Decrease speed before turning.
  • Decrease the speed before you turn around a corner.
  • Disengage the blades when the product does not mow.
  • Close the collector cover before you start the product.
  • Disengage the mower blades when you move the product across areas where thrown objects can be dangerous.
  • Do not try to collect objects that can be thrown from the collection system.
  • Use eye protection when you use the product. Thrown objects can cause eye damage.
  • Make sure that the collection bags are empty after each use and before storage. Grass left in the collection bags may result in spontaneous combustion and could start a fire.
  • Data shows that operators age 60 years and above are involved in a large percentage of riding mower-related injuries. These operators must evaluate if they can safely operate the riding mower sufficiently to protect themselves and others from injury.

Safety instructions before installation of the collection system


Read the warning instructions that follow before you use the product.

  • Park on level ground.
  • Set parking brake.
  • Set the control levers in the neutral position.
  • Stop the engine and remove the ignition key.
  • Make sure that all moving parts stop before you install the collection system.

Safety instructions for operation on slopes


Read the warning instructions that follow before you use the product.

Slopes are a major factor related to accidents. Operation on slopes requires extra caution.

  • Travel in the manufacturer recommended direction on slopes. Use caution while operating near dropoffs.
  • Avoid mowing wet grass. The tires can lose traction.
  • Do not operate product under any condition where traction, steering, or stability is in question. Tires could slide even if the wheels are stopped.
  • Always keep the product in gear when going down slopes. Do not coast downhill.
  • Avoid starting and stopping on slopes. Avoid making sudden changes in speed or direction. Make turns slowly and gradually.
  • If the tires lose traction, disengage the blades and continue slowly straight down the slope.
  • Use extra care while operating product with a grass catcher or other attachment(s). They can affect the stability of the product.
  • To cut grass on slopes increases the risk that you can not control the product and that it overturns. This can cause injury or death. It is necessary to cut the grass carefully on all slopes. If you cannot reverse up a slope or if you do not feel safe, do not cut it.
  • Remove stones, branches and other obstacles.
  • Cut the grass on the slope up and down, not from side to side.
  • Do not operate the product on ground that slopes more than 10°.
  • Move smoothly and slowly on slopes.
  • Look out for and do not move across furrows, holes and bumps. There is a higher risk that the product overturns on ground that is not flat. Long grass can hide obstacles.
  • Do not cut grass near edges, ditches or banks. Keep at least the width of the machine away from these hazards. The product can suddenly overturn if a wheel moves across the edge of a steep slope or a ditch, or if an edge gives way.

Safety instructions for maintenance


Read the warning instructions that follow before you use the product.


The product is heavy and can cause injury or damage to property or the adjacent area. Do not do maintenance on the engine or the cutting deck without these conditions:

  • The engine is off.
  • The product is parked on a level surface.
  • The parking brake is applied.
  • The ignition key in stop position and removed.
  • The blades are disengaged.
  • All moving parts have stopped.
  • The ignition cables are removed from the spark plugs.


Fluid escaping under pressure may have sufficient force to penetrate skin and cause serious injury. If fluid is injected into the skin, seek immediate medical attention. Keep body and hands away from pin holes or nozzles that eject fluid under high pressure. If a leak occurs, have the product immediately serviced by a trained technician.


The exhaust fumes from the engine contain carbon monoxide, an odorless, poisonous and very dangerous gas. Do not run the product in closed spaces or spaces with no sufficient air flow.

  • Keep the product in good working order. Replace worn or damaged parts.
    Use caution when servicing blades. Wrap the blade(s) or wear gloves. Replace damaged blades. Do not repair or alter blade(s).
    If equipped, disconnect spark plug wire(s) and the negative battery cable before making any repairs.
    For best performance and safety, do maintenance on the product regularly as given in the maintenance schedule. Refer to Maintenance schedule.
  • Electrical shocks can cause injuries. Do not touch the cables when the engine is on. Do not do a function test on the ignition system with your fingers.
  • Let the product become cool before you do maintenance near the engine.
  • The blades are sharp and can cause cuts. Wind protection around the blades or use protective gloves when you do work on the blades.
  • Do not turn the engine over if the spark plug or ignition cable is removed.
  • Make sure that all nuts and bolts are tightened correctly and that the equipment is in good condition.
  • Do not change the adjustment of governors. If the engine speed is too high, the product components can become damaged.
  • The product is approved only with the equipment supplied or recommended by the manufacturer.
  • Use only original parts for repairs. The use of other parts voids the warranty.

Documents / Resources

Download manual

Here you can download full pdf version of manual, it may contain additional safety instructions, warranty information, FCC rules, etc.

Download Husqvarna Z242F Manual

Available languages

Need help?

Need help?

Do you have a question about the Z242F and is the answer not in the manual?

Questions and answers

Table of Contents