Haier HWD80-B14939, HWD90-B14939, HWD100-B14939 - Washing Machine Manual
![]()
Product description
Note: Deviations Due to technical changes and different models, the illustrations in the following chapters may differ from your model. |
Picture of appliance
Front
![Haier - HWD80-B14939S8 - Overview- Front Overview- Front]()
- Detergent / Softener drawer
- Worktop
- Programme selector
- Control panel
- Washer door
- Service flap
- Adjustable feet
Rear side
![Haier - HWD80-B14939S8 - Overview - Rear side Overview - Rear side]()
- Transportation bolts (T1-T4)
- Back cover
- Back cover screws (S1-S6)
- Power cord
- Water inlet valve
- Drain hose
![]()
Control panel
![Haier - HWD80-B14939S8 - Control panel Control panel]()
- Programme selector
- Display
- Detergent/Softenener drawer
- Function buttons
- "Start/Pause" button
| Note: Acoustic signal In following cases, an acoustic signal is no sounds by default: - when pressing a button
- when turning the programme selector
- at the end of programme
The acoustic signal can be selected if necessary: see DAILY USE |
OFF
Turn the knob to any position (except OFF) to start the machine. Turn knob the OFF position to shut down the machine (Fig. 3-2).
![]()
Programme selector
By turning the knob (Fig. 3-3), one of 15 programmes (the OFF is not included) that can be selected, its default settings will be displayed.
![]()
Display
The display (Fig. 3-4) shows following information:
![]()
- Washing time
- End time delay
- Error codes and service information
- Function buttons and "Start/Pause" button
- Steam washing
- Locking the door
- Child lock
- Dry
Detergent drawer
Open dispenser drawer, the following components can be seen (Fig. 3-5):
![Haier - HWD80-B14939S8 - Detergent drawer Overview Detergent drawer Overview]()
- Compartment for powder or liquid detergent
- Detergent flap slector, lift it up for powder detergent, keep it down for liquid detergent.
- Compartment for softener.
- Lock tab, press it down to pull out dispenser drawer The recommendation on the type of the detergents is suitable for the various washing temperatures. Please refer to the manual of detergent.
The function buttons (Fig. 3-6) enables additional options in the selected programme before programme starts. The related indicators are displayed. By switching off the appliance or setting up a new programme, all options are disabled. If a button has multiple options, the desired option can be selected by pressing the button sequentially. By pressing the buttons, the function is selected.
![Haier - HWD80-B14939S8 - Function buttons Function buttons]()
Note: Factory settings To get the best results in each programme Haier has well defined specific default settings. If there is no special requirement default settings are recommended. |
3.5.1-Function button "Delay"
Press this button (Fig. 3-7) to start the programme with a delay. End time delay could be increased in steps of 30 minutes from 0,5-24h (End time will be longer than original programme time). For example display off 6:30 means end of programme cycle will be in 6 hours and 30 minutes. Press "Start/Pause" button to activate the time delay. It is not applicable to programme "Spin", Refresh, Dry, Self clean".
![]()
Note: Liquid detergent If using liquid detergent, it is not recommended to activate the end time delay. |
3.5.2 Function button"Dry Level"
Press this button (Fig.3-8) to change or deselect the dry level of the programme according to the needs.
DL-1:
Press Dry level button, the display dL-1, it means that clothes will be good for ironing after drying.
DL-2
Press Dry level button, the display dL-2, it means that clothes can be directly worn after drying.
DL-3
Press Dry level button, the display dL-3, it means that clothes can be stored directly after drying. By press the button sequentially, drying time can be set 30, 60, 90,120, 150 minutes, the drying icon lights up. If the display show or no value the display "0", the drying function is deactivated, the drying icon is not lit.
3.5.3 Function button"Temp."
Press this button (Fig. 3-9) to change the washing temperature of the programme. If no value is illuminated (the display"-- °C") the water will not be heated.
![]()
3.5.4 Function button"Speed"
Press this button (Fig. 3-10) to change or deselect the spin of the programme. If no value is illuminated the display"0" the laundry will not spin.
![]()
3.5.5 Function button"Extra Rinse"
Press this button (Fig. 3-11) to rinse the laundry more intense with fresh water. This is recommended for people with sensitive skin. By Pressing the button several times zero to three additional cycles can be selected.
![]()
They appear in the display with P--0/P--1/P--2/P--3. Diffselcet speederent programme optiones are diff erent.
Press this button (Fig. 3-12) gently to start or interrupt the current programme. During programme setting and during programme run the LED above the button is shining, or if interrupted blinking.
![]()
Child lock
Choosing a programme and then start, press button "Delay" and "Dry level" ( Fig.3-13) for 3 seconds simultaneously to block all panel elements against activation, panel display
.For unlocking please press again the two buttons. The child lock indicator lights up when the child lock works. Feature is optional when the machine is running.
![]()
The display shows
(Fig. 3-14) if a button will be pressed, when the child lock is activated. The change is not running. .
![]()
Note: Procedure to check the number of cycles that the machine has run Procedure: under standby mode, select "Cotton" programme first, then press "Temp." and "Speed" at the same time, it will display the number of running cycles for 2 seconds, and then back to standby interface. The cumulativer running cycles will add 1 after the programme ends. The running cycles will be displayed in hexadecimal if it is over 9999. |
Programmes
![Haier - HWD80-B14939S8 - Programmes Programmes]()
* Water is not heated up.
1) Choose 90°C wash temperature only for special hygienic requirements.
2) Reduce detergent amount because programme duration is short.
3) After using the Refresh program, clothes need to be dried because they are using steam to remove odors. Make sure the water pressure is up to standard and don't add washing powder or detergent.
4) Relating to dry laundry.
The design and specifications are subject to change without notice for quality improvement purposes.
Consumption
Scan QR code on energy label for energy consumption information.
The actual energy consumption may diff er from the declared one according to local conditions.
| Note: Auto Weight The appliance is equipped with a loading recognition. At low loading, energy, water and washing time will be reduced automatically in some programmes. The display default time may vary depending on the load weight, involving the " Mix, Synthetics, Cotton, Cotton 20°C, Eco 40-60" programme. |
Indicative information(as per Commission Regulation (EU) 2019/2023):
Rated Capacity | Programme | ![]() (kg) | ![]() (HH:MM) | ![]() (kWh/cycle) | ![]() (L/cycle) | Max. Temperature (°C) | Effective Speed (RPM) | ![]() Residual Moisture (%) |
| 8 kg | Eco 40-60 | 8.0 | 3:38 | 0.680 | 62.0 | 30 | 1530 | 53.0 |
| Eco 40-60 | 4.0 | 2:45 | 0.475 | 41.0 | 30 | 1530 | 52.0 |
| Eco 40-60 | 2.0 | 2:40 | 0.245 | 31.0 | 25 | 1530 | 55.0 |
| Cotton 20°C | 8.0 | 1:00 | 0.320 | 75.0 | 20 | 1000 | 65.0 |
| Cotton 60°C | 8.0 | 1:40 | 1.800 | 75.0 | 57 | 1600 | 50.0 |
| Wool 30°C | 2.0 | 0:45 | 0.350 | 38.0 | 30 | 800 | 37.0 |
| Quick15'30°C | 2.0 | 0:23 | 0.350 | 38.0 | 30 | 1000 | 65.0 |
| 9 kg | Eco 40-60 | 9.0 | 3:48 | 0,760 | 70.0 | 32 | 1550 | 52.0 |
| Eco 40-60 | 4.5 | 2:52 | 0,525 | 44.0 | 32 | 1550 | 52.0 |
| Eco 40-60 | 2.5 | 2:45 | 0.248 | 33.0 | 25 | 1550 | 54.0 |
| Cotton 20°C | 9.0 | 1:10 | 0.330 | 80.0 | 20 | 1000 | 65.0 |
| Cotton 60°C | 9.0 | 1:57 | 2.000 | 80.0 | 57 | 1600 | 50.0 |
| Wool 30°C | 2.0 | 0:50 | 0.380 | 40.0 | 30 | 800 | 37.0 |
| Quick15'30°C | 2.5 | 0:28 | 0.380 | 40.0 | 30 | 1000 | 65.0 |
| 10 kg | Eco 40-60 | 9.0 | 3:48 | 0.760 | 70.0 | 32 | 1550 | 52.0 |
| Eco 40-60 | 4,5 | 2:52 | 0.525 | 44.0 | 32 | 1550 | 52.0 |
| Eco 40-60 | 2.5 | 2:45 | 0.248 | 33.0 | 25 | 1550 | 54.0 |
| Cotton 20°C | 9.0 | 1:10 | 0.330 | 80.0 | 20 | 1000 | 65.0 |
| Cotton 60°C | 9.0 | 1:57 | 2.000 | 80.0 | 57 | 1600 | 50.0 |
| Wool 30°C | 2.0 | 0:50 | 0.380 | 40.0 | 30 | 800 | 37.0 |
| Quick15'30°C | 2.5 | 0:28 | 0.380 | 40.0 | 30 | 1000 | 65.0 |
The values given for programmes other than the Eco 40-60 programme and the wash and dry cycle are indicative only.
Daily Use
Power supply
Connect the washing machine to a power supply (220V to 240V~/50Hz; Fig. 6-1). Please refer also to section INSTALLATION.
![]()
Water connection
- Before connecting check the cleanliness and clarity of the water inlet.
- Tun on the tap (Fig.6-2).
![]()
Note: Tightness Before use check for leakage in the joints between the tap and the inlet hose by turning on the tap. |
Preparing Laundry
- Sort out clothes according to fabric (cotton, synthetics, wool or silk) and to how dirty they are (Fig. 6-3). Pay attention to the care labelling of washing labels.
![]()
- Separate white clothes from coloured ones. Wash coloured textiles first by hand to check if they fade or run.
- Empty pockets (keys, coins, etc.) and remove harder decorative objects (e.g. brooches) as well as flammable objects (paper tissues, lighters, matches etc.).
- Garments without hems, delicates and finely woven textile such as fine curtains are to be put into a wash bag to care for this delicate laundry (hand or dry cleaning would be better).
- Place sensitive items like laundry without firm hem, delicate underwear (Dessous) and small items such as socks, belts, bras, etc. in a wash bag.
- Close zippers, velco fastener and hooks, make sure the buttons are sewn on tightly.
- Unfold large pieces of fabric such as bed sheets, bedspreads etc.
- Turn jeans and printed, decorated or color-intensive textiles inside out; possibly wash separately.
Note: Special hints for drying - Sort clothes according to fabric(cotton, synthetics, etc.) desired dry level and equal residual moisture. Follow the instructions on the laundry label and dry only machine dryable garments
- Spin the laundry with the maximum spin speed before drying.
- Do not exceed the max. load.
- Extra large pieces tend to wind up. If the laundry has not been sufficiently dry, loosen up the laundry and dry again with programme DRY.
- Especially delicate fabrics which can easily shrink or lose their shape, as well as e.g. silk stockings, lingerie etc. should not be dried with the appliance. Put delicate garments inside a laundry bag and avoid overdrying them.
- Jersey and knitwear should not be dried to avoid shrinkage.
|
Care chart
![Haier - HWD80-B14939S8 - Care chart Care chart]()
Not all of these symbols are displayed in the appliance menu.
Loading the appliance
- Put in the laundry piece by piece into the drum.
- Don't overload. Note the different maximum load according to programmes. Rule of tumb for maximum load: Keep six inches between load and drum top.
- Close the door carefully. Make sure that no pieces of laundry are pinched.
![]() Non-textile, as well as small, loose or sharp-edged items may cause malfunctions and damage of clothes and appliance. |
Selecting detergent
- Washing efficiency and performance is determined by used detergent quality.
- Use only machine wash approved detergent.
- If needed use specific detergents, e.g. for synthetic and woolen fabric.
- See tips for countertop detergent stickers Do not use dry cleaning agents such as trichloroethylene and similar products.
![Haier - HWD80-B14939S8 - Selecting detergent Selecting detergent]()
L = gel-/liquid detergent
P = powder detergent
O = optional
_ = no
If using liquid detergent, it is not recommended to activate the time delay. We recommend by using:
- Laundry powder: 20°C to 90°C* (best use: 40-60°C)
- Color detergent: 20°C to 60°C (best use: 30-60°C)
- Wool/delicate detergent: 20°C to 30°C (= best use: 20°C to 30°C)
*Choose 90°C wash temperature only for special hygienic requirements.
*If you choose the water temperature 60°C or above, we would like to advise you to useless detergent. Please kindly use the special disinfectant, which is suitable for cotton or synthetic cloth:
*It is better to use less or free suds detergent powder.
Adding detergent
- Slide out the detergent drawer.
- Put the required chemicals into corresponding compartments (Fig. 6-4)
![]()
- Push back the drawer gently.
Note: - Remove detergent residues before next wash cycle from the detergent drawer.
- Do not overuse detergent or softener.
- Please follow the instruction on the detergent package.
- Always fill the detergent just before the beginning of the wash cycle.
- Concentrated liquid detergent should be diluted before adding.
- Do not use liquid detergent if "Delay" is selected.
- Carefully choose the programme settings according to the care symbols on all laundry labels and according to the programme table.
|
Switch on the appliance
Turn the knob to any position (except OFF and Spin) to start the machine. Turn the knob to the OFF position to shut down the machine (Fig. 6-5).
![Haier - HWD80-B14939S8 - Switch on the appliance Switch on the appliance]()
Select a programme
To get the best washing results, select a programme which fits the degree of soiling and sort of laundry type.
Turn the programme knob (Fig. 6-6) to select the right programme. The default settings are displayed.
![Haier - HWD80-B14939S8 - Select a programme Select a programme]()
Note: Odor removal Before first use we recommended to run programme "Self clean" with no load and small amount of detergent in washing agent compartment (2) or special machine cleaner to remove possibly corruptive residues. |
Add individual selections
Select required options and settings (Fig. 6-7); refer to CONTROL PANEL.
![]()
Start wash programme
Touch "Start/Pause" button (Fig. 6-8) to start. The LED of the "Start/Pause" button stops flashing and lights up continuously
![]()
Appliance operates according to present settings.
Changes are only possible by cancelling the programme.
Interrupt / cancel wash programme
To interrupt a running programme press gently "Start/Pause". The LED above the button is flashing. Press it again to resume operation.
To cancel a running programme and all its individual settings
- Touch "Start/Pause" button to interrupt the running programme.
- Turn the knob to select the programme "Spin" and press "Speed" (select speed "0") to drain the water.
- After select a new programme and start it..
After washing
Note: Door lock - For safety reasons the door is locked partially during the washing cycle. It is only possible to open the door at the end of the programme or after the programme was cancelled correctly (see description above).
- In case of high water level, high water temperature and during spinning it is not possible to open the door;
is displayed |
- At programme cycle end
is displayed. - The appliance switches off automatically.
- Remove laundry as soon as possible to go easy on it and to prevent more wrinkling.
- Turn off the water supply.
- Unplug the power cord.
- Open the door to prevent formation of moisture and odours. Let it open while not used.
Note: Standby mode / energy-saving mode The switched on appliance will go into standby-mode if it will not be activated within 2 minutes before starting the program or at the end of program. The display switches off. This saves energy. |
Note: Cool down cycle for drying cycle The last part of the drying cycle occurs without heat to ensure remaining the garments at a temperature which does not damage them. |
Activate or deactivate the buzzer
The acoustic signal can be deselected if necessary:
- Switch on the appliance.
- Select the "Self clean" programme.
- Press the "Dry level"button and "Temp." and "Extra Rinse" button at the same time for about 3 seconds.
will be displayed and the buzzer will be deactivated. For activating the buzzer press these three buttons at the same time again.
will be displayed.
Eco-friendly washing
| Environmentally responsible use Washing - To achieve best use of energy, water, detergent and time you should use the recommended maximum load size.
- Do not overload (hand width clearance above laundry).
- For slightly soiled laundry select the Quick 15' programme.
- Apply exact dosages of each washing agent.
- Choose the lowest adequate washing temperature - modern detergents are efficiently cleaning below 60°C.
- Raise default settings only due to heavy staining.
- Spin the laundry with the maximimum spin speed if you want to use a drying programme afterwards.
Drying - Use the maximum filling amount of about 5/6kg.
- Loosen up the laundry before starting the drying programme.
- Do not use softener when washing, because the laundry will become fluff y and soft in the dryer programme.
|
Note: General information: - The eco 40-60 programme is able to clean normally soiled cotton laundry declared to be washable at 40°C or 60°C, together in the same cycle, and that this programme is used to assess the compliance with the EU ecodesign legislation;
- The most efficient programmes in terms of energy consumption are genereally those that perform at lower temperatures and longer duration;
- Noise and remaining moisture content are influenced by the spinnig speed: the higher the noise and the lower the remaining moisture content.
|
Care and cleaning
Cleaning the detergent drawer
Take always care there are no detergent residues. Clean the drawer regularly (Fig. 8-1):
![Haier - HWD80-B14939S8 - Cleaning the detergent drawer Cleaning the detergent drawer]()
- Pull out the drawer until it stops.
- Press the release button and remove the drawer.
- Flush the drawer with water until it is clean and insert the drawer back in the appliance.
Cleaning the machine
- Unplug the machine during cleaning and maintenance.
- Use a soft cloth with soap liquid to clean the machine case (Fig. 8-2) and rubber components.
![]()
- Do not use organic chemicals or corrosive solvents.
Water inlet valve and inlet valve filter
To prevent blockage of water supply by solid substances like lime clean regularly the inlet valve filter.
- Unplug the power cord and turn off the water supply.
- Unscrew the water inlet hose at the back (Fig. 8-3) of the appliance as well as on the tap.
- Flush the filters with water and a brush (Fig. 8-4).
![Haier - HWD80-B14939S8 - Water inlet valve and inlet valve filter Water inlet valve and inlet valve filter]()
- Insert the filter and install the inlet hose.
Cleaning the drum
- Remove accidentally washed items, especially metal parts such as pins, coins, etc. from the drum (Fig. 8-5) because they cause rust stains and damage.
![]()
- Use a non-chloride cleaner for removing rust stains. Observe the warning hints of the cleaning agent manufacturer.
- Do not use any hard objects or steel wool for cleaning.
Long periods of disuse
If the appliance is left idle for a longer period:
- Pull out the electrical plug (Fig. 8-6).
- Turn off water supply (Fig. 8-7).
![Haier - HWD80-B14939S8 - Long periods of disuse Long periods of disuse]()
- Open the door to prevent formation of moisture and odours. Let door open while not used.
Before next usage check carefully power cord, water inlet and drain hose. Make sure everything is properly installed and without leackage.
Pump filter
Clean the filter once a month and check the pump filter for instance if the appliance:
- Doesn´t drain the water.
- Doesn´t spin.
- Cause unusual noise while running.
![]() Scalding Risk! Water in the pump filter can be very hot! Before any action please ensure water has cooled down. |
- Turn off and unplug the machine (Fig. 8-8).
![Haier - HWD80-B14939S8 - Pump filter - Step 1 Pump filter - Step 1]()
- Open service flap. You can either use a coin or a screwdriver (Fig. 8-9).
- Provide a flat container to catch leach water (Fig. 8-10). There could be bigger amounts!
- Pull the drain hose out and hold its end above the container (Fig. 8-10).
![Haier - HWD80-B14939S8 - Pump filter - Step 2 Pump filter - Step 2]()
- Take the sealing plug out of the drain hose (Fig. 8-10).
- After complete drainage close drain hose (Fig. 8-11). and push it back into the machine.
- Unscrew and remove counter clockwise the 8-12 pump filter (Fig. 8-12).
- Remove contaminants and dirt (Fig. 8-13).
![Haier - HWD80-B14939S8 - Pump filter - Step 3 Pump filter - Step 3]()
- Clean carefully pump filter, e.g. using running water (Fig. 8-14).
![Haier - HWD80-B14939S8 - Pump filter - Step 4 Pump filter - Step 4]()
- Refix it thoroughly (Fig. 8-15).
- Close service flap.
- Pump filter sealing has to be clean and unhurt. If the lid is not full tightened, water can escape.
- The filter must be in place, or it may lead to leakage.
|
Troubleshooting
Many occuring problems could be solved by yourself without specific expertise. In case of a problem please check all shown possibilities and follow below instructions before you contact an after sales service. See CUSTOMER SERVICE.
- Before maintenance, deactivate the appliance and disconnect the mains plug from the mains socket.
- Electrical equipment should be serviced only by qualified electrical experts, because improper repairs can cause considerable consequential damages..
- A damaged power cable should only be replaced by the manufacturer, its service agent or similarly qualified persons in order to avoid a hazard.
|
Following codes are displayed only for information referring to the washing cycle. No measures must be performed.
| Code | Message |
![]() | The remaining wash cycle time will be 1 hour and 25 minutes |
![]() | The remaining wash cycle time including chosen end-time delay will be 6 hours and 30 minutes |
![]() | Automatic dry. |
![]() | The washing cycle is finished. The appliance shuts off automatically. |
![]() | The function child lock is activated. |
![]() | Door is closed because of high water level, high water temperature or spinning cycle. |
![]() | The buzzer is deactivated |
![]() | The buzzer is activated |
Troubleshooting with display code
| Problem | Cause | Solution |
![]() | - Drainage error, water is not fully drained within 6 minutes.
| - Clean pump filter.
- Check drain hose installation.
|
![]() | | |
![]() | - Water level not reached after 8 minutes.
- Drain hose is self-syphoning.
| - Make sure that tap is fully opened and water pressure is normal.
- Check drain hose installation.
|
![]() | - Water protective level error.
| - Contact the After sales service.
|
![]() | - Drying temperature is too high
| - When temperature exceeds 80°C the drying alarm, when less than 80°C the automatic lifting of the alarm.
|
![]() | - Temperature sensor error.
| - Contact the After sales service.
|
![]() | | - Contact the After sales service.
|
![]() | | - Contact the After sales service
|
![]() | - Dry temperature sensor error.
| - Contact the After sales service.
|
![]() | - Water level sensor error.
| - Contact the After sales service.
|
![]() | - Abnormal communication error.
| - Contact the After sales service.
|
![]() | - Dry heating element-error
| - Contact the After sales service
|
![]() | - The load is attached to the cylinder wall.
| - Open the door, shake off the load cloth and put it back into the inner cylinder to start the machine.
|
| | - Contact the After sales service
|
![]() | - Drying water level is too high.
| - Contact the After sales service
|
![]() | | - Check and balance laundry load in the drum. Reduce the load.
|
![]() | - Water overflowed abnormally
| - Contact the After sales service
|
![]() | - Drainage error. Water is not fully drained within 1 minutes.(i-Refresh programme
| - Clean pump filter.
- Check drain hose installation.
|
Troubleshooting without display code
| Problem | Cause | Solution |
| Appliance fails to operate. | - Programme is not yet started.
- Door is not properly closed.
- Machine has not been switched on.
- Power failure.
- Child lock is activated.
| - Check programme and start it.
- Close the door properly.
- Switch the machine on.
- Check power supply.
- Deactivate child lock.
|
| Appliance will not be fi lled with water. | - No water.
- Inlet hose is kinked.
- Inlet hose fi lter is blocked.
- Water pressure is less than 0.03 MPa.
- Door is not properly closed.
- Water supply failure.
| - Check water tap.
- Check inlet hose.
- Unblock inlet hose fi lter.
- Check water pressure.
- Close the door properly.
- Ensure the water supply.
|
| Appliance is draining while being fi lled. | - Height of drain hose is below 80 cm.
- Drain hose end could reach into water.
| - Make sure that drain hose is properly installed.
- Make sure the drain hose is not in water.
|
| Drainage failure. | - Drain hose is blocked.
- Pump fi lter is blocked.
- Drain hose end is higher than 100 cm above floor level.
| - Unblock drain hose.
- Clean pump fi lter.
- Make sure that drain hose is properly installed.
|
| Strong vibration while spinning. | - Not all transportation bolts have been removed.
- Appliance has no solid position.
- Machine load is not correct.
| - Remove all transportation bolts.
- Ensure solid ground and a levelled position.
- Check load weight and balance.
|
| Operation stops before completing wash cycle. | - Water or electric failure.
| - Check power and water supply.
|
| Operation stops for a period of time. | - Appliance displays error code.
- Problem due to load pattern.
- Programme performs soaking cycle.
| - Consider display codes.
- Reduce or adjust load.
- Cancel programme and restart.
|
| Excessive foam fl oats drum and/or detergent drawer. | - Detergent is not a appropriate.
- Excessive use of detergent.
| - Check detergent recommendations.
- Reduce amount of detergent.
|
| Automatic adjustment of washing time. | - Washing programme duration will be adjusted.
| - This is normal and doesn't affect functionality.
|
| Spinning fails. | | - Check machine load and laundry and run a spinning programme
|
| Unsatisfactory washing result. | - Degree of pollution does not agree with selected programme.
- Detergent quantitiy was not suf- fi cient.
- Maximum load has been exceeded. • Reduce loading.
- Laundry was unevenly distributed in the drum.
| - Select an other programme.
- Choose the detergent acc. to the degree of pollution and acc. to manufaturer specifi cations.
- Loose the laundry.
|
| Washing powder residues are on the laundry. | - Insoluble particles of detergent can remain as white spots on the laundry.
| - Perform extra rinse.
- Try to brush the points from the dry laundry.
- Choose an other detergent.
|
| Laundry has grey patches. | - Caused by fats such as oils, creams or ointments.
| - Pretreat the laundry with a special cleaner.
|
HWD100 HWD90 HWD80 Voltage in V 220-240 V~/50Hz Current in A 10 Max. power in W 2000 Water pressure in MPa 0,03-≤P≤1 Netto weight in kg 80 76
Should the error messages reappear even after the taken measures, switch off the appliance, disconnect the power supply and contact the customer service.
In case of power failure
The current programme and its setting will be saved.
When power supply is restored operation will be resumed.
If a power failure cuts an operating wash programme door opening is mechanically blocked. To get out any laundry water level should not be seen in the glassy porthole of the door - Danger of burns! Water level has to be lowered as described in "Pump filter". Not till then pull lever (A) beneath service flap (Fig. 9-1) until door is unlocked by a gentle click. Afterwards refix all parts.
![]()
Note: Unlock the door When the washing machine in a safe state (under the water level below the window along a certain distance, barrel temperature below 55°C, the inner barrel did not turn), may unlock the doors of the machine operation |
Installation
Preparation
- Take the appliance out of the packaging.
- Remove all packaging material including polystyrene base, keep them out of childrens reach. While opening the package, water drops may be seen on plastic bag and porthole. This normal phenomenon results from water tests in the factory.
Note: Packaging disposal Keep all packaging materials out of children´s reach and dispose them in an environmentally friendly manner. |
OPTIONAL: Install noise reduction pads
![Haier - HWD80-B14939S8 - Install noise reduction pads Install noise reduction pads]()
- When opening the shrink package, you will find some noise reduction pads. These are used for reducing noise. (Fig. 10-1)
- Lay the washing machine down to its side, porthole pointing upwards, bottom side towards operator.
- Take out the noise reduction pads and remove the double-sided adhesive protective film; paste around the bottom; the noise reduction pads under the washing machine cabinet as shown in Figure 3. (two longer pads in position 1 and 3, two shorter pads in position 2 and 4). Finally set the machine upright again.
Dismantle the transportation bolts
![Haier - HWD80-B14939S8 - Dismantle the transportation bolts Dismantle the transportation bolts]()
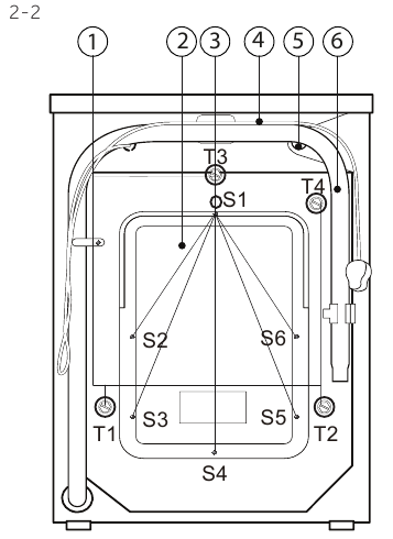
The transport protection on the rear side is designed for clamping anti-vibration components inside the appliance during transportation to prevent inner damage. All elements (I, R, S and T, Fig 10-2) must be removed before use.
- Remove all 4 bolts on the rear side and take out plastic spacers (Fig. 10-2)(Fig. 10-3)
- Fill left holes with blanking plugs (Fig. 10-4)(Fig. 10-5).
Note: Keep in safe place Keep the transportation bolts in a safe place for later use. Whenever the appliance is to be moved at first reinstall the bolts. |
Moving the appliance
If the machine is to be moved to a distant location, replace the transportation bolts removed before installation to prevent damage.
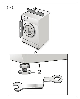
Aligning the appliance
Adjust all feet (Fig. 10-6) to achieve a complete level position. This will minimize vibrations and thus noise during use. It will also reduce wear and tear. We recommend to use a spirit level for adjustment. Floor should be as stable and flat as possible.
![Haier - HWD80-B14939S8 - Aligning the appliance Aligning the appliance]()
- Loose the locknut (1) by using a wrench.
- Adjust the high by turning the foot (2).
- Tighten lock ut (1) against the housing.
Drain Water Connection
Fix the water drain hose properly to the piping. The hose has to reach at one point a height between 80 and 100 cm above the appliance bottom line! If possible keep always drain hose fixed to the clip at the appliance back.
- Use only the supplied hose set for the connection.
- Never reuse old hose sets!
- Only connect to cold water supply.
- Before connection, check whether the water is clean and clear.
|
Following connections are possible:
Drain hose to sink
- Hang the drain hose with the U-support over the edge of a sink with adequate size (Fig. 10-8).
![Haier - HWD80-B14939S8 - Drain Water Connection - Method 1 - Drain hose to sink Drain Water Connection - Method 1 - Drain hose to sink]()
- Protect the U-support sufficiently against slipping.
Drain hose to waste water connection
- The internal diameter of the stand pipe with vent-hole must be minimum 40 mm.
- Put the drain hose for approx. 80-100 mm in the wastewater pipe.
- Attach the U-support and secure it sufficiently (Fig. 10-9).
![Haier - HWD80-B14939S8 - Drain Water Connection - Method 2- Drain hose to waste water Drain Water Connection - Method 2- Drain hose to waste water]()
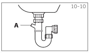
Drain hose to sink connection
- The junction must lie above the siphon
- A spigot connection is usually closed by a pad (A). That must be removed to prevent any disfunction (Fig. 10-10).
![Haier - HWD80-B14939S8 - Drain Water Connection - Method 3 - Drain hose to sink Drain Water Connection - Method 3 - Drain hose to sink]()
- Secure the drain hose with a clamp.
- The drain hose should not be submerged in water and should be securely fixed and leak-free. If the drain hose is placed on the ground or if the pipe is at a height of less than 80 cm, the washing machine will continuously drain while being filled (self-siphoning).
- Drain hose is not to be extended. If necessary contact after sales service.
|
Fresh Water Connection
Make sure that the gaskets are inserted.
![Haier - HWD80-B14939S8 - Fresh Water Connection Fresh Water Connection]()
- Connect the water inlet hose with the angled end to the appliance (Fig. 10-11). Tighten the screw joint by hand.
- The other end connect to a water tap with a 3/4" thread (Fig. 10-12).
Electrical Connection
Before each connection check if:
- power supply, socket and fusing are appropriate to the rating plate.
- the power socket is earthed and no multi-plug or extension are used.
- the power plug and socket are strictly according.
- Only UK: The UK plug meets BS1363A standard.
Put the plug into the socket (Fig. 10-13).
![]()
- Ensure always that all connections (power supply, drain and fresh water hose) are firm, dry and leack free!
- Take care these parts are never to be crushed, kinked, or twisted
- If the supply cord is damaged, it must be replaced by the service agent (see warranty card) in order to avoid a hazard.
|
Technical data
Additional technical data
| | HWD100 | HWD90 | HWD80 |
| Voltage in V | 220-240 V~/50Hz |
| Current in A | 10 |
| Max. power in W | 2000 |
| Water pressure in MPa | 0,03-≤P≤1 |
| Netto weight in kg | 80 | 76 |
Product dimensions
![]()
| PRODUCT DIMENSIONS | HWD 100 | HWD 90 | HWD80 |
| A Overall height of product mm | 850 |
| B Overall width of product mm | 595 |
| C Overall depth of product (To main control board size) mm | 610 | 560 |
| D Depth of door open mm | 670 | 620 |
| E Minimum door clearance to adjacent wall mm | 1130 | 1080 |
| F Overall depth of product ( Including the thickness of the door) mm | 270 |
Hinweis: Exact height The exact height of your washer is dependent on how far the feet are extended from the base of the machine. The space where you install your washer needs to be at least 40mm wider and 20mm deeper than its dimensions. |
Legend
Warning – Important Safety information
General information and tips
Environmental information
![]()
Risk of injury or suffocation!
Disconnect the appliance from the mains supply. Cut off the mains cable and dispose of it. Remove the door catch to prevent children and pets to get closed in the appliance.
Before switching on the appliance for the first time read the following safety hints!:
| ![]() Before first use - Make sure there is no transport damage.
- Make sure all transport bolts are removed.
- Remove all packaging and keep out of children´s reach.
- Handle the appliance always with at least two persons because it is heavy.
Daily use - This appliance can be used by children aged from 8 years and above and persons with reduced physical, sensory or mental capabilities or lack of experience and knowledge if they have been given supervision or instruction concerning use of the appliance in a safe way and understand the hazards involved.
- Keep away children under 3 years of age from the appliance unless they are constantly supervised.
- Children shall not play with the appliance.
- Do not let children or pets come close to the appliance when the door is open.
- Store washing agents out of reach of children.
- Pull up zips, fix loose threads and take care for small items to prevent laundry from being entangled. If necessary, use an appropriate bag or net.
- Do not touch or use the appliance when barefoot or with wet or damp hands or feet.
- Do not cover or encase the appliance during operation or afterwards to allow any moisture or dampness to evaporate.
- Do not place heavy objects or sources of heat or damp on top of the appliance.
- Do not use or store flammable detergent or dry cleaning agent in close vicinity to the appliance.
- Do not use any flammable sprays in close vicinity to the appliance.
- Do not wash any garments treated with solvents in the appliance without having dried them previously in the air.
- Do not remove or insert the plug in the presence of flammable gas
- Do not hot wash foam rubber or sponge-like materials.
- Do not wash any laundry which is polluted with flour.
- Do not open detergent drawer during any wash cycle.
- Do not touch the door during the washing process, it gets hot.
- Do not open the door if the water level is visibly over the porthole.
- Do not force the door to open. The door is fitted with a self-lock device and will open shortly after the washing procedure is ended.
- Switch off the appliance after each wash programme and before undertaking any routine maintenance and disconnect the appliance from the electrical supply to save electricity and for safety.
- Hold the plug, not the cable, when unplugging the appliance.
- Do make sure the room is dry and well ventilated. The ambient temperature should be between 5°C and 35°C.
- Do not cover any ventilation openings in the base by a carpet or similar object.
- Keep the area around the appliance free of dust and lint.
- Do make sure that there is only laundry inside the appliance and no pets or children before you use it.
- Only dry textiles washed in water.
- Do make sure not to load more than nominal load.
- Remove all items such as lighters and matches from pockets.
- Use fabric softeners or similar products as specified by the manufacturer´s packaging.
- Notice that the last part of the drying cycle occurs without heat (cool down cycle) to ensure the remaining garments are at a temperature which does not damage them.
- Do not leave the appliance unattended during run time for some time. If a long absence is intended, the drying cycle has to be interrupted by switching off the unit and unplugging the mains.
- Do not switch off the appliance except drying cycle is finished, unless all items are quickly removed and spread out that the heat can be released.
- Do not dry following items in the appliance:
- Items which are unwashed.
- Items which have been contaminated with inflammable substances such as cooking oil, acetone, alcohol, benzine, petrol, kerosene, spot removers, turpentine, waxes, wax removers or other chemicals. The fumes can cause a fire or explosion. These items must always be washed first by hand in hot water with an extra amount of detergent and then be dried in the open air before drying in the appliance.
- Items which contain padding or fillings (e.g. pillows, jackets,) as the filling can get out with the risk of igniting in the appliance.
- Items which contain a large proportion of rubber, foam rubber (latex foam) or rubber like materials such as shower caps, waterproof textiles, rubberised articles and items of clothing and pillows with foam rubber filling.
- Switch off the appliance after each drying programme to save electricity and for safety.
- Maintenance / cleaning
- Make sure children are supervised if they carry out cleaning and maintenance.
- Disconnect the appliance from the electrical supply before undertaking any routine maintenance.
- Keep the lower part of the porthole clean and open door and detergent drawer if appliance is not in use to prevent odours.
- Do not use water spray or steam to clean the appliance.
- Replace a damaged supply cord only by the manufacturer, its service agent or similarly qualified persons in order to avoid a hazard.
- Do not try to repair the appliance by yourself. In case of repair please contact our customer service.
- Remove all foreign objects such as metal objects, chemicals, fragile goods, lighted candles, lighted cigarettes, etc. from the appliance.
Installation Ensure a location which allows opening the door fully. Do not install the appliance behind a lockable door, a sliding door or a door with hinges on the opposite side of the appliance door as this limits the full opening of the appliance door. ![]() - The appliance should be placed in a well-ventilated place. Ensure a location which allows opening the door fully.
- Never install the appliance outdoors in a damp place, or in an area which may be prone to water leaks such as under or near a sink unit. In the event of a water leak cut power supply and allow the machine to dry naturally.
- Install or use the appliance only where the temperature is above 5°C.
- Do not place the appliance directly on a carpet, or close to a wall or furniture.
- Do not expose the appliance to any frost, heat or direct sunlight or in the near of heat sources(e.g. stoves, heaters).
- Make sure that the electrical information on the rating plate agrees with the power supply. If it does not, contact an electrician.
- Do not use multi-plug adapters and extension cables.
- Make sure only the delivered electric cable and hose set are used.
- Make sure not to damage the electric cable and the plug. If damaged have it replaced by an electrician.
- For the power supply, use a separate earthed socket which is easily accessible after installation. The appliance must be earthed.
Only for UK: The appliance's power cable is fitted with 3-cord (grounding) plug that fits a standard 3-cord (grounded) socket. Never cut off or dismount the third pin (grounding). After the appliance is installed, the plug should be accessible. - Make sure the hose joints and connections are firm and there is no leakage.
|
Intended use
This appliance is intended for washing and drying machine-washable laundry only. Anytime follow the instructions given on the label of each garment label. It is designed exclusively for domestic use inside the house. It is not intended for commercial or industrial use.
Changes or modifications to the device are not allowed. Unintended use may cause hazards and loss of of all warranty and liability claims.
Customer service
We recommend our Haier Customer Service and the use of original spare parts.
If you have a problem with your appliance, please first check section TROUBLESHOOTING.
If you cannot find a solution there, please contact your local dealer or the Service & Support area at www.haier.com where you can find telephone numbers and FAQs and where you can activate the service claim.
To contact our Service, ensure that you have the following data available. The information can be found on the rating plate.
Model
Serial No.
Also check the Warranty Card supplied with the product in case of warranty.
For general business enquiries please find below our addresses in Europe:
| European Haier addresses |
| Country* | Postal address | Country* | Postal address |
| Italy | Haier Europe Trading SRL Via De Cristoforis, 12 21100 Verese ITALY | France | Haier France SAS 53 Boulevard Ornano – Pleyad 3 93200 Saint Denis FRANCE |
Spain Portugal | Haier Iberia SL Pg. Garcia Faria, 49-51 08019 Barcelona SPAIN | Belgium-FR Belgium-NL Netherlands Luxembourg | Haier Benelux SA Anderlecht Route de Lennik 451 BELGIUM |
Germany Austria | Haier Deutschland GmbH Konrad-Zuse-Platz 6 81829 München GERMANY | Poland Czechia Hungary Greece Romania Russia | Haier Poland Sp. zo.o. Al. Jerozolimskie 181B 02-222 Warszawa POLAND |
| United Kingdom | Haier Appliances UK Co. Ltd. One Crown Square Church Street East Woking, Surrey, GU21 6HR UK |
*For more information please refer to www.haier
Documents / Resources
References
Download manual
Here you can download full pdf version of manual, it may contain additional safety instructions, warranty information, FCC rules, etc.
Download Haier HWD80-B14939, HWD90-B14939, HWD100-B14939 - Washing Machine Manual
Available languages
Need help?
Do you have a question about the HWD80-B14939S8 and is the answer not in the manual?
Questions and answers