Makita GA4030R; GA4530R; GA5030R - Angle Grinder Manual

SPECIFICATIONS
| Model: | GA4030R | GA4530R | GA5030R |
| Wheel diameter | 100mm (4') | 115mm (4-1/2') | 125mm (5') |
| Max. wheel thickness | 6.4mm | 7.2mm | |
| Spindle thread | M10 | M14 or 5/8' (country specific) | |
| Rated speed (n) | 11,000min-1 | ||
| Overall length | 266mm | ||
| Net weight | 1.7kg | 1.8kg | |
| Safety class | /II | ||
- Due to our continuing program of research and development, the specifications herein are subject to change without notice.
- Specifications may differ from country to country
- Weight according to EPTA-Procedure 01/2003
Intended use
The tool is intended for grinding, sanding and cutting of metal and stone materials without the use of water.
Power supply
The tool should be connected only to a power supply of the same voltage as indicated on the nameplate, and can only be operated on single-phase AC supply. They are double-insulated and can, therefore, also be used from sockets without earth wire.
Noise
The typical A-weighted noise level determined according to EN60745:
Sound pressure level (LpA): 85 dB(A)
Sound power level (LWA): 96 dB (A)
Uncertainty (K): 3 dB(A)
| Wear ear protection. |
Vibration
The vibration total value (tri-axial vector sum) determined according to EN60745:
Model GA4030R
Work mode: surface grinding
Vibration emission (ah, AG): 7.0 m/s2
Uncertainty (K): 1.5 m/s2
Work mode: disc sanding
Vibration emission (ah, DS): 2.5 m/s2 or less
Uncertainty (K): 1.5 m/s2
Model GA4530R
Work mode: surface grinding
Vibration emission (ah, AG): 7.5 m/s2
Uncertainty (K): 1.5 m/s2
Work mode: disc sanding
Vibration emission (ah, DS): 2.5 m/s2 or less
Uncertainty (K): 1.5 m/s2
Model GA5030R
Work mode: surface grinding
Vibration emission (ah, AG): 8.5 m/s2
Uncertainty (K): 1.5 m/s2
Work mode: disc sanding
Vibration emission (ah, DS): 2.5 m/s2 or less
Uncertainty (K): 1.5 m/s2
NOTE: The declared vibration emission value has been measured in accordance with the standard test method and may be used for comparing one tool with another.
NOTE: The declared vibration emission value may also be used in a preliminary assessment of exposure.
|
|
General power tool safety warnings
| Read all safety warnings and all instructions. Failure to follow the warnings and instructions may result in electric shock, fire and/or serious injury. |
Save all warnings and instructions for future reference.
The term "power tool" in the warnings refers to your mains-operated (corded) power tool or battery-operated (cordless) power tool.
Grinder safety warnings
Safety Warnings Common for Grinding, Sanding, Wire Brushing, or Abrasive Cutting-Off Operations:
- This power tool is intended to function as a grinder, sander, wire brush or cut-off tool. Read all safety warnings, instructions, illustrations and specifications provided with this power tool. Failure to follow all instructions listed below may result in electric shock, fire and/or serious injury.
- Operations such as polishing are not recommended to be performed with this power tool. Operations for which the power tool was not designed may create a hazard and cause personal injury.
- Do not use accessories which are not specifically designed and recommended by the tool manufacturer. Just because the accessory can be attached to your power tool, it does not assure safe operation.
- The rated speed of the accessory must be at least equal to the maximum speed marked on the power tool. Accessories running faster than their rated speed can break and fly apart.
- The outside diameter and the thickness of your accessory must be within the capacity rating of your power tool. Incorrectly sized accessories cannot be adequately guarded or controlled.
- Threaded mounting of accessories must match the grinder spindle thread. For accessories mounted by flanges, the arbour hole of the accessory must fit the locating diameter of the flange. Accessories that do not match the mounting hardware of the power tool will run out of balance, vibrate excessively and may cause loss of control.
- Do not use a damaged accessory. Before each use inspect the accessory such as abrasive wheels for chips and cracks, backing pad for cracks, tear or excess wear, wire brush for loose or cracked wires. If power tool or accessory is dropped, inspect for damage or install an undamaged accessory. After inspecting and installing an accessory, position yourself and bystanders away from the plane of the rotating accessory and run the power tool at maximum no-load speed for one minute. Damaged accessories will normally break apart during this test time.
- Wear personal protective equipment. Depending on application, use face shield, safety goggles or safety glasses. As appropriate, wear dust mask, hearing protectors, gloves and workshop apron capable of stopping small abrasive or workpiece fragments. The eye protection must be capable of stopping flying debris generated by various operations. The dust mask or respirator must be capable of filtrating particles generated by your operation. Prolonged exposure to high intensity noise may cause hearing loss.
- Keep bystanders a safe distance away from work area. Anyone entering the work area must wear personal protective equipment. Fragments of workpiece or of a broken accessory may fly away and cause injury beyond immediate area of operation.
- Hold the power tool by insulated gripping surfaces only, when performing an operation where the cutting accessory may contact hidden wiring or its own cord. Cutting accessory contacting a "live" wire may make exposed metal parts of the power tool "live" and could give the operator an electric shock.
- Position the cord clear of the spinning accessory. If you lose control, the cord may be cut or snagged and your hand or arm may be pulled into the spinning accessory.
- Never lay the power tool down until the accessory has come to a complete stop. The spinning accessory may grab the surface and pull the power tool out of your control.
- Do not run the power tool while carrying it at your side. Accidental contact with the spinning accessory could snag your clothing, pulling the accessory into your body.
- Regularly clean the power tool's air vents. The motor's fan will draw the dust inside the housing and excessive accumulation of powdered metal may cause electrical hazards.
- Do not operate the power tool near flammable materials. Sparks could ignite these materials.
- Do not use accessories that require liquid coolants. Using water or other liquid coolants may result in electrocution or shock.
Kickback and Related Warnings
Kickback is a sudden reaction to a pinched or snagged rotating wheel, backing pad, brush or any other accessory. Pinching or snagging causes rapid stalling of the rotating accessory which in turn causes the uncontrolled power tool to be forced in the direction opposite of the accessory's rotation at the point of the binding. For example, if an abrasive wheel is snagged or pinched by the workpiece, the edge of the wheel that is entering into the pinch point can dig into the surface of the material causing the wheel to climb out or kick out. The wheel may either jump toward or away from the operator, depending on direction of the wheel's movement at the point of pinching. Abrasive wheels may also break under these conditions.
Kickback is the result of power tool misuse and/or incorrect operating procedures or conditions and can be avoided by taking proper precautions as given below.
- Maintain a firm grip on the power tool and position your body and arm to allow you to resist kickback forces. Always use auxiliary handle, if provided, for maximum control over kickback or torque reaction during start-up. The operator can control torque reactions or kickback forces, if proper precautions are taken.
- Never place your hand near the rotating accessory. Accessory may kickback over your hand.
- Do not position your body in the area where power tool will move if kickback occurs. Kickback will propel the tool in direction opposite to the wheel's movement at the point of snagging.
- Use special care when working corners, sharp edges etc. Avoid bouncing and snagging the accessory. Corners, sharp edges or bouncing have a tendency to snag the rotating accessory and cause loss of control or kickback.
- Do not attach a saw chain woodcarving blade or toothed saw blade. Such blades create frequent kickback and loss of control.
Safety Warnings Specific for Grinding and Abrasive Cutting-Off Operations:
- Use only wheel types that are recommended for your power tool and the specific guard designed for the selected wheel. Wheels for which the power tool was not designed cannot be adequately guarded and are unsafe.
- The grinding surface of centre depressed wheels must be mounted below the plane of the guard lip. An improperly mounted wheel that projects through the plane of the guard lip cannot be adequately protected.
- The guard must be securely attached to the power tool and positioned for maximum safety, so the least amount of wheel is exposed towards the operator. The guard helps to protect the operator from broken wheel fragments, accidental contact with wheel and sparks that could ignite clothing.
- Wheels must be used only for recommended applications. For example: do not grind with the side of cut-off wheel. Abrasive cut-off wheels are intended for peripheral grinding, side forces applied to these wheels may cause them to shatter.
- Always use undamaged wheel flanges that are of correct size and shape for your selected wheel. Proper wheel flanges support the wheel thus reducing the possibility of wheel breakage. Flanges for cut-off wheels may be different from grinding wheel flanges.
- Do not use worn down wheels from larger power tools. Wheel intended for larger power tool is not suitable for the higher speed of a smaller tool and may burst.
Additional Safety Warnings Specific for Abrasive Cutting-Off Operations:
- Do not "jam" the cut-off wheel or apply excessive pressure. Do not attempt to make an excessive depth of cut. Overstressing the wheel increases the loading and susceptibility to twisting or binding of the wheel in the cut and the possibility of kickback or wheel breakage.
- Do not position your body in line with and behind the rotating wheel. When the wheel, at the point of operation, is moving away from your body, the possible kickback may propel the spinning wheel and the power tool directly at you.
- When wheel is binding or when interrupting a cut for any reason, switch off the power tool and hold the power tool motionless until the wheel comes to a complete stop. Never attempt to remove the cut-off wheel from the cut while the wheel is in motion otherwise kickback may occur. Investigate and take corrective action to eliminate the cause of wheel binding.
- Do not restart the cutting operation in the workpiece. Let the wheel reach full speed and carefully re-enter the cut. The wheel may bind, walk up or kickback if the power tool is restarted in the workpiece.
- Support panels or any oversized workpiece to minimize the risk of wheel pinching and kickback. Large workpieces tend to sag under their own weight. Supports must be placed under the workpiece near the line of cut and near the edge of the workpiece on both sides of the wheel.
- Use extra caution when making a "pocket cut" into existing walls or other blind areas. The protruding wheel may cut gas or water pipes, electrical wiring or objects that can cause kickback.
Safety Warnings Specific for Sanding Operations:
- Do not use excessively oversized sanding disc paper. Follow manufacturers recommendations, when selecting sanding paper. Larger sanding paper extending beyond the sanding pad presents a laceration hazard and may cause snagging, tearing of the disc or kickback.
Safety Warnings Specific for Wire Brushing Operations:
- Be aware that wire bristles are thrown by the brush even during ordinary operation. Do not overstress the wires by applying excessive load to the brush. The wire bristles can easily penetrate light clothing and/or skin.
- If the use of a guard is recommended for wire brushing, do not allow any interference of the wire wheel or brush with the guard. Wire wheel or brush may expand in diameter due to work load and centrifugal forces.
Additional Safety Warnings:
- When using depressed centre grinding wheels, be sure to use only fiberglass-reinforced wheels.
- NEVER USE Stone Cup type wheels with this grinder. This grinder is not designed for these types of wheels and the use of such a product may result in serious personal injury.
- Be careful not to damage the spindle, the flange (especially the installing surface) or the lock nut. Damage to these parts could result in wheel breakage.
- Make sure the wheel is not contacting the workpiece before the switch is turned on.
- Before using the tool on an actual workpiece, let it run for a while. Watch for vibration or wobbling that could indicate poor installation or a poorly balanced wheel.
- Use the specified surface of the wheel to perform the grinding.
- Do not leave the tool running. Operate the tool only when hand-held.
- Do not touch the workpiece immediately after operation; it may be extremely hot and could burn your skin.
- Observe the instructions of the manufacturer for correct mounting and use of wheels. Handle and store wheels with care.
- Do not use separate reducing bushings or adaptors to adapt large hole abrasive wheels.
- Use only flanges specified for this tool.
- For tools intended to be fitted with threaded hole wheel, ensure that the thread in the wheel is long enough to accept the spindle length.
- Check that the workpiece is properly supported.
- Pay attention that the wheel continues to rotate after the tool is switched off.
- If working place is extremely hot and humid, or badly polluted by conductive dust, use a short-circuit breaker (30 mA) to assure operator safety.
- Do not use the tool on any materials containing asbestos.
- When use cut-off wheel, always work with the dust collecting wheel guard required by domestic regulation.
- Cutting discs must not be subjected to any lateral pressure.
- Do not use cloth work gloves during operation. Fibers from cloth gloves may enter the tool, which causes tool breakage.
SAVE THESE INSTRUCTIONS.
| DO NOT let comfort or familiarity with product (gained from repeated use) replace strict adherence to safety rules for the subject product. MISUSE or failure to follow the safety rules stated in this instruction manual may cause serious personal injury. |
FUNCTIONAL DESCRIPTION
| Always be sure that the tool is switched off and unplugged before adjusting or checking function on the tool. |
Shaft lock
Press the shaft lock to prevent spindle rotation when installing or removing accessories.
► Fig.1:

- Shaft lock
NOTICE: Never actuate the shaft lock when the spindle is moving. The tool may be damaged.
Switch action
|
|
To start the tool, slide the slide switch toward the "I (ON)" position by pushing the rear of the slide switch. For continuous operation, press the front of the slide switch to lock it.
To stop the tool, press the rear of the slide switch, then slide it toward the "O (OFF)" position.
► Fig.2:

- Slide switch
Unintentional restart proof
The tool does not start with the switch being lock-on even when the tool is plugged.
To cancel the unintentional restart proof, return the power switch to OFF position.
NOTE: Wait more than one second before restarting the tool when unintentional restart proof functions.
NOTE: When the tool is overloaded and the tool temperature reaches a certain level, the tool may automatically stop. In this situation, let the cool before turning on the tool again.
Soft start feature
Soft start feature reduces starting reaction.
ASSEMBLY
| Always be sure that the tool is switched off and unplugged before carrying out any work on the tool. |
Installing side grip (handle)
| Always be sure that the side grip is installed securely before operation. |
Screw the side grip securely on the position of the tool as shown in the figure.
► Fig.3

Installing or removing wheel guard (For depressed center wheel, flap disc, flex wheel, wire wheel brush / abrasive cut-off wheel, diamond wheel)
|
|
For tool with locking screw type wheel guard
Mount the wheel guard with the protrusions on the wheel guard band aligned with the notches on the bearing box. Then rotate the wheel guard to such an angle that it can protect the operator according to work. Be sure to tighten the screw securely.
To remove wheel guard, follow the installation procedure in reverse.
► Fig.4:

- Wheel guard
- Bearing box
- Screw
For tool with clamp lever type wheel guard
Loosen the screw, and then pull the lever in the direction of the arrow. Mount the wheel guard with the protrusions on the wheel guard band aligned with the notches on the bearing box. Then rotate the wheel guard to such an angle that it can protect the operator according to work.
► Fig.5:

- Wheel guard
- Bearing box
- Screw
- Lever
Pull the lever in direction of the arrow. Then tighten the wheel guard with fastening the screw. Be sure to tighten the screw securely. The setting angle of the wheel guard can be adjusted with the lever.
► Fig.6:

- Screw
- Lever
To remove wheel guard, follow the installation procedure in reverse.
Installing or removing depressed center wheel or flap disc
Optional accessory
| When using a depressed center wheel or flap disc, the wheel guard must be fitted on the tool so that the closed side of the guard always points toward the operator. |
| Make sure that the mounting part of the inner flange fits into the inner diameter of the depressed center wheel / flap disc perfectly. Mounting the inner flange on the wrong side may result in the dangerous vibration. |
Mount the inner flange onto the spindle. Make sure to fit the dented part of the inner flange onto the straight part at the bottom of the spindle. Fit the depressed center wheel / flap disc on the inner flange and screw the lock nut onto the spindle
► Fig.7:

- Lock nut
- Depressed center wheel
- Inner flange
- Mounting part
To tighten the lock nut, press the shaft lock firmly so that the spindle cannot revolve, then use the lock nut wrench and securely tighten clockwise.
► Fig.8:

- Lock nut wrench
- Shaft lock
To remove the wheel, follow the installation procedure in reverse.
Super flange
Optional accessory
Only for tools with M14 spindle thread.
Models with the letter F are standard-equipped with Super flange. Only 1/3 of efforts needed to undo lock nut, compared with conventional type.
Installing or removing flex wheel
Optional accessory
| Always use supplied guard when flex wheel is on tool. Wheel can shatter during use and guard helps to reduce chances of personal injury. |
► Fig.9:

- Lock nut
- Flex whee
- Back up pad
- Inner flange
Follow instructions for depressed center wheel but also use back up pad over wheel. See order of assembly on accessories page in this manual.
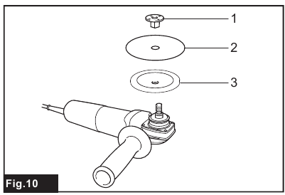
Installing or removing abrasive disc
Optional accessory
► Fig.10:

- Sanding lock nut
- Abrasive disc
- Rubber pad
- Mount the rubber pad onto the spindle.
- Fit the disc on the rubber pad and screw the sanding lock nut onto the spindle.
- Hold the spindle with the shaft lock, and securely tighten the sanding lock nut clockwise with the lock nut wrench.
To remove the disc, follow the installation procedure in reverse.
NOTE: Use sander accessories specified in this manual. These must be purchased separately.
OPERATION
|
|
|
|
Grinding and sanding operation
► Fig.11

Turn the tool on and then apply the wheel or disc to the workpiece.
In general, keep the edge of the wheel or disc at an angle of about 15° to the workpiece surface. During the break-in period with a new wheel, do not work the grinder in forward direction or it may cut into the workpiece. Once the edge of the wheel has been rounded off by use, the wheel may be worked in both forward and backward direction.
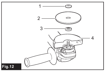
Operation with abrasive cut-off / diamond wheel
Optional accessory
|
|
► Fig.12:

- Lock nut
- Abrasive cut-off wheel / diamond wheel
- Inner flange
- Wheel guard for abrasive cut-off wheel / diamond wheel
As for the installation, follow the instructions for depressed center wheel.
The direction for mounting the lock nut and the inner flange varies by wheel type and thickness. Refer to the following figures.
For 100 mm (4') model
When installing the abrasive cut-off wheel:
► Fig.13:

- Lock nut
- Abrasive cut-off wheel (Thinner than 4mm (5/32"))
- Abrasive cutoff wheel (4mm (5/32") or thicker)
- Inner flange
When installing the diamond wheel:
► Fig.14:

- Lock nut
- Diamond wheel (Thinner than 4mm (5/32'))
- Diamond wheel (4mm (5/32') or thicker)
- Inner flange
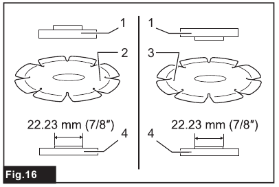
For 115 mm (4 - 1/2') / 125 mm (5') model
When installing the abrasive cut-off wheel:
► Fig.15:

- Lock nut
- Abrasive cut-off wheel (Thinner than 4mm (5/32"))
- Abrasive cutoff wheel (4mm (5/32") or thicker)
- Inner flange
When installing the diamond wheel:
► Fig.16:

- Lock nut
- Diamond wheel (Thinner than 4mm (5/32'))
- Diamond wheel (4mm (5/32') or thicker)
- Inner flange
Operation with wire cup brush
Optional accessory
|
|
► Fig.17:

- Wire cup brush
Unplug tool and place it upside down allowing easy access to spindle.
Remove any accessories on spindle. Thread wire cup brush onto spindle and tighten with supplied wrench.
NOTICE: Avoid applying too much pressure which causes over bending of wires when using brush. It may lead to premature breakage.
Operation with wire wheel brush
Optional accessory
|
|
► Fig.18:

- Wire wheel brush
Unplug tool and place it upside down allowing easy access to spindle.
Remove any accessories on spindle. Thread wire wheel brush onto spindle and tighten with the wrenches.
NOTICE: Avoid applying too much pressure which causes over bending of wires when using wire wheel brush. It may lead to premature breakage.
MAINTENANCE
| Always be sure that the tool is switched off and unplugged before attempting to perform inspection or maintenance. |
NOTICE: Never use gasoline, benzine, thinner, alcohol or the like. Discoloration, deformation or cracks may result.
Air vent cleaning
The tool and its air vents have to be kept clean. Regularly clean the tool's air vents or whenever the vents start to become obstructed.
► Fig.19:

- Exhaust vent
- Inhalation vent
To maintain product SAFETY and RELIABILITY, repairs, any other maintenance or adjustment should be performed by Makita Authorized or Factory Service Centers, always using Makita replacement parts.
OPTIONAL ACCESSORIES
| These accessories or attachments are recommended for use with your Makita tool specified in this manual. The use of any other accessories or attachments might present a risk of injury to persons. Only use accessory or attachment for its stated purpose. |
If you need any assistance for more details regarding these accessories, ask your local Makita Service Center.
► Fig.20

| - | 100 mm (4') model | 115 mm (4-1/2') model | 125 mm (5') model |
| 1 | Grip 36 | ||
| 2 | Wheel Guard (for grinding wheel) | ||
| 3 | Inner flange | Inner flange / Super flange | |
| 4 | Depressed center wheel / Flap disc | ||
| 5 | Lock nut | ||
| 6 | Back up pad | ||
| 7 | Flex wheel | ||
| 8 | Rubber pad 76 | Rubber pad 100 | Rubber pad 115 |
| 9 | Abrasive disc | ||
| 10 | Sanding lock nut | ||
| 11 | Wire wheel brush | ||
| 12 | Wire cup brush | ||
| 13 | Wheel Guard (for cut-off wheel) *1 | ||
| 14 | Abrasive cut-off wheel / Diamond wheel | ||
| - | Lock nut wrench | ||
NOTE: *1 In some European countries, when using a diamond wheel, the ordinary guard can be used instead of the special guard covering the both side of the wheel. Follow the regulations in your country.
NOTE: Some items in the list may be included in the tool package as standard accessories. They may differ from country to country.
Download manual
Here you can download full pdf version of manual, it may contain additional safety instructions, warranty information, FCC rules, etc.
Download Makita GA4030R; GA4530R; GA5030R - Angle Grinder Manual
/II
Need help?
Do you have a question about the GA4030R and is the answer not in the manual?