Haier HW80-B14959TU1 - Washing Machine Manual
- 1 Product description
- 2 Control panel
- 3 Programmes
- 4 Consumption
-
5
Daily use
- 5.1 Power supply
- 5.2 Water connection
- 5.3 Preparing laundry
- 5.4 Loading the appliance
- 5.5 Selecting detergent
- 5.6 Adding detergent
- 5.7 Switch on the appliance
- 5.8 Select a programme
- 5.9 Add individual selections
- 5.10 Start wash programme
- 5.11 Interrupt / cancel wash programme
- 5.12 After washing
- 5.13 Activate or deactivate the buzzer
- 6 7-hOn
- 7 Eco-friendIy washing
- 8 Care and cleaning
- 9 TroubIeshooting
- 10 Installation
- 11 Technical data
- 12 Customer service
- 13 Safety information
- 14 References
- 15 Download manual
- 16 In Other Languages

Product description
Note: Due to technical changes and different models, the illustrations in the following chapters may differ from your model.
Picture of appliance
Front

(Fig. 2-1)
- Detergent/Softener drawer
- Worktop
- Control panel
- Door
- Filter cover
- Adjustable feet
Rear side

(Fig. 2-2):
- Transportation bolts (T1-T4)
- Backcover
- Backcover screws(7EA)
- Power cord
- Drain hose
- Water inlet valve
Accessories
Check the accessories and literature in accordance with this list (Fig.2-3):

Control panel

- "Power" button
- Programme selector
- Display
- Detergent /Softener drawer
- Function buttons
- 'Start/Pause" button
Note: Acoustic signal
In following cases, an acoustic signal is no sounds by default:
- when pressing a button
- at the end of programme
- when turning the programmes selector
The acoustic signal can be selected if necessary; see DAILY USE.
"Power" button
Touch this button (Fig. 3-2) gently to switch on, the display is shining, the indicator of the "Start/Pause button is flashing. Press it again for about 2 seconds to switch off. If no panel element or programme is activated after a while machine will shut down automatically.

Note: Power off
Without WIFI connection, the switched-on appliance automatically powers off if it is not activated within 2 minutes before starting the programme or at the end of the programme. With WIFI connection, the waiting time duration is 24h.
Programme selector
By turning the knob (Fig. 3-3) one of 12 programmes can be selected, related LED wilI light up, its default settings will be displayed.

Display
The display (Fig. 3-4) shows following information:

- Washing time
- End time delay
- Error codes and service information
- Display symbols
- Speed, Temperature, etc
| Symbol | Meaning |
![]() | Drum door is locked. |
![]() | Control panel is locked. |
![]() | Steam. |
![]() | Appliance is connected to WIFI. |
![]() | Alarm. |
![]() | Pre-wash. |
| Delay. |
Function buttons
The function buttons (Fig. 3-5) enable additional options in the selected programme before programme starts.

The related indicators are displayed. By switching off the appliance or setting a new programme, all options are disabled.
If a button has multiple options, the desired option can be selected by pressing the button sequentially.
Note: Factory settings
To get best results in each programme Haier has well defined specific default settings. If there is no special requirement default settings are recommended.
Function button "Delay"
Touch this button (Fig. 3-6) to start the programme with a delay.

End time delay could be increased in steps of 30 minutes from 0,5-24h (End time will longer than original programme time). For example display off 6:30 means end of programme cycle will be in 6 hours and 30 minutes. Touch "Start/Pause" button to activate the time delay. It is not applicable to programme Spin, Refresh, Remote.
Note: Liquid detergent
If using liquid detergent, it is not recommended to activate the end time delay.
Function button " Steam"
Touch this button (Fig.3-7) the steam programme can be selected.

When this programme is selected, the default temperature is the max temperature of this programme. You can select if you require this function when programmes"Smart, Mix, Synthetic, Cotton, AIIergy Care" are used. When you select the programme "steam " the icon light up to warn you, the icon turns off when the programme is canceled.
When you select the programme, you cannot change the temperature. If you press the temperature button the programme will be canceled. Switch on the washing machine and select this programme. If the washing machine is working you can not select this programme.
Function button "Temp."
Touch this button (Fig. 3-8) to change the washing temperature of the programme. If no value is illuminated(the display "
") the water will not heated.

Function button "Speed"
Touch this button (Fig. 3-9) to change or deselect the spin of the programme. If no value is illuminated the display "
" the laundry will not spin.

Function button "Extra Rinse"
Touch this button (Fig. 3-10) to rinse the laundry more intense with fresh water. This is recommended for people with sensitive skin.

By touching the button several times zero to three additional cycles can be selected. They appear in the display with P--0/ P--1/P--2/P--3. Different programme options are different.
Function button "i-time"
This function (Fig. 3-11) intensifies different washing time. Not all programmes can select this function. See programmes that can select this function.

Function button "Start/Pause"
Touch this button (Fig. 3-12) gently to start or interrupt the currently displayed programme.

Child lock

Choosing a programme and then start, touch button" Delay" and "Steam"( Fig. 3-13) for 3 seconds simultaneously to block all panel elements against activation, panel display
.

For unlocking please touch again the two buttons. The child lock indicator lights up when the child lock works. Feature is optional when the machine is running.
The display shows
(Fig. 3-14) if a button will be pressed, when the child lock is activated. The change is not running.

Note Child lock:
- The child lock which is set up manually must be cancelled manually or will be canceled automatically at the end of the programme. Power off and error information won't cancel child lock. It still works when the appliance is powered on next time.
- lf you use the child lock, first press the program key, then the child lock will be on.
- Hold it for 3 seconds, the child lock will turn to full light and the child lock will be activated.
- Child lock can't be set up or cancelled through hOn APP.
Detergent drawer
Open dispenser drawer, the following components can be seen (Fig. 3-15):

- The main washing compartment for powder or liquid detergent.
- Detergent flap selector: lift it up for powder detergent, keep it down for liquid detergent.
- Compartment for softener.
- Pre-wash compartment, for a small amount of powder detergent.
- Lock tab, press it down to pull out dispenser drawer.
The recommendation on the type of detergents is suitable for the various washing temperatures, please refer to the manual of detergent.
Programmes

* Water is not heated up.
- Choose 900C wash temperature only for special hygienic requirements.
- Reduce detergent amount because programme duration is short.
- No or a small amount of powder detergent.
The design and specifications are subject to change without notice for quality improvement purposes.
Consumption
Scan QR code on energy label for energy consumption information.
The actual energy consumption may differ from the declared one according to local conditions.
Note: Auto Weight
The appliance is equipped with a loading recognition. At low loading, energy, water and washing time will be reduced automatically in some programmes. The display default time may vary depending on the load weight, involving the "Smart, Mix, Synthetic, Cotton, Cotton 20°C, Eco 40-60" programme.
Daily use
Power supply
Connect the washing machine to a power supply (220V to 240V~/50Hz; Fig. 6-1).

Please refer also to section INSTALLATION.
Water connection
- Before connecting check the cleanliness and clarity of the water inlet.
- Turn on the tap (Fig.6-2).
![]()
Note: Tightness
Before use check for leakage in the joints between the tap and the inlet hose by turning on the tap.
Preparing laundry
- Sort out clothes according to fabric (cotton, synthetics, woolor silk etc.) and how dirty they are (Fig. 6-3).
![Haier - HW80-B14959TU1 - Preparing laundry Preparing laundry]()
Pay attention to the care labelling of washing labels. - Separate white clothes from coloured ones. Wash coloured textiles first by hand to check if they fade or run.
- Empty pockets (keys, coins, etc.) and remove harder decorative objects (e.g. brooches).
- Garments without hems, delicates and finely woven textile such as fine curtains are to be put into a wash bag to care for this delicate laundry (hand or dry cleaning would be better).
- Close zippers, velco fastener and hooks, make sure the buttons are sewn on tightly.
- Place sensitive items like laundry without firm hem, delicate underwear and small items such as socks, belts, bras, etc. in a wash bag.
- Unfold large pieces of fabric such as bed sheets, bedspreads etc.
- Turn jeans and printed, decorated or color-intensive textiles inside out: possibly wash separately.
Non-textile, as well as small, loose or sharp-edged items may cause malfunctions and damage of clothes and appliance.
Care chart

Loading the appliance
- Put in the laundry piece by piece.
- Don't overload. Note the different maximum load according to programmes! Rule of thumb for maximum load: Keep six inches between load and drum top.
- Close the door carefully. Make sure that no pieces of laundry are pinched.
Selecting detergent
- Washing efficiency and performance is determined by used detergent quality.
- Use only machine wash approved detergent.
- If needed use specific detergents, e.g synthetic and woolen fabric.
- See tips for countertop detergent stickers.
- Do not use dry cleaning agents such as trichloroethylene and similar products.
Choose the best detergent

L = gel-/liquid detergent
P = powder detergent
O = optional
— = no
If using liquid detergent, it is not recommended to activate the time delay.
We recommend by using:
- Laundry powder: 20°C to 90°C* (best use: 40-60°C)
- Color detergent: 20°C to 60°C (best use: 30-60°C)
- Wool/delicate detergent: 20°C to 30°C (best use: 20-30°C)
* Choose 90°C wash temperature only for special hygienic requirements.
* If you choose the water temperature 60°C or above, we would like to advise you to use less detergent. Please kindly use the special disinfectant, which is suitable for cotton or synthetic cloth.
* It is better to use less or free suds detergent powder.
Adding detergent
- Slide out the detergent drawer.
- Put the required chemicals into corresponding compartments (Fig. 6-4).
- Push back the drawer gently.
Note:
- Remove detergent residues before next wash cycle from the detergent drawer.
- Do not overuse detergent or softener.
- Please follow the instruction on the detergent package.
- Always fill the detergent just before the beginning of the wash cycle.
- Concentrated liquid detergent should be diluted before adding.
- Do not use liquid detergent if function "Delay" is selected.
- Carefully choose the programme settings according to the care symbols on all laundry labels and according to the programme table.
Switch on the appliance
Touch the "Power" button to switch on the appliance (Fig. 6-5).

The LED of the "Start/Pause" button is flashing.
Select a programme
To get the best washing results, select a programme which fits the degree of soiling and sort of laundry type.
Turn the programme knob (Fig. 6-6) to select the right programme.

Related programme LED lights up and the default settings are displayed.
Note: Odour removal
Before first use we recommended to run programme "COTTON+90 OC+600rpm" with no load and small amount of detergent in washing agent compartment (2) or special machine cleaner to remove possibly corruptive residues.
Add individual selections
Select required options and settings (Fig. 6-7); refer to Control Panel.

Start wash programme
Touch "Start/Pause" button (Fig. 6-8) to start.

The LED of the "Start/ Pause" button stops flashing and lights up continuously.
Appliance operates according to present settings.
Changes are only possible by cancelling the programme.
Interrupt / cancel wash programme
To interrupt a running programme press gently "Start/Pause". The LED above the button is flashing. Press it again to resume operation.
To cancel a running programme and all its individual settings:
- Touch"Start/Pause" button to interrupt the running programme.
- Touch " Power" button for about 2 seconds to switch the appliance off.
- Touch the Power"button to turn on the appliance, select "no Speed" (speed lights are off) and run programme Spin to drain the water.
- After closing the programm to restart the appliance, select a new programme and start it.
After washing
Note: Door lock
- For safety reasons the door is locked partially during the washing cycle. It is only possible to open the door at the end of the programme or after the programme was cancelled correctly (see description above).
- In case of high water level, high water temperature and during spinning it is not possible to open the door;
is displayed.
- At programme cycle end
is displayed. - The appliance switches off automatically.
- Remove laundry as soon as possible to go easy on it and to prevent more wrinkling.
- Turn off the water supply.
- Unplug the power cord.
- Open the door to prevent formation of moisture and odours. Let it open while not used.
Note: Standby-mode / energy-saving mode
The switched on appliance will go into standby-mode if it will not be activated within 2 minutes before starting the programme or at the end of programme. The display switches off. This saves energy. To interrupt the standby- mode touch " Power " button.
Activate or deactivate the buzzer
The acoustic signal can be selected if necessary:
- Switch on the appliance.
- Select the MIX programme.
- Touch the "Steam" button and "Speed" button at the same time for about 3 seconds. "
" will be displayed and the buzzer will be activated.
For deactivating the buzzer touch these two buttons at the same time again. "
" will be displayed.
7-hOn
Note: Deviations
Due to constant updates of hOn, the functions and the display interface of the APP may differ from the following description.
General
This appliance is Wi-Fi enabled. With hOn App you can use your smartphone to control the program.
Please observe the safety precautions in this user manual and make sure that these are complied even when operating the appliance via the hOn APP while you are away from home. You must also follow the instructions in the hOn.
Requirements
- One wireless router (802. I lb/g/n protocol) which supports only the frequency band of 2 4 GHz. Length of Router SSID is 1-31 characters(including 1 and 31), and password is 8-64 characters. Minimum length of password must be 8 characters. Router encryption methods include open, WPA-PSK and WPA2-PSK.
- The App is available for devices running Android, Huawei or iOS, both for tablets and for smartphones.
- The appliance shall be installed in a position where it can receive a strong Wi-Fi signal. Once the appliance has been correctly associated with the APP, if it's not properly connected to the wireless router, no Wi-Fi icon appears on the display.
Download and installation of hOn APP
Download the hOn App on your device by framing the following QR code:

or by the link: go.haier-europe.com/download-app
| Frequency rate(OFR) | 2400 MHz - 2483.5 MHz |
| Max. power(EIRP) | 20dBM |
| Wireless standard | IEEE802.11b/g/n & BLE V4.2 |
Note: Registration
Registration is required when first time to use or the formal account has been deleted/ closed. For further use, you need to enter user name and password when you log in.
Registration and App Pairing
- Connect the smartphone to the home Wi-Fi network you want to connect the product to.
- Open the App.
- Create the user profile (or log-in if it is already created previously).
- Close the door.
- Pairing the appliance following the instructions on the device display.
Note: Wi-Fi network
It is not possible to connect the appliance to a public Wi-Fi network. It may cause malfunction.
Note: Use same Wi-Fi
Connect with your smartphone to the network you want to connect the product to.
Enable Remote Control
- Check that the router is switched on and connected to the Internet.
- Load the laundry and close the door.
- Select the "Remote" programme, the door locks.
- Start the cycle using the app, control panel will be disabled.
- Once the cycle has been completed, the door unlocks and the remote control turns off.
- After 2 minutes the appliance goes to off mode.
Note: Remote control expiration
Once the remote control is activated, if the end user doesn't start any cycle from app in 10 minutes, the appliance will go to Networked Delay Start Mode, and keeps remote control up to 24 hours, then shut off.
Disable Remote Control
- To exit remote control while a cycle is running, press START/PAUSE button on the control panel. The cycle will pause and Remote will blink.
- If conditions permit, the door will unlock.
- To resume the cycle, close the door and press START/PAUSE button. The remote control will be reactivated and Remote will be fixed.
- Control the appliance using the app.
End of Cycle With Remote Control On
- At the end of the cycle, the door will unlock and the remote control will deactivate.
- After 2 minutes the appliance will automatically switch off.
Configuration information deleted
- Select the "Remote" programme;
displayed;- Long press "Delay" button for 5 seconds till "
" dlsplayed. - Configuration information is deleted and reset configuration, rotate the knob to select other programme or shut down to exit.
Note: Network credentials cancellation/reset
Follow this procedure only if you are going to sell your washer.
Eco-friendIy washing
Environmentally responsible use
- To achieve best use of energy, water, detergent and time you should use the recommended maximum load size.
- Do not overload (hand width clearance above laundry).
- For slightly soiled laundry select the Quick 15' programme.
- Apply exact dosages of each washing agent.
- Choose the lowest adequate washing temperature-modern detergents are efficiently cleaning below 60°C.
- Raise default settings only due to heavy staining.
- Select max. spinning speed if a domestic dryer is used.
Care and cleaning
Cleaning the detergent drawer
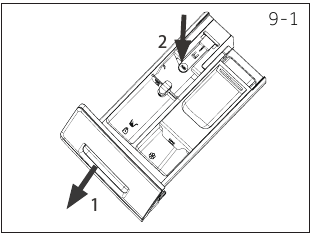
Take always care there are no detergent residues. Clean the drawer regularly (Fig. 9-1):
- Pull out the drawer until it stops.
- Press the release button and remove the drawer.
- Flush the drawer with water until it is clean and insert the drawer back in the appliance.
Cleaning the machine
- Unplug the machine during cleaning and maintenance.
- Use a soft cloth with soap liquid to clean the machine case (Fig. 9-2) and rubber components.
![Haier - HW80-B14959TU1 - Cleaning the machine Cleaning the machine]()
- Do not use organic chemicals or corrosive solvents.
Water inlet valve and inlet valve filter
To prevent blockage of water supply by solid substances like lime clean regularly the inlet valve filter.
- Unplug the power cord and turn off the water supply.
- Unscrew the water inlet hose at the back (Fig 9-3) of the appliance as well as on the tap.
![]()
- Flush the filters with water and a brush (Fig. 9-4).
![]()
- Insert the filter and install the inlet hose.
Cleaning the drum
- Remove accidentally washed items, especially metal parts such as pins, coins, etc. from the drum (Fig. 9-5) because they cause rust stains and damage.
![Haier - HW80-B14959TU1 - Cleaning the drum Cleaning the drum]()
- Use a non-chloride cleaner for removing rust stains. Observe the warning hints of the cleaning agent manufacturer.
- Do not use any hard objects or steel wool for cleaning.
Note: Hygiene
For regular maintenance, we recommend running the programme "COTTON+90°C+600 rpm" within 100 cycles to avoid possible corrosive residues. Add a small amount of detergent to the detergent compartment (2) or use a special machine cleaner.
Long periods of disuse
If the appliance is left idle for a longer period:
- Pull out the electrical plug (Fig. 9-6).
![]()
- Turn off water supply (Fig.9-7).
![]()
- Open the door to prevent formation of moisture and odours. Let door open while not used.
Before next usage check carefully power cord, water inlet and drain hose. Make sure everything is properly installed and without leackage.
Pump filter
Clean the filter once a month and check the pump filter for instance if the appliance:
- Doesn't drain the water.
- Doesn´t spin.
- Cause unusual noise while running.
Scalding Risk! Water in the pump filter can be very hot! Before any action please ensure water has cooled down.
- Turn off and unplug the machine (Fig. 9-8).
![]()
- Push and open service flap (Fig. 9-9).
![]()
- Provide a flat container to catch leach water (Fig. 9-10). There could be bigger amounts!
![]()
- Pull the drainhose out and hold its end above the container (Fig. 9-10).
- Take the sealing plug out of the drainhose (Fig. 9-10).
- After complete drainage close drainhose (Fig.9-11). and push it back into the machine.
![]()
- Unscrew and remove counter clockwise the pump filter (Fig. 9-12).
![]()
- Remove contaminants and dirt (Fig. 9-13).
![]()
- Clean carefully pump filter, e.g. using running water (Fig. 9-14).
![]()
- Refix it thoroughly (Fig. 9-15).
![]()
- Close service flap.
- Pump filter sealing has to be clean and unhurt, If the lid is not ful tightened, water can escape.
- The filter must be in place, or it may lead to leakage.
TroubIeshooting
Many occuring problems could be solved by yourself without specific expertise. In case of a problem please check all shown possibilities and follow below instructions before you contact an after sales service. See CUSTOMER SERVICE.
- Before maintenance, deactivate the appliance and disconnect the mains plug from the mains socket.
- Electrical equipment should be serviced only by qualified electrical experts, because improper repairs can cause considerable consequential damages
- A damaged power cable should only be replaced by the manufacturer, its service A damaged power cable should only be replaced by the manufacturer, its service agent or similarly qualified persons in order to avoid a hazard.
Information codes
Following codes are displayed only for information referring to the washing cycle. No measures must be performed.
| Code | Message |
![]() | The remaining wash cycle time will be 1 hour and 25 minutes. |
![]() | The remaining wash cycle time including chosen end-time delay will be 6 hours and 30 minutes. |
![]() | The washing cycle is finished. The appliance shuts off automatically. |
![]() | Door is closed because of high water level, high water temperature or spinning cycle. |
![]() | The buzzer is deactivated. |
![]() | The buzzer is activated. |
![]() | The function keys is closed. The programme changing is invalid. |
Troubleshooting with display code
| Problem | Cause | Solution |
![]() |
|
|
![]() |
|
|
![]() |
|
|
![]() |
|
|
![]() |
|
|
![]() |
|
|
![]() |
|
|
![]() |
|
|
![]() |
|
|
![]() |
|
|
Troubleshooting without display code
| Problem | Cause | Solution |
| Washing machine fails to operate. |
|
|
| Washing machine will not be filled with water. |
|
|
| Machine is draining while being filled. |
|
|
| Drainage failure. |
|
|
| Strong vibration while spinning. |
|
|
| Operation stops before completing wash cycle. |
|
|
| Operation stops for a period of time. a period of time. |
|
|
| Excessive foam floats drum and/or detergent drawer. |
|
|
| Automatic adjustment of washing time. |
|
|
| Spinning fails. |
|
|
| Unsatisfactory washing result. |
|
|
| Washing powder residues are on the laundry. |
|
|
| Laundry has grey patches. |
|
|
Note: Foam-formation
If too much foam is inspected during spin cycle, motor stops and drain pump will be activated for 90 seconds. If that elimination of foam fails up to 3 times, programme end swith out spinning.
Should the error messages reappear even after the taken measures, switch off the appliance, disconnect the power supply and contact the customer service.
In case of power failure
The current programme and its setting will be saved. When power supply is restored operation will be resumed.
If a power failure cuts an operating wash programme If a power failure cuts an operating wash programme door opening is mechanically blocked. To get out any laundry water level should not be seen in the glassy porthole of the door. - Danger of burns! Water level has to be lowered as described in "Pump filter" Not till then pull lever (A) beneath service flap (Fig 10-1) until door is unlocked by a gentle click. Afterwards re-fix all parts.

When the washing machine in a safe state (under the water level below the window along a certain distance, barrel temperature below 55°C, the inner barrel did not turn), may unlock the doors of the machine operation.
Installation
Preparation
- Take the appliance out of the packaging.
- Remove all packaging material including protecting film on cabinet, polystyrene base, keep them out of childrens reach. While opening the package, water drops may be keep them out of childrens reach. While opening the package, water drops may be seen on plastic bag and porthole. This normal phenomenon results from water tests in the factory.
Note: Packaging disposal
Keep all packaging materials out of children´s reach and dispose them in an environmentally friendly manner.
OPTIONAL: Install noise reduction pads
- When opening the shrink package, you will find four noise reduction pads. These are used for reducing noise (Fig. 11-1).
![]()
- Lay the washing machine down to its side, porthole pointing upwards, bottom side towards operator (Fig. 11-2).
![]()
- Take out the noise reduction pads and remove the double-sided adhesive protective film; paste around the bottom; the noise reduction pads under the washing machine cabinet as shown in Figure 3 (two longer pads in position 1 and 3, two shorter pads in position 1 and 3, two shorter pads in position 2 and 4). Finally set the machine upright again (Fig. 11-3).
![]()
Warm tip:
Noise reduction pad is optional, could help to reduce Noise reduction pad is optional, could help to reduce noise, please assemble it or not according to your noise, please assemble it or not according to your own demand.
Dismantle the transportation bolts
The transportation bolts are designed for clamping anti-vibration components inside the appliance during transportation to prevent inner damage.
- Remove all 4 bolts on the rear side and take out plastic spacers (Fig. 11-4), (Fig. 11-5)
![Haier - HW80-B14959TU1 - Dismantle the transportation bolts - Step 1 Dismantle the transportation bolts - Step 1]()
- Fill left holes with blanking plugs (Fig. 11-6), (Fig. 11-7).
![Haier - HW80-B14959TU1 - Dismantle the transportation bolts - Step 2 Dismantle the transportation bolts - Step 2]()
Note: Keep in safe place
Keep all parts of the transport protection in a safe place for later use. Whenever the appliance is to be moved at first reinstall the protection parts.
Moving the appliance
If the machine is to be moved to a distant location, replace the transportation bolts removed before installation to prevent damage: The assembly takes place in reverse order.
Aligning the appliance
Adjust all feet (Fig. 11-8) to achieve a complete level position.

This will minimize vibrations and thus noise during use. It will also reduce wear and tear. We recommend to use a spirit level for adjustment. Floor should be as stable and flat as possible.
- Loose the locknut (1) by using a wrench.
- Adjust the high by turning the foot (2).
- Tighten lock ut (1) against the housing.
Drain Water Connection
Fix the water drain hose properly to the piping. The hose has to reach at one point a height between 80 and 100 cm above the appliance bottom line! If possible keep always drain hose fixed to the clip at the appliance back.
- Use only the supplied hose set for the connection.
- Never reuse old hose sets!
- Only connect to cold water supply.
- Before connection, check whether the water is clean and clear.
Following connections are possible:
Drain hose to sink
- Hang the drain hose with the U-support over the edge of a sink with adequate size (Fig. 11-9).
![]()
- Protect the U-support sufficiently against slipping.
Drain hose to waste water connection
- The internal diameter of the stand pipe with vent-hole must be minimum 40 mm. vent-hole must be minimum 40 mm.
- Put the drain hose for 80-100 mm in the wastewater pipe.
- Attach the U-support and secure it sufficiently (Fig. 11-10).
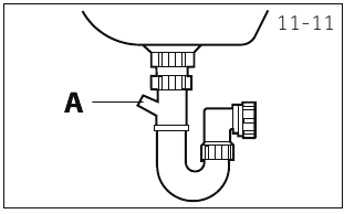
Drain hose to sink connection
- The junction must lie above the siphon.
- A spigot connection is usually closed by a pad (A). That must be removed to prevent any disfunction (Fig. 11-11).
- Secure the drain hose with a clamp.
- The drain hose should not be submerged in water and should be securely fixed and leak-free. If the drain hose is placed on the ground or if the pipe is at a height of less than 80 cm, the washing machine will continuously drain while being filled (self-siphoning).
- Drain hose is not to be extended. If necessary contact after sales service.
Fresh Water Connection
Make sure that the gaskets are inserted.
- Connect the water inlet hose with the angled end to the appliance (Fig. 11-12). Tighten the screw joint by hand.
![]()
- The other end connect to a water tap with a 3/4" thread (Fig. 11-13).
![]()
Electrical Connection
Before each connection check if:
- power supply, socket and fusing are appropriate to the rating plate.
- the power socket is earthed and no multi-plug or extension are used.
- the power plug and socket are strictly according.
- Only UK: The UK plug meets BS1363A standard.
Put the plug into the socket (Fig. 11-14).

- Ensure always that all connections (power supply, drain and fresh water hose) are firm, dry and leak-free!
- Take care these parts are never to be crushed, kinked, or twisted.
- If the supply cord is damaged, it must be replaced by the service agent (see warrant card) in order to avoid a hazard.
Technical data
Additional technical data
| HW80 | |
| Voltage in V | 220-240 V~/50Hz |
| Current in A | 10 |
| Max. power in W | 2000 |
| Water pressure in MPa | 0.03≤P ≤1 |
| Netto weight in kg | 61 |
Product dimensions

| PRODUCT DIMENSIONS | HW80 | |
| A | Overall height of product mm | 850 |
| B | Overall width of product mm | 595 |
| C | Overall depth of product (To main control board size) mm | 437 |
| D | Overall depth of product mm | 517 |
| E | Depth of door open mm | 1025 |
| F | Minimum door clearance to adjacent wall mm | 300 |
Note: The exact height of your washer is dependent on how far the feet are extended from the base of the machine. The space where you install your washer needs to be at least 40mm wider and 20mm deeper than its dimensions.
Customer service
We recommend our Haier Customer Service and the use of original spare parts. If you have a problem with your appliance, please first check section TROUBLESHOOTING.
If you cannot find a solution there, please contact:
- your local dealer.
- the Service & Support area at www.haier.com where you can find telephone numbers and FAQs and where you can activate the service claim.
To contact our Service, ensure that you have the following data available. The information can be found on the rating plate.
Also check the Warranty Card supplied with the product in case of warranty.
For general business enquiries please find below our addresses in Europe:
European Haier addresses (UK):
Haier Appliances UK Co. Ltd.
One Crown Square One Crown Square
Church Street East
Woking, Surrey, GU21 6HR
UK
* For more information please refer to www.haier.com
Safety information
Before switching on the appliance for the first time read the following safety hints!
Before first use
- Make sure there is no transport damage.
- Make sure all transport bolts are removed.
- Remove all packaging and keep out of children's reach.
- Handle the appliance always with at least two persons because it is heavy.
Daily use
- This appliance can be used by children aged from 8 years and above and persons with reduced physical, sensory or mental capabilities or lack of experience and knowledge if they have been given supervision or instruction concerning use of the appliance in a safe way and understand the hazards involved.
- Keep away children under 3 years of age from the appliance unless they are constantly supervised.
- Children shall not play with the appliance.
- Do not let children or pets come close to the appliance when the door is open.
- Store washing agents out of reach of children.
- Pull up zips, fix loose threads and take care for small items to prevent laundry from being entangled. If necessary, use an appropriate bag or net.
- Do not touch or use the appliance when barefoot or with wet or damp hands or feet.
- Do not cover or encase the appliance during operation or afterwards to allow any moisture or dampness to evaporate.
- Do not place heavy objects or sources of heat or damp on top of the appliance.
- Do not use or store flammable detergent or dry cleaning agent in close vicinity to the appliance.
- Do not use any flammable sprays in close vicinity to the appliance.
- Do not wash any garments treated with solvents in the appliance without having dried them previously in the air.
- Do not remove or insert the plug in the presence of flammable gas.
- Do not hot wash foam rubber or sponge-like materials.
- Do not wash any laundry which is polluted with flour.
- Do not open detergent drawer during any wash cycle.
- Do not touch the door during the washing process, it gets hot.
- Do not open the door if the water level is visibly over the porthole.
- Do not force the door to open. The door is fitted with a self-lock device and will open shortly after the washing procedure is ended.
- Switch off the appliance after each wash programme and before undertaking any routine maintenance and disconnect the appliance from the electrical supply to save electricity and for safety.
- Hold the plug, not the cable, when unplugging the appliance.
Maintenance / cleaning
- Make sure children are supervised if they carry out cleaning and maintenance.
- Disconnect the appliance from the electrical supply before undertaking any routine maintenance.
- Keep the lower part of the porthole clean and open door and detergent drawer if appliance is not in use to prevent odours.
- Do not use water spray or steam to clean the appliance.
- Replace a damaged supply cord only by the manufacturer, its service agent or similarly qualified persons in order to avoid a hazard.
- Do not try to repair the appliance by yourself. In case of repair please contact our customer service.
Installation
- The appliance should be placed in a well-ventilated place. Ensure a location which allows opening the door fully.
- Never install the appliance outdoors in a damp place, or in an area which may be prone to water leaks such as under or near a sink which may be prone to water leaks such as under or near a sink unit. In the event of a water leak cut power supply and allow the machine to dry naturally.
- Install or use the appliance only where the temperature is above 5ºC.
- Do not place the appliance directly on a carpet, or close to a wall or furniture.
- Do not install the appliance in direct sunlight or in the near of heat sources (e.g. stoves, heaters).
- Make sure that the electrical information on the rating plate agrees with the power supply. If it does not, contact an electrician.
- Do not use multi-plug adapters and extension cables.
- Make sure only the delivered electric cable and hose set are used.
- Make sure not to damage the electric cable and the plug. If damaged have it replaced by an electrician.
- Use a separate earthed socket for the power supply which is easy accessible after installation. The appliance must be earthed.
Only for UK: The appliance's power cable is fitted with 3-cord (grounding) plug that fits a standard 3-cord (grounded) socket. Never cut off or dismount the third pin (grounding). After the appliance is installed, the plug should be accessible. - Make sure the hose joints and connections are firm and there is no leakage.
Intended use
This appliance is intended for washing machine-washable laundry only. Anytime follow the instructions given on the label of each garment label. It is designed exclusively for domestic use inside the house. It is not intended for commercial or industrial use.
Changes or modifications to the device are not allowed. Unintended use may cause hazards and loss of of all warranty and liability claims.
References
Download manual
Here you can download full pdf version of manual, it may contain additional safety instructions, warranty information, FCC rules, etc.
Download Haier HW80-B14959TU1 - Washing Machine Manual








is displayed.
" will be displayed and the buzzer will be activated.
displayed;
" dlsplayed.






































Need help?
Do you have a question about the HW80-B14959TU1 and is the answer not in the manual?