
The microwave can be fitted in position A or B:

| Position | Niche size W D H |
| A | 562 x 550 x 450 |
| B | 562 x 500 x 450 |
Measurements in (mm)

Do not use the microwave oven to heat oil for deep frying. The temperature cannot be controlled and the oil may catch fire. To make popcorn, only use special microwave popcorn makers. Individuals with PACEMAKERS should check with their doctor or the manufacturer of the pacemaker for precautions regarding microwave ovens.
Never spill or insert any objects into the door lock openings or ventilation openings. In the event of a spill, turn off and unplug the oven immediately and call an authorised ELECTROLUX service agent.
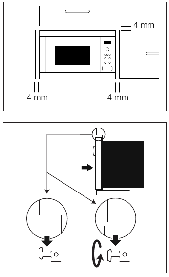
Never modify the oven in any way. Only use the turntable and the turntable support designed for this oven. Do not operate the oven without the turntable.
To prevent the turntable from breaking:
Neither the manufacturer nor the dealer can accept any liability for damage to the oven or personal injury resulting from failure to observe the correct electrical connection procedure. Water vapour or drops may occasionally form on the oven walls or around the door seals and sealing surfaces. This is a normal occurrence and is not an indication of microwave leakage or a malfunction.
Concerning the lamp(s) inside this product and spare part lamps sold separately: These lamps are intended to withstand extreme physical conditions in household appliances, such as temperature, vibration, humidity, or are intended to signal information about the operational status of the appliance. They are not intended to be used in other applications and are not suitable for household room illumination.


Check to make sure the following accessories are provided:
When you order accessories, please mention two items: part name and model name to your dealer or an authorised ELECTROLUX service agent.
Do not operate the microwave oven without these parts fitted.

Favourites
Kitchen timer
Auto defrost
Microwave
Stop/Cancel
Child safety lock
Set clock
Display segments
Weight
Power levels
When the oven is plugged in for the first time you have the option of setting the clock. The oven has a 24hr clock.
Example: To set the clock to 18:45.
When the clock is set, the time of day will not be shown in the display.
The oven will automatically enter standby mode if it is not used within a 5 min period.
Example: If the clock has not been set:
The display will switch off.
Open the door or press any key to exit standby mode.
Example: If the clock has been set:
After the 5 minute period, the time will be displayed.
You can adjust the clock after the time has been set.
Example: To change from 18.45 to 19.50.
The oven has a safety feature which prevents the accidental running of the oven by a child. When the lock has been set, no part of the microwave will operate until the lock feature has been turned off.
Switching the lock on or off is only possible when the oven is not running.
Example: To switch the lock on. Press and hold the STOP key until the 'child lock' symbol switches on.
Example: To switch the lock off. Press and hold the STOP key until the 'child lock' symbol switches off.
When child lock is switched on, all keys are disabled except the STOP key.
Example: To heat soup for 2 minutes and 30 seconds on 630 W microwave power.
In microwave cooking mode, you can adjust the power level of the oven by pressing the key directly below the required setting.
You can set the power level when the oven is running by pressing and holding the required POWER LEVEL key until the new power setting is highlighted on the display. Power levels that are too high or cooking times that are too long may overheat foods resulting in a fire.
If 900 W is selected then the maximum microwave time that can be input is 15 minutes.
If the oven runs in any mode for 3 minutes or longer, the fan will stay on for 2 minutes after the cooking ends. Open the door and it will stop, close the door it will start again until 2 minutes is finished (including door open time). If the oven runs for less than 3 minutes the fan will not come on.
After cooking the turntable will continue to rotate until the cooking vessel returns to its initial start position. The cavity light will remain on until completion of the rotation, or for 5 seconds (whichever is greater). The oven will beep when complete. If the door is opened during this process, the rotation will stop.
| Power setting | Suggested use |
| 900 W/HIGH | Used for fast cooking or reheating (e.g. soup, casseroles, canned food, hot beverages, vegetables, fish). |
| 630 W | Used for longer cooking of dense foods such as roast joints, meat loaf and plated meals, also for sensitive dishes such as cheese sauce and sponge cakes. At this reduced setting, the sauce will not boil over and food will cook evenly without over cooking at the sides. |
| 450 W | For dense foods which require a long cooking time when cooked conventionally (e.g. beef dishes) it is advisable to use this power setting to ensure the meat will be tender. |
| 270 W/ DEFROST | To defrost, select this power setting, to ensure that the dish defrosts evenly. This setting is also ideal for simmering rice, pasta, dumplings and cooking egg custard. |
| 90 W | For gentle defrosting (e.g. cream gateaux or pastry). |
| 0 W | For standing/kitchen timer. |
W = WATT
| Cooking mode | Standard time | Reduced power level |
| Microwave 900 W | minutes | Microwave 630 W |
You can adjust the cooking time during cooking.
Example: To add 2 minutes (120 seconds) using the START key.
The cooking time will increase by 120 seconds.
Press the STOP key once to enter Pause mode.
Press the STOP key again to cancel the cooking time.
To set the kitchen timer.
The time can be extended when the timer is running by pressing the START key. The timer function can only be used when the oven is not running.
You can directly start cooking on 900 W/HIGH for 30 seconds by pressing the START key.
To add more time press the START key.
To turn the sound off.
To turn the sound on.
To pause whilst the microwave is running.
The oven has 3 Favourite recipes.
Soften Butter
Melt Chocolate
Mug Cake
Example: To soften butter.
If display segments exhibit a rotating pattern this indicates that the food needs to be stirred or turned over. To continue cooking, press the START key. At the end of the auto defrost time, the programme will automatically stop. The power levels for the pre-set Favourite recipes cannot be adjusted. 1-4 Mug cakes can be cooked.
Chocolate may become very hot! If the chocolate needs longer cooking time then add 10 seconds.
Take care with chocolate as it may overheat and burn.
To overwrite Favourites for your own recipes.
To re-set Favourites to the factory settings.
The oven will reset Favourites to the factory settings.
Auto defrost automatically works out the correct cooking mode and cooking time based on the weight of the food.
You can choose from 2 auto defrost menus.
Example: To defrost 0.2 kg steak.
If display segments exhibit a rotating pattern this indicates that the food needs to be stirred or turned over. To continue cooking, press the START key. At the end of the auto defrost time, the programme will automatically stop. Time/Power adjustment is not available in auto defrost.
| Favourites | Weight | Key | Procedure |
| Soften Butter | 0.05-0.25 kg | |
|
| Melt Chocolate | 0.1-0.2 kg | |
Chocolate may become very hot! If the chocolate needs longer then add 10 seconds cooking time. Take care with chocolate as it may overheat and burn. |
| Mug Cake | 1-4 mugs | |
|
Rich Chocolate Mug Cake
Ingredients for 1 Mug:
| 2½ tbsp (25 g) | Plain Flour |
| 2 tbsp (12 g) | Cocoa Powder |
| 2½ tbsp (30 g) | Castor Sugar |
| ¼ tsp | Baking Powder |
| 1½ tbsp (15 g) | Vegetable Oil |
| ¼ tsp | Vanilla Extract |
| 1 | Medium Egg |
Method:
After cooking, stand for 30 seconds.
Decorate with a swirl of chocolate buttercream.
Tip: To make Chocolate Orange Mug Cake replace the vanilla extract with ½ tsp orange extract.
Raspberry Ripple Mug Cake
Ingredients for 1 Mug:
| 2½ tbsp (25 g) | Plain Flour |
| 2½ tbsp (30 g) | Castor Sugar |
| ¼ tsp | Baking Powder |
| 1½ tbsp (15 g) | Vegetable Oil |
| ½ tsp | Vanilla Extract |
| 1 | Medium Egg |
| 1½ tbsp | Seedless Raspberry Jam |
Method:
After cooking, stand for 30 seconds.
Decorate with a swirl of vanilla buttercream.
Apple Crumble Mug Cake
Ingredients for 1 Mug:
| 2½ tbsp (25 g) | Plain Flour |
| 2 tbsp (30 g) | Soft Brown Sugar |
| ¼ tsp | Baking Powder |
| ¼ tsp | Ground Cinnamon |
| 1½ tbsp (15 g) | Vegetable Oil |
| 1 | Medium Egg |
| 1½ tbsp (30 g) | Apple Sauce |
| half (7 g) | Digestive Biscuit, crushed |
Method:
After cooking, stand for 30 seconds.
Top with a scoop of vanilla ice cream.
The apple sauce will be hot.
Peanut Butter Mug Cake
Ingredients for 1 Mug:
| 2½ tbsp (25 g) | Plain Flour |
| 2 tbsp (30 g) | Soft Brown Sugar |
| ¼ tsp | Baking Powder |
| 1½ tbsp (15 g) | Vegetable Oil |
| ¼ tsp | Vanilla Extract |
| 2 tbsp (30 g) | Smooth Peanut Butter |
| 1 | Medium Egg |
Method:
After cooking, stand for 30 seconds.
Top with chocolate spread.
Tip: Use crunchy peanut butter if you prefer.
Lemon Drizzle Mug Cake
Ingredients for 1 Mug:
| 2½ tbsp (25 g) | Plain Flour |
| 2½ tbsp (30 g) | Castor Sugar |
| ¼ tsp | Baking Powder |
| 1½ tbsp (15 g) | Vegetable Oil |
| 1 tsp | Lemon Zest |
| 1 | Medium Egg |
| Topping: | 1 tbsp Lemon Juice mixed with 2 tbsp Castor Sugar |
Method:
Carrot Mug Cake
Ingredients for 1 Mug:
| 2 tbsp (20 g) | Plain Flour |
| 2½ tbsp (30 g) | Light Brown Sugar |
| ¼ tsp | Baking Powder |
| ¼ tsp | Ground Cinnamon |
| ¼ tsp | Ground Nutmeg |
| 1 tbsp | Ground Almonds |
| 1½ tbsp (15 g) | Sunflower Oil |
| zest from ½ Orange | |
| 30 g | Grated Carrot |
| 1 | Medium Egg |
| Cream Topping: | 15 g Butter, Softened 40 g Icing Sugar 40 g Full-fat Cream Cheese ½ tsp Orange Juice |
Method:
After cooking, stand for 30 seconds.
Allow the cake to cool, then add the topping.
| Auto defrost | Weight | Key | Procedure |
| Meat/fish/poultry (Whole fish, fish steaks, fish fillets, chicken legs, chicken breast, minced meat, steak, chops, burgers, sausages) | 0.2-1.0 kg | x1 |
|
| Bread | 0.1-1.0 kg | x2 |
|
Enter the weight of the food only. Do not include the weight of the container.
For food weighing more or less than weights/quantities given in the chart, use manual operation.
The final temperature will vary according to the initial temperature.
Steaks and chops should be frozen in one layer.
Minced meat should be frozen in a thin shape.
| Food/drink | Quantity -g/ml- | Power Level | Time -Min- | Method |
| Milk, 1 cup | 150 | 900 W | 1 | do not cover |
| Water, 1 cup 6 cups 1 bowl | 150 900 1000 | 900 W 900 W 900 W | 2 8-10 9-11 | do not cover do not cover do not cover |
| One plate meal | 400 | 900 W | 4-6 | cover, stir halfway through cooking |
| Soup/stew | 200 | 900 W | 1-2 | cover, stir after heating |
| Vegetables | 500 | 900 W | 3-5 | cover, stir halfway through cooking |
| Meat, 1 slice1) | 200 | 900 W | 3 | thinly spread sauce over the top, cover |
| Fish fillet1) | 200 | 900 W | 3-5 | cover |
| Cake, 1 slice | 150 | 450 W | ½-1 | place in a flan dish |
| Baby food, 1 jar | 190 | 450 W | ½-1 | transfer into a suitable microwaveable container, after heating stir well and test the temperature |
| Melting margarine or butter1) | 50 | 900 W | ½ | cover |
| Melting chocolate | 100 | 450 W | 3-4 | stir occasionally |
1)from chilled
| Food | Quantity -g- | Power Level | Time -Min- | Method | Standing time -Min- |
| Goulash | 500 | 270 W | 8-9 | stir halfway through defrosting | 10-30 |
| Cake, 1 slice | 150 | 90 W | 1-3 | place in a flan dish | 5 |
| Fruit | 250 | 270 W | 3-5 | spread out evenly, turn over halfway through defrosting | 5 |
| Food | Quantity -g- | Power Level | Time -Min- | Method | Standing time -Min- |
| Fish fillet | 300 | 900 W | 9-11 | cover | 2 |
| One plate meal | 400 | 900 W | 8-10 | cover, stir after 6 minutes | 2 |
| Food | Quantity -g- | Power Level | Time -Min- | Method | Standing time -Min- |
| Broccoli/ Peas | 500 | 900 W | 6-8 | add 4-5 tbsps water, cover, stir halfway through cooking | - |
| Carrots | 500 | 900 W | 9-11 | cut into rings, add 4-5 tbsps water, cover, stir halfway through cooking | - |
| Roasts | 1000 | 630 W | 34-38 | season to taste, place in a shallow flan dish, turn over halfway through cooking | 10 |
| Fish fillet | 200 | 900 W | 4-6 | season to taste, place in a flan dish, cover | 2 |
If the oven runs in any mode for 3 minutes or longer, the fan will stay on for 2 minutes after the cooking ends. Open the door and it will stop, close the door it will start again until 2 minutes is finished (including door open time). If the oven runs for less than 3 minutes the fan will not come on.
| Cookware | Microwave safe | Comments |
| Aluminium foil/ containers | ![]() | Small pieces of aluminium foil can be used to shield food from overheating. Keep foil at least 2 cm from the oven walls, as arcing may occur. Foil containers are not recommended unless specified by the manufacturer. Follow instructions carefully. |
| China and ceramics | ![]() | Porcelain, pottery, glazed earthenware and bone china are usually suitable, except for those with metallic decoration. |
| Glassware e.g. Pyrex ® | ![]() | Care should be taken if using fine glassware as it can break or crack if heated suddenly. |
| Metal | ![]() | It is not recommended to use metal cookware when using microwave power as it will arc, which can lead to fire. |
| Plastic/polystyrene e.g. fast food containers | ![]() | Care must be taken as some containers warp, melt or discolour at high temperatures. |
| Freezer/roasting bags | ![]() | Must be pierced to let steam escape. Ensure bags are suitable for microwave use. Do not use plastic or metal ties, as they may melt or catch fire due to the metal arcing. |
| Paper-plates, cups and kitchen paper | ![]() | Only use for warming or to absorb moisture. Care must be taken as overheating may cause fire. |
| Straw and wooden containers | ![]() | Always attend the oven when using these materials as overheating may cause fire. |
| Recycled paper and newspaper | ![]() | May contain extracts of metal which will cause arcing and may lead to fire. |
| Composition | Foods high in fat or sugar (e.g. Christmas pudding, mince pies) require less heating time. Care should be taken as overheating can lead to fire. |
| Size | For even cooking make all the pieces the same size. |
| Temperature of food | The initial temperature of food affects the amount of cooking time needed. Cut into foods with fillings (e.g. jam doughnuts) to release heat or steam. |
| Arrange | Place the thickest parts of food towards the outside of the dish (e.g. chicken drumsticks). |
| Cover | Use vented microwave cling film or a suitable lid. |
| Pierce | Foods with a shell, skin or membrane must be pierced in several places before cooking or reheating as steam will build up and may cause food to explode (e.g. potatoes, fish, chicken, sausages).
|
| Stir, turn and rearrange | For even cooking it is essential to stir, turn and rearrange food during cooking. Always stir and rearrange from the outside towards the centre. |
| Stand | Standing time is necessary after cooking to enable the heat to disperse equally throughout the food. |
| Shield | Warm areas can be shielded with small pieces of foil, which reflect microwaves (e.g. legs and wings on a chicken). |
Use pot holders or oven gloves when removing food from the oven to prevent burns. Always open containers, popcorn makers, oven cooking bags, etc., away from the face and hands to avoid steam burns.
Always stand back from the oven door when opening to avoid burns from escaping steam and heat. Slice stuffed baked foods after heating to release steam and avoid burns.
| Problem | Check if. . . |
| The microwave appliance is not working properly? |
|
| The microwave mode is not working? |
|
| The turntable is not turning? |
|
| The microwave will not switch off? |
|
| The interior light is not working? |
|
| The food is taking longer to heat through and cook than before? |
|
| The door will not open due to power cut? |
|
| AC Line Voltage | 220-240 V, 50 Hz, single phase |
| AC Power required: Microwave | 1.4 kW |
| Output power: Microwave | 900 W (IEC 60705) |
| Microwave Frequency | 2450 MHz1) (Group 2/Class B) |
| Outside Dimensions: ZMBN4S | 596 mm (W) x 459 mm (H) x 404 mm (D) |
| Cavity Dimensions | 342 mm (W) x 207 mm (H) x 368 mm (D)2) |
| Oven Capacity | 26 litres2) |
| Turntable | ø 325 mm, glass |
| Weight | approx. 19 kg |
1) This Product fulfils the requirement of the European standard EN55011.
In conformity with this standard, this product is classified as group 2 class B equipment.
Group 2 means that the equipment intentionally generates radio-frequency energy in the form of electromagnetic radiation for the heat treatment of food.
Class B equipment means that the equipment is suitable to be used in domestic establishments.
2) Internal capacity is calculated by measuring maximum width, depth and height.
Actual capacity for holding food is less.
This appliance can be used by children aged from 8 years and above and persons with reduced physical, sensory or mental capabilities or lack of experience and knowledge if they have been given supervision or instruction concerning use of the appliance in a safe way and understand the hazards involved. Children should be supervised to ensure that they do not play with the appliance. Cleaning and user maintenance shall not be made by children unless they are aged from 8 years and above and supervised.
This appliance is not intended for use at altitudes above 2000m.
IMPORTANT SAFETY INSTRUCTIONS: READ CAREFULLY AND KEEP FOR FUTURE REFERENCE.
Do not use the appliance without the turntable and turntable support. Do not use the appliance when empty.
If the door or door seals are damaged, the oven must not be operated until it has been repaired by a competent person.
It is hazardous for anyone other than a competent person to carry out any service or repair operation that involves the removal of a cover which gives protection against exposure to microwave energy.
Liquids and other foods must not be heated in sealed containers since they are liable to explode.
This appliance is intended to be used in household and similar applications such as: staff kitchen areas in shops, offices and other working environments; farm houses; by clients in hotels, motels and other residential environments; bed and breakfast type environments.
Only use microwave-safe containers and utensils.
Metallic containers for food and beverages are not allowed during microwave cooking.
Do not leave the oven unattended when using disposable plastic, paper or other combustible food containers.
The microwave oven is intended for heating food and beverages. Drying of food or clothing and heating of warming pads, slippers, sponges, damp cloth and similar may lead to risk of injury, ignition or fire.
If food being heated begins to smoke, DO NOT OPEN THE DOOR. Turn off and unplug the oven and wait until the food has stopped smoking. Opening the door while food is smoking may cause a fire.
Microwave heating of beverages can result in delayed eruptive boiling, therefore care has to be taken when handling the container.
The contents of feeding bottles and baby food jars shall be stirred or shaken and the temperature checked before consumption, in order to avoid burns.
Do not cook eggs in their shells and whole hard boiled eggs should not be heated in microwave ovens since they may explode even after microwave cooking has ended.
Door:
To remove all trace of dirt, regularly clean both sides of the door, the door seals and sealing surfaces with a soft, damp cloth. Do not use harsh abrasive cleaners or sharp metal scrapers to clean the oven door glass since they can scratch the surface, which may result in shattering of the glass.
Oven interior:
For cleaning, wipe any splatters or spills with a soft damp cloth or sponge after each use while the oven is still warm. For heavier spills, use a mild soap and wipe several times with a damp cloth until all residues are removed. Do not remove the waveguide cover. Make sure that mild soap or water does not penetrate the small vents in the walls which may cause damage to the oven.
Do not use spray type cleaners on the oven interior. Clean the waveguide cover, the oven cavity, the turntable and turntable support after use. These must be dry and free from grease.
Built-up grease may overheat and begin to smoke or catch fire.
Oven exterior:
The outside of your oven can be cleaned easily with mild soap and water. Make sure the soap is wiped off with a moist cloth, and dry the exterior with a soft towel.
Control panel:
Open the door before cleaning to de-activate the control panel. Care should be taken when cleaning the control panel. Using a cloth dampened with water only, gently wipe the panel until it becomes clean. Avoid using excessive amounts of water. Do not use any sort of chemical or abrasive cleaner.
Turntable and turntable support:
Remove the turntable and turntable support from the oven.
Wash the turntable and turntable support in mild soapy water. Dry with a soft cloth. Both the turntable and the turntable support are dishwasher safe.
Clean the oven at regular intervals and remove any food deposits. Failure to maintain the oven in a clean condition could lead to a deterioration of the surface that could adversely affect the life of the appliance and possibly result in a hazardous situation.
Care should be taken not to displace the turntable when removing containers from the appliance.
A steam cleaner should not be used.
The microwave oven is intended to be used built-in.
The appliance and its accessible parts become hot during use.
Keep children away from the door to prevent them burning themselves.
Do not use commercial oven cleaners, steam cleaners, abrasive, harsh cleaners, any that contain sodium hydroxide or scouring pads on any part of your microwave oven.
Here you can download full pdf version of manual, it may contain additional safety instructions, warranty information, FCC rules, etc.
Download Zanussi ZMBN4S - Microwave Oven Manual



Need help?
Do you have a question about the ZMBN4S and is the answer not in the manual?
Questions and answers