Zanussi ZHRN383K - Ceramic Hob Manual

INSTALLATION
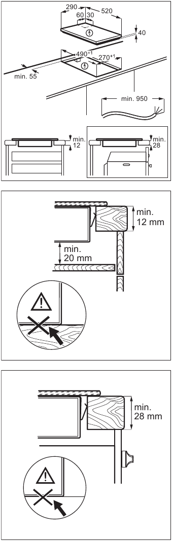
Refer to Safety chapters.
Before the installation
Before you install the hob, write down the serial number from the rating plate. The rating plate is on the bottom of the hob.
Built-in hobs
Only use the built-in hobs after you assemble the hob into correct built-in units and work surfaces that align to the standards.
Attaching the seal

On-top installation
- Clean the worktop around the cut out area.
- Attach the supplied 2x6 mm seal stripe to the lower edge of the hob, along the outer edge of the glass ceramic. Do not stretch it. Make sure that the ends of the seal stripe are located in the middle of one side of the hob.
- Add some millimetres to the length when you cut the seal stripe.
- Join the two ends of the seal stripe together.
Assembly
If you install the hob under a hood, please see the installation instructions of the hood for the minimum distance between the appliances.


Installation of more than one unit

Connection cable
- The hob is supplied with a connection cable.
- To replace the damaged mains cable, use the cable: H03V2V2-F or H05BB-F which withstands a temperature of 90°C or higher. Contact an Authorised Service Centre. The connection cable may only be replaced by a qualified electrician.
PRODUCT DESCRIPTION
Cooking surface layout

- Cooking zone
- Control panel
Control panel layout

Use the sensor fields to operate the appliance. The displays, indicators and sounds tell which functions operate.
| Sensor field | Function | Comment | |
![]() | ![]() | On / Off | To activate and deactivate the hob. |
![]() | ![]() | Lock / Child Safety Device | To lock / unlock the control panel. |
![]() | ![]() | Pause | To activate and deactivate the function. |
![]() | ![]() | - | To activate and deactivate the outer ring. |
![]() | - | Heat setting display | To show the heat setting. |
![]() | - | Timer indicators of cooking zones | To show for which zone you set the time. |
![]() | - | Timer display | To show the time in minutes. |
![]() | ![]() | - | To select the cooking zone. |
![]() | ![]() | - | To increase or decrease the time. |
![]() | ![]() | - | To set a heat setting. |
Heat setting displays
| Display | Description |
![]() | The cooking zone is deactivated. |
![]() | The cooking zone operates. |
![]() | Pause operates. |
+ digit | There is a malfunction. |
![]() | OptiHeat Control (3 step Residual heat indicator): continue cooking / keep warm / residual heat. |
![]() | Lock / Child Safety Device operates. |
![]() | Automatic Switch Off operates. |
DAILY USE
Refer to Safety chapters.
Activating and deactivating
Touch
for 1 second to activate or deactivate the hob.
Automatic Switch Off
The function deactivates the hob automatically if:
- all cooking zones are deactivated,
- you do not set the heat setting after you activate the hob,
- you spill something or put something on the control panel for more than 10 seconds (a pan, a cloth, etc.). An acoustic signal sounds and the hob deactivates. Remove the object or clean the control panel.
- you do not deactivate a cooking zone or change the heat setting. After some time
comes on and the hob deactivates.
The relation between the heat setting and the time after which the hob deactivates:
| Heat setting | The hob deactivates after |
, 1 - 2 | 6 hours |
| 3 - 4 | 5 hours |
| 5 | 4 hours |
| 6 - 9 | 1.5 hour |
The heat setting
Touch
to increase the heat setting. Touch
to decrease the heat setting. Touch
and
at the same time to deactivate the cooking zone.
OptiHeat Control (3 step Residual heat indicator)
As long as the indicator is on, there is a risk of burns from residual heat.
The indicators appear when a cooking zone is hot. They show the level of the residual heat for the cooking zones you are currently using:
- continue cooking,
- keep warm,
- residual heat.
The indicator may also appear:
- for the neighbouring cooking zones even if you are not using them,
- when hot cookware is placed on cold cooking zone,
- when the hob is deactivated but the cooking zone is still hot.
The indicator disappears when the cooking zone has cooled down.
Activating and deactivating the outer rings
You can manually adjust the cooking surface to the dimensions of the cookware.
Set a heat setting for the cooking zone. Choose the symbol dedicated to the cooking zone:
.
To activate the outer ring: touch the symbol. The indicator appears.
To deactivate the outer ring: touch the symbol until the indicator disappears.
Timer
- Count Down Timer
You can use this function to set the length of a single cooking session.
First set the heat setting for the cooking zone, then set the function.
To set the cooking zone: touch
repeatedly until the indicator of a cooking zone appears.
To activate the function or change the time: touch
or
of the timer to set the time (00 - 99 minutes). When the indicator of the cooking zone starts to flash, the time counts down.
To see the remaining time: touch
to set the cooking zone. The indicator of the cooking zone starts to flash. The display shows the remaining time.
To deactivate the function: touch
to set the cooking zone and then touch
. The remaining time counts down to 00. The indicator of the cooking zone disappears.
When the countdown ends, an acoustic signal sounds and 00 flashes. The cooking zone deactivates.
To stop the sound: touch
.
- Minute Minder
You can use this function when the hob is activated and the cooking zones do not operate. The heat setting display shows
.
To activate the function: touch
and then touch
or
of the timer to set the time. When the time finishes, an acoustic signal sounds and 00 flashes.
To stop the sound: touch
.
To deactivate the function: touch
and then touch
. The remaining time counts down to 00.
The function has no effect on the operation of the cooking zones.
Pause
This function sets all cooking zones that operate to the lowest heat setting.
When the function operates, all other symbols on the control panels are locked.
The function does not stop the timer
- To activate the function: press
.
comes on. The heat setting is lowered to 1. - To deactivate the function: press
. The previous heat setting comes on.
Lock
You can lock the control panel while cooking zones operate. It prevents an accidental change of the heat setting.
Set the heat setting first.
To activate the function: touch
.
comes on for 4 seconds. The Timer stays on.
To deactivate the function: touch
. The previous heat setting comes on.
When you deactivate the hob, you also deactivate this function.
Child Safety Device
This function prevents an accidental operation of the hob.
To activate the function: activate the hob with
. Do not set any heat setting. Touch
for 4 seconds.
comes on. Deactivate the hob with
.
To deactivate the function: activate the hob with
. Do not set any heat setting. Touch
for 4 seconds.
comes on. Deactivate the hob with
.
To override the function for only one cooking time: activate the hob with
.
comes on. Touch
for 4 seconds. Set the heat setting in 10 seconds. You can operate the hob. When you deactivate the hob with
the function operates again.
OffSound Control
Deactivation and activation of the sounds
Deactivate the hob. Touch
for 3 seconds. The display comes on and goes out. Touch
for 3 seconds.
or
comes on. Touch
of the front left zone to choose one of the following:
- the sounds are off
- the sounds are on
To confirm your selection wait until the hob deactivates automatically.
When the function is set to
you can hear the sounds only when:
- you touch
![]()
- Minute Minder comes down
- Count Down Timer comes down
- you put something on the control panel.
HINTS AND TIPS
Refer to Safety chapters.
Cookware
- The bottom of the cookware must be as thick and flat as possible.
- Ensure pan bases are clean and dry before placing on the hob surface.
- In order to avoid scratches, do not slide or rub the pot across the ceramic glass.
Cookware made of enamelled steel and with aluminium or copper bottoms can cause a colour change on the glassceramic surface.
Examples of cooking applications
The data in the table is for guidance only.
| Heat setting | Use to: | Time (min) | Hints |
- 1 | Keep cooked food warm. | as necessary | Put a lid on the cookware. |
| 1 - 2 | Hollandaise sauce, melt: butter, chocolate, gelatine. | 5 - 25 | Mix from time to time. |
| 2 | Solidify: fluffy omelettes, baked eggs. | 10 - 40 | Cook with a lid on. |
| 2 - 3 | Simmer rice and milkbased dishes, heat up ready-cooked meals. | 25 - 50 | Add at least twice as much liquid as rice, mix milk dishes halfway through the procedure. |
| 3 - 4 | Stew vegetables, fish, meat. | 20 - 45 | Add a few tablespoons of water. Check the water amount during the process. |
| 4 - 5 | Steam potatoes and other vegetables. | 20 - 60 | Cover the bottom of the pot with 1-2 cm of water. Check the water level during the process. Keep the lid on the pot. |
| 4 - 5 | Cook larger quantities of food, stews and soups. | 60 - 150 | Up to 3 l of liquid plus ingredients. |
| 6 - 7 | Gentle fry: escalope, veal cordon bleu, cutlets, rissoles, sausages, liver, roux, eggs, pancakes, doughnuts. | as necessary | Turn over when needed. |
| 7 - 8 | Heavy fry, hash browns, loin steaks, steaks. | 5 - 15 | Turn over when needed. |
| 9 | Boil water, cook pasta, sear meat (goulash, pot roast), deep-fry chips. | ||
CARE AND CLEANING
Refer to Safety chapters.
General information
- Clean the hob after each use.
- Always use cookware with a clean base.
- Scratches or dark stains on the surface have no effect on how the hob operates.
- Use a special cleaner suitable for the surface of the hob.
- Use a special scraper for the glass.
Cleaning the appliance
Remove immediately: melted plastic, plastic foil, salt, sugar and food with sugar, otherwise, the dirt can cause damage to the hob. Take care to avoid burns. Use a special hob scraper on the glass surface at an acute angle and move the blade on the surface.- Remove when the hob is sufficiently cool: limescale rings, water rings, fat stains, shiny metallic discoloration. Clean the hob with a moist cloth and a nonabrasive detergent. After cleaning, wipe the hob dry with a soft cloth.
- Remove shiny metallic discoloration: use a solution of water with vinegar and clean the glass surface with a cloth.
TROUBLESHOOTING
Refer to Safety chapters.
What to do if...
| Problem | Possible cause | Remedy |
| You cannot activate or operate the hob. | The hob is not connected to an electrical supply or it is connected incorrectly. | Check if the hob is correctly connected to the electrical supply. |
| The fuse is blown. | Make sure that the fuse is the cause of the malfunction. If the fuse is blown again and again, contact a qualified electrician. | |
| You did not set the heat setting for 10 seconds. | Activate the hob again and set the heat setting in less than 10 seconds. | |
| You touched 2 or more sensor fields at the same time. | Touch only one sensor field. | |
| Pause operates. | Refer to "Pause". | |
| There is water or fat stains on the control panel. | Clean the control panel. | |
| You can hear a constant beep noise. | The electrical connection is incorrect. | Disconnect the hob from the electrical supply. Ask a qualified electrician to check the installation. |
| An acoustic signal sounds and the hob deactivates. An acoustic signal sounds when the hob is deactivated. | You put something on one or more sensor fields. | Remove the object from the sensor fields. |
| The hob deactivates. | You put something on the sensor field . | Remove the object from the sensor field. |
| Residual heat indicator does not come on. | The zone is not hot because it operated only for a short time or the sensor is damaged. | If the zone operated sufficiently long to be hot, speak to an Authorised Service Centre. |
| You cannot activate the outer ring. | The cooking zone was not activated. | Set a heat setting for the cooking zone first. |
![]() There is a dark area on the multiple zone. | It is normal that there is a dark area on the multiple zone. | |
| The control panel becomes hot to the touch. | The cookware is too large or you put it too close to the control panel. | Put large cookware on the rear zones, if possible. |
| There is no sound when you touch the panel sensor fields. | The sounds are deactivated. | Activate the sounds. Refer to "Daily use". |
comes on. | Child Safety Device or Lock operates. | Refer to "Daily use". |
and a number come on. | There is an error in the hob. | Deactivate the hob and activate it again after 30 seconds. If comes on again, disconnect the hob from the electrical supply. After 30 seconds, connect the hob again. If the problem continues, speak to an Authorised Service Centre. |
comes on. | The second phase of the power supply is missing. | Check if the hob is correctly connected to the electrical supply. Remove the fuse, wait one minute, and insert the fuse again. |
If you cannot find a solution...
If you cannot find a solution to the problem yourself, contact your dealer or an Authorised Service Centre. Give the data from the rating plate. Give also three digit letter code for the glass ceramic (it is in the corner of the glass surface) and an error message that comes on. Make sure, you operated the hob correctly. If not the servicing by a service technician or dealer will not be free of charge, also during the warranty period. The information about guarantee period and Authorised Service Centres are in the guarantee booklet.
TECHNICAL DATA
Rating plate
Model ZHRN383K
Typ 60 HED D1 KO
PNC 949 492 577 00
220 - 240 V, 50 - 60 Hz
Made in: Romania
2.9 kW
Cooking zones specification
| Cooking zone | Nominal Power (Max heat setting) [W] | Cooking zone diameter [mm] |
| Middle front | 1200 | 145 |
| Middle rear | 700 / 1700 | 120 / 180 |
For optimal cooking results use cookware no larger than the diameter of the cooking zone.
ENERGY EFFICIENCY
Product Information Sheet according to UK Ecodesign Regulation
| Model identification | ZHRN383K | |
| Type of hob | Built-In Hob | |
| Number of cooking zones | 2 | |
| Heating technology | Radiant Heater | |
| Diameter of circular cooking zones (Ø) | Middle front | 14.5 cm |
| Middle rear | 18.0 cm | |
| Energy consumption per cooking zone (EC electric cooking) | Middle front | 188.0 Wh/kg |
| Middle rear | 191.6 Wh/kg | |
| Energy consumption of the hob (EC electric hob) | 189.8 Wh/kg | |
Energy saving
You can save energy during everyday cooking if you follow the hints below.
- When you heat up water, use only the amount you need.
- If it is possible, always put the lids on the cookware.
- Before you activate the cooking zone put the cookware on it.
- The cookware bottom should have the same diameter as the cooking zone.
- Put the smaller cookware on the smaller cooking zones.
- Put the cookware directly in the centre of the cooking zone.
- Use the residual heat to keep the food warm or to melt it.
SAFETY INFORMATION
Before the installation and use of the appliance, carefully read the supplied instructions. The manufacturer is not responsible for any injuries or damage that are the result of incorrect installation or usage. Always keep the instructions in a safe and accessible location for future reference.
Children and vulnerable people safety
- This appliance can be used by children aged from 8 yearsand above and persons with reduced physical, sensory or mental capabilities or lack of experience and knowledge if they have been given supervision or instruction concerning the use of the appliance in a safe way and understand the hazards involved. Children of less than 8 years of age and persons with very extensive and complex disabilities shall be kept away from the appliance unless continuously supervised.
- Children should be supervised to ensure that they do notplay with the appliance.
- Keep all packaging away from children and dispose of itappropriately.
The appliance and its accessible parts becomehot during use. Keep children and pets away from the appliance when in use and when cooling down.- If the appliance has a child safety device, it should beactivated.
- Children shall not carry out cleaning and user maintenanceof the appliance without supervision.
General Safety
- This appliance is for cooking purposes only.
- This appliance is designed for single household domesticuse in an indoor environment.
- This appliance may be used in, offices, hotel guest rooms, bed & breakfast guest rooms, farm guest houses and other similar accommodation where such use does not exceed (average) domestic usage levels.
The appliance and its accessible parts becomehot during use. Care should be taken to avoid touching heating elements.
Unattended cooking on a hob with fat or oil canbe dangerous and may result in fire.- Never use water to extinguish the cooking fire. Switch offthe appliance and cover flames with e.g. a fire blanket or lid.
The appliance must not be supplied through anexternal switching device, such as a timer, or connected to a circuit that is regularly switched on and off by a utility.
The cooking process has to be supervised. Ashort term cooking process has to be supervised continuously.
Do not store items on thecooking surfaces.- Metallic objects such as knives, forks, spoons and lidsshould not be placed on the hob surface since they can get hot.
- Do not use the appliance before installing it in the built-instructure.
- Do not use a steam cleaner to clean the appliance.
- If the glass ceramic surface / glass surface is cracked, switch off the appliance and unplug it from the mains. In case the appliance is connected to the mains directly using junction box, remove the fuse to disconnect the appliance from power supply. In either case contact the Authorised Service Centre.
- If the supply cord is damaged, it must be replaced by themanufacturer, an authorized Service or similarly qualified persons in order to avoid a hazard.
Use only hob guards designed by themanufacturer of the cooking appliance or indicated by the manufacturer of the appliance in the instructions for use as suitable or hob guards incorporated in the appliance. The use of inappropriate guards can cause accidents.
SAFETY INSTRUCTIONS
Installation
- Remove all the packaging.
- Do not install or use a damaged appliance.
- Follow the installation instructions supplied with the appliance.
- Keep the minimum distance from other appliances and units.
- Always take care when moving the appliance as it is heavy. Always use safety gloves and enclosed footwear.
- Seal the cut surfaces of the cabinet with a sealant to prevent moisture from causing swelling.
- Protect the bottom of the appliance from steam and moisture.
- Do not install the appliance next to a door or under a window. This prevents hot cookware from falling from the appliance when the door or the window is opened.
- If the appliance is installed above drawers make sure that the space, between the bottom of the appliance and the upper drawer is sufficient for air circulation.
- The bottom of the appliance can get hot. Make sure to install a separation panel made from plywood, kitchen carcass material or other non-flammable materials under the appliance to prevent access to the bottom.
- The separation panel has to cover the area under the hob completely.
Electrical Connection
Risk of fire and electric shock.
- All electrical connections should be made by a qualified electrician.
- The appliance must be earthed.
- Before carrying out any operation make sure that the appliance is disconnected from the power supply.
- Make sure that the parameters on the rating plate are compatible with the electrical ratings of the mains power supply.
- Make sure the appliance is installed correctly. Loose and incorrect electricity mains cable or plug (if applicable) can make the terminal become too hot.
- Use the correct electricity mains cable.
- Do not let the electricity mains cable tangle.
- Make sure that a shock protection is installed.
- Use the strain relief clamp on the cable.
- Make sure the mains cable or plug (if applicable) does not touch the hot appliance or hot cookware, when you connect the appliance to a socket.
- Do not use multi-plug adapters and extension cables.
- Make sure not to cause damage to the mains plug (if applicable) or to the mains cable. Contact our Authorised Service Centre or an electrician to change a damaged mains cable.
- The shock protection of live and insulated parts must be fastened in such a way that it cannot be removed without tools.
- Connect the mains plug to the mains socket only at the end of the installation. Make sure that there is access to the mains plug after the installation.
- If the mains socket is loose, do not connect the mains plug.
- Do not pull the mains cable to disconnect the appliance. Always pull the mains plug.
- Use only correct isolation devices: line protecting cut-outs, fuses (screw type fuses removed from the holder), earth leakage trips and contactors.
- The electrical installation must have an isolation device which lets you disconnect the appliance from the mains at all poles. The isolation device must have a contact opening width of minimum 3 mm.
Use
Risk of injury, burns and electric shock.
- Do not change the specification of this appliance.
- Remove all the packaging, labelling and protective film (if applicable) before first use.
- Make sure that the ventilation openings are not blocked.
- Do not let the appliance stay unattended during operation.
- Set the cooking zone to "off" after each use.
- Do not put cutlery or saucepan lids on the cooking zones. They can become hot.
- Do not operate the appliance with wet hands or when it has contact with water.
- Do not use the appliance as a work surface or as a storage surface.
If the surface of the appliance is cracked, disconnect immediately the appliance from the power supply. This to prevent an electrical shock.
- When you place food into hot oil, it may splash.
Risk of fire and explosion
- Fats and oil when heated can release flammable vapours. Keep flames or heated objects away from fats and oils when you cook with them.
- The vapours that very hot oil releases can cause spontaneous combustion.
Used oil, that can contain food remnants, can cause fire at a lower temperature than oil used for the first time.
- Do not put flammable products or items that are wet with flammable products in, near or on the appliance.
Risk of damage to the appliance.
- Do not keep hot cookware on the control panel.
- Do not put a hot pan cover on the glass surface of the hob.
- Do not let cookware boil dry.
- Be careful not to let objects or cookware fall on the appliance. The surface can be damaged.
- Do not activate the cooking zones with empty cookware or without cookware.
- Do not put aluminium foil on the appliance.
- Cookware made of cast iron, aluminium or with a damaged bottom can cause scratches on the glass / glass ceramic. Always lift these objects up when you have to move them on the cooking surface.
Care and cleaning
- Clean the appliance regularly to prevent the deterioration of the surface material.
- Switch off the appliance and let it cool down before cleaning.
- Do not use water spray and steam to clean the appliance.
- Clean the appliance with a moist soft cloth. Use only neutral detergents. Do not use abrasive products, abrasive cleaning pads, solvents or metal objects.
Service
- To repair the appliance contact the Authorised Service Centre. Use original spare parts only.
- Concerning the lamp(s) inside this product and spare part lamps sold separately: These lamps are intended to withstand extreme physical conditions in household appliances, such as temperature, vibration, humidity, or are intended to signal information about the operational status of the appliance. They are not intended to be used in other applications and are not suitable for household room illumination.
VISIT OUR WEBSITE TO:
Get usage advice, brochures, trouble shooter, service and repair information: www.zanussi.com/support
Subject to change without notice.

References
Download manual
Here you can download full pdf version of manual, it may contain additional safety instructions, warranty information, FCC rules, etc.
Download Zanussi ZHRN383K - Ceramic Hob Manual






















.
comes on. The heat setting is lowered to 1.
-

Need help?
Do you have a question about the ZHRN383K and is the answer not in the manual?