
| Model | HP2050/HP2050F | HP2051/HP2051F | |||
| Speed | High | Low | High | Low | |
| Capacities | Concrete | 20 mm | ----- | 20 mm | ----- |
| Steel | 8 mm | 13 mm | 8 mm | 13 mm | |
| Wood | 25 mm | 40 mm | 25 mm | 40 mm | |
| No load speed (min-1) | 0 - 2,900 | 0 - 1,200 | 0 - 2,900 | 0 - 1,200 | |
| Blows per minute | 0 - 58,000 | 0 - 24,000 | 0 - 58,000 | 0 - 24,000 | |
| Overall length | 362 mm | 360 mm | |||
| Net weight | 2.5 kg | 2.5 kg | |||
| Safety class | ![]() | ||||
Intended use
The tool is intended for impact drilling in brick, concrete and stone as well as for drilling without impact in wood, metal, ceramic and plastic.
Power supply
The tool should be connected only to a power supply of the same voltage as indicated on the nameplate, and can only be operated on single-phase AC supply. They are double-insulated and can, therefore, also be used from sockets without earth wire.
Noise
The typical A-weighted noise level determined according to EN60745:
Sound pressure level (LpA): 97 dB (A)
Sound power level (LWA): 108 dB (A)
Uncertainty (K): 3 dB (A)
Wear ear protection
Vibration
The vibration total value (tri-axial vector sum) determined according to EN60745:
Work mode: impact drilling into concrete
Vibration emission (ah, ID): 13 m/s2
Uncertainty (K): 3 m/s2
Work mode: drilling into metal
Vibration emission (ah, D): 2.5 m/s2 or less
Uncertainty (K): 1.5 m/s2
Read all safety warnings and all instructions. Failure to follow the warnings and instructions may result in electric shock, fire and/or serious injury.
Save all warnings and instructions for future reference.
SAVE THESE INSTRUCTIONS.
Fig.1

To start the tool, simply pull the switch trigger. Tool speed is increased by increasing pressure on the switch trigger. Release the switch trigger to stop. For continuous operation, pull the switch trigger and then push in the lock button.
To stop the tool from the locked position, pull the switch trigger fully, then release it.
A speed control screw is provided so that maximum tool speed can be limited (variable). Turn the speed control screw clockwise for higher speed, and counterclockwise for lower speed.
For Model HP2050F, HP2051F
Fig.2

To turn on the lamp, pull the trigger. Release the trigger to turn it off.
NOTE:
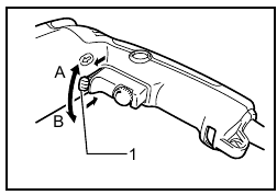
Fig.3

This tool has a reversing switch to change the direction of rotation. Move the reversing switch lever to the
position (A side) for clockwise rotation or the
position (B side) for counterclockwise rotation.
Fig.4

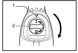
Two speed ranges can be preselected with the speed change knob.
To change the speed, turn the speed change knob so that the arrow on the tool body points toward the "I" position on the knob for low speed or "II" position for high speed. If it is hard to turn the knob, first turn the chuck slightly in either direction and then turn the knob again.
Fig.5

This tool has an action mode change lever. For rotation with hammering, slide the action mode change lever to the right (
symbol). For rotation only, slide the action mode change lever to the left (
symbol).
Fig.6

Always use the side grip to ensure operating safety. Install the side grip so that the teeth on the grip fit in between the protrusions on the tool barrel. Then tighten the grip by turning clockwise at the desired position. It may be swung 360° so as to be secured at any position.
For Model HP2050, HP2050F
Fig.7

To install the bit, place it in the chuck as far as it will go. Tighten the chuck by hand. Place the chuck key in each of the three holes and tighten clockwise. Be sure to tighten all three chuck holes evenly.
To remove the bit, turn the chuck key counterclockwise in just one hole, then loosen the chuck by hand.
After using the chuck key, be sure to return to the original position.
For Model HP2051, HP2051F
Fig.8

Hold the ring and turn the sleeve counterclockwise to open the chuck jaws. Place the bit in the chuck as far as it will go. Hold the ring firmly and turn the sleeve clockwise to tighten the chuck.
To remove the bit, hold the ring and turn the sleeve counterclockwise.
Fig.9

The depth gauge is convenient for drilling holes of uniform depth. Loosen the side grip and insert the depth gauge into the hole in the side grip. Adjust the depth gauge to the desired depth and tighten the side grip.
NOTE:
When drilling in concrete, granite, tile, etc., move the action mode changing lever to the position of
symbol to use "rotation with hammering" action.
Be sure to use a tungsten-carbide tipped bit.
Position the bit at the desired location for the hole, then pull the switch trigger. Do not force the tool. Light pressure gives best results. Keep the tool in position and prevent it from slipping away from the hole. Do not apply more pressure when the hole becomes clogged with chips or particles. Instead, run the tool at an idle, then remove the bit partially from the hole. By repeating this several times, the hole will be cleaned out and normal drilling may be resumed.
Fig.10

After drilling the hole, use the blow-out bulb to clean the dust out of the hole.
When drilling in wood, metal or plastic materials, turn the action mode changing lever to the position of
symbol to use "rotation only" action.
Drilling in wood
When drilling in wood, the best results are obtained with wood drills equipped with a guide screw. The guide screw makes drilling easier by pulling the bit into the workpiece.
Drilling in metal
To prevent the bit from slipping when starting a hole, make an indentation with a center-punch and hammer at the point to be drilled. Place the point of the bit in the indentation and start drilling.
Use a cutting lubricant when drilling metals. The exceptions are iron and brass which should be drilled dry.
Fig.11

The tool and its air vents have to be kept clean. Regularly clean the tool's air vents or whenever the vents start to become obstructed.
To maintain product SAFETY and RELIABILITY, repairs, carbon brush inspection and replacement, any other maintenance or adjustment should be performed by Makita Authorized Service Centers, always using Makita replacement parts.
If you need any assistance for more details regarding these accessories, ask your local Makita Service Center.
NOTE:
Here you can download full pdf version of manual, it may contain additional safety instructions, warranty information, FCC rules, etc.
Download Makita HP2050; HP2050F; HP2051; HP2051F - 2-Speed Hammer Drill Manual
Need help?
Do you have a question about the HP2050 and is the answer not in the manual?
Questions and answers