Makita BGD800, BGD801 - Cordless Die Grinder Manual

Makita BGD800, BGD801 - Cordless Die Grinder Manual

Also See for BGD800:
Makita BGD800, BGD801 - Cordless Die Grinder Manual

SPECIFICATIONS

Model BGD800 BGD801
Collet capacity 6 mm or 6.35 mm (1/4")
Max. wheel point diameter 38 mm
No load speed (no) / Rated speed (n) 25,000 (min-1)
Overall length 402 mm 307 mm
Net weight 2.0 kg 1.7 kg
Rated voltage D.C. 18 V
  • Due to our continuing program of research and development, the specifications herein are subject to change without notice.
  • Specifications and battery cartridge may differ from country to country.
  • Weight, with battery cartridge, according to EPTA-Procedure 01/2003

Intended use
The tool is intended for grinding ferrous materials or deburring castings.

Noise
The typical A-weighted noise level determined according to EN60745:
Sound pressure level (LpA): 72 dB (A)
Uncertainty (K): 3 dB (A)

The noise level under working may exceed 80 dB (A).

Wear ear protection

Vibration
The vibration total value (tri-axial vector sum) determined according to EN60745:

Model BGD800
Work mode: surface grinding
Vibration emission (ah, SG): 6.5 m/s2
Uncertainty (K): 1.5 m/s2

Model BGD801
Work mode: surface grinding
Vibration emission (ah, SG): 2.5 m/s2 or less
Uncertainty (K): 1.5 m/s2

  • The declared vibration emission value has been measured in accordance with the standard test method and may be used for comparing one tool with another.
  • The declared vibration emission value may also be used in a preliminary assessment of exposure.
  • The vibration emission during actual use of the power tool can differ from the declared emission value depending on the ways in which the tool is used.
  • Be sure to identify safety measures to protect the operator that are based on an estimation of exposure in the actual conditions of use (taking account of all parts of the operating cycle such as the times when the tool is switched off and when it is running idle in addition to the trigger time).

General Power Tool Safety Warnings

Read all safety warnings and all instructions. Failure to follow the warnings and instructions may result in electric shock, fire and/or serious injury.

Save all warnings and instructions for future reference.

CORDLESS DIE GRINDER SAFETY WARNINGS

Safety Warnings Common for Grinding Operation:

  1. This power tool is intended to function as a grinder. Read all safety warnings, instructions, illustrations and specifications provided with this power tool. Failure to follow all instructions listed below may result in electric shock, fire and/or serious injury.
  2. Operations such as sanding, wire brushing, polishing or cutting-off are not recommended to be performed with this power tool. Operations for which the power tool was not designed may create a hazard and cause personal injury.
  3. Do not use accessories which are not specifically designed and recommended by the tool manufacturer. Just because the accessory can be attached to your power tool, it does not assure safe operation.
  4. The rated speed of the accessory must be at least equal to the maximum speed marked on the power tool. Accessories running faster than their rated speed can break and fly apart.
  5. The outside diameter and the thickness of your accessory must be within the capacity rating of your power tool. Incorrectly sized accessories cannot be adequately guarded or controlled.
  6. Do not use a damaged accessory. Before each use inspect the accessory such as abrasive wheels for chips and cracks. If power tool or accessory is dropped, inspect for damage or install an undamaged accessory. After inspecting and installing an accessory, position yourself and bystanders away from the plane of the rotating accessory and run the power tool at maximum no-load speed for one minute. Damaged accessories will normally break apart during this test time.
  7. Wear personal protective equipment. Depending on application, use face shield, safety goggles or safety glasses. As appropriate, wear dust mask, hearing protectors, gloves and workshop apron capable of stopping small abrasive or workpiece fragments. The eye protection must be capable of stopping flying debris generated by various operations. The dust mask or respirator must be capable of filtrating particles generated by your operation. Prolonged exposure to high intensity noise may cause hearing loss.
  8. Keep bystanders a safe distance away from work area. Anyone entering the work area must wear personal protective equipment. Fragments of workpiece or of a broken accessory may fly away and cause injury beyond immediate area of operation.
  9. Hold the power tool by insulated gripping surfaces only, when performing an operation where the cutting tool may contact hidden wiring. Contact with a "live" wire will also make exposed metal parts of the power tool "live" and could give the operator an electric shock.
  10. Never lay the power tool down until the accessory has come to a complete stop. The spinning accessory may grab the surface and pull the power tool out of your control.
  11. Do not run the power tool while carrying it at your side. Accidental contact with the spinning accessory could snag your clothing, pulling the accessory into your body.
  12. Regularly clean the power tool's air vents. The motor's fan will draw the dust inside the housing and excessive accumulation of powdered metal may cause electrical hazards.
  13. Do not operate the power tool near flammable materials. Sparks could ignite these materials.
  14. Do not use accessories that require liquid coolants. Using water or other liquid coolants may result in electrocution or shock.

Kickback and Related Warnings
Kickback is a sudden reaction to a pinched or snagged rotating wheel, backing pad, brush or any other accessory. Pinching or snagging causes rapid stalling of the rotating accessory which in turn causes the uncontrolled power tool to be forced in the direction opposite of the accessory's rotation at the point of the binding.

For example, if an abrasive wheel is snagged or pinched by the workpiece, the edge of the wheel that is entering into the pinch point can dig into the surface of the material causing the wheel to climb out or kick out. The wheel may either jump toward or away from the operator, depending on direction of the wheel's movement at the point of pinching. Abrasive wheels may also break under these conditions.

Kickback is the result of power tool misuse and/or incorrect operating procedures or conditions and can be avoided by taking proper precautions as given below.

  1. Maintain a firm grip on the power tool and position your body and arm to allow you to resist kickback forces. Always use auxiliary handle, if provided, for maximum control over kickback or torque reaction during start-up. The operator can control torque reactions or kickback forces, if proper precautions are taken.
  2. Never place your hand near the rotating accessory. Accessory may kickback over your hand.
  3. Do not position your body in the area where power tool will move if kickback occurs. Kickback will propel the tool in direction opposite to the wheel's movement at the point of snagging.
  4. Use special care when working corners, sharp edges etc. Avoid bouncing and snagging the accessory. Corners, sharp edges or bouncing have a tendency to snag the rotating accessory and cause loss of control or kickback.
  5. Do not attach a saw chain woodcarving blade or toothed saw blade. Such blades create frequent kickback and loss of control.

Safety Warnings Specific for Grinding:

  1. Use only wheel types that are recommended for your power tool.
  2. Wheels must be used only for recommended applications. For example: do not grind with the side of cut-off wheel. Abrasive cut-off wheels are intended for peripheral grinding, side forces applied to these wheels may cause them to shatter.
  3. Do not use worn down wheels from larger power tools. Wheel intended for larger power tool is not suitable for the higher speed of a smaller tool and may burst.

Additional safety warnings:

  1. Make sure the wheel is not contacting the workpiece before the switch is turned on.
  2. Before using the tool on an actual workpiece, let it run for a while. Watch for vibration or wobbling that could indicate poor installation or a poorly balanced wheel.
  3. Use the specified surface of the wheel to perform the grinding.
  4. Watch out for flying sparks. Hold the tool so that sparks fly away from you and other persons or flammable materials.
  5. Do not leave the tool running. Operate the tool only when hand-held.
  6. Do not touch the workpiece immediately after operation; it may be extremely hot and could burn your skin.
  7. Observe the instructions of the manufacturer for correct mounting and use of wheels. Handle and store wheels with care.
  8. Check that the workpiece is properly supported.
  9. If working place is extremely hot and humid, or badly polluted by conductive dust, use a short-circuit breaker (30 mA) to assure operator safety.
  10. Do not use the tool on any materials containing asbestos.
  11. Always be sure you have a firm footing. Be sure no one is below when using the tool in high locations.

SAVE THESE INSTRUCTIONS.


DO NOT let comfort or familiarity with product (gained from repeated use) replace strict adherence to safety rules for the subject product. MISUSE or failure to follow the safety rules stated in this instruction manual may cause serious personal injury

IMPORTANT SAFETY INSTRUCTIONS FOR BATTERY CARTRIDGE

  1. Before using battery cartridge, read all instructions and cautionary markings on (1) battery charger, (2) battery, and (3) product using battery.
  2. Do not disassemble battery cartridge.
  3. If operating time has become excessively shorter, stop operating immediately. It may result in a risk of overheating, possible burns and even an explosion.
  4. If electrolyte gets into your eyes, rinse them out with clear water and seek medical attention right away. It may result in loss of your eyesight.
  5. Do not short the battery cartridge:
    1. Do not touch the terminals with any conductive material.
    2. Avoid storing battery cartridge in a container with other metal objects such as nails, coins, etc.
    3. Do not expose battery cartridge to water or rain.
      A battery short can cause a large current flow, overheating, possible burns and even a breakdown.
  6. Do not store the tool and battery cartridge in locations where the temperature may reach or exceed 50C (122F).
  7. Do not incinerate the battery cartridge even if it is severely damaged or is completely worn out. The battery cartridge can explode in a fire.
  8. Be careful not to drop or strike battery.
  9. Do not use a damaged battery.
  10. Follow your local regulations relating to disposal of battery.

SAVE THESE INSTRUCTIONS.

Tips for maintaining maximum battery life

  1. Charge the battery cartridge before completely discharged. Always stop tool operation and charge the battery cartridge when you notice less tool power.
  2. Never recharge a fully charged battery cartridge. Overcharging shortens the battery service life.
  3. Charge the battery cartridge with room temperature at 10C - 40C (50F - 104F). Let a hot battery cartridge cool down before charging it.
  4. Charge the battery cartridge once in every six months if you do not use it for a long period of time.

FUNCTIONAL DESCRIPTION

  • Always be sure that the tool is switched off and the battery cartridge is removed before adjusting or checking function on the tool.

Installing or removing battery cartridge

Fig.1

  1. Button
  2. Red indicator
  3. Battery cartridge
  • Always switch off the tool before installing or removing of the battery cartridge.
  • Hold the tool and the battery cartridge firmly when installing or removing battery cartridge. Failure to hold the tool and the battery cartridge firmly may cause them to slip off your hands and result in damage to the tool and battery cartridge and a personal injury.

To remove the battery cartridge, slide it from the tool while sliding the button on the front of the cartridge.

To install the battery cartridge, align the tongue on the battery cartridge with the groove in the housing and slip it into place. Insert it all the way until it locks in place with a little click. If you can see the red indicator on the upper side of the button, it is not locked completely.

  • Always install the battery cartridge fully until the red indicator cannot be seen. If not, it may accidentally fall out of the tool, causing injury to you or someone around you.
  • Do not install the battery cartridge forcibly. If the cartridge does not slide in easily, it is not being inserted correctly.

Battery protection system

The tool is equipped with a battery protection system. This system automatically cuts off power to the motor to extend battery life.

The tool will automatically stop during operation if the tool and/or battery are placed under one of the following conditions:

  • Overloaded:
    The tool is operated in a manner that causes it to draw an abnormally high current. In this situation, turn the tool off and stop the application that caused the tool to become overloaded. Then turn the tool on to restart. If the tool does not start, the battery is overheated. In this situation, let the battery cool before turning the tool on again.
  • Low battery voltage:
    The remaining battery capacity is too low and the tool will not operate. In this situation, remove and recharge the battery.

NOTE:
The overheat protection works only with a battery cartridge with a star mark.

Fig.2

  1. Star marking

Switch action

Fig.3

  1. Slide switch
  • Before inserting the battery cartridge into the tool, always check to see that the slide switch actuates properly and returns to the "OFF" position when the rear of the slide switch is depressed.
  • Switch can be locked in "ON" position for ease of operator comfort during extended use. Apply caution when locking tool in "ON" position and maintain firm grasp on tool.

To start the tool, slide the slide switch toward the "I (ON)" position. For continuous operation, press the front of the slide switch to lock it.

To stop the tool, press the rear of the slide switch, then slide it toward the "O (OFF)" position.

Indication lamp with multi function

Fig.4

  1. Indication lamp

Indication lamps are located in two positions. When the battery cartridge is inserted on the tool with the slide switch positioned in the "O (OFF)" position, the indication lamp flickers quickly for approximately one second. If it does not flicker so, the battery cartridge or indication lamp has broken.

Overload protection

  • When the tool is overloaded, the indication lamp lights up. When the load on the tool is reduced, the lamp goes out.
  • If the tool continues to be overloaded and the indication lamp continues to light up for approximately two seconds, the tool stops. This prevents the motor and its related parts from being damaged.
  • In this case, to start the tool again, move the slide switch to the "O (OFF)" position once and then to the "I (ON)" position.

Battery cartridge replacing signal

  • When the remaining battery capacity gets small, the indicator lamp lights up during operation earlier than enough capacity battery use.

Accidental re-start preventive function

  • Even if the battery cartridge is inserted on the tool with the slide switch in the "I (ON)" position, the tool does not start. At this time, the lamp flickers slowly and this shows that the accidental re-start preventive function is at work.
  • To start the tool, first slide the slide switch toward the "O (OFF)" position and then slide it toward the "I (ON)" position.

ASSEMBLY

  • Always be sure that the tool is switched off and the battery cartridge is removed before carrying out any work on the tool.

Installing or removing wheel point

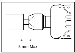
Fig.5

  1. Wrench 13
  2. Wheel point
  3. Collet nut
  4. Wrench 13

Loosen the collet nut and insert the wheel point into the collet nut. Use one wrench to hold the spindle and the other one to tighten the collet nut securely.

The wheel point should not be mounted more than 8 mm from the collet nut. Exceeding this distance could cause vibration or a broken shaft.

Fig.6

To remove the wheel point, follow the installation procedure in reverse.

  • Use the correct size collet cone for the wheel point which you intend to use.

OPERATION

Fig.7

Turn the tool on without the wheel point making any contact with the workpiece and wait until the wheel point attains full speed. Then apply the wheel point to the workpiece gently. To obtain a good finish, move the tool in the leftward direction slowly.

  • Apply light pressure on the tool. Excessive pressure on the tool will only cause a poor finish and overloading of the motor.

MAINTENANCE

  • Always be sure that the tool is switched off and the battery cartridge is removed before attempting to perform inspection or maintenance.
  • Never use gasoline, benzine, thinner, alcohol or the like. Discoloration, deformation or cracks may result.

Replacing carbon brushes

Fig.8

  1. Limit mark

Remove and check the carbon brushes regularly. Replace when they wear down to the limit mark. Keep the carbon brushes clean and free to slip in the holders. Both carbon brushes should be replaced at the same time. Use only identical carbon brushes.

Fig.9

  1. Holder cap cover
  2. Screwdriver

Insert the top end of slotted bit screwdriver into the notch in the tool and remove the holder cap cover by lifting it up.

Fig.10

  1. Brush holder cap
  2. Screwdriver

Use a screwdriver to remove the brush holder caps. Take out the worn carbon brushes, insert the new ones and secure the brush holder caps.

Reinstall the holder cap cover on the tool.

To maintain product SAFETY and RELIABILITY, repairs, any other maintenance or adjustment should be performed by Makita Authorized Service Centers, always using Makita replacement parts.

OPTIONAL ACCESSORIES

  • These accessories or attachments are recommended for use with your Makita tool specified in this manual. The use of any other accessories or attachments might present a risk of injury to persons. Only use accessory or attachment for its stated purpose. If you need any assistance for more details regarding these accessories, ask your local Makita Service Center.

Side handle (accessory)

Fig.11

Fig.12

Fig.13

Fig.14

When using the side handle, remove the rubber protector, insert the side handle on the tool barrel as far as it will go and rotate it to the desired angle. Then tighten the handle firmly by turning clockwise.

  • When using the tool without handle, always install the rubber protector on the tool.
  • When installing the rubber protector, always push it onto the tool so that the top round recessed shape of the rubber is positioned near the switch position.
  • Wheel points
  • Collet cone (3 mm, 6 mm, 8 mm, 1/4", 1/8")
  • Collet nut
  • Wrench 13
  • Side handle set
  • Makita genuine battery and charger

NOTE:

  • Some items in the list may be included in the tool package as standard accessories. They may differ from country to country.

Documents / Resources

Download manual

Here you can download full pdf version of manual, it may contain additional safety instructions, warranty information, FCC rules, etc.

Download Makita BGD800, BGD801 - Cordless Die Grinder Manual

Available languages

Need help?

Need help?

Do you have a question about the BGD800 and is the answer not in the manual?

Questions and answers

Table of Contents