Makita BFL061F; BFL082F; BFL122F; BFL202F - Cordless Angle Screwdriver Manual

SPECIFICATIONS
| Model | BFL061F | BFL082F | BFL122F | BFL202F | ||
| Fastening torque | Hard joint | 1.5 - 6 N•m | 2 - 8 N•m | 5 - 12 N•m | 8 - 20 N•m | |
| Soft joint | 1.5 - 6 N•m | 2 - 8 N•m | 5 - 12 N•m | 8 - 20 N•m | ||
| Angle drive head | 9.5 mm square or 6.35 mm hex | |||||
| No load speed (min-1) | 470 | 700 | 410 | 220 | ||
| Dimensions | 422 x 74 x 98 mm (with Battery Cartridge BL1430) | |||||
| 405 x 74 x 98 mm (with Battery Cartridge BL1415) | ||||||
| Net weight | 1.7 kg (with Battery Cartridge BL1430) | |||||
| 1.5 kg (with Battery Cartridge BL1415) | ||||||
| Rated voltage | D.C. 14.4 V | |||||
| Battery cartridge | BL1430 / BL1430A / BL1415 | |||||
- Due to our continuing programme of research and development, the specifications herein are subject to change without notice.
- Specifications and battery cartridge may differ from country to country.
- Weight, with battery cartridge, according to EPTA-Procedure 01/2003
Intended use
The tool is intended for screw driving in wood, metal and plastic.
Noise
The typical A-weighted noise level determined according to EN60745:
Sound pressure level (LpA): 70 dB(A) or less
Uncertainty (K): 3 dB(A)
The noise level under working may exceed 80 dB(A)
Wear ear protection
Vibration
The vibration total value (tri-axial vector sum) determined according to:
Work mode: screwdriving without impact
Vibration emission (ah): 2.5 m/s2 or less
Uncertainty (K): 1.5 m/s2
- The declared vibration emission value has been measured in accordance with the standard test method and may be used for comparing one tool with another.
- The declared vibration emission value may also be used in a preliminary assessment of exposure.
- The vibration emission during actual use of the power tool can differ from the declared emission value depending on the ways in which the tool is used.
- Be sure to identify safety measures to protect the operator that are based on an estimation of exposure in the actual conditions of use (taking account of all parts of the operating cycle such as the times when the tool is switched off and when it is running idle in addition to the trigger time).
FUNCTIONAL DESCRIPTION
Always be sure that the tool is switched off and the battery cartridge is removed before adjusting or checking function on the tool.
Installing or removing battery cartridge

Fig.1
- Red indicator
- Button
- Battery cartridge
- Always switch off the tool before installing or removing of the battery cartridge.
- Hold the tool and the battery cartridge firmly when installing or removing battery cartridge. Failure to hold the tool and the battery cartridge firmly may cause them to slip off your hands and result in damage to the tool and battery cartridge and a personal injury.
To remove the battery cartridge, slide it from the tool while sliding the button on the front of the cartridge.
To install the battery cartridge, align the tongue on the battery cartridge with the groove in the housing and slip it into place. Insert it all the way until it locks in place with a little click. If you can see the red indicator on the upper side of the button, it is not locked completely.
- Always install the battery cartridge fully until the red indicator cannot be seen. If not, it may accidentally fall out of the tool, causing injury to you or someone around you.
- Do not install the battery cartridge forcibly. If the cartridge does not slide in easily, it is not being inserted correctly.
Battery remaining capacity indicator (only for models with Battery BL1430A)
Battery BL1430A is equipped with the battery remaining capacity indicator.
Checking the remaining battery capacity

Fig.2
When charging
When the charging begins, the first (far left) indicating lamp begins to flicker. Then, as charging proceeds, the other lamps light, one after the other, to indicate the battery capacity.
When using
When the tool is switched on, the lamps will light to indicate the remaining battery capacity. When the tool is switched off, the light goes out after approx. 5 seconds. When the orange lamp lights up or flickers, the tool stops because of little remaining battery capacity. (Auto-stop mechanism: The tool works only for a second but stops immediately.) Charge the battery cartridge at this time or use a charged battery cartridge at this time.
When the tool is used with the battery that has not been used for a long time and is switched on, no lamps may not light up at all. The tool stops because of little remaining battery capacity at this time. (The tool may work only for a second but stops immediately.) Use Makita refreshing adapter to refresh the battery.
Switch action

Fig.3
- Switch trigger
Before inserting the battery cartridge into the tool, always check to see that the switch trigger actuates properly and returns to the "OFF" position when released.
To start the tool, simply pull the switch trigger. Release the switch trigger to stop.
Reversing switch action

Fig.4
- Reversing switch lever
- Always check the direction of rotation before operation.
- Use the reversing switch only after the tool comes to a complete stop. Changing the direction of rotation before the tool stops may damage the tool.
- When not operating the tool, always set the reversing switch lever to the neutral position.
This tool has a reversing switch to change the direction of rotation. Depress the reversing switch lever from the A side for clockwise rotation or from the B side for counterclockwise rotation.
When the reversing switch lever is in the neutral position, the switch trigger cannot be pulled.
Lighting up the lamps

Fig.5
- Lamp
- LED indicator
Do not look in the light or see the source of light directly.
Pull the switch trigger to light up the lamp. The lamp keeps on lighting while the switch trigger is being pulled. The light automatically goes out 10 seconds after the switch trigger is released.
NOTE: Use a dry cloth to wipe the dirt off the lens of lamp. Be careful not to scratch the lens of lamp, or it may lower the illumination.
LED indicator / Beeper
Led indicator / Beeper on the tool shows the following functions.
| Function | Status | Status of the LED indicator/beeper | Action to be taken | |
| LED indicator | Beeper | |||
| Auto-stop fastening | This function works when the tool has reached the preset fastening torque and normal tightening has been completed. This helps overtightening to be avoided. | Lights up in green for approximately one second. | - | - |
| Delayed re-start | For approximately one second after auto-stop fastening, the tool does not start even if the switch trigger is pulled. | |||
| Warning against insufficient fastening | Insufficient fastening has been performed when the switch trigger has released before reaching the preset fastening torque. | Lights up in red. | A long beep | Retighten the screw. |
| Warning for battery cartridge capacity | This indicates the appropriate time to replace the battery cartridge when the battery power becomes low. | Flickers in red slowly. | A series of long beeps | Replace the battery with fully charged one. |
| Checking the remaining battery capacity, Autostop | This function works when the battery power is almost used up. At this time, tool stops immediately. | Lights up in red. | A long beep | Replace the battery with fully charged one. |
| Check the LED indicator, lamp and beeper operation | This function works to check the proper operation of the LED indicator, lamp and beeper when a battery cartridge has been inserted into the tool. | Lights up first in green, next red. (And then the lamp comes on.) | A series of very short beeps | - |
| Anti-reset of controller | This function works when an abnormal drop of the battery voltage occurs for some reason, and the tool stops. | Flickers in red and green alternatively. | A series of short beeps | Replace the battery with fully charged one. |
| Overheat | This function works when the temperature of the controller goes up very highly, and the tool stops. | Flickers in red quickly. | A series of short beeps | Remove the battery cartridge immediately and cool the tool down. |
| Operation error of the switch trigger | This function works to avoid the tool's immediate start upon insertion of battery cartridge into the tool with the switch trigger being pulled. | Flickers in red and green alternatively. | A series of short beeps | Release the switch trigger. |
| Warning for limit of the fastening capacity | The tool automatically stops without the clutch working when exceeding the fastening capacity limit. | Flickers in red and green alternatively. | A series of short beeps | Remove the battery cartridge and then install it again. Be sure to use the tool under load within its capacity. |
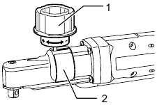
Adjusting the fastening torque

Fig.6
- Adjusting grip
- Ring
When you wish to drive machine screws, wood screws, hex bolts, etc. with the predetermined torque, adjusting the fastening torque as follows.
- First remove the battery cartridge from the tool.
- Loosen the screws securing the lamp cover.
- Rotate the ring in the front of the tool by hand so that a hole can be seen below the ring.
- Place the battery cartridge in place and pull the switch trigger. Release it so that the adjusting ring rotates and becomes visible in the hole. And then remove the battery cartridge.
![Makita - BFL061F - Adjusting the fastening torque Adjusting the fastening torque]()
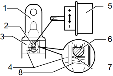
Fig.7- Angle head
- Adjusting ring
- Ring
- Scale
- Adjusting grip
- Hole for adjusting grip
- Yellow line
- Compression spring
- Use an optional adjusting grip to adjust the fastening torque. Insert the pin of the adjusting grip into the hole in the front of the tool. And then, turn the adjusting grip clockwise to set a greater fastening torque, and counterclockwise to set a smaller fastening torque.
- Align the edge of the adjusting ring with your desired number on the fastening torque scale.
- Align the yellow line with your desired number on the fastening torque scale.
- Insert the battery cartridge and be sure that a fastening torque has been set up by using a fastening torque tester.
- Tighten the screws to secure the lamp cover and then rotate the ring in front of the tool until the ring is locked.
NOTE: Numbers on the fastening torque scale is a guideline to set up your desired fastening torque.
ASSEMBLY
Always be sure that the tool is switched off and the battery cartridge is removed before carrying out any work on the tool.
Selecting correct socket or screw bit
There are different types of sockets or bits for some models depending on applications. Choose and install a correct socket or bit for your application.
Installing or removing socket

Fig.8
- Socket
- Hole
- Pin
To install the socket, push it onto the square drive of the tool with one hand by depressing a pin on the square drive with another hand until it locks into place. To remove the socket, simply pull it off depressing the pin on the square drive.
Installing or removing bit

Fig.9
- Screw bit
- Sleeve
For tools with retracting sleeve
To install the bit, pull the sleeve in the direction of the arrow and insert the bit into the sleeve as far as it will go. Then release the sleeve to secure the bit. To remove the bit, pull the sleeve in the direction of the arrow and pull the bit out firmly.
For tools without retracting sleeve
To install the bit, just insert the bit into the spindle as far as it will go. To remove the bit, pull the bit out firmly.
OPERATION
Hold the tool firmly and place the socket over the bolt or nut. Then switch the tool on. When the clutch cuts in, the motor will stop automatically. Then release the switch trigger.
NOTE: Hold the tool with its square drive pointed straight at the bolt or nut, or the bolt or nut will be damaged.
Limits of fastening capacity
Use the tool within the range of the revolution angle up to 360 ゚. If you use the tool beyond the upper limit of this range, the clutch does not work. And the tool cannot deliver enough fastening torque (LED flickers in red and green alternatively).
NOTE:
- The revolution angle means the angle which a screw/bolt revolves when the tool attains to 100% from 50% of desired torque.
- Use of a low temperature conditioned battery cartridge may sometimes give warning for battery cartridge capacity by warning lamp and beeper which makes the tool stop immediately. In this case, the fastening capacity may be inferior to the specification on this manual even if a charged battery cartridge is used.
MAINTENANCE
- Always be sure that the tool is switched off and the battery cartridge is removed before attempting to perform inspection or maintenance.
- Never use gasoline, benzine, thinner, alcohol or the like. Discoloration, deformation or cracks may result.
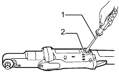
Replacing carbon brushes

Fig.10
- Limit mark
Remove and check the carbon brushes regularly. Replace when they wear down to the limit mark. Keep the carbon brushes clean and free to slip in the holders. Both carbon brushes should be replaced at the same time. Use only identical carbon brushes.

Fig.11
- Screwdriver
- Brush holder cap
Use a screwdriver to remove the brush holder caps. Take out the worn carbon brushes, insert the new ones and secure the brush holder caps.
To maintain product SAFETY and RELIABILITY, repairs, any other maintenance or adjustment should be performed by Makita Authorized Service Centers, always using Makita replacement parts.
OPTIONAL ACCESSORIES
These accessories or attachments are recommended for use with your Makita tool specified in this manual. The use of any other accessories or attachments might present a risk of injury to persons. Only use accessory or attachment for its stated purpose.
If you need any assistance for more details regarding these accessories, ask your local Makita Service Center.
- Protector
- Makita genuine battery and charger
- Angle head set
- Adjusting grip
- Anti kickback head
NOTE: Some items in the list may be included in the tool package as standard accessories. They may differ from country to country.
General Power Tool Safety Warnings
Read all safety warnings and all instructions. Failure to follow the warnings and instructions may result in electric shock, fire and/or serious injury.
Save all warnings and instructions for future reference.
CORDLESS SCREWDRIVER SAFETY WARNINGS
- Hold power tool by insulated gripping surfaces, when performing an operation where the fastener may contact hidden wiring. Fasteners contacting a "live" wire may make exposed metal parts of the power tool "live" and could give the operator an electric shock.
- Always be sure you have a firm footing. Be sure no one is below when using the tool in high locations.
- Hold the tool firmly.
- Keep hands away from rotating parts.
- Do not touch the bit or the workpiece immediately after operation; they may be extremely hot and could burn your skin.
SAVE THESE INSTRUCTIONS.
DO NOT let comfort or familiarity with product (gained from repeated use) replace strict adherence to safety rules for the subject product. MISUSE or failure to follow the safety rules stated in this instruction manual may cause serious personal injury.
IMPORTANT SAFETY INSTRUCTIONS
FOR BATTERY CARTRIDGE
- Before using battery cartridge, read all instructions and cautionary markings on (1) battery charger, (2) battery, and (3) product using battery.
- Do not disassemble battery cartridge.
- If operating time has become excessively shorter, stop operating immediately. It may result in a risk of overheating, possible burns and even an explosion.
- If electrolyte gets into your eyes, rinse them out with clear water and seek medical attention right away. It may result in loss of your eyesight.
- Do not short the battery cartridge:
- Do not touch the terminals with any conductive material.
- Avoid storing battery cartridge in a container with other metal objects such as nails, coins, etc.
- Do not expose battery cartridge to water or rain.
A battery short can cause a large current flow, overheating, possible burns and even a breakdown.
- Do not store the tool and battery cartridge in locations where the temperature may reach or exceed 50 ゚ C (122 ゚ F).
- Do not incinerate the battery cartridge even if it is severely damaged or is completely worn out. The battery cartridge can explode in a fire.
- Be careful not to drop or strike battery.
- Do not use a damaged battery.
SAVE THESE INSTRUCTIONS.
Tips for maintaining maximum battery life
- Charge the battery cartridge before completely discharged.
Always stop tool operation and charge the battery cartridge when you notice less tool power. - Never recharge a fully charged battery cartridge.
Overcharging shortens the battery service life. - Charge the battery cartridge with room temperature at 10 ゚C - 40 ゚C (50 ゚F - 104 ゚F). Let a hot battery cartridge cool down before charging it.
- Charge the battery cartridge once in every six months if you do not use it for a long period of time.

Download manual
Here you can download full pdf version of manual, it may contain additional safety instructions, warranty information, FCC rules, etc.
Download Makita BFL061F; BFL082F; BFL122F; BFL202F - Cordless Angle Screwdriver Manual

Need help?
Do you have a question about the BFL061F and is the answer not in the manual?