Makita 4350T, 4350CT, 4350FCT - Jig Saw Manual
SPECIFICATIONS
| Model | 4350T | 4350CT | 4350FCT |
| Length of stroke | 26 mm | 26 mm | 26 mm |
| Max. cutting capacities | |||
| Wood | 135 mm | 135 mm | 135 mm |
| Steel | 10 mm | 10 mm | 10 mm |
| Aluminum | 20 mm | 20 mm | 20 mm |
| Strokes per minute (min–1) | 2,800 | 800-2,800 | 800-2,800 |
| Overall length | 236 mm | 236 mm | 236 mm |
| Net weight | 2.6 kg | 2.6 kg | 2.6 kg |
| Safety class | ![]() | ![]() | ![]() |
- Due to our continuing program of research and development, the specifications herein are subject to change without notice.
- Specifications may differ from country to country.
- Weight according to EPTA-Procedure 01/2003
Intended use
The tool is intended for the sawing of wood, plastic and metal materials. As a result of the extensive accessory and saw blade program, the tool can be used for many purposes and is very well suited for curved or circular cuts.
Power supply
The tool should be connected only to a power supply of the same voltage as indicated on the nameplate, and can only be operated on single-phase AC supply. They are double-insulated and can, therefore, also be used from sockets without earth wire.
General Power Tool Safety Warnings
Read all safety warnings and all instructions. Failure to follow the warnings and instructions may result in electric shock, fire and/or serious injury.
Save all warnings and instructions for future reference.
JIG SAW SAFETY WARNINGS
- Hold power tool by insulated gripping surfaces when performing an operation where the cutting tool may contact hidden wiring or its own cord. Cutting accessory contacting a "live" wire may make exposed metal parts of the power tool "live" and could give the operator an electric shock.
- Use clamps or another practical way to secure and support the workpiece to a stable platform. Holding the work by hand or against your body leaves it unstable and may lead to loss of control.
- Always use safety glasses or goggles. Ordinary eye or sun glasses are NOT safety glasses.
- Avoid cutting nails. Inspect workpiece for any nails and remove them before operation.
- Do not cut oversize workpiece.
- Check for the proper clearance beyond the workpiece before cutting so that the blade will not strike the floor, workbench, etc.
- Hold the tool firmly.
- Make sure the blade is not contacting the workpiece before the switch is turned on.
- Keep hands away from moving parts.
- Do not leave the tool running. Operate the tool only when hand-held.
- Always switch off and wait for the blade to come to a complete stop before removing the blade from the workpiece.
- Do not touch the blade or the workpiece immediately after operation; they may be extremely hot and could burn your skin.
- Do not operate the tool at no-load unnecessarily.
- Some material contains chemicals which may be toxic. Take caution to prevent dust inhalation and skin contact. Follow material supplier safety data.
- Always use the correct dust mask/respirator for the material and application you are working with.
DO NOT let comfort or familiarity with product (gained from repeated use) replace strict adherence to safety rules for the subject product. MISUSE or failure to follow the safety rules stated in this instruction manual may cause serious personal injury.
FUNCTIONAL DESCRIPTION
- Always be sure that the tool is switched off and unplugged before adjusting or checking function on the tool.
Selecting the cutting action
(Fig. 1)

- Cutting action changing lever
This tool can be operated with an orbital or a straight line (up and down) cutting action. The orbital cutting action thrusts the blade forward on the cutting stroke and greatly increases cutting speed.
To change the cutting action, just turn the cutting action changing lever to the desired cutting action position. Refer to the table to select the appropriate cutting action.
| Position | Cutting action | Applications |
| 0 | Straight line cutting action | For cutting mild steel, stainless steel and plastics. For clean cuts in wood and plywood. |
| I | Small orbit cutting action | For cutting mild steel, aluminum and hard wood. |
| II | Medium orbit cutting action | For cutting wood and plywood. For fast cutting in aluminum and mild steel. |
| III | Large orbit cutting action | For fast cutting in wood and plywood. |
Switch action
(Fig. 2)

- Switch trigger
- Lock button
- Before plugging in the tool, always check to see that the switch trigger actuates properly and returns to the "OFF" position when released.
To start the tool, simply pull the switch trigger. Release the switch trigger to stop.
For continuous operation, pull the switch trigger and then push in the lock button.
To stop the tool from the locked position, pull the switch trigger fully, then release it.
Speed adjusting dial
(Fig. 3)

- Speed adjusting dial
For 4350CT, 4350FCT
The tool speed can be infinitely adjusted between 800 and 2,800 strokes per minute by turning the adjusting dial. Higher speed is obtained when the dial is turned in the direction of number 5; lower speed is obtained when it is turned in the direction of number 1.
Refer to the table to select the proper speed for the workpiece to be cut. However, the appropriate speed may differ with the type or thickness of the workpiece. In general, higher speeds will allow you to cut workpieces faster but the service life of the blade will be reduced.
| Workpiece to be cut | Number on adjusting dial |
| Wood | 4 – 5 |
| Mild steel | 3 – 5 |
| Stainless steel | 3 – 4 |
| Aluminum | 3 – 5 |
| Plastics | 1 – 4 |
- The speed adjusting dial can be turned only as far as 5 and back to 1. Do not force it past 5 or 1, or the speed adjusting function may no longer work.
The tools equipped with electronic function are easy to operate because of the following features.
Constant speed control
Electronic speed control for obtaining constant speed. Possible to get fine finish, because the rotating speed is kept constant even under load condition.
Soft start feature
Safety and soft start because of suppressed starting shock.
Lighting up the lamps
For 4350FCT only
- Do not look in the light or see the source of light directly.
To turn on the lamp, pull the trigger. Release the trigger to turn it off.
NOTE:
- Use a dry cloth to wipe the dirt off the lens of lamp. Be careful not to scratch the lens of lamp, or it may lower the illumination.
ASSEMBLY
- Always be sure that the tool is switched off and unplugged before carrying out any work on the tool.
Installing or removing saw blade
- Always clean out all chips or foreign matter adhering to the blade and/or blade holder. Failure to do so may cause insufficient tightening of the blade, resulting in a serious personal injury.
- Do not touch the blade or the workpiece immediately after operation; they may be extremely hot and could burn your skin.
- Tighten the saw blade securely. Failure to do so may cause a serious injury.
- When you remove the saw blade, be careful not to hurt your fingers with the top of the blade or the tips of workpiece.
To install the blade, open the tool opener to the position shown in the figure. (Fig. 4)

- Tool opener
Keeping that situation, insert the saw blade into the blade clamp as far as the two protrusions of the blade can not be seen. (Fig. 5)

- Blade clamp
- Jig saw blade
- Protrusions
Return the tool opener to its original position. After installing, always make sure that the blade is securely held in place by trying to pull it out.
- Do not open the tool opener excessively, or it may cause tool damage.
To remove the blade, open the tool opener to the position shown in the figure. Pull the saw blade out toward the base. (Fig. 6)

- Jig saw blade
NOTE:
- Occasionally lubricate the roller.
Hex wrench storage
(Fig. 7)

- Base
- Hex wrench
When not in use, the hex wrench can be conveniently stored.
OPERATION
- Hold the tool firmly with one hand on the main handle when performing the tool. If necessary, the front part of the tool may be supported by the other hand.
- Always hold the base flush with the workpiece. Failureto do so may cause blade breakage, resulting in a serious injury.
Turn the tool on and wait until the blade attains full speed. Then rest the tool base flat on the workpiece and gently move the tool forward along the previously marked cutting line. When cutting curves, advance the tool very slowly. (Fig. 8)

9 Base
11 Cutting line
Bevel cutting
- Always be sure that the tool is switched off and unplugged before tilting the base.
With the base tilted, you can make bevel cuts at any angle between 0° and 45° (left or right). (Fig. 9)

Loosen the bolt on the back of the base with the hex wrench. Move the base so that the bolt is positioned in the center of the bevel slot in the base. (Fig. 10)

- Base
- Hex wrench
- Bolt
Tilt the base until the desired bevel angle is obtained. The V-notch of the gear housing indicates the bevel angle by graduations. Then tighten the bolt firmly to secure the base. (Fig. 11)

- Base
- Bolt
- Graduation
- Bevel slot
- Gear housing
- V-notch
Front flush cuts
(Fig. 12)

- Base
- Hex wrench
- Bolt
Cutouts
Cutouts can be made with either of two methods A or B.
- Boring a starting hole:
For internal cutouts without a lead-in cut from an edge, pre-drill a starting hole 12 mm or more in diameter. Insert the blade into this hole to start your cut.
(Fig. 13)
![Makita - 4350T - Cutouts - Boring a starting hole Cutouts - Boring a starting hole]()
- Starting hole
- Plunge cutting:
You need not bore a starting hole or make a lead-in cut if you carefully do as follows.
- Tilt the tool up on the front edge of the base with the blade point positioned just above the workpiece surface.(Fig. 14)
![Makita - 4350T - Cutouts - Plunge cutting Cutouts - Plunge cutting]()
- Apply pressure to the tool so that the front edge of the base will not move when you switch on the tool and gently lower the back end of the tool slowly.
- As the blade pierces the workpiece, slowly lower the base of the tool down onto the workpiece surface.
- Complete the cut in the normal manner.
Finishing edges
(Fig. 15)

To trim edges or make dimensional adjustments, run the blade lightly along the cut edges.
Metal cutting
Always use a suitable coolant (cutting oil) when cutting metal. Failure to do so will cause significant blade wear. The underside of the workpiece can be greased instead of using a coolant.
Dust extraction
The dust nozzle (accessory) is recommended to perform clean cutting operations.
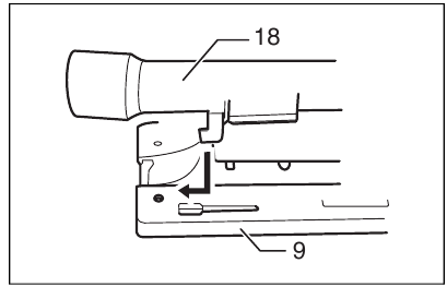
To attach the dust nozzle on the tool, insert the hook of dust nozzle into the hole in the base. (Fig. 16 & 17)

18 Dust nozzle
9 Base

The dust nozzle can be installed on either left or right side of the base.
Then connect a Makita vacuum cleaner to the dust nozzle.(Fig. 18)

- Dust nozzle
- Hose for vacuum cleaner
- If you try to remove the dust nozzle forcibly, the hook of the dust nozzle can be diminished and removed unintentionally during operation.
Rip fence set (optional accessory)
- Always be sure that the tool is switched off and unplugged before installing or removing accessories.
- Straight cuts (Fig. 19 & 20)
When repeatedly cutting widths of 160 mm or less, use of the rip fence will assure fast, clean, straight cuts. To install, insert the rip fence into the rectangular hole on the side of the tool base with the fence guide facing down. Slide the rip fence to the desired cutting width position, then tighten the bolt to secure it.12 Bolt
10 Hex wrench
20 Rip fence
21 Fence guide - Circular cuts (Fig. 21 & 22)
![Makita - 4350T - Rip fence set - Example 2 - Circular cuts Rip fence set - Example 2 - Circular cuts]()
- Fence guide
- Threaded knob
- Circular guide pin
When cutting circles or arcs of 170 mm or less in radius, install the rip fence as follows.
Insert the rip fence into the rectangular hole on the side of the base with the fence guide facing up. Insert the circular guide pin through either of the two holes on the fence guide. Screw the threaded knob onto the pin to secure the pin.
Now slide the rip fence to the desired cutting radius, and tighten the bolt to secure it in place. Then move the base all the way forward.
NOTE:
- Always use blades No. B-17, B-18, B-26 or B-27 when cutting circles or arcs.
Guide rail adapter set (accessory)
When cutting parallel and uniform width or cutting straight, the use of the guide rail and the guide rail adapter will assure the production of fast and clean cuts. (Fig. 23)

To install the guide rail adapter, insert the rule bar into the square hole of the base as far as it goes. Secure the bolt with the hex wrench securely. (Fig. 24)

24 Rule bar
12 Bolt
Install the guide rail adapter on the rail of the guide rail. Insert the rule bar into the square hole of the guide rail adapter. Put the base to the side of the guide rail, and secure the bolt securely. (Fig. 25)

- Screw
- Guide rail adapter
- Guide rail
- Always use blades No. B-8, B-13, B-16, B-17 or 58 when using the guide rail and the guide rail adapter.
Cover plate
(Fig. 26)

28 Cover plate
9 Base
Use the cover plate when cutting decorative veneers, plastics, etc. It protects sensitive or delicate surfaces from damage. Fit it on the back of the tool base.
Anti-splintering device
(Fig. 27)

29 Anti-splintering device
9 Base
For splinter-free cuts, the anti-splintering device can be used. To install the anti-splintering device, move the tool base all the way forward and fit it from the back of tool base. When you use the cover plate, install the anti-splintering device onto the cover plate.
- The anti-splintering device cannot be used when making bevel cuts.
MAINTENANCE
- Always be sure that the tool is switched off and unplugged before attempting to perform inspection or maintenance.
- Never use gasoline, benzine, thinner, alcohol or the like. Discoloration, deformation or cracks may result.
To maintain product SAFETY and RELIABILITY, repairs, carbon brush inspection and replacement, any other maintenance or adjustment should be performed by Makita Authorized Service Centers, always using Makita replacement parts.
OPTIONAL ACCESSORIES
- These accessories or attachments are recommended for use with your Makita tool specified in this manual. The use of any other accessories or attachments might present a risk of injury to persons. Only use accessory or attachment for its stated purpose. If you need any assistance for more details regarding these accessories, ask your local Makita Service Center.
- Jig saw blades
- Hex wrench 4
- Rip fence (guide rule) set
- Guide rail adapter set
- Guide rail set
- Anti-splintering device
- Dust nozzle
- Cover plate
- Hose (For vacuum cleaner)
NOTE:
- Some items in the list may be included in the tool pack-age as standard accessories. They may differ from country to country.
Noise
The typical A-weighted noise level determined according to EN60745:
Model 4350T
Sound pressure level (LpA): 83 dB (A)
Sound power level (LWA): 94 dB (A)
Uncertainty (K): 3 dB (A)
Model 4350CT, 4350FCT
Sound pressure level (LpA): 84 dB (A)
Sound power level (LWA): 95 dB (A)
Uncertainty (K): 3 dB (A)
Wear ear protection
Vibration
The vibration total value (tri-axial vector sum) determined according to EN60745:
Model 4350T
Work mode: cutting boards
Vibration emission (ah, B): 7.0 m/s2
Uncertainty (K): 1.5 m/s2
Work mode: cutting sheet metal
Vibration emission (ah, M): 4.5 m/s2
Uncertainty (K): 1.5 m/s2
Model 4350CT, 4350FCT
Work mode: cutting boards
Vibration emission (ah, B): 7.5 m/s2
Uncertainty (K): 1.5 m/s2
Work mode: cutting sheet metal
Vibration emission (ah, M): 4.5 m/s2
Uncertainty (K): 1.5 m/s2
- The declared vibration emission value has been measured in accordance with the standard test method and may be used for comparing one tool with another.
- The declared vibration emission value may also be used in a preliminary assessment of exposure.
- The vibration emission during actual use of the power tool can differ from the declared emission value depending on the ways in which the tool is used.
- Be sure to identify safety measures to protect the oper-ator that are based on an estimation of exposure in the actual conditions of use (taking account of all parts of the operating cycle such as the times when the tool is switched off and when it is running idle in addition to the trigger time).
Download manual
Here you can download full pdf version of manual, it may contain additional safety instructions, warranty information, FCC rules, etc.
Download Makita 4350T, 4350CT, 4350FCT - Jig Saw Manual




Need help?
Do you have a question about the 4350T and is the answer not in the manual?