Makita AF500HP - Pneumatic Pin Nailer Manual

SPECIFICATIONS
| Model | AF500HP |
| Air pressure | 0.98 - 2.26 MPa (9.8 - 22.6 bar) |
| Nail Iength | 15 mm - 50 mm |
| Nail capacity | 100 pcs. |
| Pneumatic tool oil | ISO VG32 or equivalent |
| Dimensions (L X H X W) | 228 mm X 61 mm X 207 mm |
| Min. hose diameter | 5.0 mm or more |
| Net weight | 1.2 kg |
- Due to our continuing program of research and development, the specifications herein are subject to change without notice.
- Specifications may differ from country to country.
- Weight according to EPTA-Procedure 01/2003

Symbols
The following show the symbols used for the equipment. Be sure that you understand their meaning before use.
![]() |
|
![]() |
|
Intended use
The tool is intended for fastening on interior work and furniture work.
Noise
The typical A-weighted noise level determined according to EN792:
Sound pressure level (LpA): 80 dB(A)
Uncertainty (K): 3 dB(A)
The noise level under working may exceed 80 dB (A).
Wear ear protection
Vibration
The vibration total value determined according to EN792:
Vibration emission (ah): 2.5 m/s2 or less
Uncertainty (K): 1.5 m/s2
- The declared vibration emission value has been measured in accordance with the standard test method and may be used for comparing one tool with another.
- The declared vibration emission value may also be used in a preliminary assessment of exposure.
- The vibration emission during actual use of the power tool can differ from the declared emission value depending on the ways in which the tool is used.
- Be sure to identify safety measures to protect the operator that are based on an estimation of exposure in the actual conditions of use (taking account of all parts of the operating cycle such as the times when the tool is switched off and when it is running idle in addition to the trigger time).
Product safety warnings
Read all safety warnings and all instructions. Failure to follow the warnings and instructions may result in serious injury, electric shock and/or fire.
Save all warnings and instructions for future reference.
For personal safety and proper operation and maintenance of the tool, read this instruction manual before using the tool.
General safety
- Do not permit those uninstructed to use the tool.
- No horseplay. Respect the tool as a working implement.
- Do not operate when under the influence of alcohol, drugs or the like.
- Never alter the tool.
Personal protective equipments
- Always wear safety glasses to protect your eyes from dust or fastener injury.
It is an employer's responsibility to enforce the use of safety eye protection equipment by the tool operators and by other persons in the immediate working area.
For Australia and New Zealand only
Always wear safety glasses and face shield to protect your eyes from dust or fastener injury. The safety glasses and the face shield should conform with the requirements of AS/NZS 1336.
- Wear hearing protection to protect your ears against exhaust noise and head protection. Also wear light but not loose clothing. Sleeves should be buttoned or rolled up. No necktie should be worn.
Work area safety
- Keep work area clean and well lit. Cluttered or dark areas invite accidents.
- Do not operate the tool in explosive atmospheres, such as in the presence of flammable liquids, gases or dust. Operating the tool can create sparks which may ignite the dust or fumes.
- Keep children and bystanders away while operating the tool. Distractions can cause you to lose control.
- Illuminate the work area sufficiently.
- There may be local regulations concerning noise which must be complied with by keeping noise levels within prescribed limits. In certain cases, shutters should be used to contain noise.
Safety devices
- Make sure all safety systems are in working order before operation. The tool must not operate if only the trigger is pulled or if only the contact arm is pressed against the wood. It must work only when both actions are performed. Test for possible faulty operation with fasteners unloaded and the pusher in fully pulled position.
- Do not play with the contact element: it prevents accidental discharge, so it must be kept on and not removed. Securing the trigger in the ON position is also very dangerous. Never attempt to fasten the trigger. Do not operate a tool if any portion of the tool operating controls is inoperable, disconnected, altered, or not working properly.
- Do not attempt to keep the contact element depressed with tape or wire. Death or serious injury may occur.
- Always check contact element as instructed in this manual. fasteners may be driven accidentally if the safety mechanism is not working correctly.
- When not operating the tool, always lock the trigger by turning the lock lever to the LOCK position.
- Make sure that the trigger is locked when the lock lever is set to the LOCK position.
Loading fasteners
- Do not load the tool with fasteners when any one of the operating controls is activated.
- Use only fasteners specified in this manual. The use of any other fasteners may cause malfunction of the tool.
Power source
- Never connect the tool to compressed air line where the air pressure can exceed the suitable air pressure range of the tool, specified in the "SPECIFICATIONS" table, by 10%. Make sure that the pressure supplied by the compressed air system does not exceed the suitable air pressure range of the tool. Set the air pressure initially to the lower value of the suitable air pressure range.
- Operate the tool at the lowest pressure required for the application, in order to prevent unnecessarily high noise levels, increased wear and resulting failures.
- Never use the tool with other than compressed air. If bottled gas (carbon dioxide, oxygen, nitrogen, hydrogen, air, etc.) or combustible gas (hydrogen, propane, acetylene, etc.) is used as a power source for this tool, the tool will explode and cause serious injury.
- Always disconnect the air hose and remove all of the fasteners:
- when unattended;
- before performing any maintenance or repair;
- before cleaning a jam;
- Before moving the tool to a new location.
- Use only pneumatic tool oil specified in this manual.
Operational safety
- Always check the tool for its overall condition and loose screws before operation. Tighten as required.
- Handle the tool carefully, as there is high pressure inside the tool that can be dangerous if a crack is caused by rough handling (dropping or striking). Do not attempt to carve or engrave on the tool.
- Stop the operation immediately if you notice something wrong or out of the ordinary with the tool. An improperly functioning tool must not be used.
- Do not point the ejection port at anyone in the vicinity. Keep hands and feet away from the ejection port area.
- Always assume that the tool contains fasteners.
- Never point the tool toward yourself or anyone whether it contains fasteners or not.
- Do not rush the job or force the tool. Handle the tool carefully.
- Do not activate the tool unless the tool is placed firmly against the workpiece.
- Never hold or carry the tool with a finger on the trigger or hand it to someone in this condition. Accidental firing can cause serious injury.
- Never use fastener driving tools marked with the symbol "Do not use on scaffoldings, ladders" for specific application for example:
- when changing one driving location to another involves the use of scaffoldings, stairs, ladders, or ladder alike constructions, e.g. roof laths;
- closing boxes or crates;
- fitting transportation safety systems e.g. on vehicles and wagons.
Check walls, ceilings, floors, roofing and the like carefully to avoid possible electrical shock, gas leakage, explosions, etc. caused by striking live wires, conduits or gas pipes.
Do not use the tool for fastening electrical cables. It is not designed for electric cable installation and may damage the insulation of electric cables thereby causing electric shock or fire hazards.- Watch your footing and maintain your balance with the tool. Make sure there is no one below when working in high locations, and secure the air hose to prevent danger if there is sudden jerking or catching.
- On rooftops and other high locations, drive fasteners as you move forward. It is easy to lose your footing if you drive fasteners while inching backward. When driving fasteners against perpendicular surface, work from the top to the bottom. You can perform driving operations with less fatigue by doing so.
- A fastener will be bent or the tool can become jammed if you mistakenly drive fastener on top of another fastener or strike a knot in the wood. The fastener may be thrown and hit someone, or the tool itself can react dangerously. Place the fasteners with care.
- Do not leave the loaded tool or the air compressor under pressure for a long time out in the sun. Be sure that dust, sand, chips and foreign matter will not enter the tool in the place where you leave it setting.
- Never attempt to drive fasteners from both the inside and outside at the same time. Fasteners may rip through and/or fly off, presenting a grave danger.
Service
- Perform cleaning and maintenance right after finishing the job. Keep the tool in tip-top condition. Lubricate moving parts to prevent rusting and minimize friction-related wear. Wipe off all dust from the parts.
- Ask Makita authorized service center for periodical inspection of the tool.
- To maintain product SAFETY and RELIABILITY, maintenance and repairs should be performed by Makita Authorized Service Centers, always using Makita replacement parts.
SAVE THESE INSTRUCTIONS.
DO NOT let comfort or familiarity with product (gained from repeated use) replace strict adherence to safety rules for the subject product. MISUSE or failure to follow the safety rules stated in this instruction manual may cause serious personal injury.
INSTALLATION
Selecting compressor
- Select a compressor that has ample pressure and air output to assure cost-efficient operation. The graph shows the relation between nailing frequency, applicable pressure and compressor air output. Thus, for example, if nailing takes place at a rate of approximately 60 times per minute at a compression of 1.76 MPa (17.6 bar), a compressor with an air output over 40 L/min is required. Pressure regulators must be used to limit air pressure to the rated pressure of the tool where air supply pressure exceeds the tool's rated pressure. Failure to do so may result in serious injury to tool operator or persons in the vicinity.
Selecting air hose
Use a high pressure resistant air hose. The air pressure used for this nailer is higher than that for other general finishing nailers.
- Use an air hose as large and as short as possible to assure continuous, efficient nailing operation.
Low air output of the compressor, or a long or smaller diameter air hose in relation to the nailing frequency may cause a decrease in the driving capability of the tool.
Lubrication
Before and after use, oil the tool with pneumatic tool oil by placing two or three drops into the air fitting. For proper lubrication, the tool must be fired a couple of times after pneumatic tool oil is introduced.

FUNCTIONAL DESCRIPTION
Always lock the trigger and disconnect the hose before adjusting or checking function on the tool.
Checking before operation
Never use the nailer when the safety elements are not in working order. Using it in that condition may cause a personal injuries and damage.
This nailer does not fire nails without activating both the trigger and the safety elements. Before nailing, check the nailer that the safety systems is in working order by following the procedure shown below.
- Make sure that nails are not loaded on the tool before operation.
- Connect the air hose to the tool.
- Set the lock lever in the released position.
- Locking position
- Released position
- Lock lever
- Pull the slide door of the magazine toward yourself.
- Pull only the trigger
- Release the finger from trigger and place the safety element against the workpiece..
- Trigger
- Contact element
- Bring the safety element off the workpiece, pull the trigger and then place the safety element against the workpiece.
- Trigger
- Contact element
- If the nailer works between 5 - 7, the safety elements are not in working order.
Using the trigger lock
The tool has trigger lock to avoid accidents by an unintentional start. The trigger lock makes the trigger unmovable and let the tool cause no firing.

- Lock lever
To lock the trigger, set the lock lever in the " LOCK
" position.
Before nailing, set the lock lever in the " FREE
" position. When not in use, always set it in the " LOCK
" position and disconnect the hose from the tool.

- Lock lever
Adjusting depth of nailing
Always lock the trigger and disconnect the hose before adjusting the depth of nailing.
To adjust the depth of nailing, turn the adjuster. The depth of nailing is the deepest when the adjuster is turned fully in the A direction shown in the figure. It will become shallower as the adjuster is turned in the B direction.

- Adjuster

- Too deep
- Flush
- Too shallow
Hook
- Always lock the trigger and disconnect the hose before changing the hook installation position and using the hook.
- Never hook the tool at high location, on waist belt or potentially unstable surface.
The hook is convenient for hanging the tool temporarily.
The hook can be installed on either side of the tool.
When changing the installation position, remove the screw from the hook. Place the hook on the desired position and secure it with screw.
ASSEMBLY
- Always lock the trigger and disconnect the hose before carrying out any work on the tool.
- Load the same kind, size and uniform length of nails when loading nails in the magazine.
Loading the device
Always lock the trigger and disconnect the hose before loading the pin nailer.
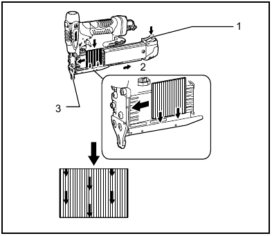
Press the lock lever and open the magazine by pulling it toward yourself with the lever pressed.
Align the tip of pin nails with the grooves at the bottom of the magazine and push the whole part of pin nails toward the firing opening. Close the slide door firmly.

- Lock lever
- Slide backward
- Contact element
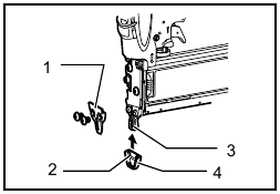
Nose adapter
Always lock the trigger and disconnect the hose before loading the pin nailer.
To prevent the surface of workpiece from being scratched or damaged, use the nose adapter. Before attaching the nose adapter, remove two screws with the hex wrench that are securing the contact top cover.
Attach the nose adapter so that its protrusion fit into the groove in the contact element,

- Contact top cover
- Hole
- Protrusion
- Nose adapter
Store the nose adapter in place when not in use. The place for storage is at the back of the slide door.
Open the slide door slightly and set the nose adapter onto the holder with the slide door slightly opened, and then close the slide door. Total two nose adapters can be stored.

To take the nose adapter out of the holder easily, push it out using a hex wrench from back of the slide door.

- Nose adapter
Connecting air hose
When connecting air hose, never place a finger on the trigger.
Lock the trigger and slip the air socket of the air hose onto the air fitting on the nailer. Be sure that the air socket locks firmly into position when installed onto the air fitting. A hose coupling must be installed on or near the tool in such a way that the pressure reservoir will discharge at the time the air supply coupling is disconnected.
OPERATION
Always be sure to first place the contact element against the workpiece before pulling the trigger.
To drive a nail, set the lock lever in the " FREE
" position.
Place the contact element against the workpiece and then pull the trigger.

- Lock lever
- Contact element

- Place first the contact element against workpiece.
Anti dry fire mechanism
This tool is equipped with an anti dry fire mechanism. When facing a triggers undepressed position to prevent the tool from being activated, load more nails to resume operation.
Jammed device
Always lock the trigger, disconnect the hose and remove the nails from the magazine before cleaning a jam.
Open the slide door and remove nails from the magazine.
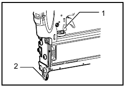
Press the short top end of the hex wrench and take it out from the holder.

- Hook
- Hex wrench 3
Remove two screws with the hex wrench that are securing the contact top cover.
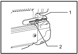
Take the jammed nails from the nail guide groove that has appeared.
When it is difficult to take out the jammed nails, further remove two screws with the hex wrench that are securing the driver guide cover. Then take them out.

- Driver guide cover
- Screw
- Contact top cover
MAINTENANCE
- Always lock the trigger and disconnect the hose before attempting to perform inspection or maintenance.
- Never use gasoline, benzine, thinner, alcohol or the like. Discoloration, deformation or cracks may result.
Maintenance of the unit
Always check the tool for its overall condition and loose screws before operation. Tighten as required.

With tool disconnected, make daily inspection to assure free movement of the contact element and trigger. Do not use tool if the contact element or trigger sticks or binds.

Draining the tool
Disconnect the hose from the tool. Place the tool so that the air fitting faces down to the floor. Drain as much as possible.

Cleaning of tool
Blow off dust by using an air duster.
Cap
When not in use, lock the trigger and disconnect the hose. Then cap the air fitting port.

When the tool is not to be used for an extended period of time, lubricate the tool using pneumatic tool oil and store the tool in a safe place. Avoid exposure to direct sunlight and/or humid or hot environment.


Maintenance of compressor and air hose
After operation, always drain the compressor tank. If moisture is allowed to enter the tool, It may result in poor performance and possible tool failure.

- Drain cock
Keep the air hose away from heat (over 60°C, over 140°F), away from chemicals (thinner, strong acids or alkalis). Also, route the hose away from obstacles which it may become dangerously caught on during operation. Hoses must also be directed away from sharp edges and areas which may lead to damage or abrasion to the hose.

To maintain product SAFETY and RELIABILITY, repairs, any other maintenance and adjustment should be performed by Makita Authorized Service Centers, always using Makita replacement parts.
OPTIONAL ACCESSORIES
These accessories or attachments are recommended for use with your Makita tool specified in this manual. The use of any other accessories or attachments might present a risk of injury to persons. Only use accessory or attachment for its stated purpose.
If you need any assistance for more details regarding these accessories, ask your local Makita Service Center.
- Nails
- Air hoses
- Safety goggles
NOTE:
- Some items in the list may be included in the tool package as standard accessories. They may differ from country to country.

Download manual
Here you can download full pdf version of manual, it may contain additional safety instructions, warranty information, FCC rules, etc.
Download Makita AF500HP - Pneumatic Pin Nailer Manual


Need help?
Do you have a question about the AF500HP and is the answer not in the manual?