Whirlpool WFG770H0FZ - 5.8 Cu. Ft. Freestanding Gas Range with Fingerprint-Resistant Stainless Steel Manual
-
1
RANGE MAINTENANCE AND CARE
-
1.1
General Cleaning
- 1.1.1 EXTERIOR PORCELAIN ENAMEL SURFACES (on some models)
- 1.1.2 STAINLESS STEEL (on some models)
- 1.1.3 METALLIC PAINT (on some models)
- 1.1.4 PORCELAIN-COATED GRATES AND CAPS
- 1.1.5 SURFACE BURNERS
- 1.1.6 COOKTOP CONTROLS
- 1.1.7 CONTROL PANEL AND OVEN DOOR EXTERIOR
- 1.1.8 OVEN RACKS
- 1.1.9 STORAGE/WARMING DRAWER (on some models)
- 1.1.10 OVEN CAVITY
- 1.2 Clean Cycle
-
1.1
General Cleaning
- 2 INSTALLATION INSTRUCTIONS REQUIREMENTS
-
3
INSTALLATION
- 3.1 Unpack Range
- 3.2 Install Anti-Tip Bracket
- 3.3 Make Gas Connection
- 3.4 Verify Anti-Tip Bracket Is Installed and Engaged
- 3.5 Level Range
- 3.6 Electronic Ignition System
- 3.7 Warming Drawer or Premium Storage Drawer (on some models)
- 3.8 Storage Drawer (on some models)
- 3.9 Oven Door
- 3.10 Complete Installation
-
4
GAS CONVERSIONS
-
4.1
Propane Gas Conversion
- 4.1.1 To Convert Gas Pressure Regulator (Natural gas to Propane)
- 4.1.2 To Convert Surface Burners (Natural Gas to Propane Gas)
- 4.1.3 To Convert Oven Bake Burner (Natural Gas to Propane Gas)
- 4.1.4 To Convert Oven Broil Burner (Natural Gas to Propane Gas)
- 4.1.5 Complete Installation (Natural Gas to Propane Gas)
-
4.2
Natural Gas Conversion
- 4.2.1 To Convert Gas Pressure Regulator (Propane Gas to Natural Gas)
- 4.2.2 To Convert Surface Burners (Propane Gas to Natural Gas)
- 4.2.3 To Convert Oven Bake Burner (Propane Gas to Natural Gas)
- 4.2.4 To Convert Oven Broil Burner (Propane Gas to Natural Gas)
- 4.2.5 Complete Installation (Propane Gas to Natural Gas)
- 4.3 Moving the Range
-
4.1
Propane Gas Conversion
- 5 RANGE SAFETY
- 6 IMPORTANT SAFETY INSTRUCTIONS
- 7 Download manual
- 8 In Other Languages

RANGE MAINTENANCE AND CARE
General Cleaning
Before cleaning, make sure all controls are OFF and the oven and cooktop are cool. Always follow label instructions on cleaning products.
Soap, water, and a soft cloth or sponge are suggested first, unless otherwise noted.
EXTERIOR PORCELAIN ENAMEL SURFACES (on some models)
Food spills containing acids, such as vinegar and tomato, should be cleaned as soon as the entire range is cool. These spills may affect the finish.
Cleaning Method:
- Glass cleaner, mild liquid cleaner, or nonabrasive scrubbing pad: Gently clean around the model/serial/rating plate because scrubbing may remove numbers.
- Affresh®† Kitchen and Appliance Cleaner Part Number W10355010 (not included):
See the Quick Start Guide for ordering information.
STAINLESS STEEL (on some models)
NOTE: To avoid damage to stainless steel surfaces, do not use soap-filled scouring pads, abrasive cleaners, Cooktop Cleaner, steel-wool pads, gritty washcloths, or abrasive paper towels. Damage may occur to stainless steel surfaces, even with one-time or limited use.
Cleaning Method:
- Rub in direction of grain to avoid damaging.
- Affresh® Stainless Steel Cleaner Part Number W10355016 (not included):
See the Quick Start Guide for ordering information.
METALLIC PAINT (on some models)
Do not use abrasive cleaners, cleaners with bleach, rust removers, ammonia, or sodium hydroxide (lye) because paint surface may stain.
PORCELAIN-COATED GRATES AND CAPS
Food spills containing acids, such as vinegar and tomato, should be cleaned as soon as the cooktop, grates and caps are cool. These spills may affect the finish.
To avoid chipping, do not bang grates, and caps against each other or hard surfaces such as cast iron cookware. Do not reassemble caps on burners while wet. Do not clean in the Self-Cleaning cycle.
Cleaning Method:
- Nonabrasive plastic scrubbing pad and mildly abrasive cleanser: Clean as soon as cooktop, grates, and caps are cool.
- Dishwasher (grates only, not caps):
Use the most-aggressive cycle. Cooked-on soils should be soaked or scrubbed before going into a dishwasher.
Although the burner grates are durable, they may lose their shine and/or discolor when washed in a dishwasher. - Gas Grate and Drip Pan Cleaner Part Number 31617 (not included):
See the Quick Start Guide for ordering information.
SURFACE BURNERS
Food spills containing acids, such as vinegar and tomato, should be cleaned as soon as the cooktop, grates, and caps are cool. These spills may affect the finish.
To avoid chipping, do not bang grates and caps against each other or hard surfaces such as cast iron cookware.
Do not reassemble caps on burners while wet.
Do not clean in the Self-Cleaning cycle.
Do not clean in dishwasher.
Cleaning Method:
- Nonabrasive plastic scrubbing pad and mildly abrasive cleanser:
Clean as soon as cooktop, grates, burners, and caps are cool. - Gas Grate and Drip Pan Cleaner (not included).
COOKTOP CONTROLS
To avoid damage to the cooktop controls, do not use steel wool, abrasive cleansers, or oven cleaner.
To avoid damage, do not soak knobs. When replacing knobs, make sure knobs are in the Off position.
On some models, do not remove seals under knobs.
Cleaning Method:
- Soap and water: Pull knobs straight away from control panel to remove
CONTROL PANEL AND OVEN DOOR EXTERIOR
To avoid damage to the control panel, do not use abrasive cleaners, steel-wool pads, gritty washcloths, or abrasive paper towels.
Cleaning Method:
- Glass cleaner and soft cloth or sponge: Apply glass cleaner to soft cloth or sponge, not directly on panel.
- Affresh® Kitchen and Appliance Cleaner Part Number W10355010 (not included):
See the Quick Start Guide for ordering information.
OVEN RACKS
Cleaning Method:
- Steel-wool pad
- For racks that have discolored and are harder to slide, a light coating of vegetable oil applied to the rack guides will help them slide.
- Dishwasher (steam rack water reservoir only, not racks): Although the water reservoir is durable, it may lose its shine and/or discolor when washed in a dishwasher.
STORAGE/WARMING DRAWER (on some models)
Check that storage/warming drawer is cool and empty before cleaning.
Cleaning Method:
- Mild detergent
OVEN CAVITY
Do not use oven cleaners.
Food spills should be cleaned when oven cools. At high temperatures, foods react with porcelain. Staining, etching, pitting, or faint white spots can result.
Cleaning Method:
- Self-Cleaning cycle: See the "Self-Cleaning Cycle" or "Clean Cycle" section first.
Clean Cycle
AquaLift® Technology is an innovative cleaning solution that utilizes heat and water to release baked-on spills from the oven in less than 1 hour. This new cleaning technology is a low-heat, odor-free alternative to traditional self-cleaning options.

Allow the oven to cool to room temperature before using the Clean cycle. If your oven cavity is above 200°F (93°C), it will appear in the display, and the Clean cycle will not be activated until the oven cavity cools down.
To Clean:
- Remove all racks and accessories from the oven cavity, and wipe excess soil. Use a plastic scraper to remove easily removed soils
![Whirlpool - WFG770H0FZ - Clean Cycle - Step 1 Clean Cycle - Step 1]()
- Pour 13/4 cups (14 oz [414 mL]) of distilled or filtered water onto the bottom of the empty oven, and close the oven door.
Do not use chemicals or other additives with the water. Do not open the oven door during the Clean cycle. The water on the oven bottom is hot. - Press CLEAN/AQUALIFT SELF CLEAN and then START on the oven control panel.
- Allow 40 minutes for cleaning and cooldown. A beep will sound when the Clean cycle is complete.
- Press OFF/CANCEL/CANCEL UPPER at the end of the cycle. Off/Cancel/Cancel Upper may be pressed at any time to stop the Clean cycle.
- Remove the residual water and loosened soils with a sponge or cloth immediately after the Clean cycle is complete. Much of the initial 13/4 cups (14 oz [414 mL]) of water will remain in the oven after the cycle is completed. If additional soils remain, leave a small amount of water in the oven bottom to assist with the cleaning.
![Whirlpool - WFG770H0FZ - Clean Cycle - Step 3 Clean Cycle - Step 3]()
- If any soils remain, remove them with a nonscratch scrubbing sponge or plastic scraper. Additional Clean cycles may be run to help remove the stubborn soils.
Do not use oven cleaners. The use of chemicals, including commercial oven cleaners or metal scouring pads, may cause permanent damage to the porcelain surface of the oven interior.
NOTE:
- The range should be level to ensure that the entire surface of the bottom of the oven cavity is covered by water at the beginning of the Clean cycle.
- For best results, use distilled or filtered water. Tap water may leave mineral deposits on the oven bottom.
- Before removing the residual water and loosened soils at the end of the Clean cycle, insert a cloth or paper towel between the lower edge of the oven door and the front frame to keep water from spilling onto the front of the range and the floor.
- Soil baked on through several cooking cycles will be more difficult to remove with the Clean cycle.
- Nonabrasive scrub sponges or eraser-style cleaning pads (without cleaners) can be effective for cleaning the oven cavity walls, oven door, and oven bottom for difficult soils. For best results, moisten the pads and sponges before use.
- Run an additional Clean cycle for stubborn soils
- Affresh® Kitchen Appliance Cleaner and affresh® Cooktop Cleaner may be used to clean the oven bottom, walls, and door when the oven has finished the cycle and returned to room temperature. If affresh® Cooktop Cleaner is used, it is recommended to wipe out the cavity with distilled water as well. Refer to the Quick Start Guide for ordering information.
- Additional AquaLift® Technology Cleaning Kits may be obtained by ordering Part Number W10423113RP. Refer to the Quick Start Guide for ordering information.
INSTALLATION INSTRUCTIONS REQUIREMENTS
Tools and Parts
Gather the required tools and parts before starting installation. Read and follow the instructions provided with any tools listed here.
Tools Needed
- Tape measure
- Flat-blade screwdriver
- Phillips screwdriver
- 1/8" (3.2 mm) flat-blade screwdriver
- Level
- Hand or electric drill
- Hammer
- Wrench or pliers
- Pipe wrench
- 15/16" combination wrench
- 1/4" drive ratchet
- 3/8" nut driver
- 1/8" drill bit (for wood floors)
- Marker or pencil
- Pipe-joint compound resistant to Propane gas
- Noncorrosive leak-detection solution
- 3/16" (4.8 mm) carbidetipped masonry drill bit (for concrete/ceramic floors) (For Slide-in/Front Control Ranges)
For Propane/Natural Gas Conversions
- 3/8" combination wrench 1/2" combination wrench
- 5/8" combination wrench
- 9/32" nut driver
- Quadrex®† or Phillips screwdriver
- Masking tape
- 3/8" nut driver (For Slide-in/Front Control Ranges)
Parts Supplied
Check that all parts are included.

- Anti-tip bracket
- #12 x 15/8" (4.1 cm) screws (2)
Anti-tip bracket must be securely mounted to floor or wall. Thickness of flooring may require longer screws to anchor bracket to floor.
Parts needed
Check local codes and consult gas supplier. Check existing gas supply and electrical supply. See "Electrical Requirements" and "Gas Supply Requirements" sections.
NOTE: Be sure to purchase only whirlpool factory-certified parts and accessories for your appliance. Your installation may require additional parts. To order, refer to the contact information referenced in your Quick Start Guide.
Location Requirements
Observe all governing codes and ordinances. Do not obstruct flow of combustion and ventilation air.
- It is the installer's responsibility to comply with installation clearances specified on the model/serial/rating plate. The model/serial/rating plate is located behind the oven door on the top right/left-hand side of the oven frame.
- The range should be located for convenient use in the kitchen.
- Recessed installations must provide complete enclosure of the sides and rear of the range.
- All openings in the wall or floor where range is to be installed must be sealed.
- Cabinet opening dimensions that are shown must be used. Given dimensions are minimum clearances.
- The anti-tip bracket must be installed. To install the anti-tip bracket shipped with the range, see "Install Anti-Tip Bracket" section.
- Grounded electrical supply is required. See "Electrical Requirements" section.
- Proper gas supply connection must be available. See "Gas Supply Requirements" section.
- Contact a qualified floor covering installer to check that the floor covering can withstand at least 200°F (93°C).
- Use an insulated pad or 1/4" (6.4 mm) plywood under range if installing range over carpeting.
To avoid damage to your cabinets, check with your builder or cabinet supplier to make sure that the materials used will not discolor, delaminate or sustain other damage. This oven has been designed in accordance with the requirements of UL and CSA International and complies with the maximum allowable wood cabinet temperatures of 194°F (90°C).
Mobile Home - Additional Installation Requirements
The installation of this range must conform to the Manufactured Home Construction and Safety Standard, Title 24 CFR, Part 3280 (formerly the Federal Standard for Mobile Home Construction and Safety, Title 24, HUD Part 280). When such standard is not applicable, use the Standard for Manufactured Home Installations, ANSI A225.1/NFPA 501A or with local codes. In Canada, the installation of this range must conform with the current standards CAN/CSA-Z240.1 - latest edition, or with local codes.
Mobile Home Installations Require:
When this range is installed in a mobile home, it must be secured according to the instructions in this document.
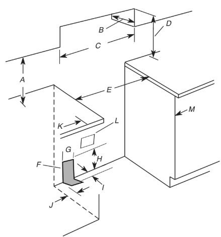
Cabinet Dimensions
Cabinet opening dimensions shown are for 25" (64.0 cm) countertop depth, 24" (61.0 cm) base cabinet depth and 36" (91.4 cm) countertop height.
If installing a range hood or microwave hood combination above the range, follow the range hood or microwave hood combination installation instructions for dimensional clearances above the cooktop surface.

- 18" (45.7 cm) upper side cabinet to countertop
- 13" (33 cm) maximum upper cabinet depth
- 30" (76.2 cm) minimum opening width
- For minimum clearance to top of cooktop, see NOTE*.
- In U.S.A.: 30" (76.2 cm) minimum opening width
- The shaded areas are recommended for installation of rigid gas pipe.
- 11" (27.9 cm)
- 17" (43.2 cm)
- 2" (5.1 cm)
- 41⁄2" (11.4 cm)
- 3" (7.6 cm) minimum clearance from both sides of range to side wall or other combustible material.
- Grounded outlet
- Cabinet door or hinges should not extend into the cutout.
*NOTE: 24" (61.0 cm) minimum when bottom of wood or metal cabinet is covered by not less than 1/4" (6.4 mm) flame retardant millboard covered with not less than No. 28 MSG sheet steel, 0.015" (0.4 mm) stainless steel, 0.024" (0.6 mm) aluminum or 0.020" (0.5 mm) copper. 30" (76.2 cm) minimum clearance between the top of the cooking platform and the bottom of an uncovered wood or metal cabinet.
Electrical Requirements
Electrical Shock Hazard
Plug into a grounded 3 prong outlet.
Do not remove ground prong.
Do not use an adapter.
Do not use an extension cord.
Failure to follow these instructions can result in death, fire, or electrical shock.
The range must be electrically grounded in accordance with local codes and ordinances, or in the absence of local codes, with the National Electrical Code, ANSI/NFPA 70 or Canadian Electrical Code, CSA C22.1.
This range is equipped with an electronic ignition system that will not operate if plugged into an outlet that is not properly polarized. If codes permit and a separate ground wire is used, it is recommended that a qualified electrical installer determine that the ground path is adequate.
A copy of the above code standards can be obtained from:
National Fire Protection Association
1 Batterymarch Park
Quincy, MA 02169-7471
CSA International
8501 East Pleasant Valley Road Cleveland, OH 44131-5575
- A 120 V, 60 Hz, AC only, 15 A fused, ground and polarized electrical circuit is required. A time-delay fuse or circuit breaker is also recommended. It is recommended that a separate circuit serving only this range be provided.
- Electronic ignition systems operate within wide voltage limits, but proper grounding and polarity are necessary. Check that the outlet provides 120 V power and is correctly grounded.
- This gas range is not required to be plugged into a GFCI (Ground-Fault Circuit Interrupter) outlet. It is recommended that you not plug an electric spark ignition gas range or any other major appliance into a GFCI wall outlet as it may cause the GFCI to trip during normal cycling.
- Performance of this range will not be affected if operated on a GFCI-protected circuit. However, occasional nuisance tripping of the GFCI breaker is possible due to the normal operating nature of electronic gas ranges.
- The tech sheet and wiring diagram are located on the back of the range in a plastic bag.
NOTE: The metal chassis of the range must be grounded in order for the control panel to work. If the metal chassis of the range is not grounded, no keypads will operate. Check with a qualified electrician if you are in doubt as to whether the metal chassis of the range is grounded.
Gas Supply Requirements
Explosion Hazard
Use a new CSA International approved gas supply line.
Install a shut-off valve.
Securely tighten all gas connections.
If connected to propane, have a qualified person make sure gas pressure does not exceed 14ʺ (36 cm) water column.
Examples of a qualified person include: licensed heating personnel, authorized gas company personnel, and authorized service personnel.
Failure to do so can result in death, explosion, or fire.
Observe all governing codes and ordinances.
This installation must conform with all local codes and ordinances. In the absence of local codes, installation must conform with the National Fuel Gas Code ANSI Z223.1/NFPA 54 or, in Canada, the Natural Gas and Propane Installation Code, CSA B149.1- latest edition.
Leak testing of the range must be conducted according to the manufacturer's instructions. Refer to the "Complete Connection" in the "Make gas connection" section for the leak testing instructions.
Type of Gas
Natural Gas:
This range is factory set for use with Natural gas. See "Gas Conversions" section. The model/serial rating plate located on the oven frame behind of the oven door has information on the types of gas that can be used. If the types of gas listed do not include the type of gas available, check with the local gas supplier.
Propane Gas Conversion:
Conversion must be done by a qualified service technician.
No attempt shall be made to convert the appliance from the gas specified on the model/serial rating plate for use with a different gas without consulting the serving gas supplier. See "Gas Conversions" section.
Gas Supply Line
- Provide a gas supply line of 3/4" (1.9 cm) rigid pipe to the range location. A smaller size pipe on longer runs may result in insufficient gas supply. With Propane gas, piping or tubing size can be 1/2" (1.3 cm) minimum. Usually, Propane gas suppliers determine the size and materials used in the system.
- NOTE: Pipe-joint compounds that resist the action of Propane gas must be used. Do not use TEFLON®† tape.
Flexible Metal Appliance Connector:
- If local codes permit, a new CSA design-certified, 4 to 5 ft (122 to 152.4 cm) long, 1/2" (13 mm) or 3/4" (19 mm) I.D., flexible metal appliance connector may be used for connecting range to the gas supply line.
![]()
- A 1/2" (13 mm) male pipe thread is needed for connection to the female pipe threads of the inlet to the appliance pressure regulator.
- Do not kink or damage the flexible metal tubing when moving the range.
Rigid pipe connection:
The rigid pipe connection requires a combination of pipe fittings to obtain an in-line connection to the range. The rigid pipe must be level with the range connection. All strains must be removed from the supply and fuel lines so range will be level and in line.

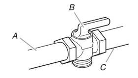
- Must include a shut-off valve:
Install a manual gas line shut-off valve in an easily accessible location. Do not block access to shut-off valve. The valve is for turning on or shutting off gas to the cooktop.
![Whirlpool - WFG770H0FZ - Must include a shut-off valve Must include a shut-off valve]()
- Gas supply line
- Shut-off valve "open" position
- To range
Gas Pressure Regulator
The gas pressure regulator supplied with this range must be used. The inlet pressure to the regulator should be as follows for proper operation:
Natural Gas:
Minimum pressure: 5" (12.7 cm)
WCP Maximum pressure: 14" (35.5 cm) WCP
Propane Gas:
Minimum pressure: 11" (27.9 cm) WCP
Maximum pressure: 14" (35.5 cm) WCP
Contact local gas supplier if you are not sure about the inlet pressure.
Burner Input Requirements
Input ratings shown on the model/serial/rating plate are for elevations up to 2,000 ft (609.6 m).
For elevations above 2,000 ft (609.6 m), ratings are reduced at a rate of 4% for each 1,000 ft (304.8 m) above sea level (not applicable for Canada).
Gas Supply Pressure Testing
Gas supply pressure for testing regulator must be at least 1" (2.5 cm) water column pressure above the manifold pressure shown on the model/serial rating plate.
Line pressure testing above 1/2 psi (3.5 kPa) gauge 14" (35.5 cm) WCP
The range and its individual shutoff valve must be disconnected from the gas supply piping system during any pressure testing of that system at test pressures in excess of 1/2 psi (3.5 kPa).
Line pressure testing at 1/2 psi (3.5 kPa) gauge 14" (35.5 cm) WCP or lower
The range must be isolated from the gas supply piping system by closing its individual manual shutoff valve during any pressure testing of the gas supply piping system at test pressures equal to or less than 1/2 psi (3.5 kPa).
INSTALLATION
Unpack Range
Excessive Weight Hazard
Use two or more people to move and install or uninstall appliance.
Failure to do so can result in back or other injury.
- Remove shipping materials, tape and film from range.
- Remove oven racks and parts package from inside oven.
- Do not remove the shipping base at this time.
![Whirlpool - WFG770H0FZ - Unpack Range - Step 1 Unpack Range - Step 1]()
A. Shipping base - On Ranges Equipped with a Storage Drawer:
Remove the storage drawer. See the "Storage Drawer" section. Use a 1/4" (6.4 mm) drive ratchet to lower the rear leveling legs one-half turn. Use a wrench or pliers to lower front leveling legs one-half turn.
- 1/4" (6.4 mm)
- Rear leveling leg
- Wrench or pliers drive ratchet
- Front leveling leg
On Ranges Equipped with a Warming Drawer or Premium Storage Drawer:
On ranges equipped with a warming drawer or premium storage drawer, the rear legs cannot be accessed by removing the warming drawer or premium storage drawer. It will be necessary to adjust the rear legs from outside the range. Use wrench or pliers to lower the front and rear leveling legs one-half turn.

- Rear leveling leg
- Wrench or pliers
- Front leveling leg
Install Anti-Tip Bracket
Tip Over Hazard
A child or adult can tip the range and be killed.
Install anti-tip bracket to floor or wall per installation instructions.
Slide range back so rear range foot is engaged in the slot of the anti-tip bracket.
Re-engage anti-tip bracket if range is moved.
Do not operate range without anti-tip bracket installed and engaged.
Failure to follow these instructions can result in death or serious burns to children and adults.
- Remove the anti-tip bracket from where it is taped inside the storage drawer, warming drawer, or premium storage drawer
- Determine which mounting method to use: floor or wall. If you have a stone or masonry floor, you can use the wall mounting method. If you are installing the range in a mobile home, you must secure the range to the floor.
- Determine and mark centerline of the cutout space. The mounting can be installed on either the left side or right side of the cutout. Position mounting bracket against the wall in the cutout so that the V-notch of the bracket is 129⁄16" (31.9 cm) from centerline as shown.
- 129⁄16" (31.9 cm)
- Bracket V-notch
- Drill two 1/8" (3 mm) holes that correspond to the bracket holes of the determined mounting method. See the following illustrations.
Floor Mounting
![Whirlpool - WFG770H0FZ - Install Anti-Tip Bracket - Step 2 Install Anti-Tip Bracket - Step 2]()
Wall Mounting
![]()
- Using the Phillips screwdriver, mount anti-tip bracket to the wall or floor with the two #12 x 15/8" (4.1 cm) screws provided, mount anti-tip bracket to the wall or floor.
- Move range close enough to opening to allow for final gas and electrical connections. Remove shipping base, cardboard or hardboard from under range.
- Move range into its final location, making sure rear leveling leg slides into anti-tip bracket.
![]()
- Move range forward onto shipping base, cardboard or hardboard to continue installing the range using the following installation instructions.
Make Gas Connection
Explosion Hazard
Use a new CSA International approved gas supply line.
Install a shut-off valve.
Securely tighten all gas connections.
If connected to propane, have a qualified person make sure gas pressure does not exceed 14ʺ (36 cm) water column.
Examples of a qualified person include: licensed heating personnel, authorized gas company personnel, and authorized service personnel.
Failure to do so can result in death, explosion, or fire.
Typical rigid pipe connection
A combination of pipe fittings must be used to connect the range to the existing gas line. Your connections may be different, according to the supply line type, size and location.
- Apply pipe-joint compound made for use with Propane gas to all pipe thread connections.
- Using a pipe wrench to tighten, connect the gas supply to the range.
![Whirlpool - WFG770H0FZ - Typical rigid pipe connection Typical rigid pipe connection]()
- Gas pressure regulator
- 90° elbow (must have 1/3" [1.2 cm] male pipe thread)
- Nipple
- Union
- Black iron pipe
- Manual gas shutoff valve
- 1/2" (1.3 cm) or 3/4" (1.9 cm) gas pipe
- Nipple
- Union
- 90° elbow
Typical flexible connection
- Apply pipe-joint compound made for use with propane gas to the smaller thread ends of the flexible connector adapters (see B and G in the following illustration).
- Attach one adapter to the gas pressure regulator and the other adapter to the gas shut-off valve. Tighten both adapters.
- Use a 15/16" (23.8 mm) combination wrench and channel lock pliers to attach the flexible connector to the adapters. Check that connector is not kinked.
![Whirlpool - WFG770H0FZ - Typical flexible connection Typical flexible connection]()
- Gas pressure regulator
- Use pipe-joint compound.
- Adapter (must have 1/3" [12.7 mm] male pipe thread)
- Flexible connector
- Manual gas shutoff valve
- 1/2" (12.7 mm) or 3/4" (19.1 mm) gas pipe
- Use pipe-joint compound.
- Adapter
Complete Connection
- Check that the gas pressure regulator shut-off valve is in the "on" position.
![Whirlpool - WFG770H0FZ - Complete Connection - Step 1 Complete Connection - Step 1]()
A. Gas pressure regulator shut-off valve shown in the "on" position - Open the manual shut-off valve in the gas supply line. The valve is open when the handle is parallel to the gas pipe.
- Closed valve
- Open valve
- Test all connections by brushing on an approved noncorrosive leak-detection solution. If bubbles appear, a leak is indicated. Correct any leak found.
- Remove cooktop burner caps and bases from package containing parts. Place the burner bases as indicated by the following illustration for your model:
For Select Model:
- Medium (Semi Rapid)
- Large (Ultra Rapid)
- Oval (OV)
- Small (Auxiliary)
- Large (Ultra Rapid)
- Burner caps should be level when properly positioned. If burner caps are not properly positioned, surface burners will not light. Place burner grates over burners and caps.
- Burner base
- Burner cap
- Burner grate
- Place the burner caps on the appropriate burner bases.
The bottom of the small and medium caps are different. Do not put the wrong size burner cap on the burner base. Each round burner cap is marked with an AUX, SR, UR, or ST to match with a letter on the burner base.
![Whirlpool - WFG770H0FZ - Complete Connection - Step 5 Complete Connection - Step 5]()
Electrical Shock Hazard
Do not use an adapter.
Do not use an extension cord.
Failure to follow these instructions can result in death, fire, or electrical shock.
Plug into a grounded 3 prong outlet.
Do not remove ground prong. - Plug into a grounded 3-prong outlet.
- Slide range into final location, making sure the rear leveling leg slides into the slot of the anti-tip bracket.
Verify Anti-Tip Bracket Is Installed and Engaged
On Ranges Equipped with a Storage Drawer:
- Remove the storage drawer. See the "Storage Drawer" section.
- Use a flashlight to look underneath the bottom of the range.
- Visually check that the rear range foot is inserted into the slot of the anti-tip bracket.
On Ranges Equipped with a Warming Drawer or Premium Storage Drawer:
- Place the outside of your foot against the bottom front of the warming drawer or premium storage drawer, and grasp the lower right or left side of the control panel as shown. NOTE: If your countertop is mounted with a backsplash, it may be necessary to grasp the range higher than is shown in the illustration.
![]()
- Slowly attempt to tilt the range forward. If you encounter immediate resistance, the range foot is engaged in the anti-tip bracket.
- If the rear of the range lifts more than 1/2" (1.3 cm) off the floor without resistance, stop tilting the range and lower it gently back to the floor. The range foot is not engaged in the anti-tip bracket.
If there is a snapping or popping sound when lifting the range, the range may not be fully engaged in the bracket. Check to see if there are obstructions keeping the range from sliding to the wall or keeping the range foot from sliding into the bracket. Verify that the bracket is held securely in place by the mounting screws. - Slide the range forward, and verify that the anti-tip bracket is securely attached to the floor or wall.
- Slide range back so the rear range foot is inserted into the slot of the anti-tip bracket.
If the back of the range is more than 2" (5.1 cm) from the mounting wall, the rear range foot may not engage the bracket. Slide the range forward and determine if there is an obstruction between the range and the mounting wall. Changes to the gas supply must be performed by a qualified service technician. If you need assistance or service, refer to the Quick Start Guide for contact information. - Repeat steps 1 and 2 to ensure that the range foot is engaged in the anti-tip bracket.
If the rear of the range lifts more than 1/2" (1.3 cm) off the floor without resistance, the anti-tip bracket may not be installed correctly. Do not operate the range without anti-tip bracket installed and engaged. If you need assistance or service, refer to the Quick Start Guide for contact information.
Level Range
Determine if you have AquaLift® Technology or Steam Clean by referring to the "Range Maintenance and Care" section.
For Ranges with AquaLift® Technology or Steam Clean:
- Place level on the oven bottom as indicated in one of the two figures below depending on the size of the level. Check with the level side to side and front to back.
![Whirlpool - WFG770H0FZ - Level Range - Step 1 Level Range - Step 1]()
- If range is not level, pull range forward until rear leveling leg is removed from the anti-tip bracket.
- Follow the directions in Style 1 or Style 2, depending on the style of drawer supplied with the range.
For Ranges without AquaLift® Technology or Steam Clean:
- Place a standard flat rack in oven.
- Place level on the rack and check levelness of the range, first side to side; then front to back.
![Whirlpool - WFG770H0FZ - Level Range - Step 2 Level Range - Step 2]()
- If range is not level, pull range forward until rear leveling leg is removed from the anti-tip bracket.
- Follow the directions in Style 1 or Style 2, depending on the style of drawer supplied with the range.
Style 1: Ranges Equipped with a Storage Drawer:
Use a 1/4" (6.4 mm) drive ratchet, wrench or pliers to adjust leveling legs up or down until the range is level. Push range back into position. Check that rear leveling leg is engaged in the anti-tip bracket.
Style 2: Ranges Equipped with a Warming Drawer or Premium Storage Drawer:
Use a wrench or pliers to adjust leveling legs up or down until the range is level. Push range back into position. Check that rear leveling leg is engaged in the anti-tip bracket.
NOTE: Range must be level for satisfactory baking performance and best cleaning results using AquaLift® Technology and Steam Clean functions.
Electronic Ignition System
Initial Lighting and Gas Flame Adjustments
Cooktop and oven burners use electronic igniters in place of standing pilots. When the cooktop control knob is turned to the "LITE" position, the system creates a spark to light the burner.
This sparking continues, as long as the control knob is turned to "LITE."
When the oven control is turned to the desired setting, sparking occurs and ignites the gas.
Check Operation of Cooktop Burners
Standard Surface Burners
Push in and turn each control knob to the "LITE" position.
The flame should light within 4 seconds. The first time a burner is lit, it may take longer than 4 seconds to light because of air in the gas line.
If Burners Do Not Light Properly:
- Turn cooktop control knob to the "OFF" position.
- Check that the range is plugged in. Check that the circuit breaker has not tripped or the household fuse has not blown.
- Check that the gas shutoff valves are set to the "open" position.
- Check that burner caps are properly positioned on burner bases.
Repeat start-up. If a burner does not light at this point, turn the control knobs to the "OFF" position and contact your dealer or authorized service company for assistance.
Power Failure
In case of prolonged power failure, the surface burners can be lit manually. Hold a lit match near a burner, and turn knob counterclockwise to LITE. After the burner lights, turn knob to desired setting.
Adjust Flame Height
Adjust the height of top burner flames. The cooktop "low" burner flame should be a steady blue flame approximately 1/4" (6.4 mm) high.

- Low flame
- High flame
To adjust standard burner:
The flame can be adjusted using the adjustment screw in the center of the valve stem. The valve stem is located directly underneath the control knob.
If the "low" flame needs to be adjusted:

- Control knob stem
- Screwdriver
- Pliers
- Light 1 burner and turn to lowest setting.
- Remove the control knob. Hold the knob stem with a pair of pliers. Use a small flat blade screwdriver to turn the screw located in the center of the control knob stem until the flame is the proper size.
- Replace the control knob.
- Test the flame by turning the control from "LO" to "HI," checking the flame at each setting.
- Repeat the previous steps for each burner.
Check Operation of Oven Bake Burner
- Remove the oven rack.
- To remove the oven bottom: Remove 2 screws at the rear of the oven bottom. Lift the rear of the oven bottom up and back until the front of the panel is away from the front frame. Remove it from oven and place on a covered surface.
- Screws
- Oven bottom
- You can check the burner flame by using a mirror. Insert a mirror to one side of the burner. Look into the mirror to check flame.
- Push the BAKE pad.
- Press the START pad.
The oven bake burner should light within 8 seconds. Under certain conditions, it may take the burner up to 50 to 60 seconds to light. Electronic igniters are used to light the bake and broil burners.
Refer to the Quick Start Guide and online Control Guide for proper operation of the oven controls.
Adjust Oven Bake Burner Flame (if needed)
- On models with a warming drawer, remove access cover plate (1 screw) located at the back of the warming drawer compartment.
- Check the oven bake burner for proper flame. This flame should have a 1/2" (1.3 cm) long inner cone of bluish-green, with an outer mantle of dark blue, and should be clean and soft in character. No yellow tips, blowing or lifting of flame should occur.
- If the oven bake flame needs to be adjusted, locate the air shutter near the center rear of the range. Loosen the locking screw and rotate the air shutter until the proper flame appears. Tighten locking screw.
- Locking screw
- Air shutter
- Push CANCEL/OFF when finished.
- Reinstall flame spreader and oven bake burner cover.
Check Operation of Oven Broil Burner
- Close the oven door.
- Press the BROIL pad.
- Press the START pad.
The oven burner should light within 8 seconds. Under certain conditions, it may take the burner up to 50 to 60 seconds to light.
Refer to the Quick Start Guide and online Control Guide for proper operation of the oven controls.
Adjust Oven Broil Burner Flame (if needed)
Look through oven window to check broil burner for proper flame. This flame should have a 1/2" (1.3 cm) long inner cone of bluishgreen, with an outer mantle of dark blue, and should be clean and soft in character. No yellow tips, blowing or lifting of flame should be present.
If flame needs to be adjusted:
- Loosen the lock screw on the air shutter located at the rear of the broil burner.
- Adjust the air shutter as needed.
- Tighten lock screw.
- Lock screw
- Air shutter
- Press CANCEL/OFF when finished.
Warming Drawer or Premium Storage Drawer (on some models)
Remove all items from inside the baking drawer, warming drawer or premium storage drawer, and then allow the range to cool completely before attempting to remove the drawer.
To Remove:
- Open the drawer to its fully open position.
- Using a flat-blade screwdriver, gently loosen the drawer from the glide alignment notch, and then lift up the drawer alignment tab from the glide.
- Flat-blade screwdriver
- Drawer alignment tab
- Drawer glide notch
- Repeat Step 2 on the other side. The drawer is no longer attached to the drawer glides. Using both hands, pick up the drawer to complete the removal.
To Replace:
- Align the forward drawer notches with the notches in the drawer glides on both sides. Place the rear alignment tabs into the drawer glides on both sides.
- Drawer alignment tab
- Drawer glide notch
- Push the warming drawer or premium storage drawer in all the way.
- Gently open and close the warming drawer or premium storage drawer to ensure it is seated properly on the glides on both sides.
Storage Drawer (on some models)
The storage drawer can be removed. Before removing, make sure drawer is cool and empty.
To Remove:
- Pull the storage drawer straight back to the drawer stop.
- Drawer stop notch
- Lift up the front of the drawer and pull the drawer out.
To Replace:
- Lift up the front of the drawer and place the rear of the drawer inside the range so that the drawer stop notch is behind the drawer glide.
- Lower the drawer so that the edge of the slide rail drops into the slot in the drawer glide.
- Slowly push the drawer into the range.
![Whirlpool - WFG770H0FZ - Storage Drawer (on some models) - Step 2 Storage Drawer (on some models) - Step 2]()
A. Engage drawer glide
NOTE: When properly installed, the rear slides on the bottom of the drawer will engage the base rails and the drawer will not tip when items are placed in the drawer.
Oven Door
For normal range use, it is not suggested to remove the oven door. However, if removal is necessary, make sure the oven is OFF and cool. Then, follow these instructions. The oven door is heavy.
To Remove:
- Open oven door all the way.
- Pinch the hinge latch between two fingers and pull forward. Repeat on other side of oven door.
- Hinge Latch
- Close the oven door as far as it will shut.
- Lift the oven door while holding both sides. Continue to push the oven door closed and pull it away from the oven door frame.
![]()
To Replace:
- Insert both hanger arms into the door.
![]()
- Open the oven door. You should hear a click as the door is set into place.
- Move the hinge levers back to the locked position. Check that the door is free to open and close. If it is not, repeat the removal and installation procedures.
Complete Installation
- Check that all parts are now installed. If there is an extra part, go back through the steps to see which step was skipped.
- Check that you have all of your tools.
- Dispose of/recycle all packaging materials.
- Check that the range is level. See the "Level Range" section.
- Use a mild solution of liquid household cleaner and warm water to remove waxy residue caused by shipping material. Dry thoroughly with a soft cloth. For more information, read the "Range Maintenance and Care" section.
- Read the Quick Start Guide and online Control Guide.
- Turn on surface burners and oven. See the Quick Start Guide and online Control Guide for specific instruction on range operation.
If Range Does Not Operate, Check the Following:- Household fuse is intact and tight; or circuit breaker has not tripped.
- Range is plugged into a grounded 3-prong outlet.
- Gas pressure regulator shutoff valve is in the "on" position.
- Electrical supply is connected.
- See the online "Troubleshooting" section.
- When the range has been on for 5 minutes, check for heat. If the range is cold, turn off the range and check that the gas supply line shut-off valve is open.
- If the gas supply line shut-off valve is closed, open it, and then repeat the 5 minute test as outlined above.
- If the gas supply line shutoff valve is open, press the CANCEL button on the oven control panel and contact a qualified technician.
If You Need Assistance or Service:
Please reference the Quick Start Guide for contact information.
GAS CONVERSIONS
Gas conversions from Natural gas to propane gas or from propane gas to Natural gas must be done by a qualified installer.
Explosion Hazard
Use a new CSA International approved gas supply line.
Install a shut-off valve.
Securely tighten all gas connections.
If connected to propane, have a qualified person make sure gas pressure does not exceed 14ʺ (36 cm) water column.
Examples of a qualified person include: licensed heating personnel, authorized gas company personnel, and authorized service personnel.
Failure to do so can result in death, explosion, or fire.
This conversion kit shall be installed by a qualified service agency in accordance with the manufacturer's instructions and all applicable codes and requirements of the authority having jurisdiction. If the information in these instructions is not followed exactly, a fire, explosion or production of carbon monoxide may result causing property damage, personal injury or loss of life. The qualified service agency is responsible for the proper installation of this kit. The installation is not proper and complete until the operation of the converted appliance is checked as specified in the manufacturer's instructions supplied with the kit.
Propane Gas Conversion
Tip Over Hazard
A child or adult can tip the range and be killed.
Install anti-tip bracket to floor or wall per installation instructions.
Slide range back so rear range foot is engaged in the slot of the anti-tip bracket.
Re-engage anti-tip bracket if range is moved.
Do not operate range without anti-tip bracket installed and engaged.
Failure to follow these instructions can result in death or serious burns to children and adults.
- Turn manual shutoff valve to the closed position.
- To range
- Manual shut-off valve closed position
- Gas supply line
- Unplug range or disconnect power.
To Convert Gas Pressure Regulator (Natural gas to Propane)
- Remove the premium storage drawer, warming drawer or baking drawer. See the "Remove/Replace Drawer", "Storage Drawer" or "Warming Drawer or Premium Storage Drawer" section.
- Locate gas pressure regulator at rear of the drawer compartment. NOTE: On models with a warming drawer or baking drawer, an access cover must be removed to access the gas pressure regulator.
![Whirlpool - WFG770H0FZ - To Convert Gas Pressure Regulator (Natural gas to Propane) - Step 1 To Convert Gas Pressure Regulator (Natural gas to Propane) - Step 1]()
A. Gas pressure regulator
Do not remove the gas pressure regulator. - Remove plastic cover from gas pressure regulator cap.
- Turn gas pressure regulator cap counterclockwise with a 5/8" (1.6 cm) combination wrench to remove.
NOTE: Do not remove the spring beneath the cap.
- Plastic cover
- Gas pressure regulator cap with solid end facing out
- Gas pressure regulator cap with hollow end facing out
- Washer
- Gas pressure regulator cap
- Turn over the gas pressure regulator cap and reinstall on regulator so that the hollow end faces out and the marking "↓LP" is facing the direction shown in the above drawing.
- Replace plastic cover over gas pressure regulator cap.
To Convert Surface Burners (Natural Gas to Propane Gas)
- Remove burner cap.
- Remove the burner base.
- Burner cap
- Burner base
- Alignment pins
- Igniter electrode
- Gas tube opening
- Apply masking tape to the end of a 9/32" (7 mm) nut driver to help hold the gas orifice spud in the nut driver while changing it. Press nut driver down onto the gas orifice spud and remove by turning it counterclockwise and lifting out. Set gas orifice spud aside.
- Igniter electrode
- Orifice spud
- Orifice spud holder
- Screws
- Remove the orifice spuds shipped in the literature package in the oven. Gas orifice spuds are stamped with a number and have a groove in the hex area. Replace the Natural gas orifice spud with the correct propane gas orifice spud.
- Propane groove
Refer to the following chart for correct Propane gas orifice spud placement.
Propane Gas Orifice Spud Chart for Surface BurnerPlacement Burner Rating / Type Size (mm) ID Number LF 14,200 BTU 1.08 108AM LR 8,000 BTU 0.84 084AM RF 14,200 BTU 1.08 108AM RR 5,000 BTU 0.64 064AM CTR 8,000 BTU 0.84 084AM NOTE: Refer to the model/serial/rating plate located on the oven frame behind the top left side of the oven door for proper sizing of spuds for each burner location.
- Place Natural gas orifice spuds in the orifice spud bag.
Keep the Natural gas orifice spuds in case of reinstallation with Natural gas. - Replace the burner base.
- Replace burner cap.
- Repeat steps 1-7 for the remaining burners.
To Convert Oven Bake Burner (Natural Gas to Propane Gas)
- Remove the oven racks.
- Remove 2 screws at the rear of the oven bottom.
- Lift the rear of the oven bottom up and back until the front of the panel is away from the front frame. Remove from oven and set it aside on a covered surface.
- Screws
- Oven bottom
- Remove 1 screw from the bake burner.
- Slide the front of the bake burner to the side to remove tab from front of oven. Lift the back of the bake burner off the oven orifice, and set the bake burner aside.
- Screws
- Bake burner
- Use a 3/8" (1cm) nut driver or combination wrench and turn the Natural gas bake burner orifice spud counterclockwise to remove. The spud will be stamped with a "47."
- Replace the "47" spud with a "56" spud. Install the Propane gas bake burner orifice spud, turning it clockwise until snug.
Do not overtighten.
- Orifice spud
- Position the back of the bake burner over the oven orifice, and slide the tab on front of the bake burner into the front of the oven
- Reattach the bake burner with 2 screws.
- Position the front of the oven bottom panel toward the front frame and lower the rear of the oven bottom panel into the oven.
- Reattach the oven bottom panel with screws.
To Convert Oven Broil Burner (Natural Gas to Propane Gas)
- Remove the screw from the broil burner
- Remove the flame spreader.
- Remove the broil burner from the broil burner orifice hood. NOTE: The broil burner will hang in the back of the oven while changing the orifice hood.
- Broil burner
- Screws
- Orifice hood
- Use a 3/8" (1 cm) combination wrench and turn the Natural gas broil burner orifice hood counterclockwise to remove. The hood will be stamped with a "155."
- Replace the "155" hood with a "100" hood. Install the Propane gas broiler burner orifice hood, turning it clockwise until snug.
Do not overtighten. - Place the broil burner on the broil burner orifice hood and insert the broil burner ceramic igniter in the hole in the rear of the oven.
- Orifice hood
- Position the broil burner against the top of the oven and attach it with 2 screws.
- Replace storage drawer, warming drawer or premium storage drawer. See the "Storage Drawer" or "Warming Drawer or Premium Storage Drawer" section.
- Replace the oven door if it has been removed. See the "Oven Door" section.
- Replace the oven racks
Complete Installation (Natural Gas to Propane Gas)
- Refer to the "Make Gas Connection" section for properly connecting the range to the gas supply.
- Refer to the "Electronic Ignition System" section for proper burner ignition, operation and burner flame adjustments.
You may have to adjust the "LO" setting for each cooktop burner. Checking for proper cooktop, bake and broil burner flame is very important. The small inner cone should have a very distinct blue flame 1/4" (6.4 mm) to 1/2" (1.3 cm) long. The outer cone is not as distinct as the inner cone. Propane gas flames have a slightly yellow tip. - Refer to "Complete Installation" in the "Installation Instructions" section of this manual to complete this procedure.
NOTE: Make sure to save the orifices that have just been replaced in the conversion.
Natural Gas Conversion
Tip Over Hazard
A child or adult can tip the range and be killed.
Install anti-tip bracket to floor or wall per installation instructions.
Slide range back so rear range foot is engaged in the slot of the anti-tip bracket.
Re-engage anti-tip bracket if range is moved.
Do not operate range without anti-tip bracket installed and engaged.
Failure to follow these instructions can result in death or serious burns to children and adults.
- Turn manual shutoff valve to the closed position.
- To range
- Manual shut-off valve closed position
- Gas supply line
- Unplug range or disconnect power.
To Convert Gas Pressure Regulator (Propane Gas to Natural Gas)
- Remove the premium storage drawer, warming drawer or baking drawer or premium storage drawer. See the Remove/Replace Drawer, Storage Drawer or Warming Drawer or Premium Storage Drawer section.
- Locate gas pressure regulator at rear of the drawer compartment. NOTE: On models with a warming drawer or baking drawer, an access cover must be removed to access the gas pressure regulator.
A. Gas pressure regulator
Do not remove the gas pressure regulator. - Remove plastic cover from gas pressure regulator cap.
- Turn gas pressure regulator cap counterclockwise with a 5/8" (1.6 cm) combination wrench to remove. NOTE: Do not remove the spring beneath the cap.
- Plastic cover
- Gas pressure regulator cap with hollow end facing out
- Gas pressure regulator cap with solid end facing out
- Washer
- Gas pressure regulator cap
- Turn over the gas pressure regulator cap and reinstall on regulator so that the solid end faces out and the marking "↓NG" is facing the direction shown in the above drawing.
- Replace plastic cover over gas pressure regulator cap.
To Convert Surface Burners (Propane Gas to Natural Gas)
- Remove burner cap.
- Remove the burner base.
- Burner cap
- Burner base
- Alignment pins
- Igniter electrode
- Gas tube opening
- Apply masking tape to the end of a 9/32" (7 mm) nut driver to help hold the gas orifice spud in the nut driver while changing it. Press nut driver down onto the gas orifice spud and remove by turning it counterclockwise and lifting out. Set gas orifice spud aside.
- Igniter electrode
- Orifice spud
- Orifice spud holder
- Screws
- Gas orifice spuds are stamped with a number on the side. Replace the propane gas orifice spud with the correct Natural gas orifice spud.
- Stamped number
Refer to the following chart for the correct Natural gas orifice spud placement.
Natural Gas Orifice Spud ChartBurner Rating Size (mm) ID Number 18,000 BTU 2.00 200AM 17,000 BTU 1.96 196AM 15,000 BTU 1.80 180AM 9,500 BTU 1.40 140AM 8,000 BTU 1.30 130AM 5,000 BTU 1.00 100AM NOTE: Refer to the model/serial/rating plate located on the oven frame behind the top right-hand side of the oven door for proper sizing of spuds for each burner location.
- Place propane gas orifice spuds in the orifice spud bag.
Keep the propane gas orifice spuds in case of reinstallation with propane gas. - Replace the burner base using both screws.
- Replace burner cap.
- Repeat steps 1 through 7 for the remaining burners.
To Convert Oven Bake Burner (Propane Gas to Natural Gas)
- Remove the oven racks.
- Remove 2 screws at the rear of the oven bottom.
- Lift the rear of the oven bottom up and back until the front of the panel is away from the front frame. Remove from oven and set it aside on a covered surface.
- Screws
- Oven bottom
- Remove 1 screw from the bake burner.
- Slide the front of the bake burner to the side to remove tab from front of oven. Lift the back of the bake burner off the oven orifice, and set the bake burner aside.
- Screws
- Bake burner
- Using a 3/8" (9.5 mm) nut driver or combination wrench, turn the Propane gas bake burner orifice spud counterclockwise to remove. The spud will be stamped with a "56."
- Replace the "56" spud with a "47" spud. Install the Natural gas bake burner orifice spud, turning it clockwise until snug.
Do not overtighten.
- Orifice spud
- Position the back of the bake burner over the oven orifice, and slide the tab on front of the bake burner into the front of the oven.
- Reattach the bake burner with 1 screw.
- Position the front of the oven bottom panel toward the front frame, and then lower the rear of the oven bottom panel into the oven.
- Reattach the oven bottom panel with 2 screws.
To Convert Oven Broil Burner (Propane Gas to Natural Gas)
- Remove the screw from the broil burner
- Remove the broil burner from the broil burner orifice hood. NOTE: The broil burner will hang in the back of the oven while changing the orifice hood.
- Broil burner
- Screws
- Orifice hood
- Using a 3/8" (9.5 mm) combination wrench, turn the Propane gas broil burner orifice hood counterclockwise to remove. The hood will be stamped with a "100".
- Replace the "100" hood with a "155" hood. Install the Natural gas broiler burner orifice hood, turning it clockwise until snug.
Do not overtighten.
- Orifice hood
- Place the broil burner on the broil burner orifice hood and insert the broil burner ceramic igniter in the hole in the rear of the oven.
- Position the broil burner against the top of the oven and attach it with 2 screws.
- Replace storage drawer or warming drawer. See the "Storage Drawer" or "Warming Drawer or Premium Storage Drawer" section.
- Replace the oven door. See the "Oven Door" section.
- Replace the oven racks.
Complete Installation (Propane Gas to Natural Gas)
- Refer to the "Make Gas Connection" section for properly connecting the range to the gas supply.
- Refer to the "Electronic Ignition System" section for proper burner ignition, operation and burner flame adjustments.
You may have to adjust the "LO" setting for each cooktop burner. Checking for proper cooktop, bake and broil burner flame is very important. The small inner cone should have a very distinct blue flame 1/4" (6.4 cm) to 1/2" (1.3 cm) long. The outer cone is not as distinct as the inner cone. Propane gas flames have a slightly yellow tip. - Refer to "Complete Installation" in the "Installation Instructions" section of this manual to complete this procedure.
NOTE: Make sure to save the orifices that have just been replaced in the conversion.
Moving the Range
Tip Over Hazard
A child or adult can tip the range and be killed.
Install anti-tip bracket to floor or wall per installation instructions.
Slide range back so rear range foot is engaged in the slot of the anti-tip bracket.
Re-engage anti-tip bracket if range is moved.
Do not operate range without anti-tip bracket installed and engaged.
Failure to follow these instructions can result in death or serious burns to children and adults.
When moving range, slide range onto cardboard or hardboard to avoid damaging the floor covering.
If removing the range is necessary for cleaning or maintenance:
For power supply cord-connected ranges:
- Slide range forward.
- Turn manual shutoff valve to the closed position.
- Unplug the power supply cord.
- Disconnect the gas supply tubing.
- Complete cleaning or maintenance.
- Reconnect the gas supply tubing.
- Open the manual shutoff valve in the gas supply line.
- Plug in power supply cord.
- Slide range back so rear range foot is under anti-tip bracket.
![]()
- Refer to the "Verify Anti-Tip Bracket Is Installed and Engaged" section to verify engagement.
- Check that range is level.
RANGE SAFETY
If the information in these instructions is not followed exactly, a fire or explosion may result causing property damage, personal injury or death.
- Do not store gasoline or other flammable vapors and liquids in the vicinity of this or any other appliance.
- WHAT TO DO IF YOU SMELL GAS
- Do not try to light any appliance.
- Do not touch any electrical switch.
- Do not use any phone in your building.
- Immediately call your gas supplier from a neighbor's phone. Follow the gas suppliers instructions.
- If you cannot reach your gas supplier, call the fire department.
- Installation and service must be performed by a qualified installer, service agency or the gas supplier.
Never Operate the Top Surface Cooking Section of this Appliance Unattended
- Failure to follow this warning statement could result in fire, explosion, or burn hazard that could cause property damage, personal injury, or death.
- If a fire should occur, keep away from the appliance and immediately call your fire department.
DO NOT ATTEMPT TO EXT INGUISH AN OIL/GREASE FIRE WITH WATER.
The range will not tip during normal use. However, the range can tip if you apply too much force or weight to the open door without the anti-tip bracket fastened down properly.
Tip Over Hazard A child or adult can tip the range and be killed.
Install anti-tip bracket to floor or wall per installation instructions.
Slide range back so rear range foot is engaged in the slot of the anti-tip bracket.
Re-engage anti-tip bracket if range is moved.
Do not operate range without anti-tip bracket installed and engaged.
Failure to follow these instructions can result in death or serious burns to children and adults
To verify the anti-tip bracket is properly installed and engaged:

- Slide range forward.
- Look for the anti-tip bracket securely attached to floor or wall.
- Slide range back so rear range foot is under the anti-tip bracket.
- See Installation Instructions for details.
Gas leaks cannot always be detected by smell.
Gas suppliers recommend that you use a gas detector approved by UL or CSA.
For more information, contact your gas supplier.
If a gas leak is detected, follow the "What to do if you smell gas" instructions.
Your safety and the safety of others are very important.
We have provided many important safety messages in this manual and on your appliance. Always read and obey all safety messages.
This is the safety alert symbol.
This symbol alerts you to potential hazards that can kill or hurt you and others.
All safety messages will follow the safety alert symbol and either the word "DANGER" or "WARNING." These words mean:
You can be killed or seriously injured if you don't immediately follow instructions.
You can be killed or seriously injured if you don't follow instructions.
All safety messages will tell you what the potential hazard is, tell you how to reduce the chance of injury, and tell you what can happen if the instructions are not followed.
Do not install a ventilation system that blows air downward toward this gas cooking appliance. This type of ventilation system may cause ignition and combustion problems with this gas cooking appliance resulting in personal injury or unintended operation.
In the State of Massachusetts, the following installation instructions apply:
- Installation and repairs must be performed by a qualified or licensed contractor, plumber, or gas fitter qualified or licensed by the State of Massachusetts.
- Acceptable Shut-off Devices: Gas Cocks and Ball Valves installed for use shall be listed.
- A flexible gas connector, when used, must not exceed 4 feet (121.9 cm).
IMPORTANT SAFETY INSTRUCTIONS
To reduce the risk of fire, electric shock, or injury to persons when using the appliance, follow basic precautions, including the following:
TO REDUCE THE RISK OF TIPPING OF THE RANGE, THE RANGE MUST BE SECURED BY PROPERLY INSTALLED ANTI-TIP DEVICES. TO CHECK IF THE DEVICES ARE INSTALLED PROPERLY, SLIDE RANGE FORWARD, LOOK FOR ANTI-TIP BRACKET SECURELY ATTACHED TO FLOOR OR WALL, AND SLIDE RANGE BACK SO REAR RANGE FOOT IS UNDER ANTI-TIP BRACKET.
NEVER use this appliance as a space heater to heat or warm the room. Doing so may result in carbon monoxide poisoning and overheating of the oven.
NEVER cover any slots, holes or passages in the oven bottom or cover an entire rack with materials such as aluminum foil. Doing so blocks air flow through the oven and may cause carbon monoxide poisoning. Aluminum foil linings may also trap heat, causing a fire hazard.
Do not store items of interest to children in cabinets above an appliance or on the backguard of an appliance - children climbing on the appliance to reach items could be seriously injured.- Not Leave Children Alone - Children should not be left alone or unattended in area where appliance is in use. They should never be allowed to sit or stand on any part of the appliance.
- Proper Apparel – Loose-fitting or hanging garments should never be worn while using the appliance.
- Servicing – Do not repair or replace any part of the appliance unless specifically recommended in the manual. All other servicing should be referred to a qualified technician.
- Storage in or on Appliance – Flammable materials should not be stored in an oven or near surface units.
- This appliance is not intended for storage.
- Do Not Use Water on Grease Fires – Smother fire or flame or use dry chemical or foam-type extinguisher.
- Use Only Dry Potholders – Moist or damp potholders on hot surfaces may result in burns from steam. Do not let potholder touch hot surface units. Do not use a towel or other bulky cloth.
- Never Leave Surface Units Unattended at High Heat Settings – Boilover causes smoking and greasy spillovers that may ignite.
- Glazed Cooking Utensils – Only certain types of glass, glass/ceramic, ceramic, earthenware, or other glazed utensils are suitable for range-top service without breaking due to the sudden change in temperature.
- Utensil Handles Should Be Turned Inward and Not Extend Over Adjacent Surface Units – To reduce the risk of burns, ignition of flammable materials, and spillage due to unintentional contact with the utensil, the handle of a utensil should be positioned so that it is turned inward, and does not extend over adjacent surface units. Disconnect power before servicing.
- This appliance is equipped with a three-prong grounding plug for your protection against shock hazard and should be plugged directly into a properly grounded receptacle. Do not cut or remove the grounding prong from this plug.
- Proper Installation - The appliance, when installed, must be electrically grounded in accordance with local codes, or in the absence of local codes, with the National Electrical Code, ANSI/NFPA 70 or the Canadian Electrical Code, CSA C22.1-02. In Canada, the appliance must be electrically grounded in accordance with Canadian Electrical Code. Be sure your appliance is properly installed and grounded by a qualified technician.
- Injuries may result from the misuse of appliance doors or drawers such as stepping, leaning, or sitting on the doors or drawers.
- Maintenance – Keep range area clear and free from combustible materials, gasoline, and other flammable vapors and liquids.
- Top burner flame size should be adjusted so it does not extend beyond the edge of the cooking utensil. This instruction is based on safety considerations.
- Do not use replacement parts that have not been recommended by the manufacturer (e.g. parts made at home using a 3D printer).
- Clean Cooktop With Caution – If a wet sponge or cloth is used to wipe spills on a hot cooking area, be careful to avoid steam burn. Some cleaners can produce noxious fumes if applied to a hot surface.
- Use Care When Opening Door – Let hot air or steam escape before removing or replacing food.
- Do Not Heat Unopened Food Containers – Build-up of pressure may cause container to burst and result in injury.
- Keep Oven Vent Ducts Unobstructed.
- DO NOT TOUCH HEATING ELEMENTS OR INTERIOR SURFACES OF OVEN – Heating elements may be hot even though they are dark in color. Interior surfaces of an oven become hot enough to cause burns. During and after use, do not touch, or let clothing or other flammable materials contact heating elements or interior surfaces of oven until they have had sufficient time to cool. Other surfaces of the appliance may become hot enough to cause burns – among these surfaces are oven vent openings and surfaces near these openings, oven doors, and windows of oven doors.
- Care must be taken to prevent aluminum foil and meat probes from contacting heating elements.
For self-cleaning ranges –
- Not Clean Door Gasket – The door gasket is essential for a good seal. Care should be taken not to rub, damage, or move the gasket.
- Not Use Oven Cleaners – No commercial oven cleaner or oven liner protective coating of any kind should be used in or around any part of the oven.
- Only Parts Listed in Manual.
- Self-Cleaning the Oven – Remove broiler pan and other utensils. Wipe off all excessive spillage before initiating the cleaning cycle.
For units with ventilating hood –
- Clean Ventilating Hoods Frequently – Grease should not be allowed to accumulate on hood or filter.
- When flaming foods under the hood, turn the fan on.
For smart enabled ranges and ovens
- Remote operation – This appliance is configurable to allow remote operation at any time. Do not store any flammable materials or temperature sensitive items inside, on top or near surface units of the appliance.
Download manual
Here you can download full pdf version of manual, it may contain additional safety instructions, warranty information, FCC rules, etc.




















Need help?
Do you have a question about the WFG770H0FZ and is the answer not in the manual?