Whirlpool VW53UC0LS, WVW53UC6LS - Chimney Wall Mount Range Hood Manual

INSTALLATION REQUIREMENTS
READ AND SAVE THESE INSTRUCTIONS.
FOR RESIDENTIAL USE ONLY.
Tools and Parts
Gather the required tools and parts before starting installation. Read and follow the instructions provided with any tools listed here.
Tools Needed
- Level
- Drill with 11/4" (3 cm), 3/8" (9.5 mm), and 3/16" (4.8 mm) drill bits
- Pencil
- Wire stripper or utility knife
- Tape measure or ruler
- Pliers
- Caulking gun and weatherproof caulking compound
- Vent clamps
- Jigsaw or keyhole saw
- Flat-blade screwdriver
- Metal snips
- Phillips screwdriver
- T20®† Torx® adapter
Parts Needed
- Home power supply cable
- 1/2" (12.7 mm) UL listed or CSA approved strain relief
- 3 UL listed wire connectors
For Vented Installations, You Will Also Need:
- 1 wall or roof cap
- Metal vent system
For Non-Vented (Recirculating) Installations, You Will Also Need:
- Recirculation Kit for non-vented (recirculating) installations only. See "Assistance or Service" section to order.
- 6" (15.2 cm) diameter round metal vent duct - length required is determined by ceiling height.
Parts Supplied
Remove parts from packages. Check that all parts are included.
- Hood canopy assembly with blower and LED lights installed
- Vent transition with back draft dampers installed
- Vent cover support bracket
- Metal grease filter(s)
- Mounting template
- 2-piece vent cover
- 2 - 2.9 x 6.5 mm screws (Phillips)
- 2 - 3.5 x 9.5 mm screws (Phillips)
- 6 - 5 x 45 mm mounting screws (#2 Phillips)
- 4 - 8 x 40 mm wall anchors (masonry)
®†TORX and T20 are registered trademarks of Acument Intellectual Properties, LLC.
Location Requirements
Observe all governing codes and ordinances. Have a qualified technician install the range hood. It is the installer's responsibility to comply with installation clearances specified on the model/serial/rating plate. The model/serial/ rating plate is located behind the left filter on the rear wall of the vent hood.
Canopy hood location should be away from strong draft areas, such as windows, doors, and strong heating vents.
Cabinet opening dimensions that are shown must be used. Given dimensions provide minimum clearance. This range hood is recommended for use with cooktops with a maximum total rating of 60,000 BTUs or less.
Grounded electrical outlet is required. See "Electrical Requirements" section.
The canopy hood is factory set for venting through the roof or wall. For non-vented (recirculating) installation, see "For nonvented (recirculating) installation only" in the "Connect Vent System" section. Recirculation Kit is available from your dealer or an authorized parts distributor. See "Assistance or Service" section to order.
All openings in ceiling and wall where canopy hood will be installed must be sealed.
For Mobile Home Installations
The installation of this range hood must conform to the Manufactured Home Construction Safety Standards, Title 24 CFR, Part 328 (formerly the Federal Standard for Mobile Home Construction and Safety, Title 24, HUD, Part 280) or when such standard is not applicable, the standard for Manufactured Home Installation 1982 (Manufactured Home Sites, Communities and Setups) ANSI A225.1/NFPA 501A, or latest edition, or with local codes.
Product Dimensions

* For non-vented (recirculating) installations
** For vented installations
Cabinet Dimensions

Minimum distance "X": 24" (61 cm) from electric cooking surface
Minimum distance "X": 27" (68.6 cm) from gas cooking surface
Suggested maximum distance "X": 36" (91.4 cm)
The chimneys can be adjusted for different ceiling heights.
See the following chart.
| Vented Installations | ||
| Min. ceiling height | Max. ceiling height | |
| Electric cooking surface | 7' 5" (2.26 m) | 9' 2" (2.79 m) |
| Gas cooking surface | 7' 8" (2.34 m) | 9' 2" (2.79 m) |
| Non-Vented (Recirculating) Installations | ||
| Min. ceiling height | Max. ceiling height | |
| Electric cooking surface | 7' 5" (2.26 m) | 9' 6" (2.9 m) |
| Gas cooking | 7' 8" (2.34 m) | 9' 6" (2.9 m) |
NOTE: The range hood chimneys are adjustable and designed to meet varying ceiling or soffit heights, depending on the distance "X" between the bottom of the range hood and the cooking surface. For higher ceilings, a Stainless Steel Chimney Extension Kit is available from your dealer or an authorized parts distributor. See "Assistance or Service" section to order. The chimney extension replaces the upper chimney shipped with the range hood.
Venting Requirements (vented models only)
- Vent system must terminate to the outdoors except for non-vented (recirculating) installations.
- Do not terminate the vent system in an attic or other enclosed area.
- Do not use 4" (10.2 cm) laundry-type wall cap.
- Use metal vent only. Rigid metal vent is recommended. Plastic or metal foil vent is not recommended.
- The length of vent system and number of elbows should be kept to a minimum to provide efficient performance.
For the Most Efficient and Quiet Operation:
- Use no more than three 90° elbows.
- Make sure there is a minimum of 24" (61 cm) of straight vent between the elbows if more than 1 elbow is used.
- Do not install 2 elbows together.
- Use clamps to seal all joints in the vent system.
- The vent system must have a damper. If the roof or wall cap has a damper, do not use the damper supplied with the range hood.
- Use caulking to seal exterior wall or roof opening around the cap.
- The size of the vent should be uniform.
Cold Weather Installations
An additional back draft damper should be installed to minimize backward cold air flow and a thermal break should be installed to minimize conduction of outside temperatures as part of the vent system. The damper should be on the cold air side of the thermal break.
The break should be as close as possible to where the vent system enters the heated portion of the house.
Makeup Air
Local building codes may require the use of makeup air systems when using ventilation systems greater than specified CFM of air movement. The specified CFM varies from locale to locale. Consult your HVAC professional for specific requirements in your area.
Venting Methods
This canopy hood is factory set for venting through the roof or wall.
A 6" (15.2 cm) round vent system is needed for installation (not included). The hood exhaust opening is 6" (15.2 cm) round.
NOTE: Flexible vent is not recommended. Flexible vent creates back pressure and air turbulence that greatly reduce performance.
Vent system can terminate either through the roof or wall. To vent through a wall, a 90° elbow is needed.
Rear Discharge
A 90° elbow may be installed immediately above the hood.
For Non-Vented (Recirculating) Installations
If it is not possible to vent cooking fumes and vapors to the outside, the hood can be used in the non-vented (recirculating) version, fitting a charcoal filter and the deflector. Fumes and vapors are recycled through the top grille. See the "Assistance or Service" section for information on ordering.
Roof Venting

- Roof cap
- 6" (15.2 cm) round vent
Wall Venting

- Wall cap
- 6" (15.2 cm) round vent
Non-Vented (Recirculating)

- Deflector
- 6" (15.2 cm) round vent
Calculating Vent System Length
To calculate the length of the system you need, add the equivalent feet (meters) for each vent piece used in the system.
| Vent Piece | 6" (15.2 cm) Round | |
| 45° elbow | 2.5 ft (0.8 m) | ![]() |
| 90° elbow | 5 ft (1.5 m) | ![]() |
Maximum equivalent vent length is 35 ft (10.7 m).
Example Vent System

The following example falls within the maximum recommended vent length of 35 ft (10.7 m).
| 1 - 90° Elbow | = 5 ft (1.5 m) |
| 1 - Wall cap | = 0 ft (0 m) |
| 8 ft (2.4 m) straight | = 8 ft (2.4 m) |
| Length of system | = 13 ft (3.9 m) |
Electrical Requirements
Observe all governing codes and ordinances.
Ensure that the electrical installation is adequate and in conformance with National Electrical Code, ANSI/NFPA 70 (latest edition) or CSA Standards C22.1-94, Canadian Electrical Code, Part 1 and C22.2 No. 0-M91 (latest edition), and all local codes and ordinances.
If codes permit and a separate ground wire is used, it is recommended that a qualified electrician determine that the ground path is adequate.
A copy of the above code standards can be obtained from:
National Fire Protection Association
1 Batterymarch Park
Quincy, MA 02169-7471
CSA International
8501 East Pleasant Valley Road
Cleveland, OH 44131-5575
- A 120 volt, 60 Hz., AC only, 15-amp, fused electrical circuit is required.
- If the house has aluminum wiring, follow the procedure below: Connect the aluminum wiring using special connectors and/or tools designed and UL listed for joining copper to aluminum. Follow the electrical connector manufacturer's recommended procedure. Aluminum/copper connection must conform with local codes and industry accepted wiring practices.
- Wire sizes and connections must conform with the rating of the appliance as specified on the model/serial/rating plate. The model/serial/rating plate is located behind the left filter on the rear wall of the range hood.
- Wire sizes must conform to the requirements of the National Electrical Code, ANSI/NFPA 70 (latest edition), or CSA Standards C22. 1-94, Canadian Electrical Code, Part 1 and C22.2 No. 0-M91 (latest edition) and all local codes and ordinances.
INSTALLATION INSTRUCTIONS
Prepare Location
- It is recommended that the vent system be installed before hood is installed.
- Before making cutouts, make sure there is proper clearance within the ceiling or wall for exhaust vent.
- Check your ceiling height and the hood height maximum before you select your hood.
- Disconnect power.
- Determine which venting method to use: roof, wall, or non-vented.
- Select a flat surface for assembling the range hood.
Place covering over that surface.
Excessive Weight Hazard
Use two or more people to move and install range hood.
Failure to do so can result in back or other injury. - Using 2 or more people, lift range hood onto covered surface.
- Remove wood base from range hood and dispose of properly.
Range Hood Mounting Screws Installation
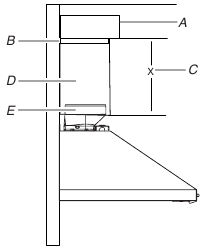
- Determine and mark the centerline on the wall where the canopy hood will be installed.
- Select a mounting height between a minimum of 24" (61 cm) for an electric cooking surface, a minimum of 27" (68.6 cm) for a gas cooking surface, and a suggested maximum of 36" (91.4 cm) above the range to the bottom of the hood. Mark a reference line on the wall.
- Tape template in place, aligning the template centerline and bottom of template with hood bottom line and with the centerline marked on the wall.
- Centerline
- Fastener locations
- Mounting height reference (hood bottom line)
- Mark centers of the fastener locations through the template to the wall.
All canopy mounting screws must be installed into wood where possible. If there is no wood to screw into, additional wall framing supports may be required or use (4) 10 x 60 mm wall anchors and 5.4 x 75 mm screws (not included). Remove the template.
- For wood, drill / 3 16 " (4.8 mm) pilot holes at all locations where screws are being installed into wood. For wall anchors, drill / 7 16 " (10 mm) holes at all locations where wall anchors are being used.
- For wood, install (2) 5 x 45 mm mounting screws. Leave a 1/ 4 " (6.4 mm) gap between the wall and the back of the screw head to slide range hood into place. For wall anchors, install the 10 x 60 mm wall anchors and install the 5.4 x 75 mm screws into the wall anchors. Tighten until the wall anchors are secure. Back the screws out / 1 4 " (6.4 mm).
![]()
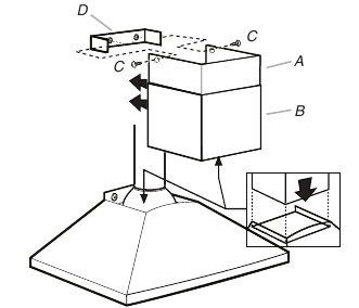
Vent Cover Support Bracket Installation
Installations using telescoping upper and lower vent cover assembly
- Position vent cover bracket on wall about 1/8" (3 mm) away from the ceiling.
- Mark the hole locations.
- Drill (2) 3/8" (9.5 mm) holes for 8 x 40 mm wall anchors and insert anchors flush with the wall.
- 8 x 40 mm wall anchors
- Centerline on wall
- Vent cover support bracket
- 5 x 45 mm screws
- Attach vent cover support bracket to wall.
Complete Preparation
- Determine and make all necessary cuts in the wall for the vent system. Install the vent system before installing the hood. See "Venting Requirements" section.
- Determine the required height for the home power supply cable and drill a 1 1/ 4 " (3.2 cm) hole at this location.
- Run the home power supply cable according to the National Electrical Code or CSA Standards and local codes and ordinances. There must be enough 1/2 " conduit and wires from the fused disconnect (or circuit breaker) box to make the connection in the hood's electrical terminal box.
NOTE: Do not reconnect power until installation is complete. - Use caulk to seal all openings.
Connect Vent System
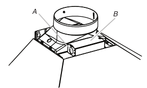
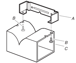
- Install transition on top of hood (if removed for shipping) with (2) 3.5 x 9.5 mm sheet metal screws.
- Vent transition
- 3.5 x 9.5 mm screw
For vented installations only:
- Fit vent system over transition piece.
- Seal connection with clamps.
- Check that back draft dampers work properly.
Install Range Hood
NOTE: Remove protective film from range hood and metal filters.
- Using 2 or more people, hang range hood on 2 mounting screws through the mounting slots on back of hood.
- Mounting screws
- Mounting slots
- Lower mounting screws
- Remove the grease filter. See "Range Hood Care" section.
- Level the range hood and tighten upper mounting screws.
- Install (2) 5 x 45 mm lower mounting screws and tighten. Use the optional wall anchors if needed.
For non-vented (recirculating) installation only:
- Assemble the air deflector with the duct cover bracket with 2 assembly screws provided with the Recirculation Kit.
- Vent cover bracket
- Assembly screws
- Deflector
- Measure from the bottom of the air deflector to the bottom of the hood outlet.
- Air deflector
- Vent clamp
- X = length to cut vent duct
- Vent duct
- Exhaust outlet
- Cut the duct to the measured size "X."
- Remove the air deflector.
- Slide the duct onto the bottom of the air deflector.
- Place the assembled air deflector and duct over the exhaust outlet from the hood.
- Reassemble the air deflector to the duct cover bracket with the 2 assembly screws.
- Seal connections with vent clamps.
Make Electrical Connection

Electrical Shock Hazard
Disconnect power before servicing.
Replace all parts and panels before operating.
Failure to do so can result in death or electrical shock.
- Disconnect power.
- Remove terminal box cover.
- Remove the knockout in the terminal box and install a UL listed or CSA approved 1/2" strain relief.
- Knockout
- Terminal box cover
- Run home power supply cable through strain relief into terminal box.
- Home power supply cable
- UL listed or CSA approved strain relief
- UL listed wire connectors
- White wires
- Black wires
- Green (or bare) and yellow-green ground wires
- Terminal box
- Use UL listed wire connectors and connect black wires (E) together.
- Use UL listed wire connectors and connect white wires (C) together.
![]()
Electrical Shock Hazard
Electrically ground blower.
Connect ground wire to green and yellow ground wire in terminal box.
Failure to do so can result in death or electrical shock. - Connect green (or bare) ground wire from home power supply to yellow-green ground wire (F) in terminal box using UL listed wire connectors.
- Tighten strain relief screw.
- Install terminal box cover.
- Check that all light bulbs are secure in their sockets.
- Reconnect power.
Install Vent Covers
NOTE: Remove protective film from the vent covers.
- When using both upper and lower vent covers, push lower cover down onto hood and lift upper cover to ceiling and install with (2) 2.9 x 6.5 mm screws.
NOTE: For vented installations, the upper vent cover may be reversed to hide slots.
- Upper vent cover
- Lower vent cover
- 2.9 x 6.5 mm screws
- Bracket
Complete Installation
- For non-vented (recirculating) installations only, install charcoal filters over the grease filters, using the clips provided in the kit. See the "Range Hood Care" section.
- Install metal filters. See the "Range Hood Care" section.
- Check the operation of the range hood blower and light. See the "Range Hood Use" section.
NOTE: To get the most efficient use from your new range hood, read the "Range Hood Use" section.
RANGE HOOD USE
The range hood is designed to remove smoke, cooking vapors, and odors from the cooktop area. For best results, start the hood before cooking and allow it to operate several minutes after the cooking is complete to clear all smoke and odors from the kitchen. The hood controls are located on the front side of the canopy.
Range Hood Controls

- Light button
- Blower ON/OFF and minimum speed button
- Blower speed medium button
- Blower speed maximum button
Operating the light
The
button controls both lights. Press once for ON and again for OFF.
Operating the blower
The ON/OFF button turn the blower on and set the blower minimumspeed and sound level for quiet operation. The speed can be changed anytime during fan operation by pressing the desired Blower Speed button.
Press the blower ON/OFF button a second time to turn the blower off.
RANGE HOOD CARE
Cleaning
Clean the hood and grease filters frequently according to the following instructions. Replace grease filters before operating hood.
Exterior Surfaces
To avoid damage to the exterior surface, do not use steel wool or soap-filled scouring pads.
Always wipe dry to avoid water marks.
Cleaning Method:
- Liquid detergent soap and water, or all-purpose cleanser
- Wipe with damp soft cloth or nonabrasive sponge, and then rinse with clean water and wipe dry.
Metal Grease Filter
- Remove the filter by pulling the spring release handle and then pulling down the filter.
- Spring release handle
- Wash metal filter as needed in dishwasher or hot detergent solution.
- Reinstall the filter by making sure the spring release handles are toward the front. Insert aluminum filter into upper track.
- Push in spring release handle.
- Push up on metal filter and release handle to latch into place.
- Repeat steps 1-5 for the other filter.
Non-Vented (recirculating) Installation Filters
The charcoal filter is not washable. It should last up to 6 months with normal use. Replace with Charcoal Filter Kit. See the "Assistance or Service" section for information on ordering.
To replace charcoal filter:
- Remove metal grease filter from range hood. See "Metal Grease Filter" in this section.
- Bend spring clips away from metal grease filter.
![]()
- Place charcoal filter into top side of metal filter.
- Bend spring clips back into place to secure the charcoal filter to the metal filter.
![]()
- Replace metal grease filter. See "Metal Grease Filter" in this section.
Replacing a LED Lamp
The LED lights are replaceable by a service technician only. See the "Warranty" section for service contact information.
WIRING DIAGRAM

ASSISTANCE OR SERVICE
If you need service
Please refer to the warranty page in this manual.
If you need replacement parts
If you need to order replacement parts, we recommend that you use only factory specified parts. Factory specified parts will fit right and work right because they are made with the same precision used to build every new appliance.
To locate factory specified replacement parts in your area, call the following customer assistance telephone number or your nearest designated service center.
In the U.S.A.
Call the Whirlpool Customer eXperience Center toll-free:
1-800-253-1301 or visit our website at www.whirlpool.com.
Our consultants provide assistance with:
- Scheduling of service. Whirlpool designated service technicians are trained to fulfill the product warranty and provide after-warranty service anywhere in the United States.
- Features and specifications on our full line of appliances.
- Referrals to local dealers.
- Installation information.
- Use and maintenance procedures.
- Accessory and repair parts sales.
- Specialized customer assistance (Spanish speaking, hearing impaired, limited vision, etc.).
For further assistance
If you need further assistance, you can write to Whirlpool Corporation with any questions or concerns at:
Whirlpool Brand Home Appliances
Customer eXperience Center
553 Benson Road
Benton Harbor, MI 49022-2692
Please include a daytime phone number in your correspondence.
In Canada
Call the Whirlpool Canada Customer eXperience Centre toll-free:
1-800-807-6777, or visit our website at www.whirlpool.ca.
Our Consultants Provide Assistance With:
- Scheduling of Service. Whirlpool designated service technicians are trained to fulfill the product warranty and provide after-warranty service anywhere in Canada.
- Features and specifications on our full line of appliances.
- Referrals to local dealers.
- Use and maintenance procedures.
- Accessory and repair parts sales.
For Further Assistance
If you need further assistance, you can write to Whirlpool Canada with any questions or concerns at:
Whirlpool Brand Home Appliances Customer eXperience Centre 200 - 6750 Century Ave.
Mississauga, Ontario L5N 0B7
Please include a daytime phone number in your correspondence.
Accessories
Recirculation Kit
(for non-vented installations only) Order Part Number W11548459
Charcoal Filter Kit
(for non-vented installations only) Order Part Number W11548461
Chimney Extension Kit
Order Part Number EXTKIT18FS
6" (15.2 cm) Makeup Air Kit
(consult local building codes)
Order Part Number W10446915
Range Hood Power Cord Kit
(consult local building codes)
Order Part Number W10613691
RANGE HOOD SAFETY
Your safety and the safety of others are very important.
We have provided many important safety messages in this manual and on your appliance. Always read and obey all safety messages.
This is the safety alert symbol.
This symbol alerts you to potential hazards that can kill or hurt you and others.
All safety messages will follow the safety alert symbol and either the word "DANGER" or "WARNING." These words mean:
You can be killed or seriously injured if you don't immediately follow instructions.
You can be killed or seriously injured if you don't follow instructions.
All safety messages will tell you what the potential hazard is, tell you how to reduce the chance of injury, and tell you what can happen if the instructions are not followed.
State of California Proposition 65 Warnings:
This product contains one or more chemicals known to the State of California to cause cancer.
This product contains one or more chemicals known to the State of California to cause birth defects or other reproductive harm.
IMPORTANT SAFETY INSTRUCTIONS
TO REDUCE THE RISK OF FIRE, ELECTRIC SHOCK, OR INJURY TO PERSONS, OBSERVE THE FOLLOWING:
- Use this unit only in the manner intended by the manufacturer. If you have questions, contact the manufacturer.
- Before servicing or cleaning the unit, switch power off at service panel and lock the service disconnecting means to prevent power from being switched on accidentally. When the service disconnecting means cannot be locked, securely fasten a prominent warning device, such as a tag, to the service panel
- Installation work and electrical wiring must be done by qualified person(s) in accordance with all applicable codes and standards, including fire-rated construction.
- Do not operate any fan with a damaged cord or plug.
Discard fan or return to an authorized service facility for examination and/or repair. - Sufficient air is needed for proper combustion and exhausting of gases through the flue (chimney) of fuel burning equipment to prevent backdrafting. Follow the heating equipment manufacturer's guideline and safety standards such as those published by the National Fire Protection Association (NFPA), the American Society for Heating, Refrigeration and Air Conditioning Engineers (ASHRAE), and the local code authorities.
- When cutting or drilling into wall or ceiling, do not damage electrical wiring and other hidden utilities.
- Ducted fans must always be vented outdoors.
For general ventilating use only. Do not use to exhaust hazardous or explosive materials and vapors.
To reduce tisk of fire and to properly exhaust air, be sure to duct air outside - do not vent exhaust air into spaces within walls or ceilings, attics or into crawl spaces, or garages.
TO REDUCE THE RISK OF FIRE, USE ONLY METAL DUCTWORK.
To REDUCE THE RISK OF A RANGE TOP GREASE FIRE: - Never leave surface units unattended at high settings. Boilovers cause smoking and greasy spillovers that may ignite. Heat oils slowly on low or medium settings.
- Always tum hood ON when cooking at high heat or when flambeing food (i.e. Crepes Suzette, Cherries Jubilee, Peppercorn Beef Flambé).
- Clean ventilating fans frequently. Grease should not be allowed to accumulate on fan or filter.
- Use proper pan size. Always use cookware appropriate for the size of the surface element.
TO REDUCE THE RISK OF INJURY TO PERSONS IN THE EVENT OF A RANGE TOP GREASE FIRE, OBSERVE THE FOLLOWING:* - SMOTHER FLAMES with a close fitting lid, cookie sheet, or metal tray, then turn off the burner. BE CAREFUL TO PREVENT BURNS. If the flames do not go out immediately, EVACUATE AND CALL THE FIRE DEPARTMENT.
- NEVER PICK UP A FLAMING PAN - you may be burned.
- DO NOT USE WATER, including wet disheloths or towels - a violent steam explosion will result
- Use an extinguisher ONLY if:
- You know you have a class ABC extinguisher, and you already know how to operate it.
- The fire is small and contained in the area where it started,
- The fire department is being called.
- You can fight the fire with your back to an exit.
"Based on "Kitchen Fire Safety Tips" published by NFPA.
To reduce the risk of fire or electrical shock, do not use this fan with any solid-state speed control device.- This appliance is not intended for use by people (including children) whose physical, sensory or mental capacities are different or impaired or who lack the necessary experience or knowledge/expertise to do so, unless such persons are supervised or are trained to operate the appliance by a person who accepts responsibility for their safety.
READ AND SAVE THESE INSTRUCTIONS
For questions about features, operation/performance, parts, accessories or service, call: 1-800-253-1301 or visit our website at www.whirlpool.com
In Canada, call 1-800-807-6777 or visit our website at www.whirlpool.ca
References
Home, Kitchen & Laundry Appliances & Products | Whirlpool
Shop Kitchen Appliances: Washing Machines, Dryers & More | Whirlpool
Download manual
Here you can download full pdf version of manual, it may contain additional safety instructions, warranty information, FCC rules, etc.
Download Whirlpool VW53UC0LS, WVW53UC6LS - Chimney Wall Mount Range Hood Manual





Need help?
Do you have a question about the VW53UC0LS and is the answer not in the manual?