KitchenAid KVWB400DSS - 30" Wall-Mount, 3-Speed Canopy Hood Manual
- 1 INSTALLATION REQUIREMENTS
- 2 INSTALLATION INSTRUCTIONS
- 3 RANGE HOOD USE
- 4 RANGE HOOD CARE
- 5 WIRING DIAGRAM
- 6 ASSISTANCE OR SERVICE
- 7 RANGE HOOD SAFETY
- 8 References
- 9 Download manual
- 10 In Other Languages

INSTALLATION REQUIREMENTS
Tools and Parts
Gather the required tools and parts before starting installation. Read and follow the instructions provided with any tools listed here.
Tools needed:
- Level
- Drill with 11/4" (3.0 cm), 3/8" (9.5 mm), and 5/16" (7.9 mm) drill bits
- Pencil
- Wire stripper or utility knife
- Tape measure or ruler
- Pliers
- Caulking gun and weatherproof caulking compound
- Vent clamps
- Jigsaw or keyhole saw
- Flat-blade screwdriver
- Metal snips
- Phillips screwdriver
- Metric hex key set
Parts needed:
- Home power supply cable
- 1/2" (12.7 mm) UL listed or CSA approved strain relief
- 3 UL listed wire connectors
For vented installations, you will also need:
- 1 wall or roof cap
- Metal vent system
For non-vented (recirculating) installations, you will also need:
- Recirculation Kit Part Number W1027063 for non-vented (recirculating) installations only. See the "Assistance or Service" section to order.
- Charcoal Filter Kit part number W1027068 for non-vented (recirculating) installations only. See the "Assistance or Service" section to order.
- 6" (15.2 cm) diameter round metal vent duct - length required is determined by ceiling height.
Parts supplied
Remove parts from packages. Check that all parts are included.
- Hood canopy assembly with ventilator and light bulbs installed
- Vent transition with back draft dampers installed
- Metal grease filter(s)
- Vent cover support bracket
- Mounting template
- 2-piece vent cover
- 4 - 3.5 x 9.5 mm screws
- 4 - 3.5 x 6.5 mm screws
- 2 - 2.9 x 6.5 mm screws
- 6 - 5 x 45 mm mounting screws
- 2 - 8 x 40 mm wall anchors
- 4 - 10 x 60 mm wall anchors
- 4 - 5.4 x 75 mm screws (for 10 x 60 mm wall anchors)
- Torx®† T20®† adapter
Location Requirements
Observe all governing codes and ordinances. Have a qualified technician install the range hood. It is the installer's responsibility to comply with installation clearances specified on the model/serial/rating plate. The model/serial/ rating plate is located inside the range hood on the rear wall of the range hood.
Canopy hood location should be away from strong draft areas, such as windows, doors, and strong heating vents.
Cabinet opening dimensions that are shown must be used. Given dimensions provide minimum clearance. This range hood is recommended for use with cooktops with a maximum total rating of 65,000 BTUs or less. Grounded electrical outlet is required. See the "Electrical Requirements" section.
The canopy hood is factory set for venting through the roof or wall. For non-vented (recirculating) Installation, see "For Non-vented (recirculating) Installations Only" in the "Connect Vent System" section. The Recirculation Kit Part Number is
W1027063. Charcoal filters are also required for non-vented
(recirculating) installations. The Charcoal Filter Kit Part Number is W1027068. See the "Assistance or Service" section to order. All openings in ceiling and wall where canopy hood will be installed must be sealed.
For Mobile Home Installations:
The installation of this range hood must conform to the
Manufactured Home Construction Safety Standards, Title 24 CFR, Part 328 (formerly the Federal Standard for Mobile Home Construction and Safety, Title 24, HUD, Part 280) or when such standard is not applicable, the standard for Manufactured Home Installation 1982 (Manufactured Home Sites, Communities and Setups) ANSI A225.1/NFPA 501A or latest edition, or with local codes.
†®TORX and T20® are registered trademarks of Acument Intellectual Properties, LLC.
Product Dimensions

* For non-vented (recirculating) installations
** For vented installations
Cabinet Dimensions

* For non-vented (recirculating) installations
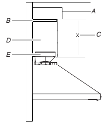
Minimum distance "X": 24" (61.0 cm) from electric cooking surface. Minimum distance "X": 27" (68.6 cm) from gas cooking surfaces.
Suggested maximum distance "X": 36" (91.4 cm)
| Vented Installations | ||
| Minimum ceiling height | Maximum ceiling height | |
| Electric cooking 7' 5" (2.26 m) surface | 9' 2" (2.79 m) | |
| Gas cooking 7' 8" (2.34 m) surface | 9' 2" (2.79 m) | |
| Non-vented (recirculating) Installations | ||
| Minimum ceiling height | Maximum ceiling height | |
| Electric cooking surface | 7' 5" (2.26 m) | 9' 6" (2.9 m) |
| Gas cooking surface | 7' 8" (2.34 m) | 9' 6" (2.9 m) |
NOTE: The range hood chimneys are adjustable and designed to meet varying ceiling or soffit heights, depending on the distance "X" between the bottom of the range hood and the cooking surface. For higher ceilings, a Stainless Steel Chimney Extension Kit Part Number W10337357 is available from your dealer or an authorized parts distributor. The chimney extension replaces the upper chimney shipped with the range hood.
Venting Requirements (venting models only)
- Vent system must terminate to the outdoors, except for nonvented (recirculating) installations.
- Do not terminate the vent system in an attic or other enclosed area.
- Do not use 4" (10.2 cm) laundry-type wall cap.
- Use metal vent only. Rigid metal vent is recommended. Plastic or metal foil vent is not recommended.
- The length of vent system and number of elbows should be kept to a minimum to provide efficient performance.
For the most efficient and quiet operation:
- Use no more than three 90° elbows.
- Make sure there is a minimum of 24" (61 cm) of straight vent between the elbows if more than 1 elbow is used.
- Do not install 2 elbows together.
- Use clamps to seal all joints in the vent system.
- The vent system must have a damper. If the roof or wall cap has a damper, do not use the damper supplied with the range hood.
- Use caulking to seal exterior wall or roof opening around the cap.
- The size of the vent should be uniform.
Cold Weather Installations:
An additional backdraft damper should be installed to minimize backward cold air flow and a thermal break should be installed to minimize conduction of outside temperatures as part of the vent system. The damper should be on the cold air side of the thermal break.
The break should be as close as possible to where the vent system enters the heated portion of the house.
Makeup Air:
Local building codes may require the use of makeup air systems when using ventilation systems greater than specified CFM of air movement. The specified CFM varies from locale to locale. Consult your HVAC professional for specific requirements in your area.
Venting Methods
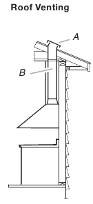
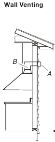
This canopy hood is factory set for venting through the roof or wall.
A 6" (15.2 cm) round vent system is needed for installation (not included). The hood exhaust opening is 6" (15.2 cm) round. NOTE: Flexible vent is not recommended. Flexible vent creates back pressure and air turbulence that greatly reduce performance.
Vent system can terminate either through the roof or wall. To vent through a wall, a 90° elbow is needed.
Rear Discharge
A 90° elbow may be installed immediately above the hood.
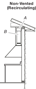
For Non-Vented (Recirculating) Installations
If it is not possible to vent cooking fumes and vapors to the outside, the hood can be used in the non-vented (recirculating) version, using a Recirculation Kit (which includes charcoal filters and a deflector). To order, see the "Assistance or Service" section.

- Roof cap
- 6" (15.2 cm) round vent

- Wall cap
- 6" (15.2 cm) round vent

- Deflector
- 6" (15.2 cm) round vent
Calculating Vent System Length
To calculate the length of the system you need, add the equivalent feet (meters) for each vent piece used in the system.
| Vent Piece | 6" (15.2 cm) Round |
| 45° elbow | 2.5 ft (0.8 m) |
| 90° elbow | 5.0 ft (1.5 m) |
Maximum equivalent vent length is 35 ft (10.7 m).
Example Vent System

The following example falls within the maximum recommended vent length of 35 ft (10.7 m).
| 1 - 90° elbow | 5.0 ft (1.5 m) |
| 1 - wall cap | 0.0 ft (0.0 m) |
| 8 ft (2.4 m) straight | 8.0 ft (2.4 m) |
| Length of system | 13.0 ft (3.9 m) |
Electrical Requirements
Observe all governing codes and ordinances.
Ensure that the electrical installation is adequate and in conformance with National Electrical Code, ANSI/NFPA 70 (latest edition), or CSA Standards C22.1-94, Canadian Electrical Code, Part 1 and C22.2 No. 0-M91 (latest edition) and all local codes and ordinances.
If codes permit and a separate ground wire is used, it is recommended that a qualified electrician determine that the ground path is adequate.
A copy of the above code standards can be obtained from:
National Fire Protection Association
1 Batterymarch Park
Quincy, MA 02169-7471
CSA International
8501 East Pleasant Valley Road
Cleveland, OH 44131-5575
- A 120 V 60 Hz, AC only, 15 A, fused electrical circuit is required.
- If the house has aluminum wiring, follow the procedure below:
Connect the aluminum wiring using special connectors and/or tools designed and UL listed for joining copper to aluminum.
Follow the electrical connector manufacturer's recommended procedure. Aluminum/copper connection must conform with local codes and industry accepted wiring practices. - Wire sizes and connections must conform with the rating of the appliance as specified on the model/serial/rating plate. The model/serial/rating plate is located behind the left filter on the rear wall of the range hood.
- Wire sizes must conform to the requirements of the National Electrical Code, ANSI/NFPA 70 (latest edition), or CSA Standards C22. 1-94, Canadian Electrical Code, Part 1 and C22.2 No. 0-M91 (latest edition) and all local codes and ordinances.
INSTALLATION INSTRUCTIONS
Prepare Location
- It is recommended that the vent system be installed before hood is installed.
- Before making cutouts, make sure there is proper clearance within the ceiling or wall for exhaust vent.
- Check your ceiling height and the hood height maximum before you select your hood.
- Disconnect power.
- Determine which venting method to use: roof, wall, or nonvented.
- Select a flat surface for assembling the range hood. Place covering over that surface.
Excessive Weight Hazard
Use two or more people to move and install range hood.
Failure to do so can result in back or other injury. - Using 2 or more people, lift range hood onto covered surface.
Range Hood Mounting Screws Installation
- Determine and mark the centerline on the wall where the canopy hood will be installed.
- Select a mounting height between a minimum of 24" (61.0 cm) for an electric cooking surface, a minimum of 27" (68.6 cm) for a gas cooking surface, and a suggested maximum of 36" (91.4 cm) above the range to the bottom of the hood. Mark a reference line on the wall.
- Tape template in place, aligning the template centerline and bottom of template with hood bottom line and with the centerline marked on the wall.
- Mark centers of the fastener locations through the template to the wall.
All canopy mounting screws must be installed into wood where possible. If there is no wood to screw into, additional wall framing supports may be required, or use the (4) 10 x 60 mm wall anchors and 5.4 x 75 mm screws. Remove the template. - For wood, drill 3/16" (4.8 mm) pilot holes at all locations where screws are being installed into wood. For wall anchors, drill 7/16" (10 mm) holes at all locations where wall anchors are being used.
- For wood, install (2) 5 x 45 mm mounting screws. Leave a 1/4" (6.4 mm) gap between the wall and the back of the screw head to slide range hood into place.
For wall anchors, install the 10 x 60 mm wall anchors and install the 5.4 x 75 mm screws into the wall anchors. Tighten until the wall anchors are secure. Back the screws out 1/4" (6.4 mm).
![]()
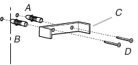
Vent Cover Support Bracket Installation
Installations using telescoping upper and lower vent cover assembly
- Position vent cover bracket on wall about 1/8" (3.0 mm) away from the ceiling.
- Mark the hole locations.
- Drill (2) 3/8" (9.5 mm) holes for 8 x 40 mm wall anchors and insert anchors flush with the wall.
- 8 x 40 mm wall anchors
- Centerline on wall
- Vent cover support bracket
- 5 x 45 mm screws
- Attach vent cover support bracket to wall.
Complete Preparation
- Determine and make all necessary cuts in the wall for the vent system. Install the vent system before installing the hood. See the "Venting Requirements" section.
- Determine the required height for the home power supply cable and drill a 11/4" (3.2 cm) hole at this location.
- Run the home power supply cable according to the National Electrical Code or CSA Standards and local codes and ordinances. There must be enough 1/2" conduit and wires from the fused disconnect (or circuit breaker) box to make the connection in the hood's electrical terminal box. NOTE: Do not reconnect power until installation is complete.
- Use caulk to seal all openings.
Install In-Line Smart Kit - Optional
NOTE: Your range hood can work with either an internal or an inline (external) blower motor system. An optional In-Line Smart Kit (purchased separately) allows the blower motor that comes with this range hood to be installed in a location other than inside the range hood cavity.
To reduce the risk of fire and electric shock, install this range hood only with the In-Line Smart Kit manufactured by Whirlpool, Part Number W10692945.
For installation see the In-Line Smart Kit installation instructions. See the "Assistance or Service" section to order.
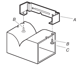
Install Range Hood
- Using 2 or more people, hang range hood on 2 mounting screws through the mounting slots on back of hood.
- Mounting screws
- Mounting slots
- Lower mounting screws
- Remove the grease filter. See the "Range Hood Care" section.
- Level the range hood and tighten upper mounting screws.
- Install (2) 5 x 45 mm lower mounting screws and tighten.
Use the optional wall anchors if needed.
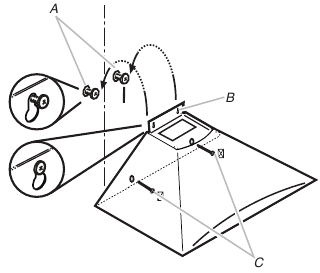
Connect Vent System
- Install transition on top of hood (if removed for shipping) with (2) 3.5 x 9.5 mm sheet metal screws.
- Vent transition
- 3.5 x 9.5 mm screw
For vented installations only:
- Fit vent system over transition piece.
- Seal connection with clamps.
- Check that backdraft dampers work properly.
For non-vented (recirculating) installation only:
- Assemble the air deflector with the duct cover bracket with 2 assembly screws provided with the Recirculation Kit.
- Vent cover bracket
- 2.9 x 6.5 mm screws
- Deflector
- Measure from the bottom of the air deflector to the bottom of the hood outlet.
- Air deflector
- Vent clamp
- X = length to cut vent duct
- Vent duct
- Exhaust outlet
- Cut the duct to the measured size "X."
- Remove the air deflector.
- Slide the duct onto the bottom of the air deflector.
- Place the assembled air deflector and duct over the exhaust outlet from the hood.
- Reassemble the air deflector to the duct cover bracket with 2 assembly screws.
- Seal connections with vent clamps.
Make Electrical Connection
Electrical Shock Hazard
Disconnect power before servicing.
Replace all parts and panels before operating.
Failure to do so can result in death or electrical shock.
- Disconnect power.
- Remove terminal box cover.
- Remove the knockout in the terminal box and install a UL listed or CSA approved 1/2" strain relief.
- Run home power supply wiring through 1/2" strain relief into terminal box.
- UL listed wire connectors
- White wires
- Black wires
- Green (or bare) wire connected to yellow-green wires
- Home power supply
- Use UL listed wire connectors and connect white wires (B) together.
- Use UL listed wire connectors and connect black wires (C) together.
Electrical Shock Hazard
Electrically ground blower.
Connect ground wire to green and yellow ground wire in terminal box.
Failure to do so can result in death or electrical shock. - Connect green (or bare) ground wire from home power supply to the 2 yellow-green ground wires (D) in terminal box using UL listed wire connectors.
- Tighten strain relief screw.
- Install terminal box cover.
- Reconnect power.
Optional Power Cord Kit Installations
For optional power cord kit installations, follow the instructions supplied with the power cord kit. See the "Assistance or Service" section for information on ordering.
NOTE: Use only with range hood cord connection kits that have been investigated and found acceptable for use with this model range hood.
Install Vent Covers
- When using both upper and lower vent covers, push lower cover down onto hood and lift upper cover to ceiling and install with (2) 2.9 x 6.5 mm screws.
NOTE: For vented installations, the upper vent cover may be reversed to hide slots.
- Upper vent cover
- Lower vent cover
- 2.9 x 6.5 mm screws
- Bracket
Complete Installation
- For non-vented (recirculating) installations only, install charcoal filters over grille on blower housing. See the "Range Hood Care" section.
- Install metal filters. See the "Range Hood Care" section.
- Check the operation of the range hood blower and light. See the "Range Hood Use" section.
NOTE: To get the most efficient use from your new range hood, read the "Range Hood Use" section.
RANGE HOOD USE
The range hood is designed to remove smoke, cooking vapors, and odors from the cooktop area. For best results, start the hood before cooking and allow it to operate several minutes after the cooking is complete to clear all smoke and odors from the kitchen.
The hood controls are located on the front panel on the right side of the range hood.

- LED lights
- Blower and light controls
- Grease filter (behind stainless steel panel)
- Stainless steel panel
Range Hood Controls

- Light On/Off button
- Blower On/Off button
- Blower speed minimum button
- Blower speed medium button
- Blower speed maximum button
NOTE: Control buttons will light up when range hood is on.
Operating the light
The Light On/Off button (A) controls both lights. Press once for on and again for off.
Operating the blower
The blower On/Off button (B) turns the blower on or off. The blower Speed buttons (C, D, and E) set the desired speed and control the sound level for quiet operation. The speed can be changed anytime during fan operation by pressing the desired blower speed button.
- To turn the blower on, press the blower On/Off button (B) and the desired speed button (C, D, or E).
- To turn the blower off, press the blower On/Off button (B).
Any of the 3 blower speed buttons can be in the On position at the same time. The blower will operate at the highest speed button that is pushed in. For lower blower speeds, the higher speed buttons must not be pushed in.
RANGE HOOD CARE
Cleaning
Clean the hood and grease filters frequently according to the following instructions. Replace grease filters before operating hood.
Exterior Surfaces
To avoid damage to the exterior surface, do not use steel wool or soap-filled scouring pads. Always wipe dry to avoid water marks.
Cleaning Method
- Liquid detergent soap and water, or all-purpose cleanser
- Wipe with damp soft cloth or nonabrasive sponge, then rinse with clean water and wipe dry.
Metal Grease Filter
- Open the stainless steel panel. Grasp panel at the front corners and pull down to disengage the 2 catch pins from the spring catches. The panel is attached at the rear and will rotate down.
- Metal filters
- Stainless steel panel
- Catch pins (2)
- Spring catches (2)
- Remove each filter by pulling the spring release handle and then pulling down the filter.
- Spring release handle
- Wash metal filters as needed in dishwasher or hot detergent solution.
- Reinstall the filter by making sure the spring release handles are toward the front. Insert aluminum filter into upper track.
- Push in spring release handle.
- Push up on metal filter and release handle to latch into place.
- Repeat steps 1-5 for the other filter.
- Close the stainless steel panel. Engage the 2 pins in the spring catches to secure.
Non-Vented (Recirculating) Installation Filters
The charcoal filter is not washable. It should last up to 6 months with normal use. Replace with Charcoal Filter Kit Number W10272068.
To Replace Charcoal Filter:
- Cover the grille that covers the blower motor with the charcoal filter so that the slots on the filter correspond to the pins on the sides of the motor grille.
- Charcoal filter
- Pins
- Blower motor
- Turn the charcoal filter clockwise to lock it.
- Repeat steps 1-2 on the other filter.
NOTE: To reduce the risk of fire and shock when used for recirculation, use conversion kit:
- Charcoal Filter Kit W10272068
- Recirculation Kit W10272063
Replacing a LED Lamp
The LED lights are replaceable by a service technician only. See "Assistance and Service" section for service contact information.
WIRING DIAGRAM

ASSISTANCE OR SERVICE
If you need service:
Please refer to the warranty.
If you need replacement parts:
If you need to order replacement parts, we recommend that you use only factory specified parts. Factory specified parts will fit right and work right because they are made with the same precision used to build every new appliance.
To locate factory specified replacement parts in your area, call the following customer assistance telephone number or your nearest designated service center.
In the U.S.A.
Call the KitchenAid Customer eXperience Center toll free:
1-800-422-1230 or visit our website at www.kitchenaid.com.
- Scheduling of service. KitchenAid designated service technicians are trained to fulfill the product warranty and provide after-warranty service anywhere in the United States.
- Features and specifications on our full line of appliances.
- Referrals to local dealers.
- Installation information.
- Use and maintenance procedures.
- Accessory and repair parts sales.
- Specialized customer assistance (Spanish speaking, hearing impaired, limited vision, etc.).
For Further Assistance:
If you need further assistance, you can write to KitchenAid with any questions or concerns at:
KitchenAid Brand Home Appliances
Customer eXperience Center
Benton Harbor, MI 49022-2692
Please include a daytime phone number in your correspondence.
In Canada
Call the KitchenAid Canada Customer eXperience Centre toll free: 1-800-807-6777 or visit our website at www.kitchenaid.ca.
Our consultants provide assistance with:
- Scheduling of service. KitchenAid appliances designated service technicians are trained to fulfill the product warranty and provide after-warranty service anywhere in Canada.
- Features and specifications on our full line of appliances.
- Referrals to local dealers.
- Use and maintenance procedures.
- Accessory and repair parts sales.
For Further Assistance:
If you need further assistance, you can write to KitchenAid Canada with any questions or concerns at:
Customer eXperience Centre KitchenAid Canada
200 - 6750 Century Ave.
Mississauga, Ontario L5N 0B7
Please include a daytime phone number in your correspondence.
Accessories
Charcoal Filter Kit
(for non-vented installations only)
Order Part Number W10272068
Recirculation Kit
(for non-vented installations only)
Order Part Number W10272063
Chimney Extension Kit
Order Part Number W10337357
Power Cord Kit
Order Part Number W10613691
RANGE HOOD SAFETY
Your safety and the safety of others are very important.
We have provided many important safety messages in this manual and on your appliance. Always read and obey all safety messages.
This is the safety alert symbol.
This symbol alerts you to potential hazards that can kill or hurt you and others.
All safety messages will follow the safety alert symbol and either the word "DANGER" or "WARNING." These words mean:
You can be killed or seriously injured if you don't immediately follow instructions.
You can be killed or seriously injured if you don't follow WARNING instructions.
All safety messages will tell you what the potential hazard is, tell you how to reduce the chance of injury, and tell you what can happen if the instructions are not followed.


References
Kitchen Appliances to Bring Culinary Inspiration to Life | KitchenAid
Premium Major & Small Kitchen Appliances | KitchenAid
Download manual
Here you can download full pdf version of manual, it may contain additional safety instructions, warranty information, FCC rules, etc.
Download KitchenAid KVWB400DSS - 30" Wall-Mount, 3-Speed Canopy Hood Manual

Need help?
Do you have a question about the KVWB400DSS and is the answer not in the manual?