KitchenAid KVWB600DSS - 30" Wall-Mount, 3-Speed Canopy Hood Manual
- 1 INSTALLATION REQUIREMENTS
- 2 INSTALLATION INSTRUCTIONS
- 3 RANGE HOOD USE
- 4 RANGE HOOD CARE
- 5 WIRING DIAGRAM
- 6 ASSISTANCE OR SERVICE
- 7 RANGE HOOD SAFETY
- 8 References
- 9 Download manual
- 10 In Other Languages

INSTALLATION REQUIREMENTS
Tools and Parts
Gather the required tools and parts before starting installation. Read and follow the instructions provided with any tools listed here.
Tools Needed
- Level
- Drill with 1¼" (3.0 cm), 3/8" (9.5 mm), and 5/16" (7.9 mm) drill bits
- Pencil
- Wire stripper or utility knife
- Tape measure or ruler
- Pliers
- Caulking gun and weatherproof caulking compound
- Vent clamps
- Jigsaw or keyhole saw
- Flat-blade screwdriver
- Metal snips
- Phillips screwdriver
Parts Needed
- Home power supply cable
- 1/2" (13 mm) UL listed or CSA approved strain relief
- Three UL Listed wire connectors
For Vented Installations, You Will Also Need:
- One wall or roof cap
- Metal vent system
For Non-Vented (Recirculating) Installations, You Will Also Need:
- Recirculation Kit Part Number W10692908 for non-vented (recirculating) installations only. See the "Assistance or Service" section to order.
- 6" (15.2 cm) diameter round metal vent duct—length required is determined by ceiling height.
Parts Supplied
- Remove parts from packages. Check that all parts are included.
- Hood canopy assembly with ventilator and LED and halogen lights installed
- Vent transition with back draft dampers installed
- Metal grease filter(s)—depending on model and size
- Vent cover support bracket
- Mounting template
- Two-piece vent cover
- Four 4.2 x 8 screws
- Six 5 x 45 mm mounting screws
- Two D6.4 x 18 mm washers
- Two 8 x 40 mm wall anchors
- Four10 x 60 mm wall anchors
- Four 5.4 x 75 mm screws (for 10 x 60 mm wall anchors)
- Two 3.5 x 9.5 mm sheet metal screws
- T10® TORX®† adapter
†®TORX and T10® are registered trademarks of Acument Intellectual Properties, LLC.
Location Requirements
Observe all governing codes and ordinances. Have a qualified technician install the range hood. It is the installer's responsibility to comply with installation clearances specified on the model/serial/rating plate. The model/serial/ rating plate is located behind the left filter on the rear wall of the vent hood.
Canopy hood location should be away from strong draft areas, such as windows, doors and strong heating vents.
Cabinet opening dimensions that are shown must be used. Given dimensions provide minimum clearance. This range hood is recommended for use with cooktops with a maximum total rating of 65,000 BTUs or less. Grounded electrical outlet is required. See the "Electrical Requirements" section.
The canopy hood is factory-set for venting through the roof or wall. For non-vented (recirculating) installation see "For nonvented (recirculating) installation only" in the "Connect Vent System" section. Recirculation Kit Part Number W10692908 is available from your dealer or an authorized parts distributor. All openings in ceiling and wall where canopy hood will be installed must be sealed.
For Mobile Home Installations
The installation of this range hood must conform to the Manufactured Home Construction Safety Standards, Title 24 CFR, Part 328 (formerly the Federal Standard for Mobile Home Construction and Safety, Title 24, HUD, Part 280) or when such standard is not applicable, the standard for Manufactured Home Installation 1982 (Manufactured Home Sites, Communities and Setups) ANSI A225.1/NFPA 501A, or latest edition, or with local codes.
Product Dimensions

*For non-vented (recirculating) installations
**For vented installations
Cabinet Dimensions

*For non-vented (recirculating) installations
Minimum distance "X": 24" (61.0 cm) from electric cooking surface.
Minimum distance "X": 27" (68.6 cm) from gas cooking surfaces.
Suggested maximum distance "X": 36" (91.4 cm)
The chimneys can be adjusted for different ceiling heights. See the following chart.
| Vented Installations | ||
| Min. ceiling height | Max. ceiling height | |
| Electric cooking surface | 7' 1" (2.16 m) | 9' 2" (2.79 m) |
| Gas cooking surface | 7' 4" (2.23 m) | 9' 2" (2.79 m) |
| Non-vented (recirculating) Installations | ||
| Min. ceiling height | Max. ceiling height | |
| Electric cooking surface | 7' 1" (2.16 m) | 9' 6" (2.9 m) |
| Gas cooking surface | 7' 4" (2.23 m) | 9' 6" (2.9 m) |
NOTE: The range hood chimneys are adjustable and designed to meet varying ceiling or soffit heights depending on the distance "X" between the bottom of the range hood and the cooking surface. For higher ceilings, a Chimney Extension Kit is available from your dealer or an authorized parts distributor. The chimney extension replaces the chimney shipped with the range hood. To order, see the "Assistance or Service" section.
Venting Requirements (Vented Models Only)
- Vent system must terminate to the outdoors except for non-vented (recirculating) installations.
- Do not terminate the vent system in an attic or other enclosed area.
- Do not use 4" (10.2 cm) laundry-type wall caps.
- Use metal vent only. Rigid metal vent is recommended. Plastic or metal foil vent is not recommended.
- The length of vent system and number of elbows should be kept to a minimum to provide efficient performance.
For the Most Efficient and Quiet Operation:
- Use no more than three 90° elbows.
- Make sure there is a minimum of 24" (61.0 cm) of straight vent between the elbows if more than one elbow is used.
- Do not install two elbows together.
- Use clamps to seal all joints in the vent system.
- The vent system must have a damper. If the roof or wall cap has a damper, do not use the damper supplied with the range hood.
- Use caulking to seal exterior wall or roof opening around the cap.
- The size of the vent should be uniform.
Cold Weather Installations
An additional back draft damper should be installed to minimize backward cold air flow and a thermal break should be installed to minimize conduction of outside temperatures as part of the vent system. The damper should be on the cold air side of the thermal break.
The break should be as close as possible to where the vent system enters the heated portion of the house.
Makeup Air
Local building codes may require the use of makeup air systems when using ventilation systems greater than specified CFM of air movement. The specified CFM varies from locale to locale. Consult your HVAC professional for specific requirements in your area.
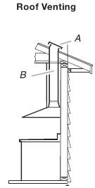
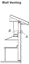
Venting Methods
This canopy range hood is factory set for venting through the roof or through the wall.
A 6" (15.2 cm) round vent system is needed for installation (not included). The hood exhaust opening is 6" (15.2 cm) round.
NOTE: Flexible vent is not recommended. Flexible vent creates back pressure and air turbulence that greatly reduce performance.
Vent system can terminate either through the roof or wall. To vent through a wall, a 90° elbow is needed.
Rear Discharge
A 90° elbow may be installed immediately above the hood.
For Non-Vented (Recirculating) Installations
If it is not possible to vent cooking fumes and vapors to the outside, the hood can be used in the non-vented (recirculating) version using a Recirculation Kit (which includes charcoal filters and a deflector). To order, see the "Assistance or Service" section.

- Roof cap
- 6" (15.2 cm) round vent

- Wall cap
- 6" (15.2 cm) round vent

- Diverter
- 6" (15.2 cm) round vent
Calculating Vent System Length
To calculate the length of the system you need, add the equivalent feet (meters) for each vent piece used in the system.
| Vent Piece | 6" (15.2 cm) Round | |
| 45° elbow | 2.5 ft (0.8 m) | ![]() |
| 90° elbow | 5.0 ft (1.5 m) | ![]() |
Maximum equivalent vent length is 35 ft (10.7 m).
Example Vent System

The following example falls within the maximum recommended vent length of 35 ft (10.7 m).
| 1 - 90° elbow | = 5.0 ft (1.5 m) |
| 1 - wall cap | = 0.0 ft (0.0 m) |
| 8 ft (2.4 m) straight | = 8.0 ft (2.4 m) |
| Length of system | = 13.0 ft (3.9 m) |
Electrical Requirements
Observe all governing codes and ordinances.
Ensure that the electrical installation is adequate and in conformance with National Electrical Code, ANSI/NFPA 70 (latest edition), or CSA Standards C22.1-94, Canadian Electrical Code, Part 1 and C22.2 No. 0-M91 (latest edition) and all local codes and ordinances.
If codes permit and a separate ground wire is used, it is recommended that a qualified electrician determine that the ground path is adequate.
A copy of the above code standards can be obtained from:
National Fire Protection Association
1 Batterymarch Park
Quincy, MA 02169-7471
CSA International
8501 East Pleasant Valley Road
Cleveland, OH 44131-5575
- A 120 V, 60 Hz, AC only, 15 A, fused electrical circuit is required.
- If the house has aluminum wiring, follow the procedure below:
Connect the aluminum wiring using special connectors and/or tools designed and UL listed for joining copper to aluminum.
Follow the electrical connector manufacturer's recommended procedure. Aluminum/copper connection must conform with local codes and industry accepted wiring practices. - Wire sizes and connections must conform with the rating of the appliance as specified on the model/serial/rating plate. The model/serial/rating plate is located behind the left filter on the rear wall of the range hood.
- Wire sizes must conform to the requirements of the National Electrical Code, ANSI/NFPA 70 (latest edition), or CSA Standards C22. 1-94, Canadian Electrical Code, Part 1 and C22.2 No. 0-M91 (latest edition) and all local codes and ordinances.
INSTALLATION INSTRUCTIONS
Prepare Location
- It is recommended that the vent system be installed before hood is installed.
- Before making cutouts, make sure there is proper clearance within the ceiling or wall for exhaust vent.
- Check your ceiling height and the hood height maximum before you select your hood.
- Disconnect power.
- Determine which venting method to use: roof, wall, or non-vented.
- Select a flat surface for assembling the range hood. Place covering over that surface.
Excessive Weight Hazard
Use two or more people to move and install range hood.
Failure to do so can result in back or other injury. - Using two or more people, lift range hood onto covered surface.
Range Hood Mounting Screws Installation
- Determine and mark the centerline on the wall where the canopy hood will be installed.
- Select a mounting height between a minimum of 24" (61.0 cm) for an electric cooking surface, a minimum of 27" (68.6 cm) for a gas cooking surface, and a suggested maximum of 36" (91.4 cm) above the range to the bottom of the hood. Mark a reference line on the wall.
- Tape template in place, aligning the template centerline and bottom of template with hood bottom line and with the centerline marked on the wall.
- Centerline
- Fastener locations
- Mounting height reference (hood bottom line)
- Mark centers of the fastener locations through the template to the wall.
All canopy mounting screws must be installed into wood where possible. If there is no wood to screw into, additional wall framing supports may be required, or use the four - For wood, drill 3/16" (4.8 mm) pilot holes at all locations where screws are being installed into wood. For wall anchors, drill 7/16" (10 mm) holes at all locations where wall anchors are being used.
- For wood, install two 5 x 45 mm mounting screws. Leave a 1/4" (6.4 mm) gap between the wall and the back of the screw head to slide range hood into place. For wall anchors, install the 10 x 60 mm wall anchors and install the 5.4 x 75 mm screws into the wall anchors. Tighten until the wall anchors are secure. Back the screws out 1/4" (6.4 mm).
![]()
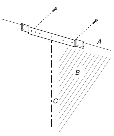
Vent Cover Bracket Installation
- Attach vent cover bracket to wall flush to the ceiling using two 5 x 45 mm screws. Use the optional wall anchors if needed.
- Ceiling
- Wall
- Centerline
Complete Preparation
- Determine and make all necessary cuts in the wall for the vent system. Install the vent system before installing the hood. See the "Venting Requirements" section.
- Determine the required height for the home power supply cable and drill a 1¼" (3.2 cm) hole at this location.
- Run the home power supply cable according to the National Electrical Code or CSA Standards and local codes and ordinances. There must be enough 1/2" (13 mm) conduit and wires from the fused disconnect (or circuit breaker) box to make the connection in the hood's electrical terminal box.
NOTE: Do not reconnect power until installation is complete. - Use caulk to seal all openings.
Install In-Line Smart Kit (Optional)
NOTE: Your range hood can work with either an internal or an in-line (external) blower motor system. An optional In-Line Smart Kit (purchased separately) allows the blower motor that comes with this range hood to be installed in a location other than inside the range hood cavity.
To reduce the risk of fire and electric shock, install this range hood only with the In-Line Smart Kit manufactured by Whirlpool, part number W10692945. For installation see the In-Line Smart Kit installation instructions. See the "Assistance or Service" section to order.
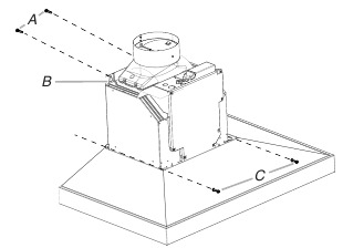
Install Range Hood
- Using two or more people, hang range hood on two mounting screws through the mounting slots on back of hood.
- Mounting screws
- Mounting slots
- Lower mounting screws and washers
- Remove the grease filter. See the "Range Hood Care" section.
- Level the range hood and tighten upper mounting screws.
- Install two 5 x 45 mm lower mounting screws and two D6.4 x18 mm washers and tighten. Use the optional wall anchors if needed.
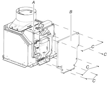
Connect Vent System
- Install transition on top of hood (if removed for shipping) with two 3.5 x 9.5 mm sheet metal screws.
- Vent transition
- 3.5 x 9.5 mm screws
For Vented Installations Only:
- Fit vent system over the exhaust outlet.
- Seal connection with clamps.
- Check that back draft dampers work properly.
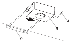
For Non-Vented (Recirculating) Installation Only:
- Assemble the air deflector with the duct cover bracket using four 4.2 x 8 mm screws.
- Assembly screws
- Air deflector
- Duct cover bracket
- Measure from the bottom of the air deflector to the bottom of the hood outlet.
- Air deflector
- Vent clamp
- X = length to cut vent duct
- Vent duct
- Exhaust outlet
- Cut the duct to the measured size "X."
- Remove the air deflector.
- Slide the duct onto the bottom of the air deflector.
- Place the assembled air deflector and duct over the exhaust outlet from the hood.
- Reassemble the air deflector to the duct cover bracket with the four assembly screws.
- Seal connections with vent clamps.
Make Electrical Connection
Electrical Shock Hazard
Disconnect power before servicing.
Replace all parts and panels before operating.
Failure to do so can result in death or electrical shock.
- Disconnect power.
- Remove terminal box cover.
- Remove the knockout in the terminal box cover and install a UL listed or CSA approved 1/2" (13 mm) strain relief.
- Knockout
- Terminal box cover
- Screws (7)
- Run home power supply cable through strain relief into terminal box.
- Home power supply cable
- UL Listed or CSA approved strain relief
- Black wires
- UL Listed wire connectors
- White wires
- Green (or bare) and yellowgreen ground wires
- Use UL Listed wire connectors and connect black wires (C) together.
- Use UL Listed wire connectors and connect white wires (E) together.
Electrical Shock Hazard
Electrically ground blower.
Connect ground wire to green and yellow ground wire in terminal box.
Failure to do so can result in death or electrical shock. - Connect green (or bare) ground wire from home power supply to yellow-green ground wire (F) in terminal box using UL Listed wire connectors.
- Tighten strain relief screw.
- Install terminal box cover.
- Check that all light bulbs are secure in their sockets.
- Reconnect power.
Optional Power Cord Kit Installations
For optional power cord kit installations, follow the instructions supplied with the power cord kit. See the "Assistance or Service" section for information on ordering.
NOTE: Use only with range hood cord connection kits that have been investigated and found acceptable for use with this model range hood.
Install Vent Covers
When using both upper and lower vent covers, push lower cover down onto hood and lift upper cover to ceiling and install with two 4.2 x 8 mm screws.
NOTE: For vented installations the upper vent cover may be reversed to hide slots.

- Upper vent cover
- Lower vent cover
- 4.2 x 8 mm screws
- Bracket
Secure the bottom of the duct with two 4.2 x 8 mm screws.

Complete Installation
- For non-vented (recirculating) installations only, install charcoal filters over grille on blower housing. See the "Range Hood Care" section.
- Install metal filters. See the "Range Hood Care" section.
- Check the operation of the range hood blower and light. See the "Range Hood Use" section.
NOTE: To get the most efficient use from your new range hood, read the "Range Hood Use" section.
RANGE HOOD USE
The range hood is designed to remove smoke, cooking vapors and odors from the cooktop area. For best results, start the hood before cooking and allow it to operate several minutes after the cooking is complete to clear all smoke and odors from the kitchen.
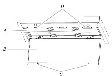
The range hood controls are located on the front side of the canopy.

- Louver holes (non-vented [recirculating] installations only)
- Duct covers
- LED lights (2)
- Perimetric cover
- Metal grease filters (located behind the perimetric cover)
- Canopy
- Halogen light
- Control panel
Control Panel

Controls and Features
NOTES:
- To activate the controls, press and release the desired button.
- The control feature touch will be lit when a control feature is turned on.
Sleep Mode
The range hood automatically enters Sleep Mode when not in use. After 10 minutes of no range hood activity, all of the control button lights will turn off. To deactivate Sleep Mode, press any button.
Auto Sense
Auto Sense allows the range hood fan to turn on automatically when it senses heat higher than its allowable temperature limit. When Auto Sense is on, the fan speed will increase or decrease based on the temperature Auto Sense is measuring.
Auto Sense can be manually increased by pressing a higher fan speed. The fan will run at the selected speed for 10 minutes before returning to the speed selected for Auto Sense.
If Auto Sense is on, the Auto button light will turn off and go into Sleep Mode when the vent hood is not in use. If the vent hood is turned on by the consumer or by Auto Sense, the Auto button light will turn on.
To Set Auto Sense:
Press AUTO.
To Select Auto Sense Cooktop Type:
NOTE: The range hood is factory-set for the gas cooktop mode.
- Press and hold AUTO for 5 seconds to switch between the gas cooktop and electric cooktop modes.
- The Auto button light will flash five times when the range hood is changed to the electric cooktop mode. Auto Sense is now set to work with electric cooktops and ranges.
- The Auto button light will flash three times when the range hood is changed to the gas cooktop mode. Auto Sense is now set to work with gas cooktops and ranges.
- Changing the cooktop type will change the temperature limit for Auto Sense to turn on. When the range hood senses a high enough temperature, the fan will start automatically. When the temperature drops below the set temperature limit, the fan will stop automatically. The Auto button light will turn off after the range hood enters Sleep Mode, but Auto Sense is still active.
To Deactivate Auto Sense:
- If the Auto button is lit, press AUTO once to deactivate Auto Sense. The Auto button light will turn off.
- If Auto Sense is in Sleep Mode, press AUTO once to deactivate Sleep Mode and turn the Auto button light on. Press AUTO again to deactivate Auto Sense and turn off the Auto button light.
- Auto Sense will automatically turn off after 2 hours of no activation of the Auto Sense system. To reset Auto Sense, press AUTO.
Manual Vent Functions
| Fan Speeds | |
| Low | Press LOW to turn the fan on at Low speed. |
| Med | Press MED to turn the fan on at Medium speed. |
| Hi | Press HI to turn the fan on at High speed. |
| Boost | Press BOOST to turn the fan on at the highest speed. Boost will automatically turn off after 10 minutes and the fan will switch to High speed. |
Timer
The range hood can be set to automatically turn off after 15 minutes.
- Press and hold the desired fan speed button for 2 seconds. The fan will run on the chosen speed for 15 minutes, and the fan speed button light will flash continuously. After 15 minutes, the fan will turn off automatically.
- Press the desired fan speed button again while the fan timer is running to cancel the fan timer.
NOTE: Changing the fan speed or turning Auto Sense on will also cancel the 15-minute timer.
Light
The range hood has both task and ambient lighting.
To operate the lights:
- Touch LIGHT ON/OFF once, and the LED task lights will turn on.
- Touch LIGHT ON/OFF again, and the LED task lights will turn off. The ambient lights will turn on.
- Touch LIGHT ON/OFF a third time, and the ambient lights will turn off.
RANGE HOOD CARE
Cleaning
Clean the hood and grease filters frequently according to the following instructions. Replace grease filters before operating hood.
Exterior Surfaces:
To avoid damage to the exterior surface, do not use steel wool or soap-filled scouring pads. Always wipe dry to avoid water marks.
Cleaning Method:
- Liquid detergent soap and water or all-purpose cleanser.
- Wipe with a damp soft cloth or nonabrasive sponge, and then rinse with clean water and wipe dry.
Metal Grease Filter
- Open the stainless steel panel. Grasp panel at the front corners, and then pull down to disengage the two catch pins from the spring catches. The panel is attached at the rear and will rotate down
- Metal filters
- Stainless steel panel
- Catch pins (2)
- Spring catches (2)
- Remove each filter by pulling the spring release handle and then pulling down the filter.
- Spring release handle
- Wash metal filters as needed in dishwasher or hot detergent solution.
- Reinstall the filter by making sure the spring release handles are toward the front. Insert aluminum filter into upper track.
- Push in spring release handle.
- Push up on metal filter, and then release handle to latch into place.
- Repeat steps 1 to 5 for the other filter.
- Close the stainless steel panel. Engage the two pins in the spring catches to secure.
Non-Vented (Recirculating) Installation Filters
The charcoal filter is not washable. It should last up to six months with normal use. Replace with Charcoal Filter Kit. See the "Accessories" section for information on ordering.
To Replace Charcoal Filter:
- Remove metal grease filter from range hood. See "Metal Grease Filter" in this section.
- Bend spring clips away from metal grease filter.
![]()
- Place charcoal filter into top side of metal filter.
- Bend spring clips back into place to secure the charcoal filter to the metal filter.
![]()
- Replace metal grease filter. See "Metal Grease Filter" in this section.
Replacing a Halogen Lamp (Ambient Lighting)
Turn off the range hood and allow the halogen lamp to cool. To avoid damage or decreasing the life of the new lamp, do not touch lamp with bare fingers. Replace lamp, using tissue or wearing cotton gloves to handle lamp.
If new lights do not operate, make sure the lamps are inserted correctly before calling service.
- Disconnect power.
- Using a flat-blade screwdriver, gently pry the light cover loose.
![]()
- Remove the lamp and replace with a 120 V, 40 W maximum, halogen lamp made for a G-9 base.
- Replace the light cover.
- Reconnect power.
Replacing a LED Lamp
The LED lights are replaceable by a service technician only. See the "Warranty" section for service contact information.
WIRING DIAGRAM

ASSISTANCE OR SERVICE
If you need service
Please refer to the warranty page in this manual.
If you need replacement parts
If you need to order replacement parts, we recommend that you use only factory specified parts. Factory specified parts will fit right and work right because they are made with the same precision used to build every new appliance.
To locate factory specified replacement parts in your area, call the following customer assistance telephone number or your nearest designated service center.
In the U.S.A.
Call the KitchenAid Customer eXperience Center toll free: 1-800422-1230 or visit our website at www.kitchenaid.com. Our Consultants Provide Assistance With:
- Scheduling of service. KitchenAid designated service technicians are trained to fulfill the product warranty and provide after-warranty service anywhere in the United States.
- Features and specifications on our full line of appliances.
- Referrals to local dealers.
- Installation information.
- Use and maintenance procedures.
- Accessory and repair parts sales.
- Specialized customer assistance (Spanish speaking, hearing impaired, limited vision, etc.).
For Further Assistance
If you need further assistance, you can write to KitchenAid with any questions or concerns at:
KitchenAid Brand Home Appliances
Customer eXperience Center
553 Benson Road
Benton Harbor, MI 49022-2692
Please include a daytime phone number in your correspondence.
In Canada
Call the Whirlpool Canada LP Customer eXperience Centre toll free: 1-800-807-6777 or visit our website at www.kitchenaid.ca.
Our Consultants Provide Assistance With:
- Scheduling of service. KitchenAid appliances designated service technicians are trained to fulfill the product warranty and provide after-warranty service anywhere in Canada.
- Features and specifications on our full line of appliances.
- Referrals to local dealers.
- Use and maintenance procedures.
- Accessory and repair parts sales.
For Further Assistance
If you need further assistance, you can write to Whirlpool Canada LP with any questions or concerns at:
Customer eXperience Centre Whirlpool Canada LP
200 - 6750 Century Ave.
Mississauga, Ontario L5N 0B7
Please include a daytime phone number in your correspondence.
Accessories
Charcoal Filter Kit
(for non-vented installations only)
Order Part Number W10692910
Recirculation Kit
(for non-vented installations only)
Order Part Number W10692908
Chimney Extension Kit
Order Part Number W10272075
Chimney Extension Kit - Black Stainless
(for black stainless vent hood models KVWB600DBS and KVWB606DBS)
Order Part Number W10750879
6" (15.2 cm) Makeup Air Kit
(consult local building codes)
Order Part Number W10446915
Power Cord Kit
Order Part Number W10613691
In-Line Smart Kit
Order Part Number W10692945
RANGE HOOD SAFETY
Your safety and the safety of others are very important.
We have provided many important safety messages in this manual and on your appliance. Always read and obey all safety messages.
This is the safety alert symbol.
This symbol alerts you to potential hazards that can kill or hurt you and others.
All safety messages will follow the safety alert symbol and either the word "DANGER" or "WARNING." These words mean:
You can be killed or seriously injured if you don't immediately follow instructions.
You can be killed or seriously injured if you don't follow WARNING instructions.
All safety messages will tell you what the potential hazard is, tell you how to reduce the chance of injury, and tell you what can happen if the instructions are not followed.
This product contains one or more chemicals known to the State of California to cause cancer.
This product contains one or more chemicals known to the State of California to cause birth defects or other reproductive harm.


References
Kitchen Appliances to Bring Culinary Inspiration to Life | KitchenAid
Premium Major & Small Kitchen Appliances | KitchenAid
Download manual
Here you can download full pdf version of manual, it may contain additional safety instructions, warranty information, FCC rules, etc.
Download KitchenAid KVWB600DSS - 30" Wall-Mount, 3-Speed Canopy Hood Manual






Need help?
Do you have a question about the KVWB600DSS and is the answer not in the manual?