KitchenAid KMBS104 - 24" Built In Microwave Oven with 1000 Watt Cooking Manual
- 1 PARTS AND FEATURES
- 2 MICROWAVE OVEN CONTROL
- 3 MICROWAVE OVEN USE
- 4 MICROWAVE OVEN CARE
- 5 TROUBLESHOOTING
- 6 ASSISTANCE OR SERVICE
- 7 BUILT-IN MICROWAVE OVEN SAFETY
- 8 IMPORTANT SAFETY INSTRUCTIONS
- 9 PRECAUTIONS TO AVOID POSSIBLE EXPOSURE TO EXCESSIVE MICROWAVE ENERGY
- 10 Electrical Requirements
- 11 GROUNDING INSTRUCTIONS
- 12 References
- 13 Download manual
- 14 In Other Languages

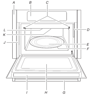
PARTS AND FEATURES
This manual may cover several different models. The model you have purchased may have some or all of the features shown here. The appearance of your particular model may differ slightly from the illustrations in this manual.

- Trim
- Control panel
- Door lock system
- Model and serial number plate
- Glass turntable
- Turntable support, rollers, and hub
- Door handle
- Window
- Cooking guide label
- Frame
- Microwave oven light (inaccessible – in ceiling)
- Microwave inlet cover
Turntable

- Turntable
- Support
- Hub
The turntable can rotate in either direction to help cook food more evenly. For best cooking results, do not operate the microwave oven without having the turntable in place. See the "Assistance or Service" section to reorder any of the parts.
To Install:
- Place the support on the microwave oven cavity bottom.
- Place the turntable on the support.
Fit the raised, curved wedges in the center of the turntable bottom between the 3 spokes of the hub. The rollers on the support should fit inside the turntable bottom ridge.
MICROWAVE OVEN CONTROL

- Dial
Display
When power is first supplied to the microwave oven, a ":" will blink in the display. Touch CANCEL to stop the blinking. If the ":" blinks in the display at any other time, a power failure has occurred. Touch CANCEL and reset the clock if needed. When the microwave oven is in use, the display shows cooking power, quantities, weights, and/or prompts. When the microwave oven is not in use, the display shows the time of day. When the microwave oven is sensing, sensor animation (clockwise "racetrack" movement) will be active in the display.
Start
The Start keypad begins any function. If non-sensor cooking is interrupted, touching START will resume the preset cycle. If sensor cooking is interrupted, touching START will resume the cycle only if the sensor already has estimated the cook time and the countdown is active in the display.
NOTE: To avoid unintentional operation of the microwave oven, a cooking function cannot be started if the microwave oven door has been closed for about 1 minute or more. "DOOR" will appear in the display until the door is opened and closed.
Cancel
The Cancel keypad clears any incorrect command and cancels most functions except for the Control Lock and Demo mode. It will not erase the time of day unless the display is in clocksetting mode. See "Clock" section.
The microwave oven will also turn off when the door is opened. Close the door and touch START to resume the cycle. If sensor cooking is interrupted by opening the door while the sensor is estimating the cook time and the sensor animation is active in the display, the cycle will be canceled.
Add a Minute
The Add a Minute keypad automatically starts the microwave oven at 100% power for 1 minute. Each additional touch of the control will add 1 minute of cook time, up to a total cook time of 10 minutes.
Cook time may be added to a cooking cycle at the current power level by touching ADD A MINUTE. During a manual cooking cycle, each touch of the Add a Minute control will add 1 minute of cook time, up to a total remaining cook time of 10 minutes. The Add a Minute keypad will not add minutes to a cycle that has a remaining cook time of 10 minutes or more.
Dial
Use the dial to select options, set the clock, set cook time and cook power, select food type and amount/weight, and adjust doneness.
To Use: Push dial and release to pop it out. Repeat to return dial to its flush position after each use to avoid breakage of the dial.
Select
Use the Select keypad to select a chosen function and to set the following options:
- Select a setting or food type and go to the next step.
- Set or cancel clock. See the "Clock" section.
- Set weight measurements to oz or lbs.
- Set amount measurements to pieces, cups, or servings.
See the "Meal Prep" sections for details on using the Select keypad with the automatic cooking, reheating, and defrosting programs.
Clock
This is a standard 12-hour clock (12:00-11:59).
To Set:
- Touch and hold SELECT for 5 seconds. "12:00" will appear in the display with the hour (12) flashing. If you are changing the time, the current set time will appear with the hour flashing.
- Turn the dial to set the hour.
- Touch SELECT or START.
The "minutes" digits will flash in the display. - Turn the dial to set the minutes.
- Touch SELECT or START to complete the setting.
To Cancel Clock:
- Touch and hold SELECT for 5 seconds. The clock-setting display will show.
- Touch CANCEL.
The ":" will appear in the display.
The next time the clock is set, "12:00" will appear in the display when the clock-setting mode is entered.
Tones
Tones are audible signals that may be turned off. These tones indicate the following:
One tone
- Valid entry (short tone)
Two tones
- Reminder, repeat each minute after the end-of-cycle tones.
- Hidden feature has been entered or exited.
Three tones
- Invalid entry
- End of cycle
- End of warming cycle
- Between cooking cycle and warming cycle
Five tones
- Error
Demo Mode
The Demo mode is ideal for learning how to use the microwave oven. When set, functions can be entered without actually turning on the magnetron. The microwave oven light will come on, the fan will run, and the turntable will rotate. When the microwave oven is turned on while in Demo mode, "no" and then "HEAt" will appear in the display.
To Turn On/Off: The microwave oven must be OFF. Open the door, then touch and hold COOK for 5 seconds. Three short tones will sound. Repeat to exit Demo mode.
Control Lock
The Control Lock shuts down the control panel keypads to avoid unintended use of the microwave oven.
When the control panel is locked, none of the keypads will function. If a keypad is touched, "LOC" will appear in the display and invalid entry tones will sound.
To Lock/Unlock Control:Before locking, make sure the microwave oven is OFF. Touch and hold CANCEL for 5 seconds until 2 tones sound. Repeat to unlock the keypads.
Cooling Fan
Depending on the length of the cooking cycle, the cooling fan may continue to run after that cycle has ended. This is normal and helps eliminate moisture that may accumulate inside the microwave oven before the door is opened.
While the fan is running, "COOL" will appear in the display. The fan will turn off automatically. New cooking functions may be started while "COOL" is still being displayed.
MICROWAVE OVEN USE
A magnetron in the microwave oven produces microwaves which reflect off the metal floor, walls, and ceiling and pass through the turntable and appropriate cookware to the food. Microwaves are attracted to and absorbed by fat, sugar, and water molecules in the food, causing them to move, producing friction and heat which cooks the food.
- To avoid damage to the microwave oven, do not lean on or allow children to swing on the microwave oven door.
- To avoid damage to the microwave oven, do not operate microwave oven when it is empty.
- Baby bottles and baby food jars should not be heated in microwave oven.
- Clothes, flowers, fruit, herbs, wood, gourds, and paper, including brown paper bags and newspaper, should not be dried in the microwave oven.
- Paraffin wax will not melt in the microwave oven because it does not absorb microwaves.
- Use oven mitts or pot holders when removing containers from microwave oven.
- Do not overcook potatoes. At the end of the recommended cook time, potatoes should be slightly firm. Let potatoes stand for 5 minutes. They will finish cooking while standing.
- Do not cook or reheat whole eggs inside the shell. Steam buildup in whole eggs may cause them to burst, requiring significant cleanup of microwave oven cavity. Cover poached eggs and allow a standing time.
Food Characteristics
When microwave cooking, the amount, size and shape, starting temperature, composition, and density of the food affect cooking results.
Amount of Food
The more food heated at once, the longer the cook time needed. Check for doneness and add small increments of time if necessary.
Size and Shape
Smaller pieces of food will cook more quickly than larger pieces, and uniformly shaped foods cook more evenly than irregularly shaped food.
Room temperature foods will heat faster than refrigerated foods, and refrigerated foods will heat faster than frozen foods.
Composition and Density
Foods high in fat and sugar will reach a higher temperature and will heat faster than other foods. Heavy, dense foods, such as meat and potatoes, require a longer cook time than the same size of a light, porous food, such as cake.
Cooking Guidelines
Covering
Covering food helps retain moisture, shorten cook time, and reduce spattering. Use the lid supplied with cookware. If a lid is not available, wax paper, paper towels, or plastic wrap approved for microwave ovens may be used. Plastic wrap should be turned back at one corner to provide an opening to vent steam. Condensation on the door and cavity surfaces is normal during heavy cooking.
Stirring and Turning
Stirring and turning redistribute heat evenly to avoid overcooking the outer edges of food. Stir from outside to center. If possible, turn food over from bottom to top.
Arranging
If heating irregularly shaped or different-sized foods, arrange the thinner parts and smaller-sized items toward the center. If cooking several items of the same size and shape, place them in a ring pattern, leaving the center of the ring empty.
Piercing
Before heating, use a fork or small knife to pierce or prick foods that have a skin or membrane, such as potatoes, egg yolks, chicken livers, hot dogs, and sausage. Prick in several places to allow steam to vent.
Shielding
Use small, flat pieces of aluminum foil to shield the thin pieces of irregularly shaped foods, bones, and foods such as chicken wings, leg tips, and fish tails. See the "Aluminum Foil and Metal" section first.
Standing Time
Food will continue to cook by the natural conduction of heat even after the microwave cooking cycle ends. The length of standing time depends on the volume and density of the food.
Cookware and Dinnerware
Cookware and dinnerware must fit on the turntable. Always use oven mitts or pot holders when handling because any dish may become hot from heat transferred from the food. Do not use cookware and dinnerware with gold or silver trim. Use the following chart as a guide, then test before using.
| Material | Recommendations |
| Aluminum Foil, Metal | See the "Aluminum Foil and Metal" section. |
| Browning Dish | Bottom must be at least / 3 16 " (5 mm) above the turntable. Follow manufacturer's recommendations. |
| Ceramic Glass, Glass | Acceptable for use |
| China, Earthenware | Follow manufacturer's recommendations. |
| Melamine | Follow manufacturer's recommendations. |
| Paper: Towels, Dinnerware, Napkins | Use nonrecycled and those approved by the manufacturer for microwave oven use. |
| Plastic: Wraps, Bags, Covers, Dinnerware, Containers | Use those approved by the manufacturer for microwave oven use. |
| Pottery and Clay | Follow manufacturer's recommendations. |
| Silicone Bakeware | Follow manufacturer's recommendations. |
| Straw, Wicker, Wooden Containers | Do not use in microwave oven. |
| Wax Paper | Acceptable for use |
To Test Cookware or Dinnerware for Microwave Use:
- Place cookware or dinnerware in microwave oven with 1 cup (250 mL) of water beside it.
- Cook at 100% cooking power for 1 minute. Do not use cookware or dinnerware if it becomes hot and the water stays cool.
Aluminum Foil and Metal
Always use oven mitts or pot holders when removing dishes from the microwave oven.
Aluminum foil and some metal can be used in the microwave oven. If not used properly, arcing (a blue flash of light) can occur and cause damage to the microwave oven.
OK for Use
Racks and bakeware supplied with the microwave oven (on some models), aluminum foil for shielding, and approved meat thermometers may be used with the following guidelines:
- To avoid damage to the microwave oven, do not allow aluminum foil or metal to touch the inside cavity walls, ceiling, or floor.
- Always use the turntable.
- To avoid damage to the microwave oven, do not allow contact with another metal object during microwave cooking.
Do Not Use
Metal cookware and bakeware, gold, silver, pewter, non-approved meat thermometers, skewers, twist ties, foil liners such as sandwich wrappers, staples, and objects with gold or silver trim or a metallic glaze should not be used in the microwave oven.
Microwave Cooking Power
Many recipes for microwave cooking specify which cooking power to use by percent or name. For example, PL7 = 70% = Medium-High.
Use the following chart as a general guide for the suggested cooking power of specific foods.
| Percent/Name | Use |
| 100%, High, PL10 (default setting) | Quick heating convenience foods and foods with high water content, such as soups, beverages, and most vegetables |
| 90%, PL9 | Cooking small, tender pieces of meat, ground meat, poultry pieces, and fish fillets Heating cream soups |
| 80%, PL8 | Heating rice, pasta or stirrable casseroles Cooking and heating foods that need a cook power lower than high, for example, whole fish and meat loaf |
| 70%, Medium-High, PL7 | Reheating a single serving of food |
| 60%, PL6 | Cooking sensitive foods such as cheese and egg dishes, pudding, and custards Cooking non-stirrable casseroles such as lasagna |
| 50%, Medium, PL5 | Cooking ham, whole poultry, and pot roasts Simmering stews |
| 40%, PL4 | Melting chocolate Heating bread, rolls, and pastries |
| 30%, Medium-Low, Defrost, PL3 | Defrosting bread, fish, meats, poultry, and precooked foods |
| 20%, PL2 | Softening butter, cheese, and ice cream |
| 10%, Low, PL1 | Taking chill out of fruit |
Cook Time Set
Cook time may be set in the following increments, in minutes and seconds:
| Increment | Time Setting |
| 0:05 | 0:05-1:00 |
| 0:15 | 1:15-3:00 |
| 0:30 | 3:30-6:00 |
| 1:00 | 7:00-30:00 |
| 5:00 | 35:00-90:00 |
To Use:
- Touch COOK TIME, then turn the dial to desired cook time
OR
touch COOK TIME repeatedly to increase cook time. See chart for time increments.
If cooking at 100% power, skip Step 2. - Touch COOK POWER, then turn the dial to the desired power level
OR
touch COOK POWER repeatedly to increase cook power. - Touch START.
The display will count down the cook time.
When the cycle ends, "END" will appear in the display and the end-of-cycle tones will sound, followed by reminder tones. - Touch CANCEL or open the door to clear the display and/or stop reminder tones.
The cook time may be changed at any time after touching START. The dial may be used to increase or reduce cook time.
The Cook Time keypad will only add time.
Doneness
For most automatic cooking functions, the doneness of a particular food item can be adjusted by turning the dial. Increasing or decreasing the doneness adds time to, or subtracts time, from the cooking cycle.
For up to 20 seconds after cooking has started, turning the dial will change the doneness value. There are 5 settings: default, "2," "1," "-1," and "-2." The display shows "----" for the default setting.
Doneness cannot be adjusted for Defrost functions or for the Popcorn function.
Doneness cannot be decreased for Boneless Chicken Breasts function.
Meal Prep Cook
Times and cooking power have been preset for certain microwavable foods. Use the following chart as a guide.
| Food | No. | Quantity/Instructions |
| Canned Vegetables | 1 | 1 to 4 cups (250 mL to 1 L): Place in microwave-safe container. Cover with plastic wrap and vent. Stir and let stand 2-3 minutes after cooking. |
| Cereal | 2 | 1 to 4 servings: Use instant cereal. Follow instructions on package. Use microwave-safe bowls with high sides. |
| Boneless Chicken Breasts | 3 |
|
| Fresh Vegetables | 4 | 1 to 4 cups (250 mL to 1 L): Place in microwave-safe container. Add 2 to 4 Tbsp (30 to 60 mL) water. Cover with plastic wrap and vent. Stir and let stand 2-3 minutes after cooking. |
| Frozen Entrée | 5 | 10 or 20 oz (283 or 567 g): Remove from package. Loosen cover on 3 sides. If entree is not in microwave-safe container, place on plate, cover with plastic wrap, and vent. |
| Frozen Vegetables | 6 | 1 to 4 cups (250 mL to 1 L): Remove from package. Place in microwave-safe container. Cover with plastic wrap and vent. Stir and let stand 2-3 minutes after cooking. |
| Rice | 7 | 0.5 to 2 cups (125-500 mL) dry rice (Use medium or long grain rice.): Follow measurements on package for ingredient amounts. Place rice and liquid in microwave-safe dish. Cover with loose-fitting lid. Let stand 5 minutes after cooking, or until liquid is absorbed. Stir. |
To Use the Cook Control:
- Touch COOK.
The display will show "1" for the first food type. - Turn the dial or repeatedly touch COOK to scroll through the food types until the number of the desired food type is displayed. See chart.
Wait 5 seconds or touch START or SELECT.
The display will prompt for amount or weight. - Turn the dial to the desired amount or weight.
- Touch START.
Doneness may be adjusted within 20 seconds after touching START by turning the dial.
The display will count down the cook time.
When the cycle ends, "END" will appear in the display, and the end-of-cycle tones will sound, followed by reminder tones. - Touch CANCEL or open the door to clear the display and/or stop reminder tones.
Meal Prep Reheat
Times and cooking power have been preset for reheating specific food types. Use the following chart as a guide.
| Food | No. | Quantity/Instructions |
| Baked Goods | 1 | 1 to 6 pieces, 2 oz (57 g) each:* Place on paper towel. |
| Beverage | 2 | 1 or 2 cups, 8 oz (250 mL) each: Do not cover. The diameter of the cup's opening will affect how the liquid heats. Beverages in cups with smaller openings may heat faster. |
| Casserole (refrigerated) | 3 | 1 to 4 cups (250 mL-1 L): Place in microwave-safe container and cover with plastic wrap. Stir and let stand 2-3 minutes after reheating. |
| Pizza (refrigerated) | 4 | 1 to 3 pieces, 3 oz (85 g) each: Place on paper towel or paper plate. |
| Sauce | 5 | 1 to 4 cups (250 mL to 1 L): Place in microwave-safe container. Cover with plastic wrap and vent. Stir and let stand 2-3 minutes after reheating. |
| Soup | 6 | 1 to 4 cups (250 mL to 1 L): Place in microwave-safe container. Cover with plastic wrap and vent. Stir and let stand 2-3 minutes after reheating. |
* For smaller rolls, 2 rolls may be counted as 1 piece.
To Use the Reheat Control:
- Touch REHEAT.
The display will show "1" for the first food type. - Turn the dial or repeatedly touch REHEAT to scroll through the food types until the number of the desired food type is displayed. See chart.
Wait 5 seconds or touch START or SELECT.
The display will prompt for amount or weight. - Turn the dial to the desired amount or weight.
- Touch START.
Doneness may be adjusted within 20 seconds after touching START by turning the dial.
The display will count down the reheat time. When the cycle ends, "END" will appear in the display and the end-of-cycle tones will sound, followed by reminder tones. - Touch CANCEL or open the door to clear the display and/or stop reminder tones.
To Reheat Manually: Follow instructions in "Cook Time Set" section and use 70% cooking power. See "Microwave Cooking Power" chart.
Meal Prep Defrost
The Automatic Defrost function can be used, or the microwave oven can be manually set to DEFROST.
- Unwrap foods and remove lids (e.g. fruit juice containers) before defrosting.
- Shallow packages will defrost more quickly than deep blocks.
- Separate food pieces as soon as possible during or at the end of cycle for more even defrosting.
- Use small pieces of aluminum foil to shield parts of food such as chicken wings, leg tips and fish tails. See the "Aluminum Foil and Metal" section first.
The Automatic Defrost function should not be used for food left outside the freezer for more than 20 minutes and frozen ready made food.
Times and cooking power have been preset for defrosting certain food types. Use the following chart as a guide.
| Food | No. | Quantity/Instructions |
| Bread (dinner rolls, muffins, buns, bread slices, bread loaf) | 1 | 0.1 to 2.0 lbs (45 to 907 g): Place on paper towel. Do not cover. |
| Fish/Seafood (fillets, steaks, whole shellfish) | 2 | 0.2 to 4.4 lbs (90 g to 2 kg): Remove wrap and place in microwave-safe baking dish Do not cover. |
| Meat (ground, steaks, roasts, stew, chops, ribs) | 3 | 0.2 to 6.6 lbs (90 g to 3 kg): Remove wrap and place in microwave-safe baking dish Do not cover. |
| Poultry (whole chicken, chicken pieces, Cornish hens, turkey breast) | 4 | 0.2 to 6.6 lbs (90 g to 3 kg): Remove wrap and place breastside up in microwave-safe baking dish. Do not cover. |
To Use the Defrost Control:
- Touch DEFROST.
The display will show "1" for the first food type. - Turn the dial or repeatedly touch DEFROST to scroll through the food types until the number of the desired food type is displayed. See chart.
Wait 5 seconds or touch START or SELECT. The display will ask for weight. - Turn the dial to the desired weight.
- Touch START.
The display will count down the defrost time. When the cycle ends, "END" will appear in the display and the end-of-cycle tones will sound, followed by reminder tones. - Touch CANCEL or open the door to clear the display and/or stop reminder tones.
To Defrost Manually: Follow instructions in the "Cook Time Set" section, and use 30% cooking power. See "Microwave Cooking Power" chart.
Sensor Cooking
A sensor in the microwave oven detects humidity released from the food as it heats and adjusts the cook time accordingly.
Many sensor cycles require the covering of foods. Microwavesafe containers or steamers with loose-fitting lids are recommended. The loose-fitting lid allows enough steam to escape to be detected by the sensor. When covering foods with plastic wrap, be sure to leave a large enough vent opening to allow the steam to escape.
"SC" (sensor cook) will appear in the display during sensor cooking.
NOTES:
- The microwave oven should be plugged in for at least 3 minutes.
- The microwave oven cavity and the exterior of the cooking container should be dry.
- The room temperature should not exceed 95°F (35°C).
- If the door is opened while the sensor is detecting moisture (while "SC" appears in the display), sensing will stop and the program will be canceled.
One-Touch Sensor Cooking
A sensor in the microwave oven detects humidity released from the food and automatically sets a cooking time based on the selected pad.
NOTE: During Popcorn function, as with all microwave cooking functions, the microwave oven should be attended at all times. Listen for popping to slow to 1 pop every 1 or 2 seconds, then stop the cycle.
Use the following chart as a guide for the One-Touch keypads.
| Food | Serving Size | Instructions |
| Popcorn* 3.0 to 3.5 oz | (85 to 99 g) or 1.75 oz (50 g) | Pop only one package at a time. |
| Baked Potato | 1 to 4 medium, 10 to 13 oz (283 to 369 g) each, similar in size | Pierce each one several times with a fork. Place on paper towel around turntable edges at least 1" (2.5 cm) apart. Let stand 5 minutes after cooking. |
| Meal Reheat | 1 serving (1 plate), 8 to 16 oz (227 to 454 g) | Place food on plate, cover with plastic wrap, and vent. |
* To avoid damage to the microwave oven, do not use regular paper bags or glassware. For best cooking results, do not try to pop unpopped kernels. Use fresh bags of popcorn for optimal results. Cooking results may vary by brand and fat content. For bag sizes not listed in this section, follow directions on package. If using a microwave popcorn popper, follow manufacturer's instructions.
To Use Baked Potato and Meal Reheat:
- Place item on turntable and close the door.
- Touch BAKED POTATO or MEAL REHEAT.
The microwave oven will automatically turn on. The sensor animation will appear, followed by the estimated remaining cook time.
Doneness may be adjusted during the first 20 seconds of cooking by turning the dial. See "Doneness" section. The remaining cook time may be recalculated several times during cooking. Each time, the sensor animation will appear for several seconds, followed by the new remaining time.
When the cycle ends, "END" will appear in the display and the end-of-cycle tones will sound, followed by reminder tones. - Touch CANCEL or open the door to clear the display and/or stop reminder tones.
To Use Popcorn:
- Place popcorn bag on the turntable, correct side up, as indicated on the package.
- Touch POPCORN.
The display will show "3.0-" followed by "3.5." Turning the dial or touching POPCORN again will change the selection to "1.75." See chart for details. - Touch START.
The sensor animation will appear in the display.
When the cycle ends, "END" will appear in the display and the end-of-cycle tones will sound, followed by reminder tones. - Touch CANCEL or open the door to clear the display and/or stop reminder tones.
Keep Warm
Food Poisoning Hazard
Do not let food sit in oven more than one hour before or after cooking.
Doing so can result in food poisoning or sickness.
Hot cooked food can be kept warm in the microwave oven. The Keep Warm function uses 10% cook power. Keep Warm can be used by itself or can be programmed to follow a cooking cycle.
- Cover plates of food.
- Cover foods that were covered while being cooked.
- For best results, do not cover baked goods such as pastries, pies, turnovers, etc.
To Use (for single cycle):
- Touch KEEP WARM.
The display will show "60:00" which is the maximum default warming time. - Adjust the warming time, if desired, by turning the dial.
- Touch START.
The display will count down the warming time and the Cook Time indicator will flash.
Warming time may be adjusted at any time during the Keep Warm cycle by turning the dial.
The 10% cook power cannot be changed during the Keep Warm cycle.
When the cycle ends, "END" will appear in the display and the end-of-cycle tones will sound, followed by reminder tones. - Touch CANCEL or open the door to clear the display and/or stop reminder tones.
To Set at End of Cycle: During any cooking function, except Popcorn or Defrost, touch KEEP WARM. The Cook Time indicator will flash. Touch START. When the current cooking cycle has ended, the end-of-cycle tones will sound and then the Keep Warm cycle will automatically start. The Cook Time indicator will flash and the display will count down the warming time. Warming time may be adjusted at any time during the countdown. At the end of the Warming cycle, "END" will appear in the display and the end-of-cycle tones will sound, followed by reminder tones. Touch CANCEL or open the door to clear the display and/or stop reminder tones.
To Warm Manually: Follow instructions in "Cook Time Set" section and use 10% cooking power. See "Microwave Cooking Power" chart.
MICROWAVE OVEN CARE
General Cleaning
Before cleaning, make sure all controls are OFF and the microwave oven is cool. Always follow label instructions on cleaning products.
Soap, water, and a soft cloth or sponge are suggested unless otherwise noted.
MICROWAVE OVEN CAVITY
To avoid damage to the microwave oven cavity, do not use soap-filled scouring pads, abrasive cleaners, steel-wool pads, gritty washcloths, or some recycled paper towels.
To avoid damage to stainless steel models, rub in direction of grain.
The area where the microwave oven door and frame touch when closed should be kept clean.
Average soil
- Mild, nonabrasive soaps and detergents:
Rinse with clean water and dry with soft, lint-free cloth.
Heavy soil
- Mild, nonabrasive soaps and detergents:
Heat 1 cup (250 mL) of water for 2 to 5 minutes in microwave oven. Steam will soften soil. Rinse with clean water and dry with soft, lint-free cloth.
Odors
- Lemon juice or vinegar:
Heat 1 cup (250 mL) of water with 1 Tbsp (15 mL) of either lemon juice or vinegar for 2 to 5 minutes in microwave oven.
Microwave Inlet Cover
To avoid arcing and microwave oven damage, the microwave inlet cover (see the "Parts and Features" section) should be kept clean.
- Wipe with wet cloth.
MICROWAVE OVEN DOOR AND EXTERIOR
The area where the microwave oven door and frame touch when closed should be kept clean.
- Mild, nonabrasive soaps and detergents:
Rinse with clean water and dry with soft, lint-free cloth - Glass cleaner and paper towels or nonabrasive plastic scrubbing pad:
Apply glass cleaner to towel, not directly to surface.
Stainless Steel (on some models)
To avoid damage to microwave oven door and exterior, do not use soap-filled scouring pads, abrasive cleaners, steel-wool pads, gritty washcloths, or some paper towels. Rub in direction of grain.
- Stainless steel cleaner (not included):
See "Assistance or Service" section to order. - Vinegar for hard water spots
CONTROL PANEL
To avoid damage to the control panel, do not use abrasive cleaners, steel-wool pads, gritty washcloths, or some paper towels.
Make sure dial is pushed into its flush position.
- Glass cleaner and soft cloth or sponge:
Apply glass cleaner to soft cloth or sponge, not directly onto panel.
TURNTABLE
Replace turntable immediately after cleaning. Do not operate the microwave oven without the turntable in place.
- Mild cleanser and scouring pad
- Dishwasher
TROUBLESHOOTING
First try the solutions suggested here. If you need further assistance or more recommendations that may help you avoid a service cal, visit http://kitchenaid.custhelp.com. Contact us by mail with any questions or concerns at the address below:
KitchenAid Brand Home Appliances
Customer eXperience Centre
553 Benson Road
Benton Harbor, MI 49022-2692
Please include a daytime phone number in your correspondence.
| If you experience | Recommended Solutions |
| Nothing will operate | Check the following:
|
| Microwave oven will not operate | Check the following:
|
| Microwave oven makes humming noise |
|
| Microwave oven door looks wavy |
|
| Turntable will not operate | Check the following:
|
| Turntable alternates rotation directions |
|
| Display shows messages |
|
| Display shows time countdown, but the microwave oven is not operating | Check the following:
|
| Fan running slower than usual |
|
| Cooking times seem too long | Check the following:
|
| Radio, TV, or cordless phone interference | Check the following:
|
ASSISTANCE OR SERVICE
If you need replacement parts:
If you need to order replacement parts, we recommend that you use only factory specified parts. These factory specified parts will fit right and work right because they are made with the same precision used to build every new KitchenAid® appliance.
To locate factory specified parts in your area, call us or your nearest KitchenAid® designated service center.
In the U.S.A.
Call the KitchenAid Customer eXperience Center toll-free: 1-800-422-1230 or visit our website at www.kitchenaid.com.
Our Consultants Provide Assistance With:
- Scheduling of service. KitchenAid designated service technicians are trained to fulfill the product warranty and provide after-warranty service anywhere in the United States.
- Features and specifications on our full line of appliances.
- Referrals to local dealers.
- Installation information.
- Use and maintenance procedures.
- Accessory and repair parts sales.
- Specialized customer assistance (Spanish speaking, hearing impaired, limited vision, etc.).
For Further Assistance
If you need further assistance, you can write to KitchenAid with any questions or concerns at:
KitchenAid Brand Home Appliances
Customer eXperience Center
553 Benson Road
Benton Harbor, MI 49022-2692
Please include a daytime phone number in your correspondence.
Replacement Parts
Turntable
Part Number 8205676
Turntable Support and Rollers
Part Number 8205538
Turntable Hub
Part Number 8205539
Cleaning Supplies
affresh ® Kitchen Appliance Cleaner
Part Number W10355010
affresh ® Stainless Steel Cleaner
Part Number W10355016
affresh ® Stainless Steel Wipes
Part Number W10355049
Heavy Duty Degreaser
Part Number 31552A
BUILT-IN MICROWAVE OVEN SAFETY
Your safety and the safety of others are very important.
We have provided many important safety messages in this manual and on your appliance. Always read and obey all safety messages.
This is the safety alert symbol.
This symbol alerts you to potential hazards that can kill or hurt you and others.
All safety messages will follow the safety alert symbol and either the word "DANGER" or "WARNING." These words mean:
You can be killed or seriously injured if you don't immediately follow instructions.
You can be killed or seriously injured if you don't follow instructions.
All safety messages will tell you what the potential hazard is, tell you how to reduce the chance of injury, and tell you what can happen if the instructions are not followed.
IMPORTANT SAFETY INSTRUCTIONS
When using electrical appliances basic safety precautions should be followed, including the following:
To reduce the risk of burns, electric shock, fire, injury to persons, or exposure to excessive microwave energy:
- Read all instructions before using the microwave oven.
- Read and follow the specific "PRECAUTIONS TO AVOID POSSIBLE EXPOSURE TO EXCESSIVE MICROWAVE ENERGY" found in this section.
- The microwave oven must be grounded. Connect only to properly grounded outlet. See "GROUNDING INSTRUCTIONS" found in the "INSTALLATION INSTRUCTIONS" section.
- Install or locate the microwave oven only in accordance with the provided Installation Instructions.
- Some products such as whole eggs in the shell and sealed containers - for example, closed glass jars - are able to explode and should not be heated in the microwave oven.
- Use the microwave oven only for its intended use as described in the manual. Do not use corrosive chemicals or vapors in the microwave oven. This type of oven is specifically designed to heat, cook, or dry food. It is not designed for industrial or laboratory use.
- As with any appliance, close supervision is necessary when used by children.
- Do not operate the microwave oven if it has a damaged cord or plug, if it is not working properly, or if it has been damaged or dropped.
- The microwave oven should be serviced only by qualified service personnel. Call an authorized service company for examination, repair, or adjustment.
- Do not cover or block any openings on the microwave oven.
- Do not store this microwave oven outdoors. Do not use the microwave oven near water - for example, near a kitchen sink, in a wet basement, near a swimming pool, or similar locations.
- Do not immerse cord or plug in water.
- Keep cord away from heated surfaces.
- Do not let cord hang over edge of table or counter.
- See door surface cleaning instructions in the "Microwave Oven Care" section.
- To reduce the risk of fire in the oven cavity:
- Do not overcook food. Carefully attend the microwave oven when paper, plastic, or other combustible materials are placed inside the oven to facilitate cooking.
- Remove wire twist-ties from paper or plastic bags before placing bags in oven.
- If materials inside the oven ignite, keep oven door closed, turn oven off, and disconnect the power cord, or shut off power at the fuse or circuit breaker panel.
- Do not use the cavity for storage purposes. Do not leave paper products, cooking utensils, or food in the cavity when not in use.
- Liquids, such as water, coffee, or tea are able to be overheated beyond the boiling point without appearing to be boiling. Visible bubbling or boiling when the container is removed from the microwave oven is not always present. THIS COULD RESULT IN VERY HOT LIQUIDS SUDDENLY BOILING OVER WHEN THE CONTAINER IS DISTURBED OR A SPOON OR OTHER UTENSIL IS INSERTED INTO THE LIQUID.
To reduce the risk of injury to persons:- Do not overheat the liquid.
- Stir the liquid both before and halfway through heating it.
- Do not use straight-sided containers with narrow necks.
- After heating, allow the container to stand in the microwave oven for a short time before removing the container.
- Use extreme care when inserting a spoon or other utensil into the container.
- Do not mount over a sink.
- Do not store anything directly on top of the microwave oven when the microwave oven is in operation.
- Oversized foods or oversized metal utensils should not be inserted in the microwave oven as they may create a fire or risk of electric shock.
- Do not clean with metal scouring pads. Pieces can burn off the pad and touch electrical parts involving a risk of electric shock.
- Do not use paper products when appliance is operated in convection, combination, grill or "PAN BROWN" mode.
- Do not store any materials, other than manufacturer's recommended accessories, in this microwave oven when not in use.
- Do not cover racks or any other part of the microwave oven with metal foil. This will cause overheating of the microwave oven.
PRECAUTIONS TO AVOID POSSIBLE EXPOSURE TO EXCESSIVE MICROWAVE ENERGY
- Do not attempt to operate this oven with the door open since open-door operation can result in harmful exposure to microwave energy. It is important not to defeat or tamper with the safety interlocks.
- Do not place any object between the oven front face and the door or allow soil or cleaner residue to accumulate on sealing surfaces.
- Do not operate the oven if it is damaged. It is particularly important that the oven door close properly and that there is no damage to the:
- Door (bent)
- Hinges and latches (broken or loosened)
- Door seals and sealing surfaces.
- The oven should not be adjusted or repaired by anyone except properly qualified service personnel.
State of California Proposition 65 Warnings:
This product contains one or more chemicals known to the State of California to cause cancer.
This product contains one or more chemicals known to the State of California to cause birth defects or other reproductive harm.
Electrical Requirements
Electrical Shock Hazard
Plug into a grounded 3 prong outlet.
Do not remove ground prong.
Do not use an adapter.
Do not use an extension cord.
Failure to follow these instructions can result in death, fire, or electrical shock.
Observe all governing codes and ordinances.
Required:
- A 120-volt, 60 Hz, AC-only, 15- or 20-amp electrical supply with a fuse or circuit breaker.
Recommended:
- A time-delay fuse or time-delay circuit breaker.
- A separate circuit serving only this microwave oven.
GROUNDING INSTRUCTIONS
- For all cord connected appliances: The microwave oven must be grounded. In the event of an electrical short circuit, grounding reduces the risk of electric shock by providing an escape wire for the electric current. The microwave oven is equipped with a cord having a grounding wire with a grounding plug. The plug must be plugged into an outlet that is properly installed and grounded.
Improper use of the grounding plug can result in a risk of electric shock. Consult a qualified electrician or serviceman if the grounding instructions are not completely understood, or if doubt exists as to whether the microwave oven is properly grounded. Do not use an extension cord. If the power supply cord is too short, have a qualified electrician or serviceman install an outlet near the microwave oven. A short power supply cord is provided to reduce the risks resulting from becoming entangled in or tripping over a longer cord.
SAVE THESE INSTRUCTIONS

References
Download manual
Here you can download full pdf version of manual, it may contain additional safety instructions, warranty information, FCC rules, etc.
Download KitchenAid KMBS104 - 24" Built In Microwave Oven with 1000 Watt Cooking Manual
Need help?
Do you have a question about the KMBS104 and is the answer not in the manual?