Makita DA4030, DA4031 - Angle Drill Manual

General Power Tool Safety Warnings
Read all safety warnings and all instructions. Failure to follow the warnings and instructions may result in electric shock, fire and/or serious injury.
Save all warnings and instructions for future reference.
DRILL SAFETY WARNINGS
DO NOT let comfort or familiarity with product (gained from repeated use) replace strict adherence to drill safety rules. If you use this power tool unsafely or incorrectly, you can suffer serious personal injury.
- Use auxiliary handle(s), if supplied with the tool. Loss of control can cause personal injury.
- Hold power tool by insulated gripping surfaces, when performing an operation where the cutting accessory may contact hidden wiring or its own cord. Cutting accessory contacting a "live" wire may make exposed metal parts of the power tool "live" and could give the operator an electric shock.
- Always be sure you have a firm footing. Be sure no one is below when using the tool in high locations.
- Hold the tool firmly.
- Keep hands away from rotating parts.
- Do not leave the tool running. Operate the tool only when hand-held.
- Do not touch the drill bit or the workpiece immediately after operation; they may be extremely hot and could burn your skin.
- Some material contains chemicals which may be toxic. Take caution to prevent dust inhalation and skin contact. Follow material supplier safety data.
SAVE THESE INSTRUCTIONS.
MISUSE or failure to follow the safety rules stated in this instruction manual may cause serious personal injury.
FUNCTIONAL DESCRIPTION
- Always be sure that the tool is switched off and unplugged before adjusting or checking function on the tool.
Switch action (Fig. 1)

- Switch trigger
- Before plugging in the tool, always check to see that the switch trigger actuates properly and returns to the "OFF" position when released.
To start the tool, simply pull the switch trigger. Release the switch trigger to stop.
Reversing switch action (Fig. 2)

- Reversing switch lever
This tool has a reversing switch to change the direction of rotation. Depress the reversing switch lever from the A side for clockwise rotation or from the B side for counterclockwise rotation.
- Always check the rotational direction before operation.
- Use the reversing switch only after the tool comes to acomplete stop. It will damage the tool to change the rotational direction before the tool stops.
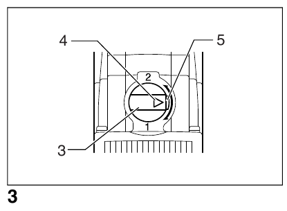
Speed change (Fig. 3)

- Speed change knob
- Pointer
- Lock button
For Model DA4031 only
Two speed ranges can be preselected with the speed change knob.
To change the speed, depress the lock button and turn the speed change knob so that the pointer points to the position 1 for low speed or the position 2 for high speed.
- Use the speed change knob only after the tool comesto a complete stop. Changing the tool speed before the tool stops may damage the tool.
- Always set the speed change knob carefully into thecorrect position. If you operate the tool with the speed change knob positioned halfway between the position 1 and the position 2, the tool may be damaged.
Torque limiter
For Model DA4031 only
The torque limiter will actuate when a certain torque level is reached (for low speed setting: position 1). The motor will disengage from the output shaft. When this happens, the bit will stop turning.
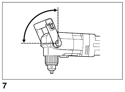
Switch handle mounting positions (Fig. 4)

- Mark
- Motor housing
- Lock button
- Handle
The switch handle can be rotated to either 90° left or right to fit your work needs. First, unplug the tool. Press the lock button and rotate the switch handle until the U mark on the lock button is aligned with that on the motor housing. The switch handle will be locked in that position.
ASSEMBLY
- Always be sure that the tool is switched off and unplugged before carrying out any work on the tool.
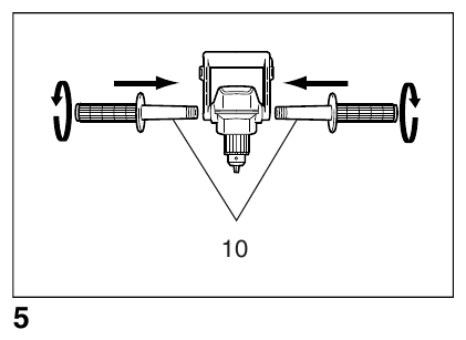
Installing side grip (auxiliary handle) (Fig. 5)

- Side grip
- Always be sure that the side grip is installed securely before operation.
Screw the side grip on the tool securely. The side grip can be installed on either side of the tool, whichever is convenient.
Spade grip (Fig. 6 & 7)


- Spade grip
- Wrench holder
- Hex wrench
The spade grip can be installed in any position as shown in the figure. To change the position, loosen the hex bolts (both sides) with a hex wrench and turn the spade grip to the desired position. Then tighten the hex bolts securely. After reposition the grip, return the hex wrench to the wrench holder.
- Do not fix the spade grip beyond the limits of the arrow. Be cautious that your hand is not caught in the grip. Keep the hand away from the drill chuck. They can lead to serious accidents.
- Always be sure that the hex bolts (both sides) of thespade grip are tightened securely.
Installing or removing drill bit (Fig. 8)

- Chuck key
To install the bit, place it in the chuck as far as it will go. Tighten the chuck by hand. Place the chuck key in each of the three holes and tighten clockwise. Be sure to tighten all three chuck holes evenly.
To remove the bit, turn the chuck key counterclockwise in just one hole, then loosen the chuck by hand. After using the chuck key, be sure to return it to the original position.
OPERATION
Holding tool (Fig. 9 & 10)


- Handle
- Spade grip
- Reaction
- Forward
- Reverse
- This is a powerful tool. High torque is developed and it is important that the tool is securely held and properly braced.
Grasp the switch handle with one hand and the spade grip with the other hand. When drilling a large hole with a self-feed bit, etc., the side grip (auxiliary handle) should be used as a brace to maintain safe control of the tool. When drilling action is forward (clockwise), the tool should be braced to prevent a counterclockwise reaction if the bit should bind. When reversing, brace the tool to prevent a clockwise reaction. If the bit must be removed from a partially drilled hole, be sure the tool is properly braced before reversing.
Drilling operation
Drilling in wood
When drilling in wood, the best results are obtained with wood drills equipped with a guide screw. The guide screw makes drilling easier by pulling the bit into the workpiece.
Drilling in metal
To prevent the bit from slipping when starting a hole, make an indentation with a center-punch and hammer at the point to be drilled. Place the point of the bit in the indentation and start drilling.
Use a cutting lubricant when drilling metals. The exceptions are iron and brass which should be drilled dry.
- Pressing excessively on the tool will not speed up thedrilling. In fact, this excessive pressure will only serve to damage the tip of your bit, decrease the tool performance and shorten the service life of the tool.
- There is a tremendous twisting force exerted on thetool/bit at the time of hole breakthrough. Hold the tool firmly and exert care when the bit begins to break through the workpiece.
- A stuck bit can be removed simply by setting thereversing switch to reverse rotation in order to back out. However, the tool may back out abruptly if you do not hold it firmly.
- Always secure small workpieces in a vise or similarhold-down device.
- Avoid drilling in material that you suspect contains hid-den nails or other things that may cause the bit to bind or break.
MAINTENANCE
- Always be sure that the tool is switched off and unplugged before attempting to perform inspection or maintenance.
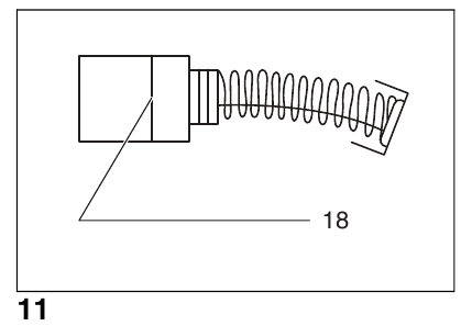
Replacing carbon brushes (Fig. 11 & 12)


- Limit mark
- Screwdriver
- Brush holder cap
Remove and check the carbon brushes regularly. Replace when they wear down to the limit mark. Keep the carbon brushes clean and free to slip in the holders. Both carbon brushes should be replaced at the same time. Use only identical carbon brushes.
Use a screwdriver to remove the brush holder caps. Take out the worn carbon brushes, insert the new ones and secure the brush holder caps.
To maintain product SAFETY and RELIABILITY, repairs, any other maintenance or adjustment should be performed by Makita Authorized Service Centers, always using Makita replacement parts.
ACCESSORIES
- These accessories or attachments are recommendedfor use with your Makita tool specified in this manual. The use of any other accessories or attachments might present a risk of injury to persons. Only use accessory or attachment for its stated purpose.
If you need any assistance for more details regarding these accessories, ask your local Makita service center.
- Drill bits
- Chuck key
- Hex wrench
- Plastic carrying case
For Model DA4031
For European countries only
Noise
The typical A-weighted noise level determined according to EN60745:
Sound pressure level (LpA): 87 dB (A)
Sound power level (LWA): 98 dB (A)
Uncertainty (K): 3 dB (A)
Wear ear protection
Vibration
The vibration total value (tri-axial vector sum) determined according to EN60745:
Work mode: driling into metal
Vibration emission (ah, D): 2.5 m/s2 or less
Uncertainty (K): 1.5 m/s2
- The declared vibration emission value has been mea-sured in accordance with the standard test method and may be used for comparing one tool with another.
- The declared vibration emission value may also beused in a preliminary assessment of exposure.
- The vibration emission during actual use of the powertool can differ from the declared emission value depending on the ways in which the tool is used.
- Be sure to identify safety measures to protect the oper-ator that are based on an estimation of exposure in the actual conditions of use (taking account of all parts of the operating cycle such as the times when the tool is switched off and when it is running idle in addition to the trigger time)
SPECIFICATIONS
| Model | DA4030 | DA4031 |
| Capacities | ||
| Wood | ||
| Augerbit | 38 mm | 38 mm |
| Self-feed bit | 65 mm | High: 65 mm Low: 118 mm |
| Hole saw | — | 152 mm |
| Steel | 13 mm | 13 mm |
| No load speed (min -1 ) | 1,200 | High: 1,200 Low: 300 |
| Overall length | 417 mm | 462 mm |
| Overall length (with an extended spade grip) | 491 mm | 536 mm |
| Net weight | 5.5 kg | 6.3 kg |
| Safety class | /II | /II |
- Due to our continuing program of research and devel-opment, the specifications herein are subject to change without notice.
- Specifications may differ from country to country.
- Weight according to EPTA-Procedure 01/2003
Intended use
The tool is intended for drilling in wood, metal and plastic.
Power supply
The tool should be connected only to a power supply of the same voltage as indicated on the nameplate, and can only be operated on single-phase AC supply. They are double-insulated in accordance with European Standard and can, therefore, also be used from sockets without earth wire.

Download manual
Here you can download full pdf version of manual, it may contain additional safety instructions, warranty information, FCC rules, etc.
Download Makita DA4030, DA4031 - Angle Drill Manual
/II
Need help?
Do you have a question about the DA4030 and is the answer not in the manual?