Makita BTD133, BTD145 - Cordless Impact Driver Manual

Makita BTD133, BTD145 - Cordless Impact Driver Manual

Also See for BTD133:
Makita BTD133, BTD145 - Cordless Impact Driver Manual

SPECIFICATIONS

Device Appearance

Model BTD133 BTD145
Capacities Machine screw 4 mm - 8 mm 4 mm - 8 mm
Standard bolt 5 mm - 14 mm 5 mm - 14 mm
High tensile bolt 5 mm - 12 mm 5 mm - 12 mm
No load speed (min-1) Hammer mode (Hard) 0 - 2,400 0 - 2,600
Hammer mode (Medium) 0 - 1,800 0 - 2,000
Hammer mode (Soft) 0 - 1,100 0 - 1,300
Impacts per minute Hammer mode (Hard) 0 - 3,200 0 - 3,400
Hammer mode (Medium) 0 - 2,600 0 - 2,800
Hammer mode (Soft) 0 - 1,100 0 - 1,300
Overall length With one-touch bit holder 139 mm Without one-touch bit holder 140 mm With one-touch bit holder 139 mm Without one-touch bit holder 140 mm
Net weight (with battery cartridge) 1.4 kg 1.3 kg
Rated voltage D.C.14.4 V D.C18 V
  • Due to our continuing programme of research and development, the specifications herein are subject to change without notice.
  • Specifications and battery cartridge may differ from country to country.
  • Weight, with battery cartridge, according to EPTA-Procedure 01/2003

Intended use
The tool is intended for screw driving in wood, metal and plastic.

Noise
The typical A-weighted noise level determined according to EN60745:

Model BTD133
Sound pressure level (LpA): 92 dB(A)
Sound power level (LWA): 103 dB(A)
Uncertainty (K): 3 dB(A)

Model BTD145
Sound pressure level (LpA): 93 dB(A)
Sound power level (LWA): 104 dB(A)
Uncertainty (K): 3 dB(A)
Wear ear protection

Vibration
The vibration total value (tri-axial vector sum) determined according to EN60745:

Model BTD133
Work mode: impact tightening of fasteners of the maximum capacity of the tool
Vibration emission (ah): 13.0 m/s2
Uncertainty (K): 2.0 m/s2

Model BTD145
Work mode: impact tightening of fasteners of the maximum capacity of the tool
Vibration emission (ah): 12.0 m/s2
Uncertainty (K): 2.0 m/s2

  • The declared vibration emission value has been measured in accordance with the standard test method and may be used for comparing one tool with another.
  • The declared vibration emission value may also be used in a preliminary assessment of exposure.

  • The vibration emission during actual use of the power tool can differ from the declared emission value depending on the ways in which the tool is used.
  • Be sure to identify safety measures to protect the operator that are based on an estimation of exposure in the actual conditions of use (taking account of all parts of the operating cycle such as the times when the tool is switched off and when it is running idle in addition to the trigger time).

FUNCTIONAL DESCRIPTION


  • Always be sure that the tool is switched off and the battery cartridge is removed before adjusting or checking function on the tool.

Installing or removing battery cartridge

  1. Red part
  2. Button
  3. Battery cartridge
  • Always switch off the tool before insertion or removal of the battery cartridge.
  • To remove the battery cartridge, withdraw it from the tool while sliding the button on the front of the cartridge.
  • To insert the battery cartridge, align the tongue on the battery cartridge with the groove in the housing and slip it into place. Always insert it all the way until it locks in place with a little click. If you can see the red part on the upper side of the button, it is not locked completely. Insert it fully until the red part cannot be seen. If not, it may accidentally fall out of the tool, causing injury to you or someone around you.
  • Do not use force when inserting the battery cartridge. If the cartridge does not slide in easily, it is not being inserted correctly.

Switch action

  1. Switch trigger

  • Before inserting the battery cartridge into the tool, always check to see that the switch trigger actuates properly and returns to the "OFF" position when released.

To start the tool, simply pull the switch trigger. Tool speed is increased by increasing pressure on the switch trigger. Release the switch trigger to stop.

NOTE:

  • Continuing to pull the trigger switch for more than 130 seconds will stop the tool.

Lighting up the front lamp


  • Do not look in the light or see the source of light directly.

Every time the light button on the switch panel is pressed, the light status is alternatively changed from the ON to the OFF and from the OFF to the ON.
With the light button in the ON status, pull the switch trigger to turn on the light. To turn off, release it and the light goes out approximately 10 seconds after releasing.
With the light button in the OFF status, even if the trigger is pulled, the lamp will not light on.

  1. Lamp

  1. Light button

NOTE:

  • To make sure the status of light, pull the trigger. When the lamp lights up by pulling the switch trigger, the light switch is in the ON status. When the lamp does not come on, the light switch is in the OFF status.
  • During the operation of switch trigger, the light status cannot be changed.
  • For approximately 10 seconds after releasing the switch trigger, the light status can be switched.

Reversing switch action

This tool has a reversing switch to change the direction of rotation. Depress the reversing switch lever from the A side for clockwise rotation or from the B side for counterclockwise rotation.
When the reversing switch lever is in the neutral position, the switch trigger cannot be pulled.

  1. Reversing switch lever

  • Always check the direction of rotation before operation.
  • Use the reversing switch only after the tool comes to a complete stop. Changing the direction of rotation before the tool stops may damage the tool.
  • When not operating the tool, always set the reversing switch lever to the neutral position.

Changing the hammering force

  1. Changed in three steps
  2. Hard
  3. Medium
  4. Soft
  5. Hammering force button
Hammering force grade displayed on panel Maximum blows Application Work
BTD133 BTD145
Hard
3,200
(min-1)
3,400
(min-1)
Tightening when force and speed are desired. Tightening in underwork material/ Tightening long screws/ Tightening bolts.
Medium
2,600
(min-1)
2,800
(min-1)
Tightening when a good finishing is needed. Tightening in the finishing board, plaster board.
Soft
1,100
(min-1)
1,300
(min -1)
Tightening when excessive tightening need to be avoided because of potentially clogged female screw and broken or damaged screw head. Tightening sash screw/ Tightening small screws such as M6.

The hammering force can be changed in three steps: hard, medium and soft.
This allows a tightening suitable to the work. Every time the hammering force button is pressed, the number of blows changes in three steps.
For approximately one minute after releasing the switch trigger, the hammering force can be changed.

NOTE:

  • When all lamps on the switch panel go out, the tool is turned off to save the battery power. The hammer force grade can be checked by pulling the switch trigger to the extent that the tool does not operate.
  • During the operation of switch trigger, the hammer force grade cannot be changed.

Empty signal for remaining battery capacity

Pulling the trigger switch when the remaining battery capacity becomes very low makes LED indicator flicker. If the tool is used continuously with the LED indicator flickering up and the battery power is almost used up, the LED indicator will light up and the tool itself will stop. Please refer to the following table for the LED indicator status and the remaining battery capacity.

  1. LED indicator
LED indicator status Remaining battery capacity
OFF Enough
Flickering 20%
Lighting on Very low and the tool will stops

NOTE:

  • When all lamps on the switch panel go out, the tool is turned off to save the battery power. The remaining battery capacity can be checked by pulling the switch trigger to the extent that the tool does not operate.
  • All of the lamps on the switch panel go out approximately one minute after releasing the switch trigger.
  • When the tool temperature is high, the LED indicator may flicker or light up.
  • If the LED indicator lights up and the tool stops even with a recharged battery cartridge, cool down the tool temperature fully. When the status is still unchanged, stop using and have the tool repaired by a Makita local service center.

ASSEMBLY


  • Always be sure that the tool is switched off and the battery cartridge is removed before carrying out any work on the tool.

Installing or removing driver bit or socket bit


Use only bits that has inserting portion shown in the figure.

For tool with shallow bit hole

A=12mm
B=9mm
Use only these type of bit. Follow the procedure (1).
(Note) Bit-piece is not necessary.

For tool with deep bit hole

A=17mm
B=14mm
To install these types of bits, follow the procedure (1).
A=12mm
B=9mm
To install these types of bits, follow the procedure (2).
(Note) Bit-piece is necessary for installing the bit.

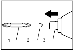
Procedure 1
For tool without one-touch type

To install the bit, pull the sleeve in the direction of the arrow and insert the bit into the sleeve as far as it will go.
Then release the sleeve to secure the bit.

  1. Bit
  2. Sleeve

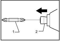
For tool one-touch type
To install the bit, insert the bit into the sleeve as far as it will go.

Procedure 2
In addition to the procedure(1) above, insert the bit-piece into the sleeve with its pointed end facing in.

To remove the bit, pull the sleeve in the direction of the arrow and pull the bit out.

  1. Bit
  2. Bit-piece
  3. Sleeve

NOTE:

  • If the bit is not inserted deep enough into the sleeve, the sleeve will not return to its original position and the bit will not be secured. In this case, try re-inserting the bit according to the instructions above.
  • When it is difficult to insert the bit, pull the sleeve and insert it into the sleeve as far as it will go.
  • After inserting the bit, make sure that it is firmly secured. If it comes out, do not use it.

Hook

The hook is convenient for temporarily hanging the tool.
This can be installed on either side of the tool.
To install the hook, insert it into a groove in the tool housing on either side and then secure it with a screw. To remove, loosen the screw and then take it out.

  1. Groove
  2. Hook
  3. Screw

OPERATION

The proper fastening torque may differ depending upon the kind or size of the screw/bolt, the material of the workpiece to be fastened, etc. The relation between fastening torque and fastening time is shown in the figures.


Hold the tool firmly and place the point of the driver bit in the screw head. Apply forward pressure to the tool to the extent that the bit will not slip off the screw and turn the tool on to start operation.

NOTE:

  • Use the proper bit for the head of the screw/bolt that you wish to use.
  • When fastening screw M8 or smaller, choose a proper hammer force and carefully adjust pressure on the switch trigger so that the screw is not damaged.
  • Hold the tool pointed straight at the screw.
  • If the hammering force is too strong you tighten the screw for a time longer than shown in the figures, the screw or the point of the driver bit may be overstressed, stripped, damaged, etc. Before starting your job, always perform a test operation to determine the proper fastening time for your screw.

The fastening torque is affected by a wide variety of factors including the following. After fastening, always check the torque with a torque wrench.

  1. When the battery cartridge is discharged almost completely, voltage will drop and the fastening torque will be reduced.
  2. Driver bit or socket bit
    Failure to use the correct size driver bit or socket bit will cause a reduction in the fastening torque.
  3. Bolt
    • Even though the torque coefficient and the class of bolt are the same, the proper fastening torque will differ according to the diameter of bolt.
    • Even though the diameters of bolts are the same, the proper fastening torque will differ according to the torque coefficient, the class of bolt and the bolt length.
  4. The manner of holding the tool or the material of driving position to be fastened will affect the torque.
  5. Operating the tool at low speed will cause a reduction in the fastening torque.

MAINTENANCE


  • Always be sure that the tool is switched off and the battery cartridge is removed before attempting to perform inspection or maintenance except for the following troubleshooting related to the light.

Cleaning
From time to time wipe off the outside (tool body) of the tool using a cloth dampened in soapy water.


  • Never use gasoline, benzine, thinner, alcohol or the like. Discoloration, deformation or cracks may result.

Troubleshooting

Trouble Light status/LED indicator status/tool status Steps to be taken

The tool stops during operation

LED indicator for empty signal for remaining battery capacity lights up. Remaining battery capacity level is low.
Charge the battery cartridge.
When the LED indicator still lights up even after charging the battery cartridge, the tool temperature is high.
Cool down it fully. The tool restarts after its temperature becomes low.
When the status is still unchanged, stop using and have the tool repaired by a Makita local service center.
Light flickers once per second. The tool temperature is high. Cool down it fully. The tool restarts after its temperature becomes low.
Light flickers five times per second. Use the tool with the motor not locked. (When the tool has stopped due to the motor locking, withdraw the battery cartridge one time and then insert it again or release the switch trigger for more than 60 seconds to restart the tool.)
If the motor still remains locked, stop using and have the tool repaired by a Makita local service center.
Switch trigger has been pulled continuously for more than 130 seconds. Release the switch trigger.
Other Symptoms Stop using and have the tool repaired by a Makita local service center.

To maintain product SAFETY and RELIABILITY, repairs, any other maintenance or adjustment should be performed by Makita Authorized Service Centers, always using Makita replacement parts.

ACCESSORIES


  • These accessories or attachments are recommended for use with your Makita tool specified in this manual. The use of any other accessories or attachments might present a risk of injury to persons. Only use accessory or attachment for its stated purpose.

If you need any assistance for more details regarding these accessories, ask your local Makita Service Center.

  • Screw bits
  • Hook
  • Plastic carrying case
  • Various type of Makita genuine batteries and chargers
  • Bit-piece

General Power Tool Safety Warnings

burn hazardburn hazard
Read all safety warnings and all instructions. Failure to follow the warnings and instructions may result in electric shock, fire and/or serious injury.
Save all warnings and instructions for future reference.

DEVICE SAFETY WARNINGS

  1. shock hazard Hold power tool by insulated gripping surfaces, when performing an operation where the fastener may contact hidden wiring. Fasteners contacting a "live" wire may make exposed metal parts of the power tool "live" and could give the operator an electric shock.
  2. Always be sure you have a firm footing. Be sure no one is below when using the tool in high locations.
  3. Hold the tool firmly.
  4. Wear ear protectors.

SAVE THESE INSTRUCTIONS.


DO NOT let comfort or familiarity with product (gained from repeated use) replace strict adherence to safety rules for the subject product.
MISUSE or failure to follow the safety rules stated in this instruction manual may cause serious personal injury.

IMPORTANT SAFETY INSTRUCTIONS FOR BATTERY CARTRIDGE

  1. Before using battery cartridge, read all instructions and cautionary markings on:
    1. battery charger,
    2. battery, and
    3. product using battery.
  2. Do not disassemble battery cartridge.

  3. If operating time has become excessively shorter, stop operating immediately. It may result in a risk of overheating, possible burns and even an explosion.
  4. If electrolyte gets into your eyes, rinse them out with clear water and seek medical attention right away. It may result in loss of your eyesight.
  5. Do not short the battery cartridge:
    1. Do not touch the terminals with any conductive material.
    2. Avoid storing battery cartridge in a container with other metal objects such as nails, coins, etc.
    3. Do not expose battery cartridge to water or rain.


A battery short can cause a large current flow, overheating, possible burns and even a breakdown.

  1. Do not store the tool and battery cartridge in locations where the temperature may reach or exceed 50C (122F).
  2. Do not incinerate the battery cartridge even if it is severely damaged or is completely worn out. The battery cartridge can explode in a fire.
  3. Be careful not to drop or strike battery.
  4. Do not use a damaged battery.

SAVE THESE INSTRUCTIONS.

Tips for maintaining maximum battery life

  1. Charge the battery cartridge before completely discharged.
    Always stop tool operation and charge the battery cartridge when you notice less tool power.
  2. Never recharge a fully charged battery cartridge.
    Overcharging shortens the battery service life.
  3. Charge the battery cartridge with room temperature at 10C - 40C (50F - 104F).
    Let a hot battery cartridge cool down before charging it.

EC Declaration of Conformity

Tomoyasu Kato
Director
Makita Corporation
3-11-8, Sumiyoshi-cho,
Anjo, Aichi, 446-8502, JAPAN

Documents / Resources

Download manual

Here you can download full pdf version of manual, it may contain additional safety instructions, warranty information, FCC rules, etc.

Download Makita BTD133, BTD145 - Cordless Impact Driver Manual

Available languages

Need help?

Need help?

Do you have a question about the BTD133 and is the answer not in the manual?

Questions and answers

Table of Contents