KitchenAid KSMFGA Food Grinder Attachment Manual

KitchenAid KSMFGA Food Grinder Attachment Manual

Also See for KSMFGA:
KitchenAid KSMFGA Food Grinder Attachment Manual

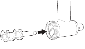
FOOD GRINDER PARTS AND FEATURES

PARTS AND ACCESSORIES

Parts and Accessories

  1. Food Pusher
  2. Removable Tray
  3. Main Housing
  4. Grind Screw
  5. Blade
  6. Coarse (6 mm) Grinding Plate
  7. Fine (4.5 mm) Grinding Plate
  8. Collar

FOOD GRINDER ATTACHMENT SAFETY

Your safety and the safety of others are very important.
We have provided many important safety messages in this manual and on your appliance. Always read and obey all safety messages

warning This is the safety alert symbol/
This symbol alerts you to potential hazard that can kill or hurt you and others.
All safety messages will follow the safety alert symbol and either the word "DANGER" or "WARNING." These words mean:


You can be killed or seriously injured if you don't immediately follow instructions.

You can be killed or seriously injured if you don't follow instructions

All safety messages will tell you what the potential hazard is, tell you how to reduce the chance of injury, and tell you what can happen if the instructions are not followed.

IMPORTANT SAFEGUARDS

When using electrical appliances, basic safety precautions should always be followed, including the following:

  1. Read all instructions.
  2. Turn the Stand Mixer OFF (and detach the Food Grinder attachment from the Stand Mixer) after each use of the attachment and before cleaning. Make sure motor stops completely before disassembling.
  3. This appliance is not intended for use by persons (including children) with reduced physical, sensory, or mental capabilities, or lack of experience or knowledge, unless they are closely supervised and instructed concerning use of the appliance by a person responsible for their safety. Close supervision is necessary when any appliance is used by or near children. Children should be supervised to ensure that they do not play with the appliance.
  4. Avoid contacting moving parts. Keep fingers out of discharge opening.
  5. burn hazardshock hazard
    The use of attachments not recommended or sold by KitchenAid may cause fire, electric shock, or injury.
  6. Never feed food by hand. Always use the food pusher.
  7. Blades are sharp. Handle carefully.
  8. Do not use fingers to scrape food away from discharge disc while appliance is operating. Cut-type injury may result.
  9. Also see the Important Safeguards section included in the Stand Mixer Use and Care guide.

SAVE THESE INSTRUCTIONS
This product is designed for household use only.

USING THE FOOD GRINDER ATTACHMENT

GUIDE TO GRINDING

NOTE: None of the parts and accessories of this KitchenAid® Food Grinder attachment (model KSMFGA) are compatible with the parts and accessories of the KitchenAid® Metal Food Grinder Attachment or previous KitchenAid® Food Grinder Attachment (models KSMMGA, FGA, SSA, FVSP, FVSFGA, FPPA, KSMFPPA, GSSA, KSMGSSA, KN12AP) and vice versa.

USE THESE PARTS WITH THESE PARTS SUGGESTED USES SPEED
Fine (4.5 mm) Grinding Plate Blade Cooked meats for spreads, hard cheeses (e.g. Parmesan), bread crumbs). 4
Coarse (6 mm) Grinding Plate Blade Raw meats for burgers and chili, vegetables for salsas and sauces 4

ASSEMBLING THE FOOD GRINDER ATTACHMENT

Before first use, clean all parts and accessories (see "Care and Cleaning" section).

  1. Insert the Grind Screw into the Main Housing.
  2. Place the Blade over the end of the Grind Screw. The Blade should fit entirely inside the Housing. If it doesn't, pull it off, turn it over, and place it again.

    Make sure the sharp side of the Blade is facing out.
  3. Place the desired Grinding Plate over the Blade, matching the notch of the plate with the tab on the bottom of the Main Housing.
  4. Place the Collar on the Main Housing, turning clockwise by hand until secured but not tightened.

ASSEMBLING THE FOOD GRINDER ATTACHMENT TO THE STAND MIXER

  1. Turn the Stand Mixer off and unplug.
  2. For Stand Mixers with a hinged attachment hub cover: Flip up to open.
    For Stand Mixers with a removable attachment hub cover: Turn the attachment knob counterclockwise to remove attachment hub cover.
  3. Insert the attachment shaft Housing into the attachment hub, making certain the power shaft fits into the square hub socket. If necessary, rotate the attachment back and forth. The pin on the attachment Housing will fit into the notch of the hub rim when in the proper position.
  4. Tighten the Stand Mixer attachment hub knob clockwise until the attachment is completely secured to the Stand Mixer.

GRINDING WITH THE FOOD GRINDER

  1. Cut food into small strips or pieces sized to fit into the feed tube.
  2. Turn the Stand Mixer to Speed 4 and feed food into the feed tube using the food pusher.



Rotating Blade Hazard
Always use food pusher.
Keep fingers out of openings.
Keep away from children.
Failure to do so can result in amputation or cuts.

TIPS FOR GREAT RESULTS

To grind bread for crumbs, be sure that bread is either oven-dried thoroughly to remove all moisture, or not dried at all. Partially dried bread may jam the Food Grinder attachment.

NOTE: Very hard, dense foods such as completely dried homemade bread should not be ground in the Food Grinder attachment. Homemade bread should be ground fresh and then oven- or air-dried.

FOR DETAILED INFORMATION ON USING THE FOOD GRINDER ATTACHMENT
Visit www.kitchenaid.com/quickstart for additional instructions with videos, inspiring recipes, and tips on how to use your Food Grinder attachment.

CARE AND CLEANING

  1. The following parts are dishwasher-safe, top rack only: Collar, Removable Tray, and Food Pusher.
  2. The following parts should be hand-washed only, using warm, soapy water and drying thoroughly: Main Housing, Grind Screw, Grinding Plates, and Blade.

FOR DETAILED INFORMATION ON CLEANING THE FOOD GRINDER ATTACHMENT

Visit www.kitchenaid.com/quickstart for additional instructions with videos, inspiring recipes, and tips on how to clean your Food Grinder attachment.

WARRANTY AND SERVICE

KITCHENAID FOOD GRINDER ATTACHMENT WARRANTY FOR THE 50 UNITED STATES, THE DISTRICT OF COLUMBIA, PUERTO RICO, AND CANADA

This warranty extends to the purchaser and any succeeding owner for Food Grinder attachments operated in the 50 United States, the District of Columbia, Puerto Rico, and Canada.

Length of Warranty: One Year Full Warranty from date of purchase.

Call the Customer eXperience Center toll-free at 1-800-541-6390.

Documents / Resources

References

Download manual

Here you can download full pdf version of manual, it may contain additional safety instructions, warranty information, FCC rules, etc.

Download KitchenAid KSMFGA Food Grinder Attachment Manual

Available languages

Need help?

Need help?

Do you have a question about the KSMFGA and is the answer not in the manual?

Questions and answers

Table of Contents