Frigidaire Compact Refrigerator FFPS4533UM Manual
- 1 IMPORTANT SAFETY INSTRUCTIONS
- 2 FEATURES AT A GLANCE
- 3 INSTALLATION
- 4 DOOR REMOVAL/REVERSAL INSTRUCTIONS
- 5 CONTROLS
- 6 OPTIONAL FEATURES
- 7 CARE & CLEANING
-
8
TROUBLESHOOTING
- 8.1 Refrigerator does not run.
- 8.2 Freezer temperature is colder than preferred. Refrigerator temperature is satisfactory.
- 8.3 Refrigerator temperature is too cold. Freezer temperature is satisfactory.
- 8.4 Freezer temperature is warmer than preferred. Refrigerator temperature is satisfactory.
- 8.5 Refrigerator temperature is too warm. Freezer temperature is satisfactory.
- 8.6 Refrigerator is noisy or vibrates.
- 8.7 Odors in refrigerator.
- 8.8 Cabinet light not working.
- 9 WARRANTY
- 10 References
- 11 Download manual
- 12 In Other Languages

IMPORTANT SAFETY INSTRUCTIONS
Please read all instructions before using this refrigerator.
For your Safety
- DO NOT store or use gasoline, or other flammable liquids in the vicinity of this or any other appliance. Read product labels for warnings regarding flammability and other hazards.
- DO NOT operate the refrigerator in the presence of explosive fumes.
- Avoid contact with any moving parts of automatic ice maker.
- Remove all staples from the carton. Staples can cause severe cuts, and also destroy finishes if they come in contact with other appliances or furniture.
Definitions
This is the safety alert symbol. It is used to alert you to potential personal injury hazards. Obey all safety messages that follow this symbol to avoid possible injury or death.
DANGER indicates an imminently hazardous situation which, if not avoided, will result in death or serious injury.
WARNING indicates a potentially hazardous situation which, if not avoided, could result in death or serious injury.
CAUTION indicates a potentially hazardous situation which, if not avoided, may result in minor or moderate injury.
IMPORTANT indicates installation, operation or maintenance information which is important but not hazard-related.
DANGER Risk of fire or explosion. Flammable refrigerant used. Do not use mechanical devices to defrost refrigerator. Do not puncture refrigerant tubing.
DANGER Risk of fire or explosion. Flammable refrigerant used. To be repaired only by trained service personnel. Do not puncture refrigerant tubing.
CAUTION Risk of fire or explosion. Flammable refrigerant used. Consult repair manual/owner's guide before attempting to service this product. All safety precautions must be followed.
CAUTION Risk of fire or explosion. Dispose of property in accordance with federal or local regulations. Flammable refrigerant used.
CAUTION Risk of fire or explosion due to puncture of refrigerant tubing. Follow handling instructions carefully. Flammable refrigerant used.
CFC/HCFC Disposal
Your old refrigerator may have a cooling system that used CFCs or HCFCs (chlorofluorocarbons or hydrochlorofluorocarbons). CFCs and HCFCs are believed to harm stratospheric ozone if released to the atmosphere. Other refrigerants may also cause harm to the environment if released to the atmosphere.
If you are throwing away your old refrigerator, make sure the refrigerant is removed for proper disposal by a qualified technician. If you intentionally release refrigerant, you may be subject to fines and imprisonment under provisions of environmental legislation.
WARNING! CALIFORNIA RESIDENTS Cancer and Reproductive Harm www.P65Warnings.ca.gov
Child Safety
Destroy or recycle the carton, plastic bags, and any exterior wrapping material immediately after the refrigerator is unpacked. Children should never use these items to play. Cartons covered with rugs, bedspreads, plastic sheets or stretch wrap may become airtight chambers, and can quickly cause suffocation.
Proper Disposal of your Refrigerator or Freezer
Risk of child entrapment
Child entrapment and suffocation are not problems of the past. Junked or abandoned refrigerators or freezers are still dangerous – even if they will sit for "just a few days". If you are getting rid of your old refrigerator or freezer, please follow the instructions below to help prevent accidents.
Proper Disposal of Refrigerators/Freezers
We strongly encourage responsible appliance recycling/disposal methods. Check with your utility company or visit www.energystar.gov/recycle for more information on recycling your old refrigerator.
Before you throw away your old refrigerator/freezer:
- Remove doors.
- Leave shelves in place so children may not easily climb inside.
- Have refrigerant removed by a qualified service technician.

These guidelines must be followed to ensure that safety mechanisms in this refrigerator will operate properly.
Electrical information
- The refrigerator must be plugged into its own dedicated 115 Volt, 60 Hz., 15 Amp, AC only electrical outlet. The power cord of the appliance is equipped with a threeprong grounding plug for your protection against electrical shock hazards. It must be plugged directly into a properly grounded three prong receptacle. The receptacle must be installed in accordance with local codes and ordinances. Consult a qualified electrician. Avoid connecting refrigerator to a Ground Fault Interrupter (GFI) circuit. Do not use an extension cord or adapter plug.
- If the power cord is damaged, it should be replaced by an authorized service technician to prevent any risk.
- Never unplug the refrigerator by pulling on the power cord. Always grip the plug firmly, and pull straight out from the receptacle to prevent damaging the power cord.
- Unplug the refrigerator before cleaning and before replacing a light bulb to avoid electrical shock.
- Performance may be affected if the voltage varies by 10% or more. Operating the refrigerator with insufficient power can damage the compressor. Such damage is not covered under your warranty.
- Do not plug the unit into an electrical outlet controlled by a wall switch or pull cord to prevent the refrigerator from being turned off accidentally.

FEATURES AT A GLANCE
Features may vary according to model


INSTALLATION
This Use & Care Guide provides general operating instructions for your model. Use the refrigerator only as instructed in this Use & Care Guide. Before starting the refrigerator, follow these important first steps.
Location
- Choose a place that is near a grounded electrical outlet. Do Not use an extension cord or an adapter plug.
- If possible, place the refrigerator out of direct sunlight and away from the range, dishwasher or other heat sources.
- The refrigerator must be installed on a floor that is level and strong enough to support a fully loaded refrigerator.
Do not install the refrigerator where the surrounding air temperature may fall to 50°F (10°C) or below. The refrigerator compartment contents may freeze. Do not install the refrigerator where the surrounding air temperature may reach 110°F (43°C) or above. The refrigerator and freezer compartments may rise to above normal operating temperatures.
Do not block the lower front of your refrigerator. Sufficient air circulation is essential for the proper operation of your refrigerator. Installation Installation clearances
- Allow the following clearances for ease of installation, proper air circulation, and plumbing and electrical connections:
Sides & Top 3 inches
Back 4 inches
Leveling
Guidelines for final positioning of your refrigerator:
- All four corners of the cabinet must rest firmly on the floor.
- The cabinet should be level at the front and rear.
To level the cabinet using the front leveling feet:
- Lower the leveling feet on each side clockwise until they contact the floor.

- Use the leveling feet (located on the front) ensure that all 4 corners of the unit are resting firmly on a solid floor. Turn the leveling feet clockwise to retract the feet and counterclockwise to extend the feet. Ensure the floor is strong enough to support a fully loaded unit.
DOOR REMOVAL/REVERSAL INSTRUCTIONS
NOTE: The direction in which your refrigerator doors open (door swing) can be reversed, from left to right or right to left, by moving the door hinges from one side to the other. Reversing the door swing should be performed by a qualified person.
Before you begin, turn the refrigerator temperature control to "OFF" and remove the electrical power cord from the wall outlet. Remove any food from door shelves.
Door removal and reversal instructions for Model FFPA3322UM
- Ensure the unit is unplugged and empty.
- All parts removed must be saved for reinstallation of the door.
- Do not lay the unit flat as this may damage the coolant system.
- It is better that 2 people handle the unit during assembly.
- Remove the hinge cover and the upper hinge. Remove the hinge hole cover from the top left side of the cabinet. Remove the door from the cabinet.
- Remove the hinge hole cover from the top left side of the door and install it in the hinge hole on the top right side of the door.
- Remove both feet. Remove the lower hinge from the cabinet. The lower hinge must be turned over before being reinstalled.
- Install the lower hinge on the left side of the cabinet. Install the door on the cabinet.
- Before tightening the screws on the upper hinge, ensure that the top of the door is level with the cabinet and that the rubber gasket is making a good seal. Install both feet. Install the screw hole cover on the top right side of the cabinet.
Door removal and reversal instructions for Models FFPA4422UM and FFPA4422UU
- Ensure the unit is unplugged and empty.
- All parts removed must be saved for reinstallation of the door.
- Do not lay the unit flat as this may damage the coolant system.
- It is better that 2 people handle the unit during assembly.
- Remove the hinge cover and the upper hinge. Remove the hinge hole cover from the top left side of the cabinet. Remove the door from the cabinet.
- Remove the hinge hole cover from the top left side of the door and install it in the hinge hole on the top right side of the door.
- Remove both feet. Remove the lower hinge from the cabinet. The lower hinge must be turned over before being reinstalled.
- Install the lower hinge on the left side of the cabinet. Install the door on the cabinet.
- Before tightening the screws on the upper hinge, ensure that the top of the door is level with the cabinet and that the rubber gasket is making a good seal. Install both feet. Install the screw hole cover on the top right side of the cabinet.
Door removal and reversal instructions for Model FFPS3133UU
- Ensure the unit is unplugged and empty.
- All parts removed must be saved for reinstallation of the door.
- Do not lay the unit flat as this may damage the coolant system.
- It is better that 2 people handle the unit during assembly.
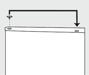
- Remove the hinge cover and the upper hinge. Remove the hinge hole cover from the top left side of the cabinet. Remove the freezer door from the cabinet.
- Remove the central hinge from the middle of the cabinet. Remove the refrigerator door from the cabinet. Remove the screw hole cover from the left side of the cabinet and install it in the screw holes on the right side of the cabinet.
- Remove the hinge hole covers from the top left side of the freezer and refrigerator doors and install them in the hinge holes on the top right side of both doors.
- Remove both feet. Remove the lower hinge from the cabinet. The lower hinge must be turned over before being reinstalled.
- Install the lower hinge on the left side of the cabinet. Install the refrigerator door and central hinge. Before tightening the screws on the central hinge, ensure that the top of the refrigerator door is level with the cabinet and that the rubber gasket is making a good seal. Install both feet.
- Install the freezer door. Install the upper hinge on the top left side of the cabinet. Before tightening the screws on the upper hinge, ensure that the top of the freezer door is level with the cabinet and that the rubber gasket is making a good seal. Install the screw hole cover on the top right side of the cabinet.
![Frigidaire - FFPS4533UM - Door removal and reversal instructions for Model FFPS3133UU Step 6 Door removal and reversal instructions for Model FFPS3133UU Step 6]()
Door removal and reversal instructions for Model FFPS4533UU
- Ensure the unit is unplugged and empty.
- All parts removed must be saved for reinstallation of the door.
- Do not lay the unit flat as this may damage the coolant system.
- It is better that 2 people handle the unit during assembly.
- Remove the hinge cover and the upper hinge. Remove the hinge hole cover from the top left side of the cabinet. Remove the freezer door from the cabinet.
- Remove the central hinge from the middle of the cabinet. Remove the refrigerator door from the cabinet. Remove the screw hole cover from the left side of the cabinet and install it in the screw holes on the right side of the cabinet.
- Remove the hinge hole covers from the top left side of the freezer and refrigerator doors and install them in the hinge holes on the top right side of both doors.
- Remove both feet. Remove the lower hinge from the cabinet. The lower hinge must be turned over before being reinstalled.
- Install the lower hinge on the left side of the cabinet. Install the refrigerator door and central hinge. Before tightening the screws on the central hinge, ensure that the top of the refrigerator door is level with the cabinet and that the rubber gasket is making a good seal. Install both feet.
- Install the freezer door. Install the upper hinge on the top left side of the cabinet. Before tightening the screws on the upper hinge, ensure that the top of the freezer door is level with the cabinet and that the rubber gasket is making a good seal. Install the screw hole cover on the top right side of the cabinet.
CONTROLS
Cool Down Period
For best performance, allow 4 hours for the refrigerator to cool down completely. The refrigerator will run continuously for the first several hours.
Temperature Control
The temperature control is located inside the refrigerator compartment of the unit. The temperature is factory preset to provide satisfactory food storage temperatures. However, the temperature control is adjustable to provide a range of temperatures for your personal satisfaction.
To adjust the temperature colder, turn the control knob toward the higher number setting. After each movement, allow 24 hours for the unit to adjust. If the unit is still not cold enough, repeat until desired temperature is achieved. After each movement of the control knob, allow the unit to adjust for 24 hours.
To adjust the temperature warmer, turn the control knob toward the lower number setting. After each movement, allow 24 hours for the unit to adjust. If the unit is still not warm enough, repeat until desired temperature is achieved. After each movement of the control knob, allow the unit to adjust for 24 hours.


OPTIONAL FEATURES
Do not clean glass shelves or covers with warm water when they are cold. Shelves and covers may break if exposed to sudden temperature changes or impact, such as bumping. Tempered glass is designed to shatter into many small, pebble-size pieces. This is normal. Glass shelves and covers are heavy. Use both hands when removing them to avoid dropping.
Shelf Adjustment
Refrigerator shelves are easily adjusted to suit individual needs. Before adjusting the shelves, remove all food.
To adjust shelves:
- Remove shelf by raising the back of the shelf out of side rail, then continue to remove shelf by pulling forward.
- To replace shelf, rest side edges on any pair of shelf rails and carefully push shelf back into position and engage in the side rail stop.

Glass Shelf
Door storage
Door bins, shelves, and racks are provided for convenient storage of jars, bottles, and cans. Frequently used items can be quickly selected. The dairy compartment, which is warmer than the general food storage section, is intended for short term storage of cheese, spreads, or butter.
Defrosting Your Refrigerator (some models)
- To defrost the refrigerator, remove all food and objects from the refrigerator.
- Ensure the drip pan is in place under the freezer compartment.
- Unplug the unit and ensure the cord is in a safe, dry location.
- The defrost process may take a few hours. To speed up the defrost time, keep the door open and place a bowl of warm water in the refrigerator. Never use sharp objects to remove the frost.
- During the defrost cycle, water will accumulate in the drip tray. The drip tray may need to be emptied during the defrost cycle. Do not leave unattended.
- After defrosting is complete, empty and wipe down the drip tray as well as the interior of the refrigerator.
- Reset the refrigerator to the desired temperature and put all food and objects back into the refrigerator.
Automatic Freezer Control (some models)
The Freeze Control feature will maintain proper interior refrigerator temperature even when the refrigerator is placed in an area where the surrounding temperature drops down to 10°F (-12°C).
Interior Light (some models)
The light comes on automatically when the door is opened. To replace the light bulb, turn the temperature control to OFF and unplug the electrical cord. Replace the old bulb with a bulb of the same wattage.
Crisper (some models)
The crisper, located under the bottom refrigerator shelf, is designed for storing fruits, vegetables, and other fresh produce. Wash items in clear water and remove excess water before placing them in the crisper. Items with strong odors or high moisture content should be wrapped before storing.

CARE & CLEANING
| Care & Cleaning Tips | ||
| Part | What To Use | Tips and Precautions |
| Interior & Door Liners | • Soap and water • Baking soda and water |
Use 2 tablespoons of baking soda in 1 quart of warm water. Be sure to wring excess water out of sponge or cloth before cleaning around controls, light bulb or any electrical part. |
| Door Gaskets | • Soap and water | Wipe gaskets with a clean soft cloth. |
| Drawers & Bins | • Soap and water | Use a soft cloth to clean drawer runners and tracks. |
| Glass Shelves | • Soap and water • Glass cleaner • Mild liquid sprays |
Allow glass to warm to room temperature before immersing in warm water. |
| Exterior | • Soap and water • Non Abrasive Glass Cleaner |
Do not use commercial household cleaners containing ammonia, bleach or alcohol to clean. Use a soft cloth to clean. DO NOT use a dry cloth to clean smooth doors. |
| Exterior (Stainless Steel Models Only) | • Soap and water • Stainless Steel Cleaners |
Never use CHLORIDE or cleaners with bleach to clean stainless steel. Clean stainless steel front with non-abrasive soapy water and a dishcloth. Rinse with clean water and a soft cloth. Use a non-abrasive stainless steel cleaner. These cleaners can be purchased at most home improvement or major department stores. Always follow manufacturer's instructions. Do not use household cleaners containing ammonia or bleach. NOTE: Always clean, wipe and dry with the grain to prevent scratching. Wash the rest of the cabinet with warm water and mild liquid detergent. Rinse well, and wipe dry with a clean soft cloth. |
TROUBLESHOOTING
BEFORE YOU CALL:
1-800-944-9044 (United States)
1-800-265-8352 (Canada)
Visit our web site at
www.frigidaire.com.
| Common Occurrences | Before calling for service, review this list. It may save you time and expense. This list includes common occurrences that are not the result of defective workmanship or materials in this appliance. |
Refrigerator does not run. |
• Ensure plug is tightly pushed into electrical outlet. • Check/replace fuse with a 15 amp time-delay fuse. Reset circuit breaker. • The refrigerator/freezer control is turned to "0" (Mechanical controls) or "OFF" (Electronic controls). • Refrigerator may be in defrost cycle. Wait 20 minutes and check again. |
Freezer temperature is colder than preferred. Refrigerator temperature is satisfactory. |
• Set freezer control to a warmer setting until freezer temperature is satisfactory. Allow 24 hours for the temperature to stabilize. |
Refrigerator temperature is too cold. Freezer temperature is satisfactory. |
• Set refrigerator/freezer control to a warmer setting. Allow 24 hours for temperature to stabilize. Then check freezer temperatures and adjust as needed. |
Freezer temperature is warmer than preferred. Refrigerator temperature is satisfactory. |
• Set freezer control to a colder setting until freezer temperature is satisfactory. Allow 24 hours for the temperature to stabilize. |
Refrigerator temperature is too warm. Freezer temperature is satisfactory. |
• Set refrigerator/freezer control to a colder setting. Allow 24 hours for temperature to stabilize. Then check refrigerator temperatures and adjust as needed. |
Refrigerator is noisy or vibrates. |
• The cabinet is not level. • Floor is weak. • See Normal Operating Sounds and Sights section. |
Odors in refrigerator. |
• Interior needs to be cleaned. • Foods that produce odors should be covered or wrapped. |
Cabinet light not working. |
• Replace light bulb. • Ensure plug is tightly pushed into electrical outlet. • Light switch may be stuck. Push in light switch, located on the refrigerator control box, to release. |
WARRANTY
Your appliance is covered by a one year limited warranty. For one year from your original date of purchase, Electrolux will pay all costs for repairing or replacing any parts of this appliance that prove to be defective in materials or workmanship when such appliance is installed, used and maintained in accordance with the provided instructions.
Exclusions
This warranty does not cover the following:
- Products with original serial numbers that have been removed, altered or cannot be readily determined.
- Product that has been transferred from its original owner to another party or removed outside the USA or Canada.
- Rust on the interior or exterior of the unit.
- Products purchased "as-is" are not covered by this warranty.
- Food loss due to any refrigerator or freezer failures.
- Products used in a commercial setting.
- Service calls which do not involve malfunction or defects in materials or workmanship, or for appliances not in ordinary household use or used other than in accordance with the provided instructions.
- Service calls to correct the installation of your appliance or to instruct you how to use your appliance.
- Expenses for making the appliance accessible for servicing, such as removal of trim, cupboards, shelves, etc., which are not a part of the appliance when it is shipped from the factory.
- Service calls to repair or replace appliance light bulbs, air filters, water filters, other consumables, or knobs, handles, or other cosmetic parts.
- Surcharges including, but not limited to, any after hour, weekend, or holiday service calls, tolls, ferry trip charges, or mileage expense for service calls to remote areas, including the state of Alaska.
- Damages to the finish of appliance or home incurred during installation, including but not limited to floors, cabinets, walls, etc.
- Damages caused by: services performed by unauthorized service companies; use of parts other than genuine Electrolux parts or parts obtained from persons other than authorized service companies; or external causes such as abuse, misuse, inadequate power supply, accidents, fires, or acts of God.
DISCLAIMER OF IMPLIED WARRANTIES; LIMITATION OF REMEDIES
CUSTOMER'S SOLE AND EXCLUSIVE REMEDY UNDER THIS LIMITED WARRANTY SHALL BE PRODUCT REPAIR OR REPLACEMENT AS PROVIDED HEREIN. CLAIMS BASED ON IMPLIED WARRANTIES, INCLUDING WARRANTIES OF MERCHANTABILITY OR FITNESS FOR A PARTICULAR PURPOSE, ARE LIMITED TO ONE YEAR OR THE SHORTEST PERIOD ALLOWED BY LAW, BUT NOT LESS THAN ONE YEAR. ELECTROLUX SHALL NOT BE LIABLE FOR CONSEQUENTIAL OR INCIDENTAL DAMAGES SUCH AS PROPERTY DAMAGE AND INCIDENTAL EXPENSES RESULTING FROM ANY BREACH OF THIS WRITTEN LIMITED WARRANTY OR ANY IMPLIED WARRANTY. SOME STATES AND PROVINCES DO NOT ALLOW THE EXCLUSION OR LIMITATION OF INCIDENTAL OR CONSEQUENTIAL DAMAGES, OR LIMITATIONS ON THE DURATION OF IMPLIED WARRANTIES, SO THESE LIMITATIONS OR EXCLUSIONS MAY NOT APPLY TO YOU. THIS WRITTEN WARRANTY GIVES YOU SPECIFIC LEGAL RIGHTS. YOU MAY ALSO HAVE OTHER RIGHTS THAT VARY FROM STATE TO STATE.
If You Need Service
Keep your receipt, delivery slip, or some other appropriate payment record to establish the warranty period should service be required. If service is performed, it is in your best interest to obtain and keep all receipts. Service under this warranty must be obtained by contacting Electrolux at the addresses or phone numbers below.
This warranty only applies in the USA and Canada. In the USA, your appliance is warranted by Electrolux Major Appliances North America, a division of Electrolux Home Products, Inc. In Canada, your appliance is warranted by Electrolux Canada Corp. Electrolux authorizes no person to change or add to any obligations under this warranty. Obligations for service and parts under this warranty must be performed by Electrolux or an authorized service company. Product features or specifications as described or illustrated are subject to change without notice.

USA
1.800.944.9044
Frigidaire
10200 David Taylor Drive
Charlotte, NC 28262
Canada
1.800.265.8352
Electrolux Canada Corp.
5855 Terry Fox Way
Mississauga, Ontario, Canada
L5V 3E4

References
Download manual
Here you can download full pdf version of manual, it may contain additional safety instructions, warranty information, FCC rules, etc.
Download Frigidaire Compact Refrigerator FFPS4533UM Manual

Need help?
Do you have a question about the FFPS4533UM and is the answer not in the manual?